|
|
(21), (22) Заявка: 2006116964/06, 17.05.2006
(24) Дата начала отсчета срока действия патента:
17.05.2006
(46) Опубликовано: 10.02.2008
(56) Список документов, цитированных в отчете о поиске:
US 3739754 A, 19.06.1973. SU 1178902 A, 15.09.1985. RU 2152525 C1, 10.07.2000. DE 3826640 A1, 02.03.1989. JP 58110883 A, 01.07.1983.
Адрес для переписки:
656038, Алтайский край, г.Барнаул, пр. Ленина, 46, АлтГТУ, ОИПС
|
(72) Автор(ы):
Скрябин Анатолий Андреевич (RU)
(73) Патентообладатель(и):
Общество с ограниченной ответственностью “Научно-исследовательский и проектно-конструкторский центр ПО “Бийскэнергомаш” (ООО “НИЦ ПО “Бийскэнергомаш”) (RU)
|
(54) РОТОРНО-ЛОПАСТНОЙ ДВИГАТЕЛЬ ВНУТРЕННЕГО СГОРАНИЯ
(57) Реферат:
Изобретение относится к двигателестроению, в частности к роторно-лопастным двигателям внутреннего сгорания. Изобретение позволяет повысить мощность двигателя без усложнения его конструкции, увеличения веса и габаритов. Роторно-лопастной двигатель внутреннего сгорания содержит неподвижный корпус, внутри которого помещены тороидальные камеры, по меньшей мере, одна, движущиеся опоры, разделяющие тороидальные камеры на камеры сжатия и камеры сгорания, вращающийся в тороидальных камерах ротор со ступицей и расположенными на ней лопастями, взаимодействующими с опорами. Опоры снабжены прорезями для прохода лопастей. Двигатель содержит впускные окна для подвода горючей смеси или окислителя, выпускные окна для отвода продуктов сгорания, устройство для ввода топлива или зажигания горючей смеси, вал отбора мощности и перепускное устройство для подачи сжатого рабочего тела в камеры сгорания, по меньшей мере, одно, размещенное внутри ротора и оснащенное каналом, сообщающимся с тороидальной камерой через окна в ступице. Опоры выполнены в виде лент. Ленты выполнены в виде газонепроницаемых цепей. Перепускное устройство для подачи сжатого рабочего тела в камеры сгорания выполнено в виде гильзы, установленной внутри ротора между ступицей и валом отбора мощности соосно с ними и жестко соединенной с корпусом. Лопасти снабжены пазами для прохода сжатого рабочего тела из каналов перепускного устройства в камеры сгорания. 3 з.п. ф-лы, 9 ил.
Изобретение относится к области машиностроения, а именно к производству роторно-лопастных двигателей внутреннего сгорания, а также гидроприводов, компрессоров, насосов, и может быть использовано в автомобильной и тракторной промышленности, в судостроении, на электростанциях, в компрессорных станциях и перекачивающих установках.
Известна роторная машина с подвижными элементами, содержащая неподвижные корпусы, внутри которых помещены тороидальные камеры, роторы, вращающиеся в тороидальных камерах, с расположенными на них лопастями, вращающиеся опоры, выполненные в виде дисков, устройства согласования совместной работы опор и лопастей, являющиеся приводами. Опоры, взаимодействующие с лопастями путем согласованного движения с ними, снабжены прорезями для прохода лопастей. Для работы в качестве двигателя роторная машина содержит, по меньшей мере, два корпуса, то есть две ступени, с двумя роторами и четырьмя вращающимися опорами, каждая из которых связана с отдельным устройством согласования совместной работы опор и лопастей, являющимся приводом. При этом между корпусами расположены две камеры сгорания, каждая из которых соединена одним патрубком с выпускным окном первого корпуса, то есть первой ступени, где осуществляется сжатие рабочего тела, и другим патрубком – с впускным окном второго корпуса, то есть второй ступени, где осуществляется расширение рабочего тела – рабочий ход (патент US 3277832).
В качестве недостатков роторной машины можно отметить сложность конструкции, большой вес и габариты, так как, во-первых, каждая вращающаяся опора снабжена отдельным устройством согласования совместной работы опор и лопастей, являющимся приводом, и, во-вторых, осуществление преобразования химической энергии в механическую происходит как минимум в двух корпусах, то есть в ступенях сжатия и расширения рабочего тела, и в двух камерах сгорания.
Наиболее близкой к предлагаемому изобретению по технической сущности и достигаемому результату (прототипом) является роторно-поршневая тороидальная машина с вращающимися дисковыми опорами, содержащая неподвижный корпус, внутри которого помещены тороидальные камеры, являющиеся цилиндрами, по меньшей мере, одна, вращающиеся опоры, выполненные в виде дисков и разделяющие тороидальные камеры на камеры сжатия и камеры сгорания, вращающийся в тороидальных камерах ротор со ступицей и расположенными на ней лопастями, взаимодействующими с опорами, устройство согласования совместной работы опор и лопастей, являющееся приводом, устройство для ввода топлива или зажигания горючей смеси, вал отбора мощности. Тороидальная камера оснащена впускными окнами для подвода горючей смеси или окислителя, преимущественно воздуха, и выпускными окнами для отвода продуктов сгорания. Внутри ротора расположено перепускное устройство для подачи сжатого рабочего тела в камеры сгорания, по меньшей мере, одно, имеющее канал, сообщающийся с тороидальной камерой через окна в ступице. Опоры снабжены прорезями для прохода лопастей. Роторно-поршневая тороидальная машина предусматривает возможность использования в различных вариантах: с одной тороидальной камерой и двумя дисковыми опорами, с двумя и более тороидальными камерами и одной общей дисковой опорой, с двумя тороидальными камерами и двумя дисковыми опорами (патент US 3739754).
Основным недостатком описанной роторно-поршневой тороидальной машины является отсутствие возможности повышения единичной мощности путем увеличения числа тороидальных камер, являющихся цилиндрами, без значительного усложнения ее конструкции, увеличения веса и габаритов в связи с необходимостью использования отдельного устройства согласования совместной работы опор и лопастей, являющегося приводом, для воздействия на каждую опору, выполненную в виде диска.
Предлагаемым изобретением решается задача обеспечения возможности повышения мощности роторно-лопастного двигателя внутреннего сгорания без усложнения его конструкции, увеличения веса и габаритов.
Для достижения этого технического результата в роторно-лопастном двигателе внутреннего сгорания, содержащем неподвижный корпус, внутри которого помещены тороидальные камеры, по меньшей мере, одна, движущиеся опоры, разделяющие тороидальные камеры на камеры сжатия и камеры сгорания, вращающийся в тороидальных камерах ротор со ступицей и расположенными на ней лопастями, взаимодействующими с опорами, причем опоры снабжены прорезями для прохода лопастей, впускные окна для подвода горючей смеси или окислителя, выпускные окна для отвода продуктов сгорания, устройство для ввода топлива или зажигания горючей смеси, вал отбора мощности и перепускное устройство для подачи сжатого рабочего тела в камеры сгорания, по меньшей мере, одно, размещенное внутри ротора и оснащенное каналом, сообщающимся с тороидальной камерой через окна в ступице, согласно изобретению опоры выполнены в виде лент.
Ленты могут быть выполнены в виде газонепроницаемых цепей.
Кроме того, перепускное устройство для подачи сжатого рабочего тела в камеры сгорания выполнено в виде гильзы, установленной внутри ротора между ступицей и валом отбора мощности соосно с ними и жестко соединенной с корпусом.
Кроме того, лопасти снабжены пазами для прохода сжатого рабочего тела из каналов перепускного устройства в камеры сгорания.
Выполнение движущихся опор в виде лент позволяет повысить мощность роторно-лопастного двигателя внутреннего сгорания при упрощении его конструкции, отсутствии необходимости увеличения количества взаимодействующих рабочих и вспомогательных элементов и соответственно веса и габаритов двигателя. При этом рабочие обороты предлагаемого двигателя ограничены только скоростью сгорания топлива, прочностью и термостойкостью применяемых материалов.
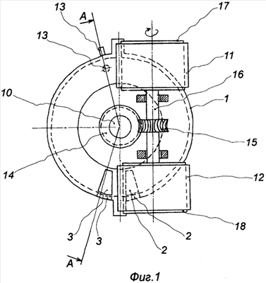
Изобретение поясняется чертежами, где на фиг.1 схематично изображен общий вид со стороны вала отбора мощности четырехцилиндрового роторно-лопастного двигателя внутреннего сгорания, имеющего неплотную компоновку цилиндров, с вариантами расположения устройств для ввода топлива или зажигания горючей смеси и впускных, и выпускных окон; на фиг.2 – продольный разрез фиг.1 по линии А-А; на фиг.3 – разрез цилиндра двигателя по линии Б-Б фиг.2; на фиг.4 – разрез цилиндра двигателя по линии В-В фиг.3, где показаны расположение и форма окон в ступице для прохода сжатого рабочего тела из камер сжатия в каналы перепускного устройства, предназначенного для подачи сжатого рабочего тела в камеры сгорания, а также пазы в лопастях для прохода сжатого рабочего тела из каналов перепускного устройства в камеры сгорания; на фиг.3 – вид Г фиг.3 на часть перепускного устройства для подачи сжатого рабочего тела в камеру сгорания, находящуюся над ступицей ротора, где показана форма канала перепускного устройства, предназначенного для подачи рабочего тела из камеры сжатия в камеру сгорания; на фиг.6 – разрез цилиндра двигателя по линии Д-Д фиг.3 в момент прохождения лопасти через прорезь в верхней ленточной опоре; на фиг.7 – разрез цилиндра двигателя по линии Е-Е фиг.3 в момент прохождения лопасти через прорезь в нижней ленточной опоре; на фиг.8 – пример профиля нижней ленточной опоры, вид снизу, при выполнении ленты в виде газонепроницаемой цепи; на фиг.9 – вид Ж фиг.8.
На чертеже дополнительно обозначено следующее:
– направления вращения элементов двигателя, показанные расположенными на осевых линиях закругленными линиями со стрелками или линиями со стрелками и с буквой w;
– направление прямолинейного движения ленточных опор, показанное прямыми линиями со стрелками и с буквой V.
Роторно-лопастной двигатель внутреннего сгорания содержит корпус 1; впускные окна 2 для подвода горючей смеси или окислителя, преимущественно воздуха; выпускные окна 3 для отвода продуктов сгорания; тороидальные камеры 4, по меньшей мере, одну, например, прямоугольного сечения, являющиеся цилиндрами; вращающийся в тороидальных камерах 4 ротор, содержащий ступицу 5 с окнами 6 для прохода сжатого рабочего тела из камеры сжатия в каналы перепускного устройства и расположенными на ступице 5 лопастями 7; перепускное устройство 8 для подачи сжатого рабочего тела в камеры сгорания, выполненное в виде гильзы; каналы 9 перепускного устройства 8, сообщающиеся с тороидальными камерами 4 через окна 6 в ступице 5; вал 10 отбора мощности; опоры, выполненные в виде лент, а именно верхнюю ленточную опору 11 и нижнюю ленточную опору 12; устройства 13 для ввода топлива или зажигания горючей смеси; устройство согласования совместной работы ленточных опор и лопастей, являющееся приводом, снабженное ведущей шестерней 14 и ведомой шестерней 15; вал 16, на котором закреплены ведущие натяжные барабаны 17 и 18; вал 19, на котором закреплены ведомые натяжные барабаны 20 и 21; пазы 22 для прохода сжатого рабочего тела из каналов перепускного устройства в камеры сгорания, выполненные в лопастях 7; камеры сжатия 23 и камеры сгорания 24, образованные в тороидальных камерах 4 при их разделении ленточными опорами 11 и 12; прорези 25 в нижней ленточной опоре 12 для прохода лопастей 7; глухие непроницаемые траки 26 ленточной опоры 12, при выполнении ленты в виде газонепроницаемой цепи, без прорезей для прохода лопастей; траки 27 ленточной опоры 12, при выполнении ленты в виде газонепроницаемой цепи, с прорезями 25 для прохода лопастей 7; каналы 28 и 29, предназначенные для обеспечения движения ленточных опор 11 и 12 соответственно и расположенные в корпусе 1; прорези 30 в верхней ленточной опоре 11 для прохода лопастей 7 (фиг.1-9). При этом на фиг.4 и 5 показана осевая плоскость 31 тороидальных камер 4.
Тороидальные камеры 4 помещены внутри неподвижного корпуса 1. Впускные окна 2 для подвода горючей смеси или окислителя выполнены в периферийных и/или боковых стенках тороидальных камер 4, выпускные окна 3 для отвода продуктов сгорания выполнены в периферийных и/или боковых стенках тороидальных камер 4 (фиг.2, 3, 7). При плотной компоновке цилиндров впускные 2 и выпускные 3 окна могут быть размещены только в периферийных стенках.
Сечение тороидальных камер 4 перекрывается движущимися ленточными опорами 11 и 12, в которых имеются прорези, соответственно, 30 и 25 для прохода лопастей 7. Для эффективной работы двигателя размеры прорези 30 должны обеспечивать хорошую компрессию при контакте ленточной опоры 11 с лобовыми 32 и тыльными 33 поверхностями лопастей 7. Для обеспечения экономичной работы двигателя плотный контакт между лобовыми 32 и тыльными 33 поверхностями лопастей 7 и поверхностями прорези 25 не нужен, и требования к плотности этого контакта могут быть менее жесткими. Лопасти 7 имеют достаточную толщину, а их торцевые поверхности 34 плотно прилегают к внутренним поверхностям тороидальных камер 4, что позволяет обеспечить хорошую компрессию в камерах сжатия 23 и сгорания 24. Ленточные опоры 11 и 12, разделяющие тороидальные камеры 4 на камеры сжатия 23 и камеры сгорания 24, размещены в каналах 28 и 29 соответственно. В качестве ленточных опор 11 и 12 применены, в частности, газонепроницаемые цепи, изготовленные, например, из металла, металлокерамики и других подобных материалов. Так, один из возможных вариантов конструкции ленточной опоры 12 содержит соединенные между собой подвижно глухие непроницаемые траки 26 без прорезей для прохода лопастей 7 и глухие непроницаемые траки 27 с прорезями 25 для прохода лопастей 7. Кроме того, верхняя ленточная опора 11 закреплена на ведущем 17 и ведомом 20 натяжных барабанах, а нижняя ленточная опора 12 – на ведущем 18 и ведомом 21 натяжных барабанах. Ведущие натяжные барабаны 17 и 18 закреплены на валу 16, а ведомые натяжные барабаны 20 и 21 – на валу 19. Взаимодействие ленточных опор 11 и 12 с лопастями 7 осуществляется устройством согласования совместной работы ленточных опор и лопастей, в качестве которого, например, может быть использована гипоидная передача, содержащая ведущую шестерню 14, выполненную в виде червяка, закрепленную на валу 10 отбора мощности, и связанную с ней ведомую шестерню, выполненную в виде червячного колеса, закрепленного на валу 16.
Перепускное устройство 8 для подачи сжатого рабочего тела в камеры сгорания, размещенное внутри ротора, оснащено каналами 9, выполненными на внешней поверхности перепускного устройства 8 со стороны верхней ленточной опоры 11, сообщающимися с камерами сжатия 23 и камерами сгорания 24 соответственно через окна 6 для прохода сжатого рабочего тела из камер сжатия в каналы перепускного устройства, расположенные на ступице 5, и выполненные в лопастях 7 пазы 22 для прохода сжатого рабочего тела из каналов перепускного устройства в камеры сгорания. Таким образом, каналы 9 служат для подачи сжатого рабочего тела из камер сжатия 23 в камеры сгорания 24. Перепускное устройство 8 выполнено в виде гильзы, установленной внутри ротора между ступицей 5 и валом 10 отбора мощности соосно с ними и жестко соединенной с корпусом 1. Соответственно, каналы 9 выполнены в этой гильзе.
Ротор содержит ступицу 5, жестко соединенную с валом 10 отбора мощности, содержащую окна 6 для прохода сжатого рабочего тела из камер сжатия в каналы перепускного устройства, и закрепленные на ступице 5 лопасти 7 с пазами 22 для прохода сжатого рабочего тела из каналов перепускного устройства в камеры сгорания.
Устройство для ввода топлива или зажигания рабочей смеси может быть выполнено, соответственно, в виде форсунки или свечи зажигания.
Контактирующие поверхности ступицы 5, гильзы и вала 10 изготовлены прилегающими плотно друг к другу.
Роторно-лопастной двигатель внутреннего сгорания работает следующим образом (действие предлагаемого двигателя рассматривается на примере работы одной лопасти в отдельности).
I. Ход сжатия рабочего тела. Ход сжатия рабочего тела осуществляется при движении лопасти 7 против часовой стрелки в камере сжатия 23. При этом опорные ленты 11 и 12 перекрывают поперечное сечение тороидальной камеры 4, являющейся цилиндром, и новая порция рабочего тела, в качестве которого используется горючая смесь или окислитель – воздух, за счет разрежения, создаваемого лопастью 7, засасывается в полость камеры сжатия 23 позади лопасти 7, тогда как перед лопастью 7 происходит сжатие рабочего тела, поступившего в камеру сжатия 23 при движении предыдущей лопасти.
II. Ход перемещения рабочего тела из камеры сжатия в камеру сгорания. Рабочее тело, находящееся в камере сжатия 23 перед лопастью 7, при движении последней сжимается до тех пор, пока окно 6 в ступице 5 (фиг.3 и 4) не начнет надвигаться на канал 9 перепускного устройства 8 (фиг.5). Сжатое до необходимых параметров рабочее тело начинает перемещаться из камеры сжатия 23 в канал 9. В это же время пазы 22 в лопасти 7 также оказываются над каналом 9, и по ним рабочее тело поступает из канала 9 в камеру сгорания 24 в полость между тыльной стороной 33 лопасти 7 и ленточной опорой 11. Таким образом, по мере прохождения лопастью 7 ленточной опоры 11 через прорезь 30 осуществляется перемещение сжатого рабочего тела из камеры сжатия 23 в камеру сгорания 24. Во время прохождения лопастью 7 ленточной опоры 11 камера сжатия 23 и камера сгорания 24 сообщаются между собой через окно 6 в ступице 5, прорези 30 и канал 9. Совместная работа лопастей 7 в паре с ленточной опорой 11 (фиг.6) осуществляется устройством согласования совместной работы ленточных опор и лопастей (фиг.1, 2).
Для обеспечения экономичной работы двигателя необходим плотный контакт лобовых 32 и тыльных 33 поверхностей лопастей 7 с соприкасающимися поверхностями прорезей 30 в верхней ленточной опоре 11.
III. Рабочий ход. В момент, когда лопасть 7 полностью пересечет ленточную опору 11, вся порция сжатого рабочего тела окажется в камере сгорания 24 между тыльной стороной 32 лопасти 7 и ленточной опорой 11. Далее, с помощью устройства 13 в камеру сгорания 24 позади лопасти 7 вводится топливо или поджигается горючая смесь. При этом происходит сгорание топлива и расширение рабочего тела – рабочий ход. Одновременно, в процессе совершения рабочего хода, лопастью 7 из камеры сгорания 24 через выпускные окна 3 вытесняются продукты сгорания, оставшиеся от предыдущего рабочего хода (фиг.3).
IV. Прохождение лопасти через нижнюю ленточную опору. При прохождении лопасти 7 через нижнюю ленточную опору 12 (фиг.7) заканчивается вытеснение продуктов сгорания, оставшихся в камере сгорания 24 от предыдущего рабочего хода, через выпускные окна 3 и начинается всасывание в камеру сжатия 23, позади лопасти 7, новой порции рабочего тела. И далее цикл повторяется.
Совместная работа лопастей 7 в паре с ленточной опорой 12 осуществляется устройством согласования совместной работы ленточных опор и лопастей (фиг.1, 2).
Для обеспечения экономичной работы двигателя плотный контакт между лобовыми 32 и тыльными 33 поверхностями лопастей 7 и поверхностями прорезей 25 в нижней ленточной опоре 12 не требуется.
Таким образом, использование предлагаемого роторно-лопастного двигателя внутреннего сгорания по сравнению с прототипом обеспечивает возможность повышения мощности при упрощении конструкции и при минимально возможных весе и габаритах.
По сравнению с традиционными поршневыми двигателями внутреннего сгорания предлагаемый роторно-лопастной двигатель внутреннего сгорания имеет следующие преимущества:
– простота конструкции при малых весе и габаритах, отсутствие вибраций, меньшая шумность и увеличенный моторесурс, что объясняется отсутствием кривошипно-шатунного механизма, клапанов и газораспределительного механизма с кулачковыми валами, пружинами и другими элементами;
– высокая мощность в расчете на литр рабочего объема: в 4 раза по отношению к четырехтактному и в 2 раза по отношению к двухтактному поршневым двигателям;
– высокие рабочие обороты, ограниченные, главным образом, скоростью сгорания топлива, прочностью и термостойкостью применяемых материалов. По удельной мощности предлагаемый двигатель приближается к газовым турбинам. В нем отсутствуют качающиеся элементы – шатуны, элементы, совершающие возвратно-поступательные движения, – поршни и клапаны, а также вращающиеся трудно балансируемые детали – коленчатый вал и валы механизма газораспределения;
– постоянная тяга на всех оборотах;
– высокая долговечность, так как процессы сгорания и сжатия рабочего тела осуществляются в разных камерах двигателя, при относительно изотермических условиях работы их стенок.
Формула изобретения
1. Роторно-лопастной двигатель внутреннего сгорания, содержащий неподвижный корпус, внутри которого помещены тороидальные камеры, по меньшей мере, одна, движущиеся опоры, разделяющие тороидальные камеры на камеры сжатия и камеры сгорания, вращающийся в тороидальных камерах ротор со ступицей и расположенными на ней лопастями, взаимодействующими с опорами, причем опоры снабжены прорезями для прохода лопастей, впускные окна для подвода горючей смеси или окислителя, выпускные окна для отвода продуктов сгорания, устройство для ввода топлива или зажигания горючей смеси, вал отбора мощности и перепускное устройство для подачи сжатого рабочего тела в камеры сгорания, по меньшей мере, одно, размещенное внутри ротора и оснащенное каналом, сообщающимся с тороидальной камерой через окна в ступице, отличающийся тем, что опоры выполнены в виде лент.
2. Двигатель по п.1, отличающийся тем, что ленты выполнены в виде газонепроницаемых цепей.
3. Двигатель по любому из п.1 или 2, отличающийся тем, что перепускное устройство для подачи сжатого рабочего тела в камеры сгорания выполнено в виде гильзы, установленной внутри ротора между ступицей и валом отбора мощности соосно с ними и жестко соединенной с корпусом.
4. Двигатель по п.1, отличающийся тем, что лопасти снабжены пазами для прохода сжатого рабочего тела из каналов перепускного устройства в камеры сгорания.
РИСУНКИ
|
|