|
|
(21), (22) Заявка: 2006121702/06, 19.06.2006
(24) Дата начала отсчета срока действия патента:
19.06.2006
(46) Опубликовано: 10.02.2008
(56) Список документов, цитированных в отчете о поиске:
RU 2143077 С1, 20.12.1999. SU 1335724 А1, 07.09.1987. DE 3921581 А1, 31.10.1990. DE 583813 А, 09.09.1933. GB 191413475 А, 14.01.1915. ЕР 0764776 А1, 26.03.1997.
Адрес для переписки:
191036, Санкт-Петербург, С-36, ул. 6-я Советская, 25/20, кв.5, В.С. Григорчуку
|
(72) Автор(ы):
Григорчук Владимир Степанович (RU)
(73) Патентообладатель(и):
Григорчук Владимир Степанович (RU)
|
(54) ДИЗЕЛЬНЫЙ ДВИГАТЕЛЬ
(57) Реферат:
Изобретение относится к области машиностроения, в частности к поршневым двигателям внутреннего сгорания. Технический результат заключается в повышении эксплуатационных характеристик дизельного двигателя. Согласно изобретению двигатель содержит цилиндр двухстороннего действия с рубашкой охлаждения, в средней части которого расположены выпускные и продувочные окна. Внутрь цилиндра вставлен поршень. Сверху и снизу цилиндр закрыт крышками, в каждой из которых выполнен канал для форсунки. Крышка, закрывающая цилиндр снизу, соединена с картером, и в ней выполнено отверстие для прохода штока, одним концом соединенного с поршнем, а другим концом связанного через шатун с кривошипом коленчатого вала. Двигатель также содержит воздушный нагнетатель с воздушным фильтром, вал которого кинематически соединен с коленчатым валом, топливные насосы высокого давления, кинематически связанные с коленчатым валом и гидравлически соединенные с форсунками, и системы питания, охлаждения, смазки и запуска. 9 ил.
Настоящее изобретение относится к области машиностроения и может найти применение в качестве дизельного двигателя.
Известен четырехтактный двигатель, содержащий раму, цилиндр, картер, крышку цилиндра с клапанами и форсункой, кривошипно-шатунный механизм с маховиком и поршнем, вставленным в цилиндр, газораспределительный механизм, системы питания, охлаждения, смазки, запуска и управления. /С.Н.Прасолов, М.Б.Амитин. Устройство подводных лодок. М., Воениздат, 1973, с.252-234, рис.96/.
Недостатками известного четерехтактного дизельного двигателя является низкий КПД, большой вес, сложность конструкции.
Указанные недостатки обусловлены конструкцией четырехтактного дизельного двигателя.
Известен также двухтактный дизельный двигатель, содержащий цилиндр с выпускными и продувочными окнами, расположенными в нижней части цилиндра, верхнюю крышку с форсункой, причем цилиндр и крышка имеют рубашку охлаждения, воздушный нагнетатель с ресивером, выпускной коллектор, кривошипно-шатунный механизм с маховиком и поршнем, вставленным внутрь цилиндра, картер, топливный насос высокого давления, вал которого кинематически связан с коленчатым валом, а выпускной штуцер гидравлически соединен с форсункой, системы питания, охлаждения, смазки, запуска и управления /там же, с.234-236, рис.97/.
Известный двухтактный дизельный двигатель, как наиболее близкий по технической сущности и достигаемому полезному результату, принят за прототип.
Недостатки известного двухтактного дизельного двигателя, принятого за прототип, те же.
Указанные недостатки обусловлены конструкцией двухтактного дизельного двигателя.
Целью настоящего изобретения является повышение эксплуатационных характеристик дизельного двигателя.
Согласно изобретению дизельный двигатель содержит цилиндр с выпускными и продувочными окнами и рубашкой охлаждения. Внутрь цилиндра вставлен поршень. При этом цилиндр закрыт сверху крышкой, имеющей канал, в который вставлена форсунка. Двигатель также содержит кривошипно-шатунный механизм с маховиком, воздушный нагнетатель с воздушным фильтром, вал которого кинематически соединен с коленчатым валом, насос высокого давления, кинематически связанный с коленчатым валом и гидравлически соединенный с форсункой, и системы: питания, охлаждения, смазки и запуска.
Указанная цель согласно изобретению обеспечивается тем, что в двигателе применен цилиндр двухстороннего действия с выпускными и продувочными окнами, расположенными в средней части цилиндра. Цилиндр закрыт в нижней части крышкой, соединенной с картером, в которой выполнено отверстие для прохода штока, одним концом соединенного с поршнем, а другим концом связанного через шатун с кривошипом коленчатого вала. В крышке, закрывающей цилиндр в нижней части, выполнен канал, в котором установлена дополнительная форсунка. Причем к цилиндру двигателя прикреплен дополнительный насос высокого давления, вал которого кинематически связан с коленчатым валом, а выходной штуцер гидравлически соединен с дополнительной форсункой.
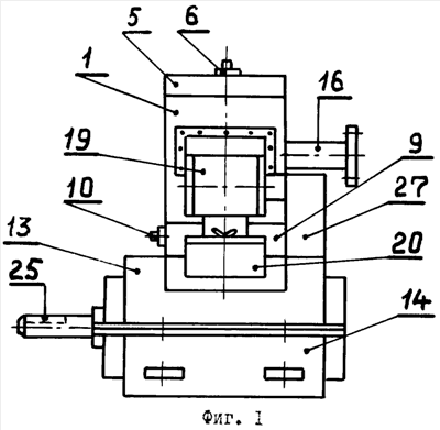
Сущность изобретения поясняется чертежами, где на фиг.1 изображен общий вид дизельного двигателя, на фиг.2 – вид на дизельный двигатель слева, на фиг.3 – принципиальная схема дизельного двигателя, на фиг.4, 5, 6, 7, 8 – принцип действия дизельного двигателя, на фиг.9 – диаграмма работы дизельного двигателя.
Одноцилиндровый дизельный двигатель содержит цилиндр 1 с рубашкой охлаждения 2 двухстороннего действия, имеющий в средней части выпускные окна 3 и продувочные окна 4. Цилиндр закрыт верхней крышкой 5, в отверстие которой вставлена форсунка 6, которая посредством трубопровода 7 соединена с топливным насосом высокого давления 8. В нижней части цилиндр закрыт нижней крышкой 9, в отверстие которой вставлена дополнительная форсунка 10, которая посредством трубопровода 11 соединена с дополнительным насосом высокого давления 12. Кроме того, нижняя крышка имеет отверстие для прохода штока и болтами соединена с верхней частью картера 13, которая соединена болтами с нижней частью картера 14. Выпускные окна цилиндра посредством канала 15 соединены с выпускным коллектором 16. Продувочные окна через канал 17 и ресивер 18 соединены с воздушным нагнетателем 19, впускной патрубок которого соединен с воздушным фильтром 20. Внутрь цилиндра вставлен поршень 21 с элементами уплотнения 22, который посредством штока 23 и соединенного с ним шатуна 24 связан с кривошипом коленчатого вала 25, имеющего маховик 26 и установленного в подшипниках картера. В задней части двигателя установлен механизм привода вспомогательных агрегатов 27.
На диаграмме на фиг.9 цифрами обозначено: 28 – рабочий ход в нижней полости цилиндра, 29 – выпуск отработанных газов в нижней полости цилиндра, 30 – впуск чистого воздуха в нижнюю полость цилиндра, 31 – вжатие воздуха в нижней полости цилиндра, 32 – впрыск топлива в нижнюю полость цилиндра, 33 – рабочий ход в верхней полости цилиндра, 34 – выпуск отработанных газов в верхней полости цилиндра, 35 – впуск чистого воздуха в верхнюю полость цилиндра, 36 – сжатие воздуха в верхней полости цилиндра, 37 – впрыск топлива в верхнюю полость цилиндра.
Работа одноцилиндрового дизельного двигателя.
После проверки всех механизмов посредством пускового устройства, не показанного на чертежах, дизельный двигатель запускается и работает следующим образом. Поршень 21 находится в крайнем нижнем положении (фиг.4). Воздушный нагнетатель 19 засасывает воздух из атмосферы через воздушный фильтр 20 и через ресивер 18, канал 17 и продувочные окна 4 подает его в верхнюю полость цилиндра 1 (показано стрелками). Попадая в цилиндр, воздух вытесняет из него отработанные газы через выпускные окна 3, канал 15 и коллектор 16 в атмосферу. В нижней полости воздух сжат до давления 35-40 кг/см2 и нагрет до температуры 530-680°С. В момент, когда поршень 21 не доходит до нижнего крайнего положения на 20°, дополнительным топливным насосом высокого давления 12 через дополнительную форсунку 10 впрыскивается под давлением 180-200 кг/см2 топливо в нижнюю полость цилиндра. От высокой температуры и высокого давления топливо воспламеняется и сгорает, образуя в цилиндре давление, равное 70 кг/см2. Образовавшиеся газы давят на поршень 21, который перемещается вверх, совершая рабочий ход и постепенно закрывая продувочные 4 и выпускные окна (фиг.5). Как только поршень 21 займет положение, показанное на фигуре 6, в нижней полости цилиндра 1 заканчивается рабочий ход и начинается выпуск отработанных газов через выпускные окна 3 и затем впуск чистого воздуха через продувочные окна 4. При движении поршня 21 под действием расширяющихся раскаленных газов он через шток 23 и шатун 24 воздействует на кривошип, заставляя поворачиваться коленчатый вал 25 и маховик 26. В эхо же время в верхней полости цилиндра закончилось наполнение чистым воздухом и начинается сжатие воздуха. При дальнейшем движении поршня вверх в нижней полости полностью откроются выпускные 3 и продувочные 4 окна и продолжится заполнение нижней полости чистым воздухом, а в верхней полости продолжится сжатие воздуха. За 20° до того, как поршень 21 займет крайнее верхнее положение, топливным насосом высокого давления 8 через форсунку 6 в верхнюю полость цилиндра 1 впрыскивается топливо, которое от высокой температуры и высокого давления воспламеняется и сгорает (фиг.7). Образовавшиеся газы давят на поршень, который начинает двигаться вниз. Как только начинают открываться выпускные 3 и продувочные 4 окна, в верхней полости заканчивается рабочий ход и начинается выпуск отработанных газов и впуск чистого воздуха (фиг.8), а в нижней полости начинается сжатие воздуха. Как только поршень приблизится к крайнему нижнему положению, впрыскивается топливо в нижнюю полость цилиндра, и все повторяется сначала. Таким образом, за один поворот коленчатого вала 25 совершается два рабочих хода, два выпуска отработанных газов, два впуска сжатого воздуха и два сжатия воздуха, что видно на диаграмме, представленной на фиг.9. Частота вращения коленчатого вала 25 регулируется изменением количества топлива, подаваемого в цилиндр. Для остановки дизельного двигателя необходимо прекратить подачу топлива и перекрыть доступ воздуха в цилиндр заслонкой, не показанной на чертежах.
Предлагаемый дизельный двигатель может быть выполнен как одноцилиндровым, так и многоцилиндровым.
Предлагаемый дизельный двигатель может быть использован на морских и речных судах, передвижных электростанциях и на железнодорожных локомотивах.
Положительный эффект: более высокий КПД и более высокая мощность на валу двигателя, экономия металла.
Формула изобретения
Дизельный двигатель, содержащий цилиндр с выпускными и продувочными окнами и рубашкой охлаждения, внутрь которого вставлен поршень, закрытый сверху крышкой, имеющей канал, в который вставлена форсунка, кривошипно-шатунный механизм с маховиком, воздушный нагнетатель с воздушным фильтром, вал которого кинематически соединен с коленчатым валом, насос высокого давления, кинематически связанный с коленчатым валом, а гидравлически соединенный с форсункой, системы питания, охлаждения, смазки и запуска, отличающийся тем, что применен цилиндр двухстороннего действия с выпускными и продувочными окнами, расположенными в средней части цилиндра, закрытого в нижней части крышкой, соединенной с картером, в которой выполнены отверстие для прохода штока, одним концом соединенного с поршнем, а другим концом связанного через шатун с кривошипом коленчатого вала, и канал, в котором установлена дополнительная форсунка, причем к цилиндру двигателя прикреплен дополнительный насос высокого давления, вал которого кинематически связан с коленчатым валом, а выходной штуцер гидравлически соединен с дополнительной форсункой.
РИСУНКИ
|
|