|
|
(21), (22) Заявка: 2006122195/06, 21.06.2006
(24) Дата начала отсчета срока действия патента:
21.06.2006
(46) Опубликовано: 10.02.2008
(56) Список документов, цитированных в отчете о поиске:
DE 1956471 А, 02.03.1967. US 2819704 А, 14.01.1958. DE 312478 А, 15.02.1918. ЕР 0897059 А2, 17.02.1998. SU 43780 А, 31.07.1935.
Адрес для переписки:
399770, Липецкая обл., г. Елец, ул. Коммунаров, 28, Елецкий государственный университет им. И.А. Бунина
|
(72) Автор(ы):
Сливинский Евгений Васильевич (RU), Зайцев Андрей Анатольевич (RU), Сираев Роман Олегович (RU)
(73) Патентообладатель(и):
Государственное образовательное учреждение высшего профессионального образования “Елецкий государственный университет им. И.А. Бунина” (RU)
|
(54) МЕХАНИЗМ ГАЗОРАСПРЕДЕЛЕНИЯ
(57) Реферат:
Изобретение относится к области двигателей внутреннего сгорания. Механизм газораспределения состоит из всасывающих и выхлопных клапанов, выполненных в виде головок и стержней, расположенных в блоке цилиндров. Головки и стержни клапанов снабжены каналами, а в стержнях дополнительно выполнены поперечно расположенные отверстия, способные пропускать отработанные газы и рабочую смесь в дополнительных объемах. Изобретение позволяет повысить эффективность работы карбюраторных и дизельных четырехтактных двигателей. 2 ил.
Предлагаемое изобретение относится к области двигателей внутреннего сгорания и может быть использовано как в конструкциях четырехтактных карбюраторных двигателей, так и дизелей.
Известен механизм газораспределения, используемый в конструкции карбюраторного двигателя, описанный и показанный на стр.42-43, рис.43 в книге Стеблева Н.М. Современный автомобиль. Издательство ДОСААФ, М., 1955 г. Такой механизм состоит из впускного и выпускного клапанов, каждый из которых выполнен в виде стержня, плавно переходящего в головку, и последняя, по своей образующей, снабжена рабочей поверхностью, взаимодействующей с седлом клапана, запрессованным в блок цилиндров двигателя внутреннего сгорания. Стержни клапанов подвижно расположены в направляющих втулках блока цилиндров. Каждый из клапанов подпружинен относительно блоков цилиндров и управляется с помощью толкателей, взаимодействующих с распределительным валом ДВС. С помощью клапанов за четыре хода движения поршня происходит заполнение цилиндров горючей смесью, ее сжатие, горение, расширение и выпуск отработанных газов. Заполнение горючей смесью происходит из всасывающего коллектора, расположенного в блоке цилиндров, а выпуск отработанных газов в выхлопной коллектор. Несмотря на свою эффективность использования, такой механизм газораспределения обладает существенным недостатком, заключающимся в том, что всасывание горючей смеси и удаление из цилиндров отработанных газов происходит через узкие щели, расположенные между седлами клапана и внешними образующими поверхностями клапанных головок. Такое явление снижает эффективность заполнения горючей смесью полости цилиндра при всасывании и «очистку» этого же объема от отработанных газов, а также способствует неравномерному распределению температуры по всему объему головки клапана.
Известен также механизм распределения ДВС, описанный в книге Корягина А.В. и Соловьева Г.М. Устройство, обслуживание и правила движения автомобилей. Военное издательство МО СССР, М., 1960 г. на стр.56-57 и показанный на рис.29. Конструкция такого механизма газораспределения аналогична вышеописанной и поэтому недостатки их подобны.
Поэтому целью предлагаемого изобретения является повышение эффективности работы механизма газораспределения ДВС за счет увеличения проходных сечений впускного и выпускного клапанов, через которые в цилиндры поступает горючая смесь и удаляются из него отработанные газы, а также равномерного распределения теплового поля по всему объему головок клапанов.
Поставленная цель достигается тем, что головки и стержни клапанов снабжены вертикально расположенными в их продольной плоскости каналами, сопряженными с поперечными отверстиями, выполненными в стержнях, и они по высоте стержня размещены так, что при поступательных перемещениях клапанов имеют возможность быть перекрытыми относительно всасывающих и выхлопных коллекторов блока цилиндров внутренними поверхностями направляющих втулок или быть открытыми относительно последних.
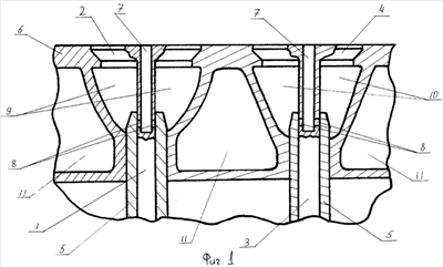
На фиг.1 показана пара клапанов (всасывающий и выхлопной) в разрезе, расположенных в блоке цилиндров в закрытом положении, а на фиг.2 – один из клапанов в открытом положении.
Механизм газораспределения состоит из стержня 1 и головки 2 всасывающего клапана и стержня 3 и головки 4 выпускного клапана.
Клапаны подвижно размещены в направляющих втулках 5, запрессованных в блок цилиндров 6. Стержни 1 и 3, а также головки 2 и 4 снабжены каналом 7, сопряженным с поперечно расположенными отверстиями 8. В блоке цилиндров 6 расположены всасывающие коллекторы 9 и выхлопные коллекторы 10, а также полости для циркуляции охлаждающей жидкости 11.
Работает механизм газораспределения следующим образом. Известно (см. книгу Корягина А.В. и Соловьева Г.М., которая указана в прототипе), что работа четырехтактного ДВС включает в себя четыре такта – сжатие, рабочий ход, выхлоп и всасывание. На фиг.1, например, показано положение клапанов механизма газораспределения при такте сжатие, когда всасывающий и выхлопной клапаны закрыты. После того как произойдет возгорание рабочей смеси, осуществится рабочий ход поршня (не показан), потом наступает процесс выхлопа, а затем всасывания. В момент начала всасывания выхлопной клапан будет закрыт, а всасывающий откроется и займет такое положение, как это показано на фиг.2. В этом случае рабочая смесь за счет разрежения, создаваемого поршнем в цилиндре (они на чертежах не показаны и описанный процесс широко известен в технике), из всасываемого коллектора 9 по стрелкам А поступит в цилиндр не только через щели, образованные головкой 2 всасывающебго клапана с блоком цилиндра, но и через отверстия 8 и канал 7 стержня 1 клапана. В этом случае суммарный объем рабочей смеси, поступающей в цилиндр, будет выше на величину объема проходящей через отверстия 8 и канал 7. После такта всасывания вновь произойдет такт сжатия и всасывающий клапан закроется. При этом его отверстия 8 будут прикрыты направляющей втулкой 5, что исключает в дальнейшем при тактах сжатия проникание газов во всасывающий коллектор 9. При выхлопе точно также откроется и выхлопной клапан (на чертежах это не показано, так как аналогия движения всасывающего и выхлопного клапана в принципе идентична), который, открывшись, пропустит отработанные газы через щели, образованные головкой 4 и блоком цилиндров 6, а также канал 7 стержня 3 и отверстия 8 в выхлопной коллектор 10. За счет увеличения скорости и роста производительности выхлопа отработанных газов, проходящего через канал 7 и отверстия 8, произойдет более эффективная продувка цилиндра. Далее выхлопной клапан закроется и отверстия 8 в стержне 3 перекроются его направляющей втулкой 5. В то же время температурные режимы клапанов будут более благоприятные за счет эффективного прохода через клапаны как рабочей смеси, так и отработанных газов и повышенной теплоотдачи их последними. Далее описанные процессы могут повторяться неоднократно.
Технико-экономическое преимущество предложенного технического решения, в сравнении с известными, очевидно, так как оно позволит в итоге повысить надежность работы клапанов, исключая их перегрев, а также повысить КПД двигателя за счет более эффективного наполнения цилиндров рабочей смесью и их очистки от отработанных газов.
Формула изобретения
Механизм газораспределения, преимущественно четырехтактного двигателя внутреннего сгорания, включающий клапаны, состоящие из головок и стержней, подвижно размещенных в направляющих втулках блока цилиндров, снабженного всасывающим и выхлопным коллекторами, отличающийся тем, что головки и стержни клапанов снабжены вертикально расположенными в их продольной плоскости каналами, сопряженными с поперечными отверстиями, выполненными в стержнях, они по высоте размещены так, что при поступательных перемещениях клапанов имеют возможность быть перекрытыми относительно всасывающих и выхлопных коллекторов блока цилиндров внутренними поверхностями направляющих втулок или быть открытыми относительно последних.
РИСУНКИ
|
|