|
|
(21), (22) Заявка: 2003116163/06, 30.05.2003
(24) Дата начала отсчета срока действия патента:
30.05.2003
(30) Конвенционный приоритет:
31.05.2002 (пп.1-4) US 10/158,229
(43) Дата публикации заявки: 20.11.2004
(46) Опубликовано: 10.02.2008
(56) Список документов, цитированных в отчете о поиске:
SU 1430555 A1, 15.10.1988. SU 1712631 A1, 15.02.1992. US 3572968 A, 30.05.1971. US 2959393 A, 08.11.1960.
Адрес для переписки:
129010, Москва, ул. Б.Спасская, 25, стр.3, ООО “Юридическая фирма Городисский и Партнеры”, пат.пов. С.А.Дорофееву
|
(72) Автор(ы):
ФРОЛОВ Б.И. (RU), ТОЛПАДИ Анил К. (US), ЛЭНДРИ Грегори Ли (US)
(73) Патентообладатель(и):
ДЖЕНЕРАЛ ЭЛЕКТРИК КОМПАНИ (US)
|
(54) СПОСОБ МОНТАЖА БАНДАЖА ЛОПАТОК ТУРБИНЫ
(57) Реферат:
Изобретение относится к многослойному бандажу лопаток для турбин. Предложен способ монтажа бандажа лопаток турбины, при этом бандаж (14) лопаток содержит расположенные по окружности дугообразные сегменты (23) бандажа, каждый из которых имеет отдельные внутренний (28), промежуточный (30) и наружный (26) элементы бандажа, охватывающие концы нескольких лопаток (12) турбины. Каждый сегмент содержит разнесенные по окружности радиальные отверстия, проделанные в элементах для приема шипов (32) на концах лопаток. Промежуточный элемент имеет полость (46) или выемку, сформированную между разнесенными по окружности перегородками (52), которые задают отверстия, проделанные в промежуточном элементе в целях снижения веса. В окончательно собранном состоянии концы шипов автоматически расклепывают, чтобы удерживать элементы на лопатках, и избыточный материал подвергают машинной обработке для обеспечения гладкой, непрерывной дуги, проходящей по кольцевой внешней поверхности. Полости ограничивают перегородками (52), передней (48) и задней (50) краевыми стенками и внутренней и наружной поверхностями наружного и внутреннего элементов соответственно. Изобретение обеспечивает повышение прочности на отрыв, улучшение уплотнения бандажа и минимизирование потерь на концевую утечку. 3 з.п. ф-лы, 4 ил.
Настоящее изобретение относится к многослойному бандажу лопаток для турбин и, в частности, относится к многослойному бандажу лопаток, содержащему промежуточный слой, и способам его монтажа.
Обычно на рабочем колесе турбины (например, таком, как описано в SU 1430555, 1988, F01D 5/22, 3 с.) смонтирована совокупность аэродинамических поверхностей или лопаток, разнесенных по окружности и, в общем случае, ориентированных в радиальном направлении. Традиционно на концах лопаток укреплен бандаж, образующий вокруг лопаток замкнутое кольцо с малым зазором между наружной поверхностью бандажа и окружающим кожухом.
Известны несколько разных конструкций и способов крепления бандажа к концам лопаток. Одна из этих конструкций предусматривает расклепывание шипа поверх бандажа. Согласно этой конструкции один или несколько шипов, выступающих, в общем случае, в радиальном направлении от каждой лопатки, проходят через соответствующие отверстия в бандаже и подлежат расклепыванию, предпочтительно автоматическому, вдоль внешней поверхности бандажа. Эта конфигурация шипов, расклепанных поверх бандажа, обеспечивает значительную прочность на отрыв, т.е. достаточную прочность конструкции, образованной бандажом и лопаткой, чтобы препятствовать отрыву бандажа от конца лопатки под действием центробежных сил. Однако конфигурация шипов, расклепанных поверх бандажа, не обеспечивает надлежащего уплотнения бандажа. Дело в том, что в результате расклепывания вдоль внешней поверхности бандажа образуется ряд выступов в радиальном направлении, что неизбежно приводит к увеличению зазора между вращающейся деталью, т.е. бандажом, и окружающей неподвижной деталью, т.е. кожухом, из-за чего увеличиваются потери на концевую утечку. Однако конфигурация шипов, расклепанных поверх бандажа, имеет то преимущество, что позволяет осуществлять операцию расклепывания автоматически.
Согласно другой конфигурации, а именно шипов, расклепанных внутри бандажа, шип лопатки заглублен относительно наружного отверстия бандажа. Ввиду отсутствия клепок, выступающих над внешней поверхностью бандажа, «заглубленная» конфигурация позволяет уменьшить концевой зазор с окружающей неподвижной деталью, что повышает степень уплотнения бандажа и снижает потери на концевую утечку. Однако для применения конфигурации шипов, расклепанных внутри бандажа, процесс расклепывания для прикрепления бандажа к лопаткам требуется осуществлять вручную. Это физически трудоемкий и дорогостоящий процесс. Соответственно, необходима такая конструкция бандажа лопаток, которая, с одной стороны, обеспечивает достаточную прочность на отрыв, а с другой – допускает автоматизацию процесса расклепывания, что обеспечивает надлежащее уплотнение бандажа, позволяющее минимизировать потери на концевую утечку.
Согласно предпочтительному варианту осуществления настоящего изобретения предусмотрен бандаж лопаток, выполненный из нескольких слоев или элементов дугообразной формы, охватывающих наружные концы лопаток. Бандаж лопаток предусмотрен в виде множественных дугообразных сегментов, образующих замкнутое кольцо по периметру ротора, причем каждый сегмент состоит из нескольких элементов. Предпочтительно каждый сегмент бандажа лопаток содержит внутренний элемент, наружный элемент и промежуточный элемент, находящийся между внутренним и наружным элементами. Сегменты, а следовательно, элементы, могут охватывать три или более лопаток и насажены на шипы лопаток.
В частности, элементы снабжены разнесенными по окружности отверстиями, совпадающими друг с другом, в которые входят шипы, имеющиеся на концах лопаток. Очевидно, шипы имеют усеченный профиль по сравнению с профилем аэродинамической поверхности лопаток. Между усеченным профилем шипа на конце лопатки и профилем аэродинамической поверхности предусмотрен изгиб по радиусу или фаска. Каждое отверстие во внутреннем элементе снабжено фаской, обращенной к оси вращения ротора, для наложения на изогнутый по радиусу участок на стыке между шипом и аэродинамической поверхностью лопатки. Промежуточный элемент содержит отверстия, соответствующие профилю шипа. Наружный элемент имеет отверстия, снабженные фаской, обращенной от оси вращения ротора. Внутренний, промежуточный и наружный элементы размещают на лопатках последовательно, причем шипы проходят через отверстия. Для прикрепления элементов к лопаткам выступающие концы шипов можно расклепывать, предпочтительно делать это автоматически. Для обеспечения гладкой, непрерывной поверхности по окружности бандажа избыточный материал шипов полностью удаляют, например, методом машинной обработки. Это дает возможность обеспечивать узкий зазор между бандажом и окружающей неподвижной деталью.
Для обеспечения необходимой прочности на отрыв в промежуточных элементах предусмотрены полости между соседними местами посадки на шипы. Полости представляют собой выемки в материале, закрытые боковыми стенками промежуточного элемента, обращенными к потоку горячего газа через турбину и от него, и ограничены наружной и внутренней поверхностями внутреннего и наружного элементов соответственно. Это позволяет значительно снизить вес бандажа, а следовательно, минимизировать центробежные силы, приводящие к радиальному смещению сегментов бандажа наружу, что дает возможность существенно снизить требования к прочности на отрыв. Элементы бандажа можно выравнивать друг с другом по радиусам, проходящим через соседние по окружности места стыковки, однако элементы можно также устанавливать по отношению друг к другу со сдвигом, в результате чего точки стыковки между соседними по окружности элементами оказываются невыровненными или сдвинутыми в круговом направлении по отношению друг к другу.
Вышеописанная конструкция обеспечивает конфигурацию шипов, расклепанных заподлицо с бандажом, имеющую надлежащую прочность на отрыв, которая, предпочтительно, может быть выполнена с применением оборудования автоматического расклепывания. Вместе с тем за счет сужения зазоров между кольцом бандажа и окружающим кожухом улучшается уплотнение бандажа.
Также предусмотрен бандаж лопаток турбины, имеющий шип, примыкающий к концу лопатки, бандаж содержит отдельные внутренний и наружный дугообразные элементы бандажа и промежуточный дугообразный элемент бандажа между ними, причем элементы имеют, в общем случае, радиально выровненные отверстия для приема шипа лопатки, наружный элемент снабжен фаской, обращенной от оси ротора, для приема материала расклепанного шипа лопатки для удержания элементов на лопатке.
Согласно варианту осуществления настоящего изобретения предусмотрена вращающаяся деталь турбины, содержащая совокупность разнесенных по окружности лопаток, вращающихся вокруг оси и оканчивающихся шипами, выступающими радиально наружу, бандаж лопаток, содержащий совокупность отдельных дугообразных сегментов бандажа, причем каждый сегмент имеет внутренний, наружный и промежуточный дугообразные элементы, элементы имеют, в общем случае, радиально выровненные отверстия в разнесенных по окружности положениях вдоль сегментов для приема шипов, шипы расклепаны для крепления элементов на лопатках и формирования в целом гладкой, непрерывной наружной поверхности из наружной поверхности наружного элемента.
Согласно предпочтительному варианту осуществления настоящего изобретения предусмотрен способ монтажа бандажа на лопатках вращающейся детали турбины, содержащий этапы, на которых обеспечивают внутренние, наружные и промежуточные дугообразные элементы бандажа, снабженные отверстиями для приема шипов, предусмотренных на концах лопаток, последовательно размещают внутренние, промежуточные и наружные элементы бандажа на шипах лопаток, причем концы шипов выступают из наружного элемента, расклепывают выступающие концы шипов для крепления элементов к лопаткам и обеспечивают гладкую непрерывную дугообразную поверхность вдоль наружной поверхности бандажа, в том числе вдоль расклепанных концов шипов.
Предпочтительно в промежуточном элементе формируют полость между его соседними отверстиями.
Предпочтительно в промежуточных элементах формируют сквозную полость между соседними отверстиями.
Предпочтительно в промежуточных элементах формируют сквозную полость, причем полость ограничена внутренней и наружной поверхностями наружного и внутреннего элементов соответственно, противоположными по оси краевыми стенками промежуточного элемента и противоположными по окружности перегородками промежуточного элемента, образующими краевые стенки по отношению друг к другу.
Краткое описание чертежей
Фиг.1 – фрагментарный вид в разрезе части турбины, на котором показан ротор турбины с лопатками и бандажом и соответствующие каскады статора турбины.
Фиг.2 – схематический фрагментарный вид в разрезе поперек оси, на котором показано наложение многослойного бандажа лопатки, отвечающего настоящему изобретению, на шипы лопаток ротора.
Фиг.3 – вид, аналогичный фиг.2, на котором показан бандаж лопаток в окончательном исполнении.
Фиг.4 – вид в разрезе примерно по линии 4-4 на фиг.3.
На чертежах, в частности фиг.1, показан ротор 10, на котором смонтирована совокупность разнесенных по окружности лопаток, одна из них 12, и прикрепленный к ней бандаж 14. Показаны также соседние в осевом направлении лопатки 16 и 18 статора, относящиеся к неподвижным деталям турбины, образующие поточный канал 20 турбины. Показаны также уплотнитель 22 лабиринтного типа, а также щеточный уплотнитель 24, обеспечивающие уплотнение вокруг бандажа 14 в ходе работы турбины.
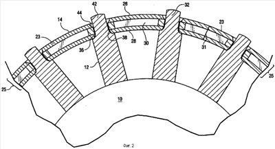
Согласно фиг.2 бандаж 14 содержит совокупность дугообразных сегментов 23 бандажа, каждый из которых состоит из слоев или элементов бандажа, обозначенных общей позицией 25. Согласно чертежу совокупность 25 элементов бандажа каждого сегмента 23 включает в себя дугообразные наружный элемент 26, внутренний элемент 28 бандажа и промежуточный элемент 30 бандажа. Элементы 26, 28 и 30 бандажа имеют форму дуги и охватывают несколько лопаток 12, например от четырех до двадцати лопаток, в зависимости от каскада. Дугообразные сегменты бандажа укреплены на шипах 32, предусмотренных на концах всех лопаток 12. Сегменты 23 бандажа заклинивают соседние элементы бандажа на противоположных концах в направлении окружности в местах стыковки между лопатками, образуя замкнутое кольцо вокруг лопаток 12. Аналогично каждый наружный, внутренний и промежуточный элементы 26, 28 и 30 соответственно заклинивают друг друга в направлении окружности. Таким образом, на стыках 31 между сегментами 23 внутренние, промежуточные и наружные элементы выровнены в радиальном направлении по отношению друг к другу. Альтернативно элементы могут быть сдвинуты относительно друг друга в направлении окружности, за счет чего стыки между соответствующими элементами 26, 28 и 30 оказываются сдвинутыми относительно друг друга по окружности.
Согласно фиг.2 на концах лопаток 12 имеются шипы 32. Каждый из элементов 26, 28 и 30 бандажа содержит отверстия в разнесенных по окружности позициях для приема шипов 32. Согласно фиг.4 шипы 32 имеют усеченную поперечную конфигурацию по сравнению с формой аэродинамической поверхности лопатки, показанной на фиг.4 пунктирными линиями. Каждый шип 32 также резко ограничен по сравнению как с передней, так и с задней кромкой соответствующей лопатки. Его боковые поверхности также лежат внутри сторон разряжения и нагнетания аэродинамических поверхностей лопаток 12.
Согласно фиг.2 место соединения шипа 32 с наружным по радиусу концом аэродинамической поверхности лопатки 12 имеет вид закругления по радиусу или фаски, что обозначено позицией 36. Отверстия 38, проделанные во внутреннем элементе 28, также закруглены по радиусу для стыковки с закруглениями 36 в месте соединения шипа и аэродинамической поверхности лопатки. Согласно фиг.4 промежуточный элемент 30 содержит разнесенные по окружности отверстия 40, примерно совпадающие по форме с шипами 32 и предназначенные для приема шипов 32. Согласно фиг.2 отверстия 42, проделанные в наружных элементах 26, также снабжены закруглениями по радиусу, обеспечивающими в целом вогнутые поверхности 44 вокруг шипов 32. Очевидно, что каждый из элементов 26, 28 и 30 бандажа представляет собой отдельный элемент, и эти элементы последовательно накладываются на шипы 32 лопаток 12 в ходе их установки на ротор 10.
Согласно фиг.2, 3 и 4 промежуточный элемент 30 также содержит полости 46 в разнесенных по окружности местах на бандаже 14. Предпочтительно каждая полость 46 открыта в радиальном направлении наружу и внутрь промежуточного элемента 30. Очевидно, однако, что полость в промежуточном элементе не обязана быть сквозной. Полость 46 ограничена краевыми стенками 48 и 50, а также границами соседних перегородок 52. Каждая перегородка 52 располагается между краевыми стенками 48 и 50, перегородки 52 окружают отверстия 40 под шипы 32. Краевые стенки 48 и 50 обращены в направлениях по потоку и против него вдоль поточного канала турбины. Очевидно также, что в собранном состоянии полость 46 ограничена также внутренней и наружной поверхностями наружного и внутреннего элементов 26 и 28 соответственно. Очевидно также, что в полностью собранном состоянии каждая полость 46 вдоль бандажа и между лопатками полностью закрыта.
Для установки бандажа на ротор 10 и, в частности, на концы лопаток внутренние, промежуточные и наружные элементы каждого сегмента 23 бандажа последовательно размещают на шипах. После того как они установлены на шипах согласно фиг.2, шипы можно расклепывать. Поскольку шипы выступают над наружной поверхностью каждого наружного элемента 26 бандажа, их можно расклепывать при помощи автоматического станка. В ходе расклепывания материал шипов деформируется и расширяется в поперечном направлении, заполняя пространство между шипами и границами отверстий в элементах 26, 28 и 30. В частности, деформированный материал заполняет пространство, образованное закруглениями по радиусу или фасками, предусмотренными вокруг отверстий в наружном элементе 26 бандажа. Благодаря тому, что при операции расклепывания материал деформируется в расширенные области отверстий, проделанных в наружном элементе 26 бандажа, внутренние, промежуточные и наружные элементы, уложенные один на другой, оказываются прикрепленными к лопаткам 12 в местах расположения шипов 32.
Согласно фиг.3 операция расклепывания может приводить к образованию небольших выпуклостей, обозначенных на фиг.3 позицией 54 и расположенных вдоль наружной поверхности наружного элемента. Эти выпуклости, образованные избыточным материалом шипов, удаляют посредством машинной обработки, чтобы обеспечить гладкую, непрерывную наружную поверхность кольцевой бандажа. Таким образом, наружная поверхность шипа совпадает с дугообразной круговой формой сегментов бандажа.
Из рассмотрения вышеописанной конструкции ясно, что она обеспечивает уплотнение бандажа со сниженными потерями на концевую утечку, поскольку между наружной поверхностью бандажа и окружающим кожухом или поверхностями уплотнителя можно поддерживать малые зазоры. Хотя, вообще говоря, конфигурации шипов, расклепанных заподлицо с бандажом, не обеспечивают надлежащей прочности на отрыв, т.е. прочность недостаточна, чтобы удерживать бандаж на лопатках при больших центробежных нагрузках, конфигурация шипов, расклепанных заподлицо с бандажом, отвечающая настоящему изобретению, обладает существенной прочностью на отрыв благодаря снижению веса бандажа за счет полостей 46, сформированных в промежуточных элементах 30. Очевидно, что такая конфигурация удовлетворяет требованиям к прочности на отрыв. Отметим особо, что конфигурация шипов, расклепанных заподлицо с бандажом, допускает автоматическое расклепывание шипов и обеспечивает хорошее уплотнение бандажа. Конструкция перфорированного бандажа отвечает этим требованиям.
Хотя изобретение описано применительно к варианту осуществления, который в настоящее время считается наиболее предпочтительным, следует понимать, что изобретение не ограничивается раскрытым вариантом осуществления, но, напротив, призвано охватывать различные модификации и эквивалентные конфигурации, отвечающие сущности и объему, определенным в прилагаемой формуле изобретения.
Формула изобретения
1. Способ монтажа бандажа на лопатках вращающейся детали турбины, содержащий этапы, на которых обеспечивают внутренние (28), наружные (26) и промежуточные (30) дугообразные элементы бандажа, снабженные отверстиями для приема шипов (32), предусмотренных на концах лопаток, последовательно размещают внутренние, промежуточные и наружные элементы бандажа на шипах лопаток, причем концы шипов выступают из наружного элемента, расклепывают выступающие концы шипов для крепления элементов к лопаткам и обеспечивают гладкую непрерывную дугообразную поверхность вдоль наружной поверхности бандажа, в том числе вдоль расклепанных концов шипов.
2. Способ по п.1, отличающийся тем, что в промежуточном элементе формируют полость (46) между его соседними отверстиями.
3. Способ по п.2, отличающийся тем, что в промежуточных элементах формируют сквозную полость (46) между соседними отверстиями.
4. Способ по п.3, отличающийся тем, что в промежуточных элементах формируют сквозную полость (46), причем полость ограничена внутренней и наружной поверхностями наружного и внутреннего элементов соответственно противоположными по оси краевыми стенками (48, 50) промежуточного элемента и противоположными по окружности перегородками (52) промежуточного элемента, образующими краевые стенки по отношению друг к другу.
РИСУНКИ
MM4A – Досрочное прекращение действия патента СССР или патента Российской Федерации на изобретение из-за неуплаты в установленный срок пошлины за поддержание патента в силе
Дата прекращения действия патента: 31.05.2009
Извещение опубликовано: 27.07.2010 БИ: 21/2010
|
|