|
| На основании пункта 3 статьи 13 Патентного закона Российской Федерации от 23 сентября 1992 г. № 3517-I патентообладатель обязуется передать исключительное право на изобретение (уступить патент) на условиях, соответствующих установившейся практике, лицу, первому изъявившему такое желание и уведомившему об этом патентообладателя и федеральный орган исполнительной власти по интеллектуальной собственности, – гражданину РФ или российскому юридическому лицу. |
|
(21), (22) Заявка: 2006126539/03, 21.07.2006
(24) Дата начала отсчета срока действия патента:
21.07.2006
(46) Опубликовано: 10.02.2008
(56) Список документов, цитированных в отчете о поиске:
RU 2242581 С2, 20.12.2004. SU 109276 А, 31.01.1958. SU 1375791 А1, 23.02.1988. RU 2023861 C1, 30.11.1994. US 6805056 A, 19.10.2004.
Адрес для переписки:
123182, Москва, ул. Авиационная, 68, кв.490, Н.М. Панину
|
(72) Автор(ы):
Панин Николай Митрофанович (RU), Гульницкий Лев Леонидович (RU), Дроздов Валерий Николаевич (RU), Ардасов Лев Владимирович (RU)
(73) Патентообладатель(и):
Панин Николай Митрофанович (RU)
|
(54) УСТРОЙСТВО ДЛЯ ЛИКВИДАЦИИ ПРИХВАТА СОСТАВНОЙ ГИБКОЙ КОЛОННЫ
(57) Реферат:
Изобретение относится к нефтегазодобывающей промышленности, а именно к устройствам для ликвидации аварий, связанных с использованием гибких труб. Устройство включает корпус из двух частей, телескопически установленные концы которых соединены стопорными элементами, спускаемый на кабеле контейнер с зарядами взрывчатого вещества. В зоне расположения стопорных элементов внутренняя поверхность гибкой колонны выполнена с кольцевой расточкой. Контейнер выполнен с радиально подпружиненными элементами для размещения их в рабочем положении в кольцевой расточке колонны. Стопорные элементы в рабочем положении установлены в кольцевой расточке заподлицо с ее поверхностью. Повышается эффективность работы за счет сокращения непроизводительных затрат времени при ликвидации аварии. 2 з.п. ф-лы, 3 ил.
Изобретение относится преимущественно к нефтегазодобывающей промышленности, а именно к устройствам для ликвидации аварий, связанных с использованием гибких труб.
Известно устройство для разъединения бурильной колонны, состоящее из верхнего и нижнего переводников, штока, втулки с радиальными каналами, поршня и кольцевого поршня (см. авт. св. СССР №1155716, кл. Е21В 23/00, 1985 г.).
К недостаткам данного устройства следует отнести ограниченную область его применения, т.к. оно не может быть использовано с гибкими трубами.
Наиболее близким к предложенному по технической сущности и достигаемому результату является устройство для ликвидации прихвата гибкой колонны, включающее корпус, состоящий из двух частей, телескопически установленные концы которых соединены стопорными элементами, и спускаемый на кабеле контейнер с зарядами взрывчатого вещества (см. патент РФ №2242581, кл. Е21В 29/02, 2004 г.).
Недостатком данного устройства является малая эффективность, связанная со значительными затратами времени на совмещение контейнера со взрывчаткой с зоной расположения стопорных элементов. Взрыв же контейнера выше или ниже стопорных элементов может только усугубить аварию. Установка же контейнера в зоне расположения стопорных элементов непосредственно при спуске гибкой колонны создаст значительное сопротивление при промывке скважины и практически полностью исключит возможность использования геофизического оборудования, спускаемого через гибкую колонну для исследования горных пород, находящихся ниже зоны расположения контейнера.
В связи с изложенным технической задачей изобретения является повышение эффективности его работы за счет сокращения непроизводительных затрат времени на дополнительные замеры и контроль положения контейнера относительно стопорных элементов.
Поставленная техническая задача решается тем, что устройстве для ликвидации прихвата гибкой колонны, включающем корпус, состоящий из двух частей, телескопически установленные концы которых соединены стопорными элементами, и спускаемый на кабеле контейнер со взрывчаткой, согласно изобретению в зоне расположения стопорных элементов внутренняя поверхность гибкой колонны выполнена с кольцевой расточкой, а контейнер со взрывчаткой – с радиально подпружиненными элементами для размещения их в рабочем положении в кольцевой расточке колонны, при этом стопорные элементы в рабочем положении установлены в кольцевой расточке заподлицо с ее поверхностью.
Решению поставленной задачи способствует также и то, что:
– контейнер со взрывчаткой выполнен в виде диска, а подпружиненные элементы его расположены между зарядами взрывчатого вещества.
– подпружиненные элементы выполнены в виде шаров и закреплены в радиальных каналах, выполненных в теле диска, посредством резьбовой втулки или накладки со сквозным каналом
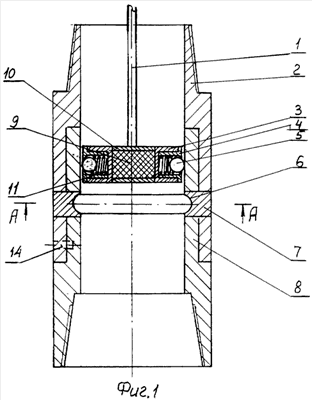
Изобретение поясняется чертежом, на котором фиг.1 изображает общий вид устройства в процессе спуска контейнера; фиг.2 – сечение А-А на фиг.1 и фиг.3 – вариант крепления подпружиненных элементов.
Устройство для ликвидации прихвата гибкой колонны включает корпус, состоящий из двух частей 2 и 8 с телескопически установленными концами, соединенными стопорными элементами 7, спускаемый на кабеле 1 контейнер 3 с зарядами взрывчатого вещества 9 с оболочкой 10 и предохранительные штифты 14. На внутренней поверхности корпуса в зоне расположения стопорных элементов 7 выполнена кольцевая расточка 6, в которой стопорные элементы 7 расположены заподлицо со стенками кольцевой расточки 6. При этом контейнер 3 выполнен в виде диска (см. фиг.2) и снабжен радиально подпружиненными элементами 5, расположенными между зарядами взрывчатого вещества 9. Элементы 5 выполнены в виде шаров, зафиксированы в радиальных каналах диска 3 посредством резьбовой втулки 4 и опираются на пружинный элемент 11 в виде пружины сжатия или упругого материала, например резины. Шары 5 установлены таким образом, что в свободном положении они выступают над наружной поверхностью диска 3. Другим вариантом крепления шаров 5 является использование накладок 12 со сквозными каналами, диаметр которых меньше диаметра шаров 5. Накладки 12 крепятся к диску 3 штифтами 13 (показаны условно на фиг.3). Предохранительные штифты 14 расположены ниже стопорных элементов 7 и соединяют телескопические концы частей 2 и 8 корпуса. Для снижения эффекта поршневания при спуске контейнера 3 на боковой поверхности диска 4 могут быть выполнены сквозные пазы (не показаны).
Устройство работает следующим способом. В случае прихвата гибкой колонны на кабеле 1 спускают контейнер 3 с зарядами взрывчатого вещества 9 до совмещения подпружиненных элементов 5 с кольцевой расточкой 6. Использование в качестве подпружиненных элементов шаров 5 позволяет минимизировать затраты на трение контейнера 3 со стенками колонны и тем самым ускорить процесс спуска контейнера к месту расположения стопорных элементов 7. После этого по кабелю 1 подается управляющий сигнал на контейнер 3 с зарядами взрывчатого вещества 9. Детонация взрывчатого вещества 9 приводит к перемещению стопорных элементов 7 и освобождению верхней части 2 корпуса от нижней 8. Для исключения случайного разъединения колонны в результате ложного срабатывания взрывчатого вещества устройство снабжено предохранительными штифтами 14, позволяющими поднять нижнюю часть колонны при смещенных стопорных элементах 7, т.к. усилие среза предохранительных штифтов 14 рассчитано только на подъем неприхваченной колонны труб. Наличие подпружиненных элементов 5 в виде шаров и кольцевой расточки 6 исключает затраты времени на проведение контрольных замеров для точной установки зарядов взрывчатого вещества 9 точно напротив стопорных элементов 7. Расположение подпружиненных элементов 5 между зарядами взрывчатого вещества 9 позволяет упростить технологию изготовления и конструкцию самого контейнера 3.
Применение предложенного устройства позволяет значительно повысить эффективность работ, связанных с ликвидацией прихватов гибких колонн, за счет снижения затрат на проведение подобных работ при одновременном обеспечении проведения геофизических исследований в скважине без подъема колонны на поверхность.
Формула изобретения
1. Устройство для ликвидации прихвата гибкой колонны, включающее корпус, состоящий из двух частей, телескопически установленные концы которых соединены стопорными элементами, и спускаемый на кабеле контейнер с зарядами взрывчатого вещества, отличающееся тем, что в зоне расположения стопорных элементов внутренняя поверхность гибкой колонны выполнена с кольцевой расточкой, а контейнер со взрывчаткой – с радиально подпружиненными элементами для размещения их в рабочем положении в кольцевой расточке колонны, при этом стопорные элементы в рабочем положении установлены в кольцевой расточке заподлицо с ее поверхностью.
2. Устройство по п.1, отличающееся тем, что контейнер с зарядами взрывчатого вещества выполнен в виде диска, а подпружиненные элементы его расположены между зарядами взрывчатого вещества.
3. Устройство по п.1, отличающееся тем, что подпружиненные элементы выполнены в виде шаров и закреплены в радиальных каналах, выполненных в теле диска, посредством резьбовой втулки или накладки со сквозным каналом.
РИСУНКИ
|
|