|
| На основании пункта 3 статьи 13 Патентного закона Российской Федерации от 23 сентября 1992 г. № 3517-I патентообладатель обязуется передать исключительное право на изобретение (уступить патент) на условиях, соответствующих установившейся практике, лицу, первому изъявившему такое желание и уведомившему об этом патентообладателя и федеральный орган исполнительной власти по интеллектуальной собственности, – гражданину РФ или российскому юридическому лицу. |
|
(21), (22) Заявка: 2006129361/03, 15.08.2006
(24) Дата начала отсчета срока действия патента:
15.08.2006
(46) Опубликовано: 10.02.2008
(56) Список документов, цитированных в отчете о поиске:
RU 2242581 C2, 20.12.2004. SU 109276 A, 31.01.1958. SU 1375791 A1, 23.02.1988. RU 2023861 C1, 30.11.1994. US 6805056 A, 19.10.2004.
Адрес для переписки:
123182, Москва, ул. Авиационная, 68, кв.490, Н.М. Панину
|
(72) Автор(ы):
Панин Николай Митрофанович (RU), Комаров Михаил Алексеевич (RU), Ясашин Виталий Анатольевич (RU), Сериков Дмитрий Юрьевич (RU), Мязитов Касим Усманович (RU)
(73) Патентообладатель(и):
Панин Николай Митрофанович (RU)
|
(54) УСТРОЙСТВО ДЛЯ ЛИКВИДАЦИИ ПРИХВАТА СОСТАВНОЙ ГИБКОЙ КОЛОННЫ
(57) Реферат:
Изобретение относится к нефтегазодобывающей промышленности, а именно к устройствам для ликвидации аварий, связанных с использованием гибких труб. Устройство включает корпус, состоящий из двух частей, телескопически установленные концы которых соединены стопорными элементами, спускаемый на кабеле контейнер с зарядами взрывчатого вещества. В зоне расположения стопорных элементов внутренняя поверхность корпуса выполнена с кольцевой расточкой. Контейнер выполнен с радиально подпружиненными элементами для их размещения в рабочем положении в кольцевой расточке корпуса. Контейнер соединен с кабелем с возможностью относительного их вращения и снабжен постоянными магнитами, расположенными на наружных торцах зарядов взрывчатого вещества. Стопорные элементы в рабочем положении установлены в кольцевой расточке заподлицо с ее поверхностью. Повышается эффективность работы устройства за счет сокращения непроизводительных затрат времени при ликвидации аварии с гибкой колонной. 2 з.п. ф-лы, 2 ил.
Изобретение относится преимущественно к нефтегазодобывающей промышленности, а именно к устройствам для ликвидации аварий, связанных с прихватом гибких труб.
Известно устройство для разъединения бурильной колонны, состоящее из верхнего и нижнего переводников, штока, втулки с радиальными каналами, поршня и кольцевого поршня (см. авт. св. СССР №1155716, кл. Е21В 23/00, 1985 г.).
К недостаткам данного устройства следует отнести ограниченную область его применения, т.к. оно не может быть использовано с гибкими трубами.
Наиболее близким к предложенному по технической сущности и достигаемому результату является устройство для ликвидации прихвата составной гибкой колонны, включающее корпус, состоящий из двух частей, телескопически установленные концы которых соединены стопорными элементами, и спускаемый на кабеле контейнер с зарядами взрывчатого вещества (см. патент РФ №2242581, кл. Е21В 29/02, 2004 г.).
Недостатком данного устройства является малая эффективность, связанная со значительными затратами времени на совмещение контейнера со взрывчаткой с зоной расположения стопорных элементов. Взрыв же контейнера выше или ниже стопорных элементов может только усугубить аварию. Установка же контейнера в зоне расположения стопорных элементов непосредственно при спуске гибкой колонны создаст значительное сопротивление при промывке скважины и практически полностью исключит возможность использования геофизического оборудования, спускаемого через гибкую колонну для исследования горных пород, находящихся ниже зоны расположения контейнера.
В связи с изложенным, технической задачей изобретения является повышение эффективности его работы за счет сокращения непроизводительных затрат времени на дополнительные замеры и контроль положения контейнера относительно стопорных элементов, а также благодаря возможности использования геофизической аппаратуры для проведения необходимых исследований в скважине без подъема гибкой колонны на поверхность.
Поставленная техническая задача решается тем, что в устройстве для ликвидации прихвата составной гибкой колонны, включающем корпус, состоящий из двух частей, телескопически установленные концы которых соединены стопорными элементами, и спускаемый на кабеле контейнер со взрывчаткой, согласно изобретению, в зоне расположения стопорных элементов внутренняя поверхность корпуса выполнена с кольцевой расточкой, а контейнер со взрывчаткой – с радиально подпружиненными элементами для размещения в рабочем положении в кольцевой расточке корпуса, при этом стопорные элементы в рабочем положении установлены в кольцевой расточке заподлицо с ее поверхностью.
Решению поставленной задачи способствует также и то, что:
– контейнер со взрывчаткой выполнен в виде диска, а подпружиненные элементы его расположены между зарядами взрывчатого вещества;
– контейнер с зарядами взрывчатого вещества соединен с кабелем с возможностью относительного их вращения и снабжен постоянными магнитами, расположенными на наружных торцах зарядов взрывчатого вещества.
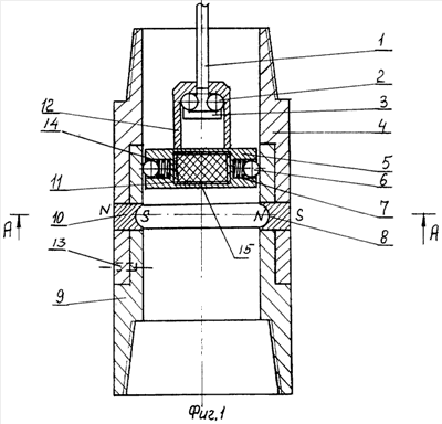
Изобретение поясняется чертежами, где фиг.1 изображает общий вид устройства; фиг.2 – сечение А-А на фиг.1.
Устройство для ликвидации прихвата гибкой колонны включает корпус, состоящий из двух частей 4 и 9 (см. фиг.1) с телескопически установленными концами, соединенными стопорными элементами 10, спускаемый на кабеле 1 контейнер 5 с зарядами взрывчатого вещества 11 и предохранительные штифты 13. На внутренней поверхности корпуса в зоне расположения стопорных элементов 10 выполнена кольцевая расточка 8, в которой стопорные элементы 10 расположены заподлицо со стенками кольцевой расточки 8. При этом контейнер 5 выполнен в виде диска (см. фиг.2) и снабжен радиально подпружиненными элементами 6, преимущественно в виде шаров, расположенными между зарядами взрывчатого вещества 11 в радиальных каналах 14 диска 5 и опирающимися на пружину сжатия 7 или упругий материал, например резину (не показана). В радиальных каналах 14 шары 6 зафиксированы любым известным способом, например завальцовкой кромок радиальных каналов 14 или посредством накладок (не показаны), жестко соединенных с диском 5 и выполненных со сквозными каналами под шары 6. Заряды взрывчатого вещества 11 располагаются внутри оболочки 15, наружные торцевые поверхности которой оснащены постоянными магнитами 16. Возможен вариант выполнения оболочки 15 зарядов взрывчатого вещества 11 из магнитоактивного материала, а самого контейнера 5 – из немагнитного материала. В этом случае оболочка 15 намагничивается и выполняет функции постоянного магнита 16. Возможен вариант выполнения стопорных элементов 10 также из магнитоактивного материала, например трансформаторной стали. При этом в случае использования единой оболочки 15 для зарядов взрывчатого вещества 11 намагниченные стопорные элементы 10 располагают противоположными полюсами навстречу друг к другу, т.е. если у одного стопорного элемента 10 внутренний торец имеет полюс N, то у противоположного стопорного стержня внутренний торец должен иметь полюс S. Контейнер 5 соединен с кабелем 1 посредством вертлюга 12, включающего осевой шаровой подшипник 2 с опорой 3, обеспечивающий свободный проворот контейнера 5 относительно кабеля 1. Для снижения эффекта поршневания при спуске контейнера 5 на боковой поверхности диска могут быть выполнены сквозные пазы (не показаны).
Устройство работает следующим способом. В случае прихвата гибкой колонны на кабеле 1 спускают контейнер 5 с зарядами взрывчатого вещества 11 до совмещения подпружиненных элементов 6 с кольцевой расточкой 8. При этом благодаря постоянным магнитам 16 контейнер 5 располагается относительно металлических стопорных элементов 10 строго в определенном положении, а именно точно напротив зарядов взрывчатого вещества 11. Этому способствует и то, что контейнер 5 соединен с кабелем 1 посредством вертлюга 12, обеспечивающего свободное вращение контейнера 5 относительно кабеля 1, а также использование стопорных элементов 10 в виде постоянных магнитов, увеличивающих взаимодействие постоянных магнитов 16 на торцах оболочки 15 с намагниченными стопорными элементами 10. В случае близкого расположения разноименных полюсов постоянных магнитов 16 диска 5 и намагниченных стопорных элементов 10 эти полюса притягиваются один к другому и обеспечивают совмещение зарядов взрывчатого вещества 11 со стопорными элементами 10. В случае же совмещения одноименных полюсов постоянных магнитов 16 контейнера 5 и стопорных элементов 10 они отталкиваются и диск 5 поворачивается на вертлюге 12 до совмещения противоположных полюсов постоянных магнитов, а следовательно, и совмещения зарядов взрывчатого вещества 11 со стопорными элементами 10. После этого по кабелю 1 подается управляющий сигнал на контейнер 5 с зарядами взрывчатого вещества 11. Детонация взрывчатого вещества 11 приводит к радиальному перемещению стопорных элементов 10 и освобождению одной части 4 корпуса от другой 9. Для исключения случайного разъединения колонны в результате ложного срабатывания взрывчатого вещества устройство снабжено предохранительными штифтами 13, позволяющими поднять нижнюю часть колонны при смещенных стопорных элементах 10, т.к. усилие среза предохранительных штифтов 13 рассчитано только на подъем неприхваченной колонны труб. Наличие подпружиненных элементов 6 и кольцевой расточке 8 совместно с постоянными магнитами 16 и вертлюгом 12 исключают затраты времени на проведение контрольных замеров для точной установки зарядов взрывчатого вещества 11 точно напротив стопорных элементов 10. Расположение подпружиненных элементов 6 между зарядами взрывчатого вещества 11 позволяет упростить технологию изготовления контейнера 5, а выполнение элементов 6 в виде шаров – минимизировать трение между контейнером и гибкой колонной при спуске контейнера 5 к месту прихвата.
Применение предложенного устройства позволяет значительно повысить эффективность работ, связанных с ликвидацией прихватов гибких колонн за счет снижения затрат на проведение подобных работ при одновременном обеспечении проведения геофизических исследований в скважине без подъема колонны на поверхность.
Формула изобретения
1. Устройство для ликвидации прихвата составной гибкой колонны, включающее корпус, состоящий из двух частей, телескопически установленные концы которых соединены стопорными элементами, и спускаемый на кабеле контейнер с зарядами взрывчатого вещества, отличающееся тем, что в зоне расположения стопорных элементов внутренняя поверхность корпуса выполнена с кольцевой расточкой, контейнер с зарядами взрывчатого вещества – с радиально подпружиненными элементами для их размещения в рабочем положении в кольцевой расточке корпуса, а контейнер с зарядами взрывчатого вещества соединен с кабелем с возможностью относительного их вращения и снабжен постоянными магнитами, расположенными на наружных торцах зарядов взрывчатого вещества, при этом стопорные элементы в рабочем положении установлены в кольцевой расточке заподлицо с ее поверхностью.
2. Устройство по п.1, отличающееся тем, что контейнер с зарядами взрывчатого вещества выполнен в виде диска, а подпружиненные элементы его расположены между зарядами взрывчатого вещества.
3. Устройство по п.1, отличающееся тем, что стопорные элементы намагничены, причем обращенные один к другому полюса намагниченных стопорных элементов имеют противоположную полярность.
РИСУНКИ
|
|