|
|
(21), (22) Заявка: 2006128564/03, 24.07.2006
(24) Дата начала отсчета срока действия патента:
24.07.2006
(46) Опубликовано: 10.02.2008
(56) Список документов, цитированных в отчете о поиске:
ХИСАМОВ Р.И. и др. Ограждающие конструкции покрытий производственных зданий из стального профилированного настила. – Чебоксары, 1990, с. 37. ФЕРЕНЧИК П. и др. Предварительно напряженные стальные конструкции. – М.: Стройиздат, 1979, с.264, рис.8.67(18), с.266, с.270, рис.8.72(7), с.271, с.286, с.324, рис.8.134. SU 1717772 A1, 07.03.1992. SU 692957 A1, 25.10.1979. GB 966988 A, 19.08.1964.
Адрес для переписки:
420043, г.Казань, Зеленая, 1, КГАСУ, ПИО, Ф.И. Давлетбаевой
|
(72) Автор(ы):
Хисамов Рафаиль Ибрагимович (RU), Маркелов Вадим Сергеевич (RU), Закиров Тимур Дамирович (RU)
(73) Патентообладатель(и):
ФГОУ ВПО Казанский архитектурно-строительный университет ФГОУ ВПО КГАСУ (RU)
|
(54) ПЛИТА ПОКРЫТИЯ
(57) Реферат:
Изобретение относится к области строительства, в частности к плитам покрытия. Технический результат заключается в повышении несущей способности плиты покрытия. Плита покрытия включает верхний пояс из профнастила, который подкреплен в пролете шпренгельной затяжкой. Затяжка прикреплена на опорах плиты к жестким торцевым балкам, которые прикреплены к профнастилу. Жесткие торцевые балки выполнены в форме выступающих из профнастила консольных упоров. Упоры прикреплены к верхним и нижним полкам профнастила и отстоят от опор плиты на расстояние не более 1=(2WxR)/(qL), где: 1 – максимально допустимое расстояние от опоры до консолей плиты; L – пролет; q – погонная нагрузка на плиту; R – расчетное сопротивление материала; Wx – момент сопротивления сечения профнастила. 1 ил.
Изобретение относится к строительству и касается плит покрытий, подкрепленных шпренгелями.
Известна шпренгельная плита покрытия, содержащая полку плиты, подкрепленную в пролете шпренгельной системой, с креплением шпренгелей в углах плиты (см. а.с. СССР №894125, М.кл.3 ЕО4С 2/50, бюллетень №48, 30.12.81).
Такое конструктивное решение не может быть использовано в плите при выполнении ее верхнего пояса из стального профнастила, так как прочность крепления шпренгельной системы в профнастиле не обеспечивается.
Прототипом изобретения является плита покрытия, включающая верхний пояс из профнастила, который подкреплен в пролете шпренгельной затяжкой, прикрепленной на опорах плиты к жестким торцевым балкам в форме уголкового профиля, прикрепленного к нижним полкам профнастила (см. Хисамов Р.И., Голубчиков А.В. “Ограждающие конструкции покрытий производственных зданий из стального профилированного настила”, Чебоксары, 1990, стр.37, рис.38).
Такое конструктивное решение трудоемко в изготовлении и снижается прочность шпренгельной плиты.
Изобретение направлено на повышение несущей способности плиты покрытия.
Результат достигается тем, что в плите покрытия, включающей верхний пояс из профнастила, который подкреплен в пролете шпрегельной затяжкой, прикрепленной на опорах плиты к жестким торцевым балкам, которые в свою очередь прикреплены к профнастилу, согласно изобретению жесткие торцевые балки выполнены в форме выступающих из профнастила консольных упоров, которые прикреплены к верхним и нижним полкам профнастила и отстоят от опор плиты на расстояние не более

где: l – максимально допустимое расстояние от опоры до консолей плиты;
L – пролет;
q – погонная нагрузка на плиту;
R – расчетное сопротивление материала;
Wx – момент сопротивления сечения профнастила.
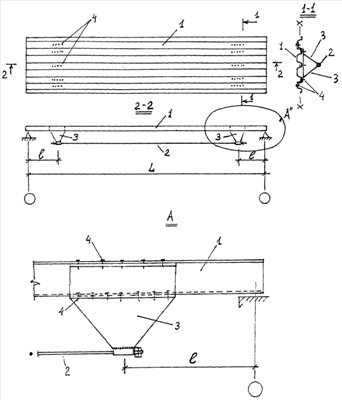
На чертеже изображена плита покрытия с решением узлов крепления шпренгелей к профнастилу.
Плита покрытия включает верхний пояс из профнастила 1, который подкреплен в пролете шпренгельной затяжкой 2, прикрепленной на опорах плиты к жестким торцевым балкам, выполненным в форме выступающих из профнастила консольных упоров 3, которые прикреплены к верхним и нижним полкам профнастила 1 и отстоят от опор плиты на расстояние не более l.
При работе плиты условие крепления 4 консольных упоров 3 к верхним и нижним полкам профнастила 1 повышает прочность их защемления в профнастиле, а условие ограничения максимально допустимого расстояния от опор до консольных упоров плиты повышает их несущую способность.
Благодаря предложенному решению несущая способность плиты повышается в 2 раза, т.е. изобретение может быть использовано для изготовления облегченных плит покрытия пролетами 6-12 м.
Формула изобретения
Плита покрытия, включающая верхний пояс из профнастила, который подкреплен в пролете шпренгельной затяжкой, прикрепленной на опорах плиты к жестким торцевым балкам, которые прикреплены к профнастилу, отличающаяся тем, что жесткие торцевые балки выполнены в форме выступающих из профнастила консольных упоров, которые прикреплены к верхним и нижним полкам профнастила и отстоят от опор плиты на расстоянии не более

где l – максимально допустимое расстояние от опоры до консолей плиты;
L – пролет;
q – погонная нагрузка на плиту;
R – расчетное сопротивление материала;
Wx – момент сопротивления сечения профнастила.
РИСУНКИ
MM4A – Досрочное прекращение действия патента СССР или патента Российской Федерации на изобретение из-за неуплаты в установленный срок пошлины за поддержание патента в силе
Дата прекращения действия патента: 25.07.2008
Извещение опубликовано: 27.12.2009 БИ: 36/2009
|
|