|
|
(21), (22) Заявка: 2005139431/03, 30.01.2004
(24) Дата начала отсчета срока действия патента:
30.01.2004
(30) Конвенционный приоритет:
16.05.2003 (пп.1-26) DE 10322410.6
(43) Дата публикации заявки: 10.08.2006
(46) Опубликовано: 10.02.2008
(56) Список документов, цитированных в отчете о поиске:
DE 20009511 U, 21.09.2000. FR 1293934 A, 18.05.1962. US 5737892 A, 14.04.1998. US 4065883 A, 03.01.1978. SU 868024 A1, 30.09.1981.
(85) Дата перевода заявки PCT на национальную фазу:
16.12.2005
(86) Заявка PCT:
DE 2004/000141 (30.01.2004)
(87) Публикация PCT:
WO 2004/104318 (02.12.2004)
Адрес для переписки:
188663, Ленинградская обл., Всеволожский р-н, ОС Кузьмолово, а/я 5, пат.пов. Е.К.Аверьянову
|
(72) Автор(ы):
КРОЙЗЕЛЬ Ульрих (DE)
(73) Патентообладатель(и):
КРОЙЗЕЛЬ Ульрих (DE)
|
(54) ПОКРЫТИЕ ДЛЯ ПОВЕРХНОСТИ БАЛКОНОВ, ПОЛОВ, КРЫШ ИЛИ ФАСАДОВ
(57) Реферат:
Изобретение относится к области строительства, в частности к покрытиям для поверхности балконов, полов, крыш или фасадов. Технический результат заключается в упрощении монтажа покрытия. Покрытие для поверхности балконов, полов, крыш или фасадов включает в себя несколько расположенных параллельно друг другу профилей основания, которые размещены на расстоянии друг от друга. Для соединения каждых двух соседних профилей основания предусмотрен пролегающий по всей длине профилей основания перекрывающий профиль. Каждая полка перекрывающего профиля переходит, изгибаясь под углом, в горизонтальную часть и, снова изгибаясь под углом, в примыкающую к ней вертикальную часть с образованием продольного паза. В продольный паз входит соответствующая полка профиля основания. На горизонтальной части каждой полки перекрывающего профиля с наружной стороны сформированы два расположенных друг относительно друга под тупым углом отвода. Отводы проходят по всей длине перекрывающего профиля. 3 н. и 23 з.п. ф-лы, 15 ил.
Изобретение относится к покрытию для поверхности балконов, полов, крыш или фасадов, которое включает в себя несколько расположенных параллельно друг другу профилей основания, размещенных на расстоянии друг от друга, причем для соединения каждых двух соседних профилей основания предусмотрен профиль, проходящий по всей длине профилей основания.
Подобные открытия известны из практики с большим количеством различных форм исполнения. Они служат для полной облицовки поверхности фасадов или крыш, причем профили основания размещаются непосредственно на фасаде или крыше и соединяются друг с другом, например, посредством фальцовки. Профили основания обычно подгоняются индивидуально к каждой покрываемой поверхности и в основном имеют прямоугольную поверхность основания. При использовании такого покрытия проблема состоит в том, что соединение каждых двух профилей основания требует большого мастерства.
DE 20009511 U1 раскрывает изобретение покрытия для поверхности крыш, включающего в себя несколько расположенных параллельно друг другу профилей основания, размещенных на основании друг от друга, причем для соединения каждых двух соседних профилей основания предусмотрен перекрывающий профиль, проходящий по всей длине профилей основания.
Задачей изобретения является создание покрытия вышеупомянутого типа, которое можно легко монтировать.
В соответствии с изобретением данная задача решается посредством того, что каждая полка перекрывающего профиля переходит, изгибаясь наружу под углом, в горизонтальную часть, а затем, снова изгибаясь под углом, в примыкающую к ней вертикальную часть с образованием продольного паза, в который входит соответствующая полка профиля основания, а на горизонтальной части изгиба каждой полки перекрывающего профиля с наружной стороны сформированы два отвода, расположенных друг против друга под тупым углом, которые проходят по всей длине перекрывающего профиля.
За счет этого выполнения из устойчивого против атмосферного влияния материала, как, например, алюминий или полимерный материал, профили основания и перекрывающие профили могут монтироваться в покрытие простой стыковкой без применения инструмента, причем сначала на покрываемой поверхности на определенном расстоянии друг от друга размещаются два профиля основания и соединяются посредством перекрывающего профиля. Таким способом можно создать замкнутое покрытие простыми средствами при минимальном профессиональном мастерстве. Для надежной фиксации профилей основания с помощью перекрывающего профиля каждая полка перекрывающего профиля изгибается наружу под углом, образуя горизонтальную часть и примыкающую к ней изогнутую под углом вертикальную часть с образованием продольного паза, в который входит соответствующая полка профиля основания. Благодаря такому исполнению попадание в покрытие воды или грязи значительно затрудняется. Чтобы полностью воспрепятствовать этому, можно во время монтажа покрытия ввести в продольный паз перекрывающего профиля герметизирующее клеящее вещество и за счет этого обеспечить долговечное герметичное соединение профиля основания с перекрывающим профилем. Затем для размещения каширующей покрытие облицовки на горизонтально изогнутой части каждой полки перекрывающего профиля формируются проходящие по всей длине перекрывающего профиля отводы, между которыми может быть введено, например, герметизирующее клеящее вещество для закрепления облицовки.
Предпочтительным является профиль основания с П-образным поперечным сечением, причем полки служат для фиксации перекрывающими профилями, а поперечина – для опоры на покрываемую поверхность. Таким образом, профиль основания имеет относительно простую в изготовлении форму и может производиться по выгодной цене, например, методом прессования. Кроме того, выполненный таким образом профиль основания представляет собой разновидность водосточного желоба. В предпочтительном варианте изобретения от поперечины профиля основания наружу отходят несколько выступов, имеющих Y-образное поперечное сечение. Выступы служат для укладки облицовки, каширующей покрытие, и расположены, например, на профиле основания на таком растровом расстоянии, что служат надежной опорой для облицовки.
Целесообразно чтобы профиль основания был прямоугольным. Профиль основания, изготовляемый способом непрерывного производства, как, например, экструдирование, прессование или вытяжка, по своей длине подгоняется к покрываемой поверхности, так что по этому размеру нет мест соединения, отрицательно влияющих на герметичность покрытия или его внешний вид.
В соответствии с предпочтительным улучшенным вариантом изобретения перекрывающий профиль имеет П-образное поперечное сечение, причем полки выполнены таким образом, что они перекрывают внахлестку полки профиля основания, а поперечина, соединяющая полки, прилегает к поверхности. За счет этого два соседних профиля основания, находящиеся на некотором расстоянии друг от друга, соединяются друг с другом просто путем насаживания перекрывающего профиля, причем ширина перекрывающего профиля определяет расстояние между двумя профилями основания, благодаря чему они при установке перекрывающего профиля выравниваются друг относительно друга. За счет прилегания поперечины перекрывающего профиля и поперечин профилей основания к покрываемой поверхности создается зрительно гармоничный внешний вид покрытия, которое полностью закрывает покрываемую поверхность. Кроме того, геометрия перекрывающего профиля и профиля основания должна обеспечиваться изготовлением в ходе непрерывного производственного процесса.
В соответствии с улучшенным вариантом идеи изобретения на конце наружной стороны изогнутой под углом вертикальной части каждой полки перекрывающего профиля по всей ее длине сформирован отходящий от нее носик, который входит в выемку, образованную на поперечине профиля основания.
Для того чтобы полки профиля основания, находящиеся в зацеплении с перекрывающим профилем, могли быть полностью заделаны в герметизирующее клеящее вещество, каждая полка перекрывающего профиля обращена наружу под тупым углом.
Для продольного ограничения покрытия в предпочтительном варианте изобретения концевой профиль и взаимодействующий с ним с возможностью смещения замыкающий профиль образуют по мере надобности продольное ограничение покрытия, причем концевой профиль соединен с перекрывающим профилем, который, в свою очередь, надет на профиль основания. Благодаря этому становится возможным создать покрытие любой ширины с использованием профилей основания и перекрывающих профилей одинаковой ширины, так как подгонку покрытия к покрываемой поверхности можно реализовать посредством расположенных по обе стороны покрытия регулируемых концевых и замыкающих профилей.
Для того чтобы покрытие надежно защищало покрываемую поверхность от воздействия окружающей среды, представляется целесообразным, что концевой профиль перекрывает внахлестку замыкающий профиль. В зоне соединения внахлестку снова может быть использовано герметизирующее клеящее вещество, благодаря чему вода или пыль не могут пройти сквозь покрытие.
Для простой реализации возможности регулировки положения концевого и замыкающего профилей друг относительно друга концевой профиль в предпочтительном варианте изобретения обнаруживает на стороне, обращенной к покрываемой поверхности, проходящий в продольном направлении волнистый профиль, соответствующий волнистому профилю замыкающего профиля.
В качестве альтернативы этому концевой профиль обнаруживает на стороне, обращенной к покрываемой поверхности, проходящий в продольном направлении гребенчатый профиль, соответствующий продольным канавкам замыкающего профиля. Входящий в продольные канавки гребенчатый профиль обеспечивает по сравнению с волнистым профилем возможность более точной регулировки при более совершенной фиксации концевого профиля на замыкающем профиле.
В другой форме осуществления изобретения прямоугольный концевой профиль на конце одной своей продольной стороны имеет отходящую под прямым углом фиксирующую полку для ввода в продольный паз перекрывающего профиля, которая проходит по всей длине концевого профиля. Благодаря этому обеспечивается надежная фиксация концевого профиля с помощью перекрывающего профиля. Концевой профиль может быть соединен с соседним профилем основания простым насаживанием перекрывающего профиля, при необходимости с применением герметизирующего клеящего вещества.
Чтобы закрепить на покрытии облицовку или настил, целесообразно сформировать на другой продольной стороне концевого профиля выступ, имеющий Y-образное поперечное сечение и проходящий по всей длине концевого профиля. При этом Y-образный выступ направлен таким образом, что его длинное плечо расположено в основном вертикально относительно покрываемой поверхности, а оба коротких плеча служат для опоры облицовки или покрытия. Между обоими короткими плечами, образующими форму V, может быть также помещено герметизирующее клеящее вещество.
Целесообразно, чтобы укладываемая на покрываемую поверхность сторона замыкающего профиля, противолежащая профилированной стороне, была выполнена гладкой.
Для того чтобы облицовка или настил, перекрывающие покрытие, имели опору и на концевой стороне, от профилированной стороны замыкающего профиля на участке продольной стороны, не перекрытой концевым профилем, по всей длине замыкающего профиля отходит опорный выступ, имеющий Y-образное сечение.
Для формирования водосточного желоба целесообразно, чтобы соответствующая опорному выступу продольная сторона замыкающего профиля была изогнута под углом так, чтобы полка уголка проходила под прямым углом к стороне с волнистым профилем.
Чтобы покрытие имело на концевой стороне как водосточный желоб, так и перекрытие в нахлестку для края, ограничивающего покрываемую поверхность, соответствующая опорному выступу продольная сторона замыкающего профиля согласно улучшенному варианту изобретения имеет Т-образное поперечное сечение.
Для обеспечения долговечного соединения целесообразно герметично склеить концевой профиль в зоне перекрытия с замыкающим профилем. Далее согласно улучшенному варианту идеи изобретения выступ концевого профиля и опорный выступ замыкающего профиля ориентированны так, что угловой паз обращен в сторону, противоположную покрываемой поверхности. Тем самым выступ и опорный выступ служат для монтажа любых настилов на расстоянии от покрытия. В предпочтительном варианте изобретения перекрывающий профиль герметично склеен с профилями основания или профилем основания и концевым профилем.
В соответствии с изобретением покрытие применяется в системе укладки плит, причем выступы профиля основания и/или отводы перекрывающего профиля и/иди выступ концевого профиля и/или опорный выступ замыкающего профиля служат в качестве опоры для плит. Целесообразно, чтобы плиты фиксировались с прокладкой промежуточного слоя герметизирующего клеящего вещества. Такая система укладки плит применяется, в частности, при санировании балконов или плоских крыш для защиты покрываемой поверхности от атмосферных воздействий и обеспечения новой облицовкой. Покрытие позволяет избежать дорогостоящей обработки покрываемой поверхности изоляционными материалами. Кроме того, покрытие само выполнено водонепроницаемым и служит в качестве водостока и герметичной опорной поверхности для плит, которые могут быть приклеены к отводам, выступам и опорным выступам. Тем самым получается относительно легкая в обращении система укладки плит, которая может быть использована в качестве герметичной опорной поверхности, например, на балконе или плоской крыше, без наличия особых профессиональных навыков.
Чтобы эффективно предотвратить попадание под покрытие воды, в частности дождевой воды, профиль основания и/или перекрывающий профиль, и/или концевой профиль, и/или замыкающий профиль склеены с резиновой пленкой, выходящей за край покрываемой поверхности. Затем резиновая пленка может быть соединена, например склеена, с наружной стеной строения, примыкающей к покрываемой поверхности.
Для сбора и отвода воды, стекающей через покрытие, целесообразно закрепить на обращенных наружу торцевых сторонах покрываемой поверхности узлы крепления для плавающей установки проточного водосточного желоба. Узлы крепления по конструкции могут одновременно использоваться для крепления вертикальных стоек перил. Предпочтительно наклеивать резиновую пленку на внутреннюю сторону полки водосточного желоба, обращенной к поверхности.
Предпочтительно, чтобы противоположная поверхности полка водосточного желоба имела проходящий по всему водосточному желобу уголок, который через промежуточный слой уплотнения опирается на торцовые стороны крайних плит или полку замыкающего профиля, проходящую перед плитами. За счет этого уголок, закрепленный съемно для обеспечения очистки, перекрывает водосточный желоб и оптически маскирует его. Поскольку вода через пазы плит попадает на покрытие, направляющий ее к водосточному желобу уголок не оказывает отрицательного влияния на работу водосточного желоба.
Разумеется, что вышеназванные и нижеследующие признаки изобретения, которые еще будут пояснены, могут использоваться не только в указанной комбинации, но и в других комбинациях. Рамки данного изобретения определяются только пунктами формулы изобретения.
Более подробно изобретение поясняется ниже на нескольких примерах осуществления изобретения со ссылкой на соответствующие чертежи. На них изображены:
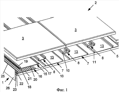
Фиг.1 – объемное изображение с пространственным разделением деталей предположенного в изобретении покрытия, используемого в системе укладки плит,
Фиг.2 – изображение по Фиг.1 в разрезе,
Фиг.3 – изображение в разрезе профиля основания покрытия,
Фиг.4 – изображение в разрезе перекрывающего профиля покрытия,
Фиг.5 – изображение в разрезе концевого профиля покрытия,
Фиг.6 – изображение в разрезе замыкающего профиля покрытия,
Фиг.7 – изображение в разрезе замыкающего профиля покрытия согласно первой альтернативной форме осуществления изобретения,
Фиг.8 – изображение в разрезе профиля основания согласно альтернативной форме осуществления изобретения,
Фиг.9 – изображение в разрезе перекрывающего профиля согласно альтернативной форме осуществления изобретения,
Фиг.10 – изображение в разрезе концевого профиля согласно альтернативной форме осуществления изобретения,
Фиг.11 – изображение в разрезе замыкающего профиля согласно второй альтернативной форме осуществления изобретения,
Фиг.12 – изображение в разрезе замыкающего профиля согласно третьей альтернативной форме осуществления изобретения,
Фиг.13 – увеличенное детальное изображение элемента XIII по Фиг.2,
Фиг.14 – увеличенное детальное изображение элемента XIV по Фиг.2 согласно альтернативной форме осуществления изобретения, и
Фиг.15 – разрез по линии XV-XV согласно Фиг.2.
Покрытие 1 находит применение в системе укладки плит 2, которая рассчитана для настила плит 3 на балконе 4 дома. Чтобы установить покрытие 1 под уклоном, требуемым для стока воды с балкона 4, на балконе 4 установлен клин 5 из вспученного-вспененного полистирола (ESP), на который опирается покрытие 1 с прокладкой, по крайней мере, по краям резиновой пленки 6, причем клин 5 сужается в направлении от стены дома к противолежащей свободной стене балкона. Резиновая пленка 6 во избежание проникновения воды закреплена на соответствующей стене дома посредством герметизирующего клеящего вещества.
Покрытие 1 состоит из нескольких расположенных на расстоянии друг от друга профилей основания 7, которые соединены друг с другом перекрывающими профилями 8. Каждый перекрывающий профиль 8 имеет П-образное поперечное сечение, причем каждая полка 9 переходит, изгибаясь наружу под углом, в горизонтальную часть и, снова изгибаясь под углом, в примыкающую к ней вертикальную часть с образованием продольного паза 10, в который входит полка 11 профиля основания 7, также имеющего П-образное поперечное сечение. На горизонтально изогнутой части каждой полки 9 перекрывающего профиля 8 с наружной стороны сформированы два отвода 12, расположенные друг относительно друга под тупым углом, на которые опираются плиты 3. Между отводами 12 каждой полки 9 перекрывающего профиля 8 нанесено герметизирующее клеящее вещество для крепления плит 3. Чтобы обеспечить герметичное водонепроницаемое покрытие 1, перекрывающий профиль 8 также герметично склеивается с соответствующими профилями основания 7, для чего в продольные пазы 10 полок 9 перекрывающих профилей 8 вводится клеящее вещество. Чтобы покрытие выдерживало относительно большие нагрузки, как поперечины 13 профилей основания 7, так и поперечины 14 перекрывающих профилей 8 проходят параллельно соответствующей поверхности клина 5 и полностью прилегают к ней. Кроме того, как профили основания 7, так и перекрывающие профили 8 проходят на всю глубину покрываемого балкона 4, а именно от фасада дома до противоположного фронтальной стороны балкона 4.
В альтернативной форме осуществления изобретения от поперечины 13 профиля основания 7 наружу отходит несколько выступов 27 с Y-образным поперечным сечением, расстояния которых друг от друга соответствует наружным размерам плиты 3. На поперечине 13 профиля основания 7 в непосредственной близи от полок 11 предусмотрена выемка 28 для фиксации в ней носика 29, сформированного на конце наружной стороны вертикально изогнутой под углом части каждой полки 9 перекрывающего профиля 8 по всей ее длине. В выемке 28, а также на наружной стороне полки 11 профиля основания 7 находится клеящее вещество 30 для герметичного крепления перекрывающего профиля 8.
Для подгонки покрытия 1 к различной ширине балконов 4 на краю покрытия 1 предусмотрены концевой профиль 15 и взаимодействующий с ним с возможностью смещения замыкающий профиль 16. Концевой профиль 15 на одной своей продольной стороне имеет отходящую с торца под прямым углом фиксирующую полку 17, вставленную в продольный паз 10 перекрывающего профиля 8, причем перекрывающий профиль 8 другим своим продольным пазом 10 удерживает соответствующий профиль основания 7. На продольной стороне концевого профиля 15, противолежащей фиксирующей полке 17, сформирован выступ 18 с Y-образным поперечньм сечением для опоры плит 3, причем в угловой паз 19 выступа помещено герметизирующее клеящее вещество для фиксации плит 3. На стороне, обращенной к покрываемому балкону, концевой профиль 15 обнаруживает проходящий в продольном направлении волнистый профиль 20, соответствующий волнистому профилю 21 замыкающего профиля 16, благодаря чему обеспечивается регулируемость концевого профиля 15 с перекрытым в нахлестку замыкающим профилем 16. Сторона замыкающего профиля 16, противолежащая волнистому профилю 21, выполнена гладкой для опоры на клин 5. Чтобы обеспечить опору для плит 3 по краям покрытия 1, от волнистой стороны замыкающего профиля 16 на участке его продольной стороны, не перекрытой концевым профилем 15, отходит Y-образный опорный выступ 22, в угловой паз которого 23 помещено герметизирующее клеящее вещество для фиксации плит 3. Для формирования водосточного желоба в краевой зоне покрытия 1 продольная сторона замыкающего профиля 16, соответствующая опорному выступу 22, изогнута под углом таким образом, что полка уголка 24 проходит под прямым углом к стороне с волнистым профилем 21. Альтернативно этому соответствующая опорному выступу 22 продольная сторона замыкающего профиля 16 имеет Т-образное поперечное сечение, так что полка 25 проходит в основном параллельно опорному выступу 22, а полка 26 – через клин 5 и соответствующую наружную кромку балкона 4. В зоне перекрытия внахлестку концевой профиль 15 герметично склеен с замыкающим профилем 16. Альтернативно к волнистому профилю 20 концевой профиль 15 обнаруживает на стороне, обращенной к покрываемой поверхности, проходящий в продольном направлении гребенчатый профиль 31, соответствующий продольным канавкам 32 замыкающего профиля 16.
Чтобы собрать и отвести с покрытия 1 воду, попадающую на покрытие 1 через швы плит 3, на обращенных наружу торцовых сторонах 33 балкона 4 закреплены узлы крепления 34 для плавающей установки проточного водосточного желоба 35. Каждый из узлов крепления 34 включает в себя привинченный к балкону 4 стопорный фланец 38, на который насажен с возможностью перемещения хомут 36 со стопорными носками 37 на верхней стороне, причем стопорный фланец 38 служит также для установки вертикальной стойки перил. На стопорных носках 37 устанавливается с возможностью смещения водосточный желоб 35. Благодаря подвижности хомута 36 на стопорном фланце 38 и возможности смещения водосточного желоба 35 на хомуте 36 водосточный желоб 35 при колебаниях температуры может изменять контуры, не уступая наносящим повреждения напряжениям. Чтобы вода надежно попадала с покрытия 1 в водосточный желоб 35, резиновая пленка 6 склеена, с одной стороны, с покрытием 1 и, с другой стороны, с внутренней стороной полки 39 водосточного желоба 35, обращенной к балкону 4. На полке 40 водосточного желоба 35, обращенной в противоположную от балкона 4 сторону, имеется проходящий по всему водосточному желобу 35 уголок 41, который через промежуточный слой уплотнения 42 опирается на торцевые стороны крайних плит 3 или на проходящую перед плитами 3 полку 26 замыкающего профиля 16. Для очистки водосточного желоба 35 уголок 41 выполнен съемным.
Перечень позиций на чертежах
1. Покрытие
2. Система укладки плит
3. Плита
4. Балкон
5. Клин
6. Резиновая пленка
7. Профиль основания
8. Перекрывающий профиль
9. Полка перекрывающего профиля 8
10. Продольный паз полки перекрывающего профиля 9
11. Полка профиля основания 7
12. Отвод перекрывающего профиля
13. Поперечина профиля основания 7
14. Поперечина перекрывающего профиля 8
15. Концевой профиль
16. Замыкающий профиль
17. Фиксирующая полка концевого профиля 15
18. Выступ концевого профиля 15
19. Угловой паз концевого профиля 15
20. Волнистый профиль концевого профиля 15
21. Волнистый профиль замыкающего профиля 16
22. Опорный выступ замыкающего профиля 16
23. Угловой паз опорного выступа 22
24. Полка уголка
25. Полка
26. Полка
27. Выступ профиля основания 7
28. Выемка профиля основания 7
29. Носик перекрывающего профиля 8
30. Клеящее вещество
31. Гребенчатый профиль
32. Продольная канавка
33. Торцовая сторона балкона 4
34. Узел крепления
35. Водосточный желоб
36. Хомут
37. Стопорный носок
38. Стопорный фланец
39. Полка водосточного желоба 35
40. Полка водосточного желоба 35
41. Уголок
42. Уплотнение
Формула изобретения
1. Покрытие для поверхности балконов (4), полов, крыш или фасадов, включающее в себя несколько расположенных параллельно друг другу профилей основания (7), которые размещены на расстоянии друг от друга, причем для соединения каждых двух соседних профилей основания (7) предусмотрен пролегающий по всей длине профилей основания (7) перекрывающий профиль (8), отличающееся тем, что каждая полка (9) перекрывающего профиля (8) переходит, изгибаясь наружу под углом, в горизонтальную часть и, снова изгибаясь под углом, в примыкающую к ней вертикальную часть с образованием продольного паза (10), в который входит соответствующая полка (11) профиля основания (7), а на горизонтальной части каждой полки (9) перекрывающего профиля (8) с наружной стороны сформированы два расположенных относительно друг друга под тупым углом отвода (12), которые проходят по всей длине перекрывающего профиля (8).
2. Покрытие по п.1, отличающееся тем, что профиль основания (7) имеет П-образное поперечное сечение, причем полки 11 служат для фиксации перекрывающих профилей (8), а поперечина (13) – для опоры на покрываемую поверхность.
3. Покрытие по п.2, отличающееся тем, что от поперечины (13) профиля основания (7) наружу отходят несколько выступов (27), имеющих Y-образное поперечное сечение.
4. Покрытие по п.1, отличающееся тем, что профиль основания (7) имеет прямоугольное поперечное сечение.
5. Покрытие по п.1, отличающееся тем, что перекрывающий профиль (8) имеет П-образное поперечное сечение, причем полки (9) выполнены таким образом, что они перекрывают внахлестку полки (11) профиля основания (7), а соединяющая полки (9) поперечина (14) опирается на поверхность.
6. Покрытие по п.1, отличающееся тем, что на конце наружной стороны изогнутой под углом вертикальной части каждой полки (9) перекрывающего профиля (8) по всей ее длине сформирован носик (29), который входит в выемку (28), образованную на поперечине (13) профиля основания (7).
7. Покрытие по одному из пп.1-6, отличающееся тем, что каждая полка (9) перекрывающего профиля (8) обращена наружу под тупым углом.
8. Покрытие по п.1, отличающееся тем, что концевой профиль (15) и взаимодействующий с ним с возможностью смещения замыкающий профиль (16) образуют по мере необходимости продольное ограничение покрытия, причем концевой профиль (15) соединен с перекрывающим профилем (8), который, в свою очередь, надет на профиль основания (7).
9. Покрытие по п.8, отличающееся тем, что концевой профиль (15) перекрывает внахлестку замыкающий профиль (16).
10. Покрытие по п.8, отличающееся тем, что концевой профиль (15) на стороне, обращенной к покрываемой поверхности, имеет проходящий в продольном направлении волнистый профиль (20), соответствующий волнистому профилю (21) замыкающего профиля (16).
11. Покрытие по п.8, отличающееся тем, что концевой профиль (15) на стороне, обращенной к покрываемой поверхности, имеет проходящий в продольном направлении гребенчатый профиль (31), соответствующий продольным канавкам (32) замыкающего профиля (16).
12. Покрытие по одному из пп.8-11, отличающееся тем, что прямоугольный концевой профиль (15) на одной своей продольной стороне имеет отходящую с торца под прямым углом и проходящую по всей длине концевого профиля (15) фиксирующую полку (17) для ввода в продольный паз (10) перекрывающего профиля (8).
13. Покрытие по одному из пп.8-11, отличающееся тем, что на другой продольной стороне концевого профиля (15) сформирован имеющий Y-образное поперечное сечение выступ (18), проходящий по всей длине концевого профиля (15).
14. Покрытие по одному из пп.8-11, отличающееся тем, что сторона прямоугольного замыкающего профиля (16), противолежащая профилированной стороне, выполнена гладкой для опоры на покрываемую поверхность.
15. Покрытие по одному из пп.8-11, отличающееся тем, что от профилированной стороны замыкающего профиля (16) на участке продольной стороны, не перекрытой концевым профилем (15), по всей длине замыкающего профиля (16) отходит Y-образный опорный выступ (22).
16. Покрытие по п.15, отличающееся тем, что соответствующая опорному выступу (22) продольная сторона замыкающего профиля (16) изогнута под углом так, что полка уголка (24) проходит под прямым углом к стороне с волнистым профилем (21).
17. Покрытие по п.15, отличающееся тем, что соответствующая опорному выступу (22) продольная сторона замыкающего профиля (16) имеет Т-образное поперечное сечение.
18. Покрытие по одному из пп.8-11, 16 и 17, отличающееся тем, что концевой профиль (15) в зоне перекрытия герметично склеен с замыкающим профилем (16).
19. Покрытие по п.15, отличающееся тем, что выступ (18) концевого профиля (15) и опорный выступ (22) замыкающего профиля (16) ориентированы так, что угловой паз (19, 23) обращен в сторону, противоположную покрываемой поверхности.
20. Покрытие по одному из пп.1-6, 8-11, 16, 17 и 19, отличающееся тем, что перекрывающий профиль (8) герметично склеен с профилем основания (7) или профилем основания (7) и концевым профилем (15).
21. Применение покрытия (1) по одному из пп.3-6, 8-11 и 16 в системе укладки плит (2), причем выступы (27) профиля основания (7) и/или отвода (12) перекрывающего профиля (8), и/или выступ (18) концевого профиля (15) и/или опорный выступ (22) замыкающего профиля (16) служат в качестве опоры плит (3).
22. Система укладки плит по п.21, отличающаяся тем, что профиль основания, (7) и/или перекрывающий профиль, (8) и/или концевой профиль (15), и/или замыкающий профиль (16) склеены резиновой пленкой (6), выходящей за край накрываемой поверхности.
23. Система по п.21, отличающаяся тем, что на обращенных наружу торцах (33) покрываемой поверхности закреплены узлы крепления (34) для плавающей установки проточного водосточного желоба (35).
24. Система по п.23, отличающаяся тем, что плиты (3) зафиксированы с использованием промежуточного слоя герметизирующего клеящего вещества.
25. Система по п.21, отличающаяся тем, что резиновая пленка (6) приклеена к внутренней стороне обращенной к поверхности полки (39) водосточного желоба (35).
26. Система по п.23 или 25, отличающаяся тем, что на полке (40) водосточного желоба (35), обращенной в противоположную от поверхности сторону, имеется проходящий по всему водосточному желобу (35) уголок (41), который через промежуточный слой уплотнения (42) опирается на торцевые стороны крайних плит (3) или на проходящую перед плитами (3) полку (26) замыкающего профиля (16).
РИСУНКИ
|
|