|
(21), (22) Заявка: 2006125557/12, 18.07.2006
(24) Дата начала отсчета срока действия патента:
18.07.2006
(46) Опубликовано: 10.02.2008
(56) Список документов, цитированных в отчете о поиске:
SU 1587087 A1, 23.08.1990. SU 1595961 A2, 30.09.1990. SU 1406237 A1, 30.06.1988. SU 1612010 A1, 07.12.1990. US 6554028 B2, 29.04.2003.
Адрес для переписки:
119071, Москва, ГСП-1, М. Калужская, 1, Московский государственный текстильный университет им. А.Н. Косыгина
|
(72) Автор(ы):
Макаров Лев Александрович (RU)
(73) Патентообладатель(и):
ГОУ ВПО “Московский государственный текстильный университет им. А.Н. Косыгина” (RU)
|
(54) СКАЛО ТКАЦКОГО СТАНКА
(57) Реферат:
Изобретение относится к области текстильного машиностроения и может быть использовано на ткацких станках. Скало ткацкого станка содержит подвижную трехслойную оболочку, наружный слой которой изготовлен из фрикционного материала, средний выполнен армирующим, а внутренний – антифрикционным, установленную на рабочую ширину скала. Скало установлено неподвижно так, что его часть, обращенная внутрь станка, имеет по своей рабочей ширине продольную фрикционную прокладку для циклического взаимодействия с внутренним слоем оболочки посредством зажимного устройства механического типа. Зажимное устройство выполнено в виде ползуна, с жестко закрепленной на нем и обращенной к скалу фрикционной прокладкой, и его неподвижных направляющих, расположенных по рабочей ширине станка напротив фрикционной прокладки скала, так что при возвратно-поступательном движении ползуна прокладка циклически взаимодействует с наружным фрикционным слоем оболочки. Поверхность скала имеет по меньшей мере одну кольцевую выемку (или выступ), которая совмещена при наличии незначительного зазора с по меньшей мере одним кольцевым выступом (или выемкой) внутреннего слоя оболочки. Техническим результатом является более интенсивный процесс ткачества (с большим числом уточин в единицу времени) и увеличение ассортимента получаемых тканей за счет достижения более жесткого прибоя уточной нити. 2 з.п. ф-лы, 5 ил.
Изобретение относится к текстильному машиностроению, может быть использовано на ткацком станке при получении тканей полотняного переплетения и позволяет повысить производительность ткацкого станка и увеличить ассортимент получаемых тканей.
Известен основный регулятор ткацкого станка (а.с. СССР №1217951), содержащий скало, снабженное оболочкой, выполненной с возможностью вращения относительно наружной поверхности скала. Применение указанного скала с оболочкой уменьшает истирающее воздействие скала на основные нити и стабилизирует их натяжение.
Недостатком этого скала с подвижной оболочкой является одинаковость свойств наружной и внутренней частей оболочки и ее постепенное сползание в процессе движения вместе с нитями в направлении продольной оси скала.
Наиболее близким, принятым за прототип, является скало ткацкого станка (а.с. СССР №1587087). Скало снабжено трехслойной подвижной оболочкой, установленной на всю ширину скала, слои которой имеют разные свойства: наружный – фрикционный, средний – армирующий и внутренний – антифрикционный.
Наружный слой оболочки выполнен фрикционным для исключения проскальзывания в паре оболочка – нити основы. Средний слой является армирующим для придания прочности и долговечности оболочке в целом. Внутренний слой, взаимодействующий с наружной поверхностью скала, выполнен антифрикционным для уменьшения сил трения в паре оболочка – скало и снижения этим самым натяжения нитей основы при зевообразовании.
Для исключения возможности соскальзывания этой оболочки со скала на наружной поверхности скала выполнены кольцевые выемки, а на внутреннем слое оболочки – кольцевые выступы, расположенные с зазором в кольцевых выемках скала.
Недостатком скала, содержащего названную оболочку, является неизменность его функционирования при зевообразовании и прибое уточной нити. По этой причине скало согласно а.с. СССР №1587087 не может создать условий для обеспечения жесткого прибоя уточных нитей при работе ткацкого станка.
Технический результат предлагаемого скала ткацкого станка – обеспечение жесткого прибоя уточной нити к опушке ткани за счет кратковременного зажима движущейся вместе с нитями оболочки в момент прибоя уточной нити, выполняемого предлагаемым зажимным устройством механического типа.
Указанный технический результат достигается тем, что:
– скало ткацкого станка содержит подвижную трехслойную оболочку, наружный слой которой изготовлен из фрикционного материала, средний выполнен армирующим, а внутренний – антифрикционным, установленную на рабочую ширину скала, скало установлено неподвижно так, что часть скала, обращенная внутрь станка, имеет по своей рабочей ширине продольную фрикционную прокладку для циклического взаимодействия с внутренним слоем оболочки посредством зажимного устройства механического типа;
– зажимное устройство выполнено в виде ползуна, с жестко закрепленной на нем и обращенной к скалу фрикционной прокладкой, и его неподвижных направляющих, расположенных по рабочей ширине станка напротив фрикционной прокладки скала так, что при возвратно-поступательном движении ползуна прокладка циклически взаимодействует с наружным фрикционным слоем оболочки;
– поверхность скала имеет по меньшей мере одну кольцевую выемку (или выступ), которая совмещена при наличии незначительного зазора по меньшей мере с одним кольцевым выступом (или выемкой) внутреннего слоя оболочки.
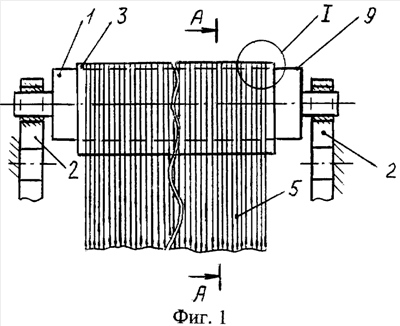
На фиг.1 изображено скало ткацкого станка с многослойной оболочкой, вид сверху; на фиг.2 – разрез А-А на фиг.1; на фиг.3 – узел I на фиг.1; на фиг.4 – зацепление внутреннего слоя оболочки со скалом; на фиг.5 – расположение выступов на внутреннем слое оболочки, варианты.
Скало 1 ткацкого станка жестко установлено в неподвижных кронштейнах 2 и содержит цилиндрическую трехслойную малоинерционную оболочку 3, одетую на скало, и зажимное устройство механического типа 4. Неподвижная установка скала необходима для обеспечения функционирования зажимного устройства и получения жесткого прибоя уточной нити.
Оболочка 3 установлена по ширине скала с возможностью ее перемещения вместе с нитями 5 основы относительно наружной поверхности скала 1 (фиг.1). Оболочка 3 состоит из трех слоев: наружного 6, среднего 7 и внутреннего 8.
Наружный слой 6, контактирующий с нитями 5 (фиг.2), выполнен фрикционным с целью исключения относительного скольжения между оболочкой и нитями. При этом электризация нитей 5 в зоне скала сведена к минимуму. Выполнение слоя 6 упругим позволяет для каждой нити увеличить поверхность ее контакта со слоем 6 оболочки (фиг.3) и таким образом уменьшить износ нитей в зоне скала.
Средний слой 7 трехслойной оболочки 3 с целью увеличения ее прочности выполнен армирующим. Если особая прочность не требуется, то слои 6 и 8 могут быть соединены при помощи клея, термически, с использованием третьего промежуточного слоя или еще каким-нибудь образом.
Внутренний слой 8 имеет минимальный коэффициент трения по отношению к материалу скала, если это трудно осуществимо – к материалу антифрикционного покрытия 9 наружной поверхности скала 1. Антифрикционное покрытие 9 наносится на наружную поверхность скала по площади ее контакта (с некоторым запасом) с внутренним антифрикционным слоем 8 движущейся в процессе ткачества оболочки 3.
Со скалом 1 жестко связана плоская пружина 10, идущая по ширине ткацкого станка и служащая для поддержания оболочки 3 в натянутом состоянии. Пружина 10 крепится к скалу винтами 11 с шайбами 12, а ее положение устанавливается с использованием прокладок 13. Последующая регулировка положения пружины 10 с целью достижения оптимального натяжения оболочки 3 достигается сменными прутками 14, имеющими разные диаметры.
Зажимное устройство механического типа 4 содержит ползун 15 с жестко закрепленной на нем и обращенной к скалу фрикционной прокладкой 16. Ползун 15 установлен в неподвижных направляющих 17, расположенных по рабочей ширине станка, напротив продольной фрикционной прокладки 18 скала, установленной неподвижно в его, например, прямоугольной выемке. При возвратно-поступательном движении ползуна 15 в направляющих 17 его фрикционная прокладка 16 циклически взаимодействует с наружным фрикционным слоем 6 оболочки 3, прижимая эту оболочку внутренним слоем 8 к прокладке 18 скала 1.
Таким образом, зажимное устройство 4 служит для прижима, связанного с остановом, оболочки 3 к продольной фрикционной прокладке 18 скала 1 в момент прибоя уточной нити с целью получения жесткого прибоя. Для лучшего прижима коэффициент трения скольжения в паре внутренний слой 8 оболочки 3 – фрикционная прокладка 18 должен быть по возможности повышенным.
Чтобы исключить возможность соскальзывания многослойной оболочки со скала в случае некоторой неперпендикулярности продольной оси скала нитям движущейся основы, на наружной поверхности скала выполнены кольцевые выемки 19 (или выступы 20), которые совмещены при наличии незначительного зазора с кольцевыми выступами 21 (или выемками 22) на внутреннем слое 8 оболочки 3 (фиг.4). Число выступов составляет 1 (фиг.5а) по середине оболочки, 2 (фиг.5б) по ее краям или более (фиг.5в, г). При прочих равных условиях, чем меньше выступов, тем они выше и шире (фиг.5а) и наоборот. Вид выступов – впадин зацепления внутреннего слоя оболочки со скалом, имеющим антифрикционное покрытие 9, может быть различным: прямоугольным, треугольным, трапециевидным и т.д.
При работе ткацкого станка в момент зевообразования происходит увеличение натяжения нитей основы в зоне скало – опушка ткани. В результате увеличения разности моментов сил T1 и Т2 натяжения нитей 5, огибающих скало 1 по многослойной оболочке 3, происходит перемещение этой оболочки вместе с нитями в направлении, отмеченном стрелкой В. Малый коэффициент трения пары внутренний антифрикционный слой 8 оболочки 3 – скало 1 с антифрикционным покрытием и сравнительно небольшая (по сравнению со скалом 1) инерционность этой оболочки способствуют этому движению. При этом происходит выравнивание натяжений нитей, огибающих скало по его оболочке, так что увеличение натяжения нитей в зоне скало – опушка ткани меньше, чем в случае скала без оболочки.
После зевообразования при встречном движении ремиз длина нитей в зоне скало – опушка ткани уменьшается, их натяжение – то же и происходит перемещение оболочки 3 вместе с нитями уже в другом направлении, противоположном отмеченному стрелкой В. Происходит выравнивание натяжений нитей T1 и Т2, огибающих скало 1.
После зевообразования происходит перемещение ползуна 15 с прокладкой 16 в направлении к скалу 1.
В момент прибоя ползун 15 посредством фрикционной прокладки 16 кратковременно прижимает оболочку 3 к фрикционной прокладке 18, жестко установленной в выемке скала 1, что вызывает останов окружного движения оболочки 3.
При этом происходит также останов нитей 5 основы, которые огибают по дуге охвата фрикционный слой 6 этой оболочки. Таким образом, нити основы 5 в момент прибоя деформируются лишь в зоне скало – опушка ткани, что позволяет получить жесткий прибой.
Для получения необходимого закона движения ползуна 15 с прокладкой 16 при работе ткацкого станка можно использовать известные механизмы, движение которых необходимо синхронизировать с движением главного вала ткацкого станка. Это кривошипно-ползунный, четырехзвенный, клиновой, эксцентриковый и другие известные механизмы.
За счет уменьшения натяжения нитей основы при зевообразовании и их абразивного износа в зоне скала, а также уменьшения заряда электростатического электричества на нитях уменьшится их обрывность в процессе ткачества. Таким образом, использование скала, содержащего многослойную оболочку, позволяет перейти к более интенсивному процессу ткачества с большим числом уточин в единицу времени, т.е. повысить производительность ткацкого станка. Кроме этого, за счет достижения более жесткого прибоя увеличивается ассортимент получаемых тканей для используемых типов ткацких станков.
Формула изобретения
1. Скало ткацкого станка, содержащее подвижную трехслойную оболочку, наружный слой которой изготовлен из фрикционного материала, средний выполнен армирующим, а внутренний – антифрикционным, установленную на рабочую ширину скала, отличающееся тем, что скало установлено неподвижно так, что часть скала, обращенная внутрь станка, имеет по своей рабочей ширине продольную фрикционную прокладку для циклического взаимодействия с внутренним слоем оболочки посредством зажимного устройства механического типа.
2. Скало ткацкого станка по п.1, отличающееся тем, что зажимное устройство выполнено в виде ползуна, с жестко закрепленной на нем и обращенной к скалу фрикционной прокладкой, и его неподвижных направляющих, расположенных по рабочей ширине станка напротив фрикционной прокладки скала, так что при возвратно-поступательном движении ползуна прокладка циклически взаимодействует с наружным фрикционным слоем оболочки.
3. Скало ткацкого станка по любому пп.1 и 2, отличающееся тем, что поверхность скала имеет по меньшей мере одну кольцевую выемку или выступ, которая совмещена при наличии незначительного зазора с по меньшей мере одним кольцевым выступом или выемкой внутреннего слоя оболочки.
РИСУНКИ
MM4A – Досрочное прекращение действия патента СССР или патента Российской Федерации на изобретение из-за неуплаты в установленный срок пошлины за поддержание патента в силе
Дата прекращения действия патента: 19.07.2008
Извещение опубликовано: 27.03.2010 БИ: 09/2010
|