|
|
(21), (22) Заявка: 2005140653/12, 01.04.2004
(24) Дата начала отсчета срока действия патента:
01.04.2004
(30) Конвенционный приоритет:
27.05.2003 CH 946/03
(43) Дата публикации заявки: 10.05.2006
(46) Опубликовано: 10.02.2008
(56) Список документов, цитированных в отчете о поиске:
RU 2142029 С1, 27.11.1999. ЕР 0088254 А, 14.09.1983. SU 1823885 A3, 23.06.1993. GB 2287256 A, 13.09.1995. SU 961958 A1, 30.09.1982.
(85) Дата перевода заявки PCT на национальную фазу:
27.12.2005
(86) Заявка PCT:
CH 2004/000202 (01.04.2004)
(87) Публикация PCT:
WO 2004/106605 (09.12.2004)
Адрес для переписки:
129010, Москва, ул. Б.Спасская, 25, стр.3, ООО “Юридическая фирма Городисский и Партнеры”, пат.пов. С.Р. Абубакиров
|
(72) Автор(ы):
БЕРТШ Готтхильф (CH)
(73) Патентообладатель(и):
Ёрликон Хеберляйн Темко Ваттвил АГ (СН)
|
(54) СОПЛОВЫЙ СЕРДЕЧНИК УСТРОЙСТВА ДЛЯ ПОЛУЧЕНИЯ ПЕТЛИСТОЙ НИТИ
(57) Реферат:
Изобретение относится к керамическому сопловому сердечнику устройства для получения петлистой нити. Керамический сопловый сердечник как часть текстурирующего сопла для получения петлистой нити имеет приблизительно постоянную толщину стенки и уменьшен по величине до центральных функций нитеобрабатывающего канала с вдуванием воздуха и выходом нити для петлеобразования. Нитеобрабатывающий канал имеет, по меньшей мере, один цилиндрический и один конический расширяющийся участки. Вдувное устройство расположено в пределах цилиндрического участка. Сопловой сердечник изготовлен способом формования. Изобретение позволяет значительно повысить качество текстурирования нити, а также снизить затраты на изготовление соплового сердечника. 7 з.п. ф-лы, 13 ил.
Изобретение относится к сопловому сердечнику как части текстурирующего сопла устройства для получения петлистой нити.
Под термином «текстурирование» частично следует понимать еще отделку полученных прядением пучков элементарных нитей или соответствующих комплексных нитей с целью придания пряже характера текстиля. Ниже под термином «текстурирование» следует понимать образование множества петель у отдельных элементарных нитей или изготовление петлистой комплексной нити. Более раннее решение текстурирования описано в ЕР 0088254. Бесконечную комплексную нить подают на входном конце текстурирующего сопла к нитенаправляющему каналу и текстурируют на раструбообразном выходном конце за счет ударных усилий сверхзвукового потока. Нитенаправляющий канал выполнен цилиндрическим постоянного сечения. Вход слегка скруглен для ввода необработанной нити без проблем. На раструбообразном выходном конце находится направляющее тело, причем между раструбом и направляющим телом происходит петлеобразование. Нить подают к текстурирующему соплу с большим запасом. Запас требуется для петлеобразования на каждой отдельной элементарной нити, следствием чего является повышение титра на выходном конце.
Публикация ЕР 0088254 исходила из устройства для текстурирования, по меньшей мере, одной комплексной нити, состоящей из множества элементарных нитей. Сопло имеет нитенаправляющий канал и, по меньшей мере, один входящий в канал в радиальном направлении подвод для сжатой среды. Сопло согласно родовому понятию имеет расширяющееся наружу выходное отверстие канала и выступающее в выходное отверстие, образующее с ним кольцевой зазор шарообразное или полушарообразное направляющее тело. Было обнаружено, что у текстурированных нитей сохранение свойств пряжи как в процессе обработки, так и после него в готовом продукте является важным критерием возможности применения таких нитей. Далее перемешивание двух или более нитей и отдельных элементарных нитей текстурированных нитей имеет существенное значение для достижения равномерного внешнего вида текстильного полотна. Стабильность используется при этом в качестве понятия качества.
Для определения нестабильности I пряжи на мотовиле образуют мотки из четырех витков окружностью в 1 м каждый, как это поясняется на примере комплексной нити из полиэфира с титром 167f68 dtex. Эти мотки подвергают затем в течение 1 мин нагрузке 25 сН, а затем определяют длину Х. Вслед за этим также в течение 1 мин осуществляют нагрузку 1250 сН. После снятия нагрузки через 1 мин мотки снова подвергают нагрузке 25 сН и еще через 1 мин определяют длину Y. Из этого следует значение нестабильности:

Нестабильность указывает, сколько процентов остаточного растяжения вызывает приложенная нагрузка. В основе ЕР 0088254 положена задача создания усовершенствованного устройства описанного рода, с помощью которого можно было бы достичь оптимального эффекта текстурирования, обеспечивающего высокую стабильность комплексной нити и высокую степень перемешивания отдельных элементарных нитей. В качестве решения было предложено, что в качестве оптимальных результатов внешний диаметр выпуклого выходного отверстия канала, по меньшей мере, равен 4-кратному значению диаметра канала и, по меньшей мере, равен 0,5-кратному значению диаметра шарообразного или полушарообразного направляющего тела 5. Производственные скорости лежали в диапазоне от 100 до свыше 600 м/мин. Интересен тот факт, что заявителю удалось успешно сбывать соответствующие сопла в течение свыше 15 лет. Качество произведенной ими пряжи оценивалось в течение полутора десятка лет как очень высокое. Однако во все возрастающей степени высказывалось пожелание повышения производительности. С решением согласно ЕР 0880611 заявителю удалось резко повысить производительность более чем в 1000 м/мин. Основная идея повышения производительности лежала в интенсификации условий потока в расширяющемся сверхзвуковом канале, т.е. в зоне, где происходит петлеобразование. В качестве особого критерия контроля служило натяжение нити на выходе из текстурирующего сопла. Многие серии исследований выявили, что при решении согласно ЕР 0088254 натяжение нити после скорости транспортировки примерно 600 м/мин резко падает. Это является в конечном итоге объяснением ограничения производительности этих типов сопел. Предложение согласно ЕР 0880611 по интенсификации потока в сверхзвуковом канале дало неожиданное увеличение натяжения нити, которое позволило повысить скорость транспортировки до 1000 м/мин. Качество обработанной при этом нити оценивалось вначале при максимальных скоростях транспортировки как такое же, если даже не лучше. Практика показала, однако, впоследствии, что во многих случаях качество нити не отвечало желаемым требованиям.
В ЕР 0880611 было обнаружено, что первый ключ к повышению качества лежит в натяжении нити после текстурирующего сопла. Только если удастся повысить натяжение нити, можно будет улучшить качество. Прорыв был обеспечен, когда поток струи дутьевого воздуха был усилен до числа М выше 2. Многие серии испытаний подтвердили, что качество не только улучшается, но и повышение производственной скорости негативно влияет на качество на удивление в малой степени. Уже незначительное увеличение числа М выше 2 дало существенные результаты. Лучшее объяснение соответствующей интенсификации процесса текстурирования следует усматривать в том, что разность скоростей непосредственно до и после фронта скачка уплотнения возрастает, а это прямо сказывается на соответствующих усилиях воздействия воздуха на элементарные нити. Возросшие усилия в зоне фронта скачка уплотнения вызывают увеличение натяжения нити. За счет повышения числа М возрастает непосредственно и обстановка в зоне фронта скачка уплотнения. Согласно изобретению была обнаружена закономерность: более высокое число М = более сильный скачок уплотнения = более интенсивное текстурирование. Интенсифицированный сверхзвуковой поток на более широком фронте и более интенсивно захватывает отдельные элементарные нити разрыхленной комплексной нити, в результате чего никакие петли не могут отклониться вбок из зоны действия фронта скачка уплотнения. Поскольку создание сверхзвукового потока в ускорительном канале основано на расширении, за счет более высокого числа М, например 2,5 вместо 1,5, получают также увеличение или приблизительно удвоение эффективного выходного сечения. Удалось сделать различные неожиданные наблюдения и в комбинации с новым изобретением подтвердить следующее.
Сравнительные испытания, уровень техники текстурирования по ЕР 0088254 и решение в рамках ЕР 0880611 позволили вывести в значительно широком диапазоне следующую закономерность. Качество текстурирования при более высокой производственной скорости по сравнению с качеством текстурирования при более низкой производственной скорости с выполненным для более низкого числа М сверхзвуковым каналом, по меньшей мере, одинаковое или лучше. Процесс текстурирования при скоростях воздуха в ускорительном канале с числом М выше 2, т.е., например, 2,5-5, протекает настолько интенсивно, что даже при максимальных скоростях прохождения нити все петли почти без исключения захватываются и хорошо переплетаются в нити. Создание скорости воздуха с высоким числом М внутри ускорительного канала вызывает то, что нарушения текстурирования вплоть до максимальных скоростей больше не происходит. Во-вторых, весь пучок элементарных нитей в пределах четких внешних границ канала направляется в зону фронта скачка уплотнения равномерно и непосредственно.
В ускорительном канале нить втягивается ускоряющей воздушной струей на соответствующем отрезке пути, разрыхляется и передается к непосредственно примыкающей зоне текстурирования. Струя дутьевого воздуха подается затем к ускорительному каналу без отклонения на сильно расширяющемся участке. Одна или несколько элементарных нитей могут быть введены с одинаковым или разным запасом и текстурированы с производственной скоростью от 400 до свыше 1200 м/мин. Струя сжатого воздуха в сверхзвуковом канале ускоряется до числа М 2-6, предпочтительно 2,5-4. Наилучшие результаты достигаются тогда, когда выходной конец канала для нити ограничен отбойником. Текстурированная нить отводится через щель приблизительно под прямым углом к оси канала для нити.
Весь теоретически эффективный угол расширения сверхзвукового канала должен лежать от наименьшего диаметра до наибольшего выше 10°, однако ниже 40°, преимущественно от 15 до 30°. В соответствии с действующими в настоящее время значениями шероховатости в отношении серийного производства верхним предельным углом (общий угол) оказалось значение 35-36°. В коническом ускорительном канале сжатый воздух ускоряется, по существу, непрерывно. Участок канала сопла непосредственно перед ультразвуковым каналом выполняют предпочтительно приблизительно цилиндрическим, причем вдувание в цилиндрический участок осуществляют с составляющей в направлении ускорительного канала. Действующее на нить втягивающее усилие возрастает с длиной ускорительного канала. Расширение сопла или повышение числа М приводит к интенсификации текстурирования. Ускорительный канал должен иметь, по меньшей мере, диапазон расширения сечения 1:2, предпочтительно 1:2,5 или более. Далее предложено, что длина ускорительного канала в 3-15, предпочтительно, в 4-12 раз больше диаметра канала для нити в начале ускорительного канала. Ускорительный канал может быть выполнен расширяющимся полностью или частично непрерывно, иметь конические участки и/или иметь слегка сферическую форму. Ускорительный канал может быть выполнен также мелкоступенчатым и иметь различные ускорительные зоны, по меньшей мере, с одной зоной сильного ускорения и, по меньшей мере, одной зоной слабого ускорения струи сжатого воздуха. Если упомянутые краевые условия для ускорительного канала соблюдены, то указанные вариации ускорительного канала оказываются почти равноценными или, по меньшей мере, эквивалентными. Канал для нити имеет примыкающее к сверхзвуковому каналу, сильно выпуклое, предпочтительно расширяющееся раструбообразно более чем на 40° устье, причем переход от сверхзвукового канала к устью канала для нити происходит предпочтительно прерывисто. Решающий фактор был обнаружен далее в том, что отбойник положительно влияет и поддерживает стабильными прежде всего условия давления в текстурирующей камере. Другое предпочтительное выполнение текстурирующего сопла отличается тем, что оно имеет сквозной канал для нити со средним цилиндрическим участком, в который впадает воздухоподвод.
На основе всех прежних исследований удалось лишь подтвердить, что при данных, полученных с текстурирующими соплами с радиальным вдуванием воздуха в канал для нити по ЕР 0088254, оптимальный угол вдувания обрабатывающего воздуха составляет 48°. Полной неожиданностью во время новейших испытаний оказалось то, что увеличение угла вдувания с соплами по ЕР 0880611 уже в первых сериях дало неожиданное улучшение качества текстурированной нити. Впоследствии было обнаружено, что оба этапа процесса, а именно разрыхление нити и ее текстурирование, являются основными признаками и должны быть оптимально согласованы между собой. Многократно повторенные испытания показали, что у решения по ЕР 0088254 ограничение лежит в зоне текстурирования и потому усиление разрыхления нити приносит только недостатки.
Из области завихрения пряжи, не являющегося объектом настоящей заявки, известно, что эффект завихрения наибольший при угле вдувания 90°. Целью завихрения пряжи является образование в ней равномерных узелков. В качестве примера завихрения пряжи следует сослаться на DE 19580019. У текстурированной нити, напротив, ни при каких обстоятельствах не должно быть узелков. Существует предельный диапазон угла вдувания для обоих принципиально разных способов образования узелков и петлеобразования. В отношении различных функций для достижения наивысшего качества нити даже при максимальных скоростях транспортировки нити удалось реализовать неожиданное повышение, о чем будет сказано ниже. По меньшей мере, с точки зрения заявителя, воспринималось как большой недостаток то, что для изготовления так называемых сопловых сердечников требовались сложные технологии производства. Все попытки добиться этого рентабельными способами, например прессованием или литьем под давлением, потерпели неудачу. В рамках этих намерений не удалось изготовить пригодные заготовки, будь то способом прессования или литья под давлением. Причина лежала в особенности материала-керамики. Керамика по-прежнему является одним из лучших материалов в отношении износа или долговечности.
В основу данного изобретения была положена задача обеспечения, с одной стороны, всех преимуществ сопловых сердечников согласно уровню техники, а с другой стороны, разработки новых технологий производства, которые обеспечили бы рентабельное изготовление сопловых сердечников.
Способ согласно изобретению отличается тем, что керамический сопловый сердечник выполняют приблизительно с постоянной толщиной стенки и уменьшенным по величине до центральных функций нитеобрабатывающего канала с вдуванием воздуха и выходом нити для петлеобразования и изготавливают способом формования.
Один особенно предпочтительный вариант осуществления изобретения отличается тем, что керамический сопловый сердечник отливают под давлением высокоточным способом.
Сопловый сердечник согласно изобретению отличается тем, что он выполнен в виде керамического соплового сердечника приблизительно с постоянной толщиной стенки и уменьшен по величине до центральных функций нитеобрабатывающего канала с вдуванием воздуха и выходом нити для петлеобразования и может быть изготовлен способом формования.
Прежде исходили из того, что для каждой новой разработки важный критерий заключался в том, чтобы выполнить сопловый сердечник в виде сменного сердечника с возможностью использования соплового сердечника с другими внутренними размерами и углами вдувания воздуха. Благодаря этому можно, например, несколькими движениями заменить существующий сопловый сердечник из уровня техники и использовать все преимущества новой разработки. Лишь теперь было обнаружено, что это само по себе положительное требование к прежним разработкам воспринималось слишком буквально и сильно тормозило дальнейшее развитие. Следствием явилось то, что каждый новый сопловый сердечник по своим внешним размерам выполнялся идентично старым сопловым сердечникам. В результате заготовки соплового сердечника во все возрастающей степени не удавалось больше изготавливать с применением процесса литья или прессования, или создавались все более неблагоприятные предпосылки для изготовления способом формования. Данное изобретение освободилось от буквального принуждения выполнения керамического соплового сердечника в виде сменного сердечника. Напротив, выполнение последовательно направлено на внутренние центральные функции. Вся внешняя форма может отныне задаваться в соответствии с требованиями техники литья и выполняться, например, за счет разделения на две части в виде миниатюризированного керамического соплового сердечника с внешней керамической оболочкой. Лишь внешней оболочке придаются размеры сопловых сердечников в соответствии с уровнем техники, которые выполняют также функцию сменного сердечника.
Изобретение обеспечивает разнообразие особенно предпочтительных вариантов его осуществления, для чего дается ссылка на п.п. 4-10. Один особенно предпочтительный вариант осуществления отличается тем, что нитеобрабатывающий канал имеет, по меньшей мере, один цилиндрический и один расширяющийся участки, причем вдувное устройство расположено в пределах цилиндрического участка, предпочтительно приблизительно в средней части продольной стороны керамического соплового сердечника. Расширяющийся участок может быть выполнен полностью раструбообразным, как в ЕР 0088254, или иметь конический и раструбообразный участки, как в ЕР 0880611. Канал для нити имеет средний, предпочтительно, цилиндрический участок, который в направлении транспортировки плавно переходит в коническое расширение, причем сжатый воздух вдувают в цилиндрический участок на достаточном расстоянии от конически расширяющегося сверхзвукового канала. Испытания в связи с изобретением принесли новые различные результаты.
У текстурирующих сопел с интенсифицированным сверхзвуковым потоком по ЕР 0880611 при каждом титре нити удалось достичь улучшения качества при увеличении угла вдувания более 48°. Повышение качества начинается с заметного роста при увеличении угла более 50°. При углах вдувания более 52°, частично до 60° и даже 65° качество нити остается на удивление постоянным. Оптимальный угол вдувания зависит, однако, и от титра нити.
Предпочтительно сжатый воздух вдувают в канал для нити через три смещенных по периферии на 120° отверстия. Решающим в любом случае является то, что разрыхление нити за счет вдувания сжатого воздуха в канал для нити интенсифицируется, однако образование узелков в нити предотвращается. Разрыхление нити, с одной стороны, и ее текстурирование, с другой стороны, должны быть сами по себе оптимизированы. Для оптимизации обеих совершенно разных функций они должны быть пространственно отделены, однако осуществлены сразу же последовательно таким образом, чтобы за разрыхлением нити следовало непосредственно текстурирование или чтобы окончание процесса разрыхления нити переходило непосредственно в текстурирование. Все центральные функции текстурирования для изготовления петлистой нити могут быть отныне реализованы внутри миниатюризированного керамического соплового сердечника. Новый керамический сопловый сердечник может быть частью устройства, которое содержит погружаемый в расширяющийся участок шарообразный отбойник, причем раструбообразный участок имеет радиус, находящийся в определенном соотношении с диаметром отбойника. Предпочтительно отбойник в соответствии с ЕР 0088254 образует при этом с раструбообразным участком кольцевой зазор, причем внешний диаметр выпуклого выходного отверстия канала, по меньшей мере, равен 4-кратному значению диаметра канала и, по меньшей мере, равен 0,5-кратному значению диаметра шарообразного или полушарообразного направляющего тела.
Особенно предпочтительно сопловый сердечник выполняют из двух частей, и он содержит внешнее сопловое тело, в которое может быть вставлен керамический сопловый сердечник, причем внешнее сопловое тело изготавливают из пластика. Внешнее пластиковое тело выполняет отныне функцию сменного тела в прежнем понимании с требуемыми установочными размерами и крепежными средствами. Пластиковое тело выполняет к тому же функцию защиты керамического соплового сердечника. Предпочтительно между внешним сопловым телом и керамическим сопловым сердечником располагают место зажатия для закрепления керамического соплового сердечника во внешнем сопловом теле. Далее между керамическим сопловым сердечником и сопловым телом в зоне цилиндрического участка располагают кольцеобразный канал для сжатого воздуха, по которому происходит его вдувание через вдувные отверстия. Кольцеобразный канал для сжатого воздуха имеет в обеих концевых зонах цилиндрического участка по одному месту уплотнения для герметизации сжатого воздуха.
Согласно другому варианту осуществления изобретения сопловый сердечник выполняют в виде быстросменного элемента внутри устройства, так что он вместе с керамическим сопловым сердечником может быть быстро демонтирован из устройства и установлен в нем. Сопловый сердечник может быть выполнен составным из внутреннего керамического соплового сердечника и внешнего соплового тела, причем обе части являются устройством с приводом вращения, а сопловое тело со встроенным керамическим сопловым сердечником выполнено с возможностью привода.
При составном решении керамический сопловый сердечник и внешнее сопловое тело образуют в собранном состоянии на выходном конце для нити приблизительно плоскую поверхность. В соответствии с одним важным требованием к новому решению благодаря выполнению соплового тела должны компенсироваться изменения формы и толщины. Конструктивные требования в отношении сборки и встраивания в машину могут быть, таким образом, учтены через внешнее сопловое тело. Керамический сопловый сердечник может быть выполнен оптимальным в отношении изготовления керамических заготовок. Особенно предпочтительно сопловое тело изготавливают в виде пластмассовой отливки и по внешним размерам выполняют в виде сменной детали в отношении соответствующих решений из уровня техники.
Изобретение исходит из родового понятия текстурирующих сопел, работающих по радиальному принципу. При радиальном принципе дутьевой воздух направляют от места подвода в цилиндрический участок канала для нити непосредственно в осевом направлении до ускорительного канала приблизительно с постоянной скоростью. Как и в уровне техники по ЕР 0880611, согласно изобретению можно текстурировать одну или несколько нитей с самым разным запасом.
Изобретение подробно поясняется далее на некоторых примерах его осуществления. На чертежах изображают:
фиг. 1: канал для нити в области зон разрыхления нити и ее текстурирования;
фиг. 2: сопловый сердечник со вставленным керамическим сопловым сердечником и отбойником на выходном конце канала для нити;
фиг. 3: составной сопловый сердечник, встроенный в устройство для получения петлистой нити;
фиг. 4а-с: решение согласно уровню техники (ЕР 0088254) с сопловым сердечником, причем на фиг. 4с изображен вид по стрелке А;
фиг. 5: сравнение текстурированной нити с разными выполнениями соплового сердечника;
фиг. 6а,b: «рамку» для функций сердечника для получения петлистой нити;
фиг. 7: решение с приводимым во вращение сопловым сердечником;
фиг. 8: трехмерное изображение с разъемным или составным сопловым сердечником, внешней оболочкой соплового сердечника и керамическим сопловым сердечником;
фиг. 9: разрез составного соплового сердечника по фиг. 6а и 8;
фиг. 10: разрез составного соплового сердечника по фиг. 6b и 8.
Ниже дана ссылка на фиг. 1. Текстурирующее сопло 1 имеет канал 4 для нити с цилиндрическим участком 2, который в то же время соответствует самому узкому сечению 3 диаметром d. От самого узкого сечения 3 канал 4 для нити плавно переходит в ускорительный канал 11, а затем раструбообразно расширяется, причем форма раструба может быть охарактеризована радиусом R. На основе устанавливающегося сверхзвукового потока можно определить соответствующий диаметр DAE фронта скачка уплотнения. На основе диаметра DAE фронта скачка уплотнения можно относительно точно определить место А1, А2, А3 или А4 отделения или отрыва. В отношении действия фронта скачка уплотнения следует сослаться на ЕР 0880611. Область ускорения воздуха можно определить также длиной l2 от места самого узкого сечения 3 и места А отрыва. Поскольку речь идет о настоящем сверхзвуковом потоке, из этого можно приблизительно вычислить скорость воздуха. На фиг. 1 изображено коническое выполнение ускорительного канала 11, соответствующего длине l2. Угол раскрытия 2 составляет 20°. Место А2 отделения обозначено на конце сверхзвукового канала, где канал для нити переходит в прерывистое, сильно коническое или раструбообразное расширение 12 с углом раскрытия >40°. На основе геометрии возникает диаметр DAE фронта скачка уплотнения. В качестве примера возникают следующие отношения:
L2/d=4,2; Vd=330 м/c (число М=1); 2,5 MDE=(число М=3,2)
Удлинение ускорительного канала 11 с соответствующим углом раскрытия вызывает увеличение диаметра DAE фронта скачка уплотнения. Непосредственно в области образования фронта скачка уплотнения возникает максимально большой фронт 13 скачка уплотнения с примыкающей зоной 14 резкого повышения давления. Собственно текстурирование происходит в области фронта 13 скачка уплотнения. Воздух движется на коэффициент примерно 50 быстрее нити. В результате многих испытаний удалось установить, что место А3, А4 отделения может смещаться также внутрь ускорительного канала 11, а именно тогда, когда питающее давление понижается. На практике считается, что для каждой нити следует определить оптимальное питающее давление, причем длину l2 ускорительного канала рассчитывают для самого неблагоприятного случая, т.е. выбирают, скорее, немного длиннее. МВ обозначает среднюю линию вдувного отверстия 15, MGK – среднюю линию канала 4 для нити, а SM – точку пересечения MGK и МВ. Pd обозначает место самого узкого сечения в начале ускорительного канала 11, l1 – расстояние между SM и Pd, а l2 – расстояние от Pd до конца ускорительного канала (А4). Löff обозначает приблизительно длину зоны разрыхления нити, Ltex – приблизительно длину зоны текстурирования нити. Чем больше угол , тем больше зона разрыхления нити увеличивается назад.
Ниже дана ссылка на фиг. 2, на которой в сечении изображена предпочтительная форма выполнения всего соплового сердечника 5. Внешняя пригоночная форма предпочтительно точно приведена в соответствие с сопловыми сердечниками из уровня техники. Это касается прежде всего критических установочных размеров, диаметра BD отверстия, общей длины L, высоты KH сопловой головки и расстояния LA для пневмоприсоединений PP’. Испытания показали, что оптимальным является угол вдувания более 48°. Расстояние Х между соответствующими отверстиями 15 для сжатого воздуха является критическим в отношении ускорительного канала. Сопловый сердечник 5 имеет во входной зоне нити (стрелка 16) вводной конус 6 для нити. Размер Х (фиг. 6) указывает, что отверстие 15 для сжатого воздуха смещено назад от самого узкого сечения предпочтительно, по меньшей мере, немного на величину диаметра d. В направлении транспортировки (стрелка 16) текстурирующее сопло 1 или сопловый сердечник 5 имеет вводной конус 6 для нити, цилиндрический средний участок 7, конус 8, одновременно соответствующий ускорительному каналу, и расширенную текстурирующую камеру 9. Текстурирующую камеру ограничивают поперек потока раструбом 12, который может быть выполнен также в виде открытой конической воронки.
На фиг. 2 в многократном увеличении по сравнению с действительным размером изображен составной сопловый сердечник 5, состоящий из керамического соплового сердечника 24 и внешней оболочки 25 с направляющим телом или отбойником 10. Сопловый сердечник 5 согласно изобретению может быть выполнен в виде сменного сердечника для соплового сердечника по уровню техники. В частности, размеры Bd, ЕL в качестве установочной длины, LA+KH и KH выбирают поэтому предпочтительно не только такими же, но и с такими же допусками. Предпочтительно во внешней выходной зоне форму раструба изготавливают такой же, что и в уровне техники, с соответствующим радиусом R. Отбойник 10 может иметь произвольную форму: сферическую, шарообразную, плоскую или даже форму шарового сегмента. Точное положение отбойника в выходной зоне сохраняется за счет сохранения внешних размеров, соответственно одинаковая отводная щель Sp1. Текстурирующую камеру 18 ограничивают сзади ускорительным каналом 11. В зависимости от величины выбранного давления воздуха текстурирующая камера может быть также увеличена внутрь ускорительного канала. Керамический сопловый сердечник 24, как и в уровне техники, изготавливают целиком из высококачественного материала, такого как керамика, и он является дорогой частью текстурирующего сопла. Важно у сопла согласно изобретению то, что коническая цилиндрическая стеновая поверхность 17, как и стеновая поверхность 19, в зоне ускорительного канала, а также место впадения отверстий 15 для сжатого воздуха в канал для нити имеют наивысшее качество.
На фиг. 3 изображена вся сопловая головка 21 с составным сопловым сердечником 5 и отбойником 10, который закреплен в известном корпусе 20 с возможностью перемещения посредством кронштейна 22. Для заправки нити отбойник 10 известным образом отводят или отворачивают из рабочей зоны текстурирующего сопла с помощью кронштейна 22 по стрелкам 23. Сжатый воздух подают из камеры 27 корпуса через отверстия 15. Сопловый сердечник 5 зажимают на корпусе 20 посредством зажимной перемычки 26. Вместо шарообразной формы отбойник может иметь форму шарового сегмента.
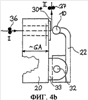
На фиг. 4а-4с изображено решение в соответствии с уровнем техники по ЕР 0088254 с длинным нитенаправляющим каналом 29, через который проходит текстурируемая нить 30. Нитенаправляющий канал 29 снабжается сжатым воздухом через радиальное отверстие 15. Вдувное отверстие 15 заключает с осью нитенаправляющего канала 29 угол около 48°. Диаметр вдувного отверстия 15 составляет 1,1 мм. Нитенаправляющий канал 29 диаметром d1 1,5 мм имеет расширяющееся наружу выпуклое выходное отверстие. Выпуклость имеет форму дуги окружности радиусом R 6,5 мм, к которой торцевая поверхность 34 текстурирующего сопла 1 образует касательную плоскость, причем точки соприкосновения дуги выпуклости с касательной плоскостью лежат на окружности диаметром D. Диаметр D соответствует формуле D=d1+2R и составляет, тем самым, 14,5 мм. Отбойник 10, диаметр d2 которого составляет 12,5 мм, частично выступает в выходное отверстие 35 канала и образует с внутренней стенкой отверстия 35 кольцевой зазор 31. Выходящую из сопла нить 30* отводят через край выходного отверстия.
Как показано на фиг. 4а и 4b, на несущем сопло корпусе 20 размещен держатель 33, вокруг оси 32 которого с возможностью поворота установлен жестко соединенный с отбойником 10 кронштейн 22. За счет поворота кронштейна 22 кольцевой зазор 31 можно регулировать или приподнимать направляющее тело для заправки нити. Гладкую нить 30 подают посредством питающего механизма 36 к текстурирующему соплу 1 и отводят в виде текстурированной нити 30* посредством питающего механизма 37.
На фиг. 5 слева внизу чисто схематично изображено текстурирование в соответствии с уровнем техники по ЕР 0088254. При этом выделены два основных параметра: зона Ое-Z1 разрыхления нити и диаметр DAS фронта скачка уплотнения, исходя из диаметра d в соответствии с соплом, описанным в ЕР 0088254. В противоположность этому справа вверху изображено текстурирование по ЕР 0880611. Хорошо видно при этом, что значения Ое-Z2 и DAE больше. Зона Ое-Z2 разрыхления нити начинается незадолго до ускорительного канала в области подачи Р сжатого воздуха и уже заметно больше по сравнению с относительно короткой зоной Ое-Z1 разрыхления нити согласно решению по ЕР 0088254. Важная информация на фиг. 5 заключена в диаграмме сравнения натяжения нити в соответствии с уровнем техники по ЕР0088254 (кривая Т 311) с числом М<2, текстурирующего сопла согласно ЕР0880611 (кривая S 315) с числом М>2 и сопла согласно изобретению. По вертикали диаграммы нанесено натяжение нити в сН. По горизонтали нанесена производственная скорость Pgeschw. в м/мин. Кривая Т 311 позволяет обнаружить заметное уменьшение натяжения нити выше производственной скорости 500 м/мин. Выше примерно 650 м/мин текстурирование соплом по ЕР 0088254 прекращалось. В противоположность этому кривая S 315 с соответствующим соплом из ЕР 0880611 показывает, что натяжение нити не только намного выше, но и в диапазоне 400-700 м/мин является почти постоянным и уменьшается в более высоком диапазоне лишь медленно. Повышение числа М является одним из важнейших параметров интенсификации текстурирования. Увеличение угла вдувания является одним из важнейших параметров качества текстурирования, как это показано с соплом согласно изобретению слева вверху в качестве третьего примера. В качестве примера угол вдувания указан в диапазоне 50-60°. Зона Ое-Z3 разрыхления нити больше, чем в решении справа вверху (по ЕР 0880611), и значительно больше, чем в решении слева внизу (по ЕР 0088254). Другие технологические параметры способа одинаковы у всех трех решений. Помимо разного угла вдувания в диапазоне 45-48° и более 45° согласно изобретению неожиданно положительный эффект лежит на первом участке зоны разрыхления нити, а именно ЦZ1 и ЦZ2, или как это обозначено соответствующим кружком. Внешнее отличие заключается только в изменении угла вдувания. Заметное повышение натяжения нити начинается при угле более 48° и может пониматься только как комбинаторное действие. По меньшей мере, насколько в настоящее время следует понимать неожиданно положительный эффект, угол вдувания более 48° означает предел, и это прежде всего у текстурирующих сопел по ЕР 0880611. Этот тип текстурирующих сопел имеет достаточный резерв производительности, так что даже незначительная интенсификация разрыхления нити приводит к повышению качества нити.
На практике текстурированная нить проходит после второго питающего механизма через датчик качества, например под названием HemaQuality, называемый ATQ, в котором измеряют усилие растяжения нити 30* (в сН) и отклонение от мгновенного усилия растяжения ( %). Измерительные сигналы подаются к вычислительному блоку. Соответствующее измерение качества является условием оптимального контроля производства. Значения являются также индикатором качества нити. В процессе пневмоструктурирования определение качества затруднено потому, что не существует никакой определенной величины петель. Намного лучше можно установить отклонение от качества, воспринимаемого заказчиком как хорошее. С помощью системы ATQ это возможно, поскольку структура нити и ее отклонение можно определить посредством датчика натяжения нити, оценить и отобразить посредством единственного параметра, а именно АТ-значения. Датчик натяжения нити регистрирует в качестве аналогового электрического сигнала, в частности, усилие натяжения нити после текстурирующего сопла. При этом из среднего значения и дисперсии измеренных значений усилия натяжения нити непрерывно вычисляют АТ-значение. Величина АТ-значения зависит от структуры нити и определяется заказчиком по собственным требованиям к качеству. Если во время производства изменяется усилие натяжения нити или дисперсия (равномерность) натяжения нити, то изменяется и АТ-значение. Где лежат верхние и нижние предельные значения, можно определить с помощью зеркал, вязаных или тканых образцов. В зависимости от требований к качеству они разные. Преимущество ATQ-измерения в том, что различные сбои в процессе регистрируются одновременно, например локальная одинаковость текстурирования, смачивание нити, обрыв элементарных нитей, загрязнение сопла, удаление отбойного шарика, температура Hotpin, отличия в давлении воздуха, зона вытягивания предварительно ориентированной нити, образец пряжи и т.д.
Ниже дается ссылка на фиг. 6а и 6b, где показана «рамка» для функции сердечника при получении петлистой нити. Фиг. 6а исходит из решений по фиг. 4а-4с. Фиг. 6b исходит из решения по фиг. 1-3. Соответствующие детали на обеих фигурах обозначены теми же ссылочными позициями. Обе фиг. 6а и 6b показывают приблизительно пропорции величин отдельных участков для функций сердечника.
На фиг. 6а показано, что цилиндрический участок zyl. А приблизительно вдвое длиннее расширяющегося участка ЕА. Три радиальных вдувных отверстия 15 смещены назад относительно расширяющегося участка ЕА на расстояние ц.А., участок разрыхления, и лежат в средней части цилиндрического участка, как это обозначено в соответствии с вдувным участком (Einbl. А). У расширяющегося участка ЕА диаметр D и радиус R имеют большое значение. Цилиндрический участок имеет диаметр Gd. Другим особенным признаком решения по фиг. 6а является угол , который в направлении транспортировки нити по стрелке 16 составляет около 48°. Вводной конус ЕК имеет длину, необходимую лишь для заправки, однако очень короток. Диаметр Bd рассчитывают в соответствии с уровнем техники. Сравнение фиг. 4а и 6а показывает, что цилиндрический участок zyl. А в решении согласно изобретению менее чем наполовину меньше, чем в решении в соответствии с уровнем техники по фиг. 4а. Это является важным признаком при конкретном выполнении керамического соплового сердечника согласно изобретению. С точки зрения функции текстурирования нитенаправляющий канал была рассчитан в уровне техники ненужно длинным. Нитенаправляющий канал GA ориентировался в уровне техники на размер корпуса 20 по толщине, как это хорошо видно на фиг. 4b.
На фиг. 6b по сравнению с фиг. 6а показаны два особых признака. Решение по фиг. 6b имеет вместо раструбообразного участка ЕА первый конический участок (Kon. А) и раструбообразный текстурирующий участок ТА* в соответствии с решением в ЕР 0880611. Сравнение фиг. 6а и 6b показывает, что цилиндрический участок zyl. А* на фиг. 6b выполнен укороченным в соответствии с данными Х1 и Х2. В качестве компенсации разрыхляющий участок цА* выполнен на фиг. 6b увеличенным. Конический участок выполняют предпочтительно с углом раскрытия 12-40°. Второй особый признак заключается в расположении радиального вдувного отверстия 15 с углом преимущественно 50-70°, который повышает стабильность текстурирования на очень высокий уровень и обеспечивает наивысшее качество текстурирования.
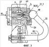
На фиг. 7 изображено другое особенно предпочтительное выполнение, исходящее из ЕР 1022366. Практика показывает, что пневмотекстурирующие сопла для изготовления петлистой нити должны очищаться с относительно короткими промежутками времени. В ЕР 1022366 предложено приводить сопловый сердечник во вращение постоянно или периодически. За счет этого удалось значительно увеличить промежутки времени между очистками. Для этого предложено использовать составной сопловый сердечник, примерно как на фиг. 2. На фиг. 7 в качестве примера изображены одновременное соединение и текстурирование двух нитей А и В, вводимых во вводной конус 6 через нитенаправители 40 и 41. Сопловый сердечник, состоящий из керамического соплового сердечника 24 и внешней оболочки 25, расположен во втулке 42, установленной в корпусе 44 привода с возможностью вращения посредством шарикоподшипников 43. Сжатый воздух подается через пневмокамеру 45 и пневмоприсоединение 46, причем улетучивание сжатого воздуха предотвращается несколькими уплотнениями 47. В корпусе 44 привода посредством бортика 49 и крышки 50 удерживается червячное колесо 48. Привод осуществляется через приводной вал 51, передаточное колесо 52 и червячное колесо 48.
На фиг. 8 в трехмерном виде изображен составной из двух частей сопловый сердечник в соответствии с фиг. 6а,3 и 7. Фиг. 8 показывает сборку керамического соплового сердечника 24 и внешней оболочки 25. Керамический сопловый сердечник 24 может быть вставлен вручную в оболочку 25, как это показано на фиг. 8, причем с последним движением вставки функционирующий по типу защелки фиксатор 60 керамического соплового сердечника 24 удерживается точно в своем положении. Наружу образуется плоская поверхность 34 в соответствии с фиг. 2. Между керамическим сопловым сердечником 24 и внешней оболочкой 25 образуется цилиндрическая пневмокамера 61, которая герметизирована относительно внешней среды уплотнениями 62, так что сжатый воздух может течь в канал 4 для нити только через радиальные вдувные отверстия 15.
Пример по фиг. 8 весьма наглядно показывает другой, очень важный признак решения согласно изобретению, а именно требование к приблизительно постоянной толщине стенки керамического соплового сердечника 24, причем в трех местах WSt1, WSt2, WSt3 толщина стенки обозначена соответствующими размерными стрелками. Для требований к монтажу у внешней оболочки 25 три размерные стрелки D1, D2, D3 обозначают три разные толщины. Поскольку внешняя оболочка может быть изготовлена, например, из пластика, даже большие изменения толщины не оказывают отрицательного влияния. Внутренний керамический сопловый сердечник, напротив, может быть оптимально изготовлен в соответствии с требованиями к изготовлению керамических заготовок способом прессования, в частности литья под давлением.
На фиг. 9 в разрезе изображено решение по фиг. 6а и 8.
На фиг. 10 в разрезе изображены фиг. 6b и 8, где керамический сопловый сердечник 24 встроен во внешнюю оболочку 25. Согласно другому варианту осуществления изобретения (не показан) керамический сопловый сердечник 24 может быть встроен непосредственно в корпус 20, приблизительно как на фиг. 4b. При этом корпус 20 должен иметь пригоночные отверстия в соответствии с миниатюризированным керамическим сопловым сердечником 24.
Формула изобретения
1. Сопловый сердечник как часть текстурирующего сопла для получения петлистой нити, отличающийся тем, что он содержит керамический сопловой сердечник с приблизительно постоянной толщиной стенки и уменьшен по величине до центральных функций нитеобрабатывающего канала с вдуванием воздуха и выходом нити для петлеобразования, причем нитеобрабатывающий канал имеет, по меньшей мере, один цилиндрический и один конический расширяющийся участки, причем вдувное устройство расположено в пределах цилиндрического участка, и причем сопловой сердечник изготовлен способом формования.
2. Сердечник по п.1, отличающийся тем, что расширяющийся участок имеет конический и раструбообразный участки, причем конический участок имеет угол раскрытия, по меньшей мере, 12°.
3. Сердечник по п.1 или 2, отличающийся тем, что вдувное устройство керамического соплового сердечника имеет одно или несколько, предпочтительно три вдувных отверстия, которые расположены в направлении транспортировки с наклоном под углом, по меньшей мере, 48°, в частности в диапазоне 52-65°.
4. Сердечник по п.1, отличающийся тем, что он является частью устройства, которое содержит погружаемый в расширяющийся участок шарообразный отбойник, причем внешний диаметр выпуклого выходного отверстия канала, по меньшей мере, равен 4-кратному значению диаметра канала и, по меньшей мере, равен 0,5-кратному значению диаметра шарообразного или полушарообразного направляющего тела (5).
5. Сердечник по п.1, отличающийся тем, что он выполнен из двух частей и содержит внешнее сопловое тело, в которое вставлен керамический сопловой сердечник.
6. Сердечник по п.5, отличающийся тем, что между внешним сопловым телом и керамическим сопловым сердечником расположено место зажатия для закрепления керамического соплового сердечника во внешнем сопловом теле, причем предпочтительно между керамическим сопловым сердечником и сопловым телом в зоне цилиндрического участка расположен кольцеобразный канал для сжатого воздуха, по которому происходит его вдувание через вдувные отверстия, и кольцеобразный канал для сжатого воздуха имеет особенно предпочтительно в обеих концевых зонах цилиндрического участка по одному месту для герметизации сжатого воздуха.
7. Сердечник по п.5 или 6, отличающийся тем, что сопловый сердечник выполнен как быстро заменяемый элемент внутри устройства и вместе с керамическим сопловым сердечником может быстро извлекаться из устройства и заменяться, причем он предпочтительно выполнен из двух частей с внутренним керамическим сопловым сердечником, а также внешним сопловым телом, и оба являются частью устройства с приводом вращения, причем сопловое тело выполнено с возможностью привода вместе с встроенным керамическим сопловым сердечником.
8. Сердечник по п.5 или 6, отличающийся тем, что он выполнен из двух частей с керамическим сопловым сердечником, а также с внешним сопловым телом, причем в собранном состоянии выходной конец для нити образует приблизительно плоскую поверхность, и выполнение соплового тела учитывает изменения в форме и толщине, причем сопловое тело изготовлено как пластмассовое изделие литьем под давлением, и по наружным размерам выполняется как сменная деталь.
РИСУНКИ
MM4A – Досрочное прекращение действия патента СССР или патента Российской Федерации на изобретение из-за неуплаты в установленный срок пошлины за поддержание патента в силе
Дата прекращения действия патента: 02.04.2008
Извещение опубликовано: 27.07.2010 БИ: 21/2010
|
|