|
|
(21), (22) Заявка: 2005121469/15, 08.07.2005
(24) Дата начала отсчета срока действия патента:
08.07.2005
(43) Дата публикации заявки: 20.01.2007
(46) Опубликовано: 10.02.2008
(56) Список документов, цитированных в отчете о поиске:
RU 2232832 C1, 20.06.2004. SU 904347 A1, 30.04.1993. US 4416723 A, 22.11.1983.
Адрес для переписки:
121165, Москва, Г-165, а/я15, ООО Патентно-правовая фирма “ЮСТИС”, пат.пов. Л.С.Пилишкиной
|
(72) Автор(ы):
Блецкан Николай Иванович (RU)
(73) Патентообладатель(и):
Ф и Джи СЭПФАЙЕ Текнолоджи Корп. (US)
|
(54) УСТРОЙСТВО ДЛЯ ВЫРАЩИВАНИЯ ПРОФИЛИРОВАННЫХ МОНОКРИСТАЛЛОВ САПФИРА
(57) Реферат:
Изобретение относится к области выращивания монокристаллов тугоплавких оксидов из расплавов методом направленной кристаллизации и может быть использовано для получения монокристаллов сапфира, соответствующих требованиям оптоэлектроники. Устройство для выращивания профилированных монокристаллов сапфира содержит вакуумную камеру с тиглем и формообразователем, вольфрамовый нагреватель, экраны, шток с затравкодержателем, снабженный механизмом подъема кристалла, установленным вне камеры, систему подпитки расплава в виде бункера с трубкой и системы управлениями нагревом и скоростью подъема кристалла. Устройство дополнительно содержит вакуумную камеру отжига, установленную над камерой с тиглем и формообразователем соосно с ней, и систему синхронизации массы выращиваемого кристалла и расхода подпитывающего материала, камера отжига имеет автономный нагреватель, высота которого равна или превышает максимальный размер длины получаемого кристалла, диаметр камеры отжига составляет 0,6-0,9 от диаметра нижней камеры, между камерами установлена перегородка с отверстиями для штока с затравкодержателем, выращиваемого кристалла и подпитки, на верхнюю кромку тигля установлена пластина с прорезями, при этом множество прорезей, параллельных друг другу и двум стенкам формообразователя, имеют ширину 50-100 мкм и расположены на расстоянии друг от друга 70-120 мкм внутри пространства, ограниченного двумя перпендикулярными им прорезями с шириной 1-1,5 мм, а концы прорезей выполнены глухими. Технический результат изобретения состоит в устранении скрытых пустот диаметром менее 50 мкм при получении кристаллов с поперечным размером более 200 мм и кристаллографической ориентацией <1010> или <1102> при одновременном уменьшении энергозатрат в 3-4 раза. Кроме того, устройство позволяет получать монокристаллы с низкой остаточной величиной внутренних напряжений, что является важным при дальнейшей механической обработке кристаллов. 6 з.п. ф-лы, 2 ил.
Изобретение относится к области выращивания монокристаллов тугоплавких оксидов из расплавов методом направленной кристаллизации и может быть использовано для получения монокристаллов сапфира, соответствующих требованиям оптоэлектроники.
Известно устройство для выращивания монокристаллов на основе сложных оксидов, представляющее собой герметичную камеру, в которую установлены вертикального перемещаемый и вращаемый шток с присоединенной к нему затравкой, водоохлаждаемый индуктор, соединенный с источником индукционного нагрева, водоохлаждаемое дно, выполненное в виде спирали, тигель, выполненный с отверстием в донной части и зафиксированный внутри индуктора в неподвижном положении, загрузочное устройство в виде герметичного бункера с механизмом подачи шихты и подающей трубкой. Внутренний объем тигля заполнен расплавом, из которого выращивают кристалл, причем расплав в процессе роста поступает в тигель через донное отверстие из дополнительного объема, образованного зазором между тиглем и индуктором. Это устройство предназначено в основном для выращивания алюмоиттриевых гранатов и не обеспечивает возможность выращивания монокристаллов сапфира (Авторское свидетельство СССР №904347, С30В 15/12, опубл. 1993 г.).
Наиболее близким с позиции объема и формы выращиваемого монокристалла, технической сущности и достигаемого результата является устройство для выращивания монокристаллов сапфира, содержащее установленные в вакуумной камере экраны, нагреватель, затравкодержатель с закрепленным в нем затравочным кристаллом, тигель с крышкой и формообразователем, системы регулирования скорости подъема затравочного кристалла и мощности нагревателя, в котором на крышке камеры укреплен бункер, выполненный в виде цилиндра с конусообразной верхней и нижней частью, нижняя часть содержит запорный клапан в виде усеченного конуса, на верхней части бункера установлен сильфон, который соединен с запорным клапаном с помощью штока, снабженного механизмом автоматического перемещения, нижняя часть бункера герметично вставлена в трубку, опущенную в тигель через отверстие в крышке тигля (RU 2232832 С1, 20.07.2004). Устройство позволяет использовать порошкообразный оксид алюминия и обеспечивает получение монокристаллов массой 12 кг с техническими характеристиками, соответствующими требованиям оптоэлектроники, и выходом годного не ниже 50%. Однако при получении крупноразмерных кристаллов с поперечным размером более 200 мм и кристаллографической ориентацией <1010> или <1102> недостатками являются наличие пустот диаметром менее 50 мкм и высокие энергозатраты, значительно отражающиеся на стоимости продукции.
Технический результат изобретения состоит в устранении скрытых пустот диаметром менее 50 мкм при получении кристаллов с поперечным размером более 200 мм и кристаллографической ориентацией <1010> или <1102> при одновременном уменьшения энергозатрат в 3-4 раза. Кроме того, устройство позволяет получать монокристаллы с низкой остаточной величиной внутренних напряжений, что является важным при дальнейшей механической обработке кристаллов
Указанный технический результат достигается тем, что устройство для выращивания профилированных монокристаллов сапфира, содержащее вакуумную камеру с тиглем и формообразователем, вольфрамовый нагреватель, экраны, шток с затравкодержателем, снабженный механизмом подъема кристалла, установленным вне камеры, систему подпитки расплава в виде бункера с трубкой и системы управлениями нагревом и скоростью подъема кристалла, согласно изобретению дополнительно содержит вакуумную камеру отжига, установленную над камерой с тиглем и формообразователем соосно с ней, и систему синхронизации массы выращиваемого кристалла и расхода подпитывающего материала, камера отжига имеет автономный нагреватель, высота которого равна или превышает максимальный размер длины получаемого кристалла, диаметр камеры отжига составляет 0,6-0,9 от диаметра нижней камеры, между камерами установлена перегородка с отверстиями для штока с затравкодержателем, выращиваемого кристалла и подпитки, на верхнюю кромку тигля установлена пластина с прорезями, при этом множество прорезей, параллельных друг другу и двум стенкам формообразователя, имеют ширину 50-100 мкм и расположено на расстоянии друг от друга 70-120 мкм внутри пространства, ограниченного двумя перпендикулярными им прорезями с шириной 1-1,5 мм, а концы прорезей выполнены глухими.
Кроме того, система синхронизации содержит датчики дифференциального взвешивания кристалла и расхода подпитывающего материала, шток снабжен механизмом осевого вращения, перегородка между камерами выполнена из вольфрамового или молибденового листа, перегородка между камерами выполнена с возможностью регулирования отверстий, пластина с прорезями выполнена из вольфрамового или молибденового листа, камеры и часть штока, находящаяся вне камер, снабжены системой водоохлаждения.
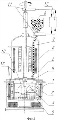
Устройство, названное установкой «Профиль», и его фрагмент показаны на фиг.1 и 2.
Устройство, показанное на фиг.1, содержит вакуумную камеру (1), на которой соосно ей установлена вакуумная камера отжига (2), имеющая диаметр 0,6-0,9 от диаметра нижней камеры. Камеры разделены перегородкой (9), имеющей отверстия для штока с затравкодержателем (7) и выращиваемого кристалла, а также для поступления подпитывающего материала из системы подпитки (8) в тигель (3) с формообразователем (4). Шток помимо механизма подъема снабжен механизмом осевого вращения (на чертеже не показаны). Преимущественно перегородка между камерами выполнена из вольфрамового или молибденового листа, перегородка между камерами выполнена с возможностью регулирования отверстий. В нижней камере с тиглем установлен нагреватель (5), в верхней камере, служащей для отжига монокристаллов, установлен автономный нагреватель (6), высота которого равна или превышает длину выращиваемого кристалла. Нижняя камера снабжена дверкой, верхняя камера – смотровым окном (на чертеже не показаны). Система синхронизации массы кристалла и расхода подпитывающего материала (12) включает датчики дифференциального взвешивания (11), установленные соответственно на штоке (7) и на системе подпитки (8).
На верхней кромке тигля установлена пластина с прорезями (10) преимущественно из вольфрама или молибдена. Множество прорезей, параллельных друг другу и двум стенкам формообразователя, имеют ширину 50-100 мкм и расположены на расстоянии друг от друга 70-120 мкм внутри пространства, ограниченного двумя перпендикулярными им прорезями с шириной 1-1,5 мм, а концы прорезей выполнены глухими.
В камерах установлены экраны (13). Системы водоохлаждения, управления мощностью нагревателей и скоростью подъема кристалла на чертеже не показаны.
На фиг.2 показана пластина с прорезями.
Работа устройства
В тигель (3) соосно ему помещают формообразователь (4) и заполняют весь объем исходной шихтой в виде измельченных кусков сапфира или гранул оксида алюминия в количестве, обеспечивающем заполнение объема расплавом. Через дверку в нижней камере или через регулируемое отверстие в перегородке между камерами тигель (3) помещают в нижнюю вакуумную камеру (1) соосно нагревателю (5). На верхнюю кромку тигля устанавливают пластину с прорезями (10). Вставляют и центрируют в затравкодержателе, укрепленном на штоке (7), затравочный кристалл. Камеры (1) и (2) герметизируют и вакуумируют до (1-5)×10-5 мм рт.ст. Подавая мощность на нижний нагреватель, разогревают тигель до температуры расплава 2100°С и выдерживают расплав до его гомогенизации в течение 2-3 часов. Затем снижают температуру до 2050°С и опускают затравочный кристалл до пластины (10), где происходит соприкосновение затравочного кристалла с расплавом, проникающим через прорези, представляющими собой капиллярные каналы. После выдержки в течение 1-3 минут затравочный кристалл поднимают со скоростью, обусловленной формой и величиной поперечного размера выращиваемого монокристалла. После установления температуры равновесия, когда затравочный кристалл уже не оплавляется и на поверхности расплава кристалл не растет (приблизительно через 20-30 минут от начала подъема), температуру снижают по заданной программе и синхронизируют массу растущего кристалла и расход подпитывающего материала в виде гранул.
Пластина с прорезями (10) обеспечивает выпуклый к расплаву фронт кристаллизации, следствием чего являются равномерность расположения центров кристаллизации (источников ступеней роста), и отсутствие пластической деформации, вызывающей появление дефектов кристалла. Размер и расположение прорезей для получения наиболее перспективных для использования в оптоэлектронике крупноразмерных монокристаллов сапфира со стороной в поперечнике более 200 мм и кристаллографической ориентацией <1010> или <1102> определены опытным путем.
После достижения растущим кристаллом нижней зоны нагревателя (6), на него подают мощность, обеспечивающую температуру кристалла приблизительно 1200°С, постепенно поднимая ее до 1800°С. Когда кристалл достигает заданной длины, подачу мощности на нижний нагреватель (5) прекращают. Такая возможность, обеспечиваемая устройством, позволяет значительно (в 3-4 раза) сократить энергозатраты. Благодаря конструктивному оформлению верхней камеры, служащей для отжига (а именно благодаря заданному соотношению диаметров камер), выращенный кристалл находится в равномерном температурном поле с требуемой температурой. После выдержки кристалла при 1800°С в течение 2-3 часов мощность нагревателя (6) снижают, обеспечивая охлаждение кристалла до комнатной температуры со скоростью 50°С/час.
В результате получают монокристаллы, не содержащие пузырьков диаметром менее 50 мкм. Наличие скрытых пустот, не видимых невооруженным взглядом, в технологии обычно представляет собой сложную задачу, и этот дефект значительно ограничивает область применения монокристаллов сапфира. Кроме того, устройство позволяет получать монокристаллы с низкой остаточной величиной внутреннего напряжений, что является важным при дальнейшей механической обработке кристаллов.
Таким образом, совокупность существенных признаков по данному изобретению обеспечивает достижение технического результата, состоящего в устранении скрытых пустот диаметром менее 50 мкм при получении кристаллов с поперечным размером более 200 мм и кристаллографической ориентацией <1010> или <1102> при одновременном уменьшения энергозатрат в 3-4 раза и снижении величины остаточного внутреннего напряжения.
Формула изобретения
1. Устройство для выращивания профилированных монокристаллов сапфира, содержащее вакуумную камеру с тиглем и формообразователем, вольфрамовый нагреватель, экраны, шток с затравкодержателем, снабженный механизмом подъема кристалла, установленным вне камеры, систему подпитки расплава в виде бункера с трубкой и системы управлениями нагревом и скоростью подъема кристалла, отличающееся тем, что оно дополнительно содержит вакуумную камеру отжига, установленную над камерой с тиглем и формообразователем соосно с ней, и систему синхронизации массы выращиваемого кристалла и расхода подпитывающего материала, камера отжига имеет автономный нагреватель, высота которого равна или превышает максимальный размер длины получаемого кристалла, диаметр камеры отжига составляет 0,6-0,9 от диаметра нижней камеры, между камерами установлена перегородка с отверстиями для штока с затравкодержателем, выращиваемого кристалла и подпитки, на верхнюю кромку тигля установлена пластина с прорезями, при этом множество прорезей, параллельных друг другу и двум стенкам формообразователя, имеют ширину 50-100 мкм и расположены на расстоянии друг от друга 70-120 мкм внутри пространства, ограниченного двумя перпендикулярными им прорезями с шириной 1-1,5 мм, а концы прорезей выполнены глухими.
2. Устройство для выращивания профилированных монокристаллов сапфира по п.1, отличающееся тем, что система синхронизации содержит датчики дифференциального взвешивания массы кристалла и расхода подпитывающего материала.
3. Устройство для выращивания профилированных монокристаллов сапфира по п.1, отличающееся тем, что шток дополнительно снабжен механизмом осевого вращения.
4. Устройство для выращивания профилированных монокристаллов сапфира по п.1, отличающееся тем, что перегородка между камерами выполнена из вольфрамового или молибденового листа.
5. Устройство для выращивания профилированных монокристаллов сапфира по п.1, отличающееся тем, что перегородка между камерами выполнена с возможностью регулирования отверстий.
6. Устройство для выращивания профилированных монокристаллов сапфира по п.1, отличающееся тем, что пластина с прорезями выполнена из вольфрамового или молибденового листа.
7. Устройство для выращивания профилированных монокристаллов сапфира по 1, отличающееся тем, что камеры и часть штока, находящаяся вне камер, снабжены системой водоохлаждения.
РИСУНКИ
Напечатано: (73) F I Dzhi SEhPFAJE Teknolodzhi Korp. (US)
Следует читать: (73) F&G SAPPHIRE Technology Corp. (US)
Номер и год публикации бюллетеня: 4-2008
Код раздела: FG4A
Извещение опубликовано: 10.05.2008 БИ: 13/2008
|
|