|
|
(21), (22) Заявка: 2006113089/02, 18.04.2006
(24) Дата начала отсчета срока действия патента:
18.04.2006
(46) Опубликовано: 10.02.2008
(56) Список документов, цитированных в отчете о поиске:
RU 2218453 C1, 10.12.2003. RU 2149224 C1, 20.05.2000. RU 2023760 C1, 30.11.1994. SU 1775502 A1, 15.11.1992. US 5961812 A, 05.10.1999. DE 19845258 16.03.2000.
Адрес для переписки:
660111, г.Красноярск, ул. Пограничников, 37, стр.1, ИТЦ филиала ООО “РУС-Инжиниринг” в г.Красноярск, начальнику патентно-информационного отдела С.А. Пановой
|
(72) Автор(ы):
Шадрин Валерий Георгиевич (RU), Архипов Геннадий Викторович (RU), Пингин Виталий Валерьевич (RU)
(73) Патентообладатель(и):
Общество с ограниченной ответственностью “Русская инжиниринговая компания” (RU)
|
(54) УСТРОЙСТВО ДЛЯ СБОРА И УДАЛЕНИЯ ГАЗОВ ИЗ АЛЮМИНИЕВОГО ЭЛЕКТРОЛИЗЕРА
(57) Реферат:
Изобретение относится к цветной металлургии, и в частности к устройству для сбора и удаления газов из алюминиевого электролизера при получении алюминия электролизом. Устройство содержит балку-коллектор с двойными вертикальными стенками и газоходными каналами переменного сечения, высота которых возрастает к торцу балки коллектора, соединенного с системой газоочистки. Между вертикальными стенками балки-коллектора установлены пластины, образующие входные каналы обязательно в зоне действия пробойников АПГ и забора металла и при необходимости в других зонах, соединяющих пространство под укрытием, и газоходные каналы. Сопла входных каналов обеспечивают начальные скорости и угол входа газовых потоков в газоходные каналы. Соотношение площадей выходного сечения сопла и поперечного сечения газоходного канала в области выходного сечения сопла выполнено с уменьшением к торцу, соединенному с системой газоочистки. Устройство обеспечивает повышение эффективности удаления газов из электролизера за счет обеспечения равномерного удаления газов по всей длине электролизера и снижение газодинамического сопротивления системы. 5 ил.
Изобретение относится к области цветной металлургии, в частности к получению алюминия способом электролиза, и может быть применено для удаления газов на электролизерах с односторонним газоотсосом при поперечном их расположении в корпусе.
Известен патент СССР №1473718, выданный французской фирме “Алюминиум Пешине”, С25С 3/22, 1989. В устройстве внутренняя полость балки-коллектора разделена по высоте на пять зон всасывания с помощью горизонтальных перегородок разной длины (пластин), причем каждая зона всасывания распространяет свое действие на длину балки-коллектора, равную примерно ширине двух створок укрытия электролизера. Пространство между двумя соседними перегородками образует заранее заданные каналы для удаления газов из каждой зоны всасывания, которые сходятся в общий коллектор, связанный с центральным всасывающим устройством. Регулирование объема отсасываемых каждым каналом газов производится с помощью температурных датчиков и поворотных заслонок (шиберов), установленных в каждом канале. Основной целью работы является автоматическое регулирование интенсивности газоотсоса при различных режимах работы электролизера.
К недостаткам устройства относится следующее
Разделение газоходного канала балки-коллектора перегородками на систему параллельных каналов постоянного сечения S1 увеличивает газодинамическое сопротивление в несколько раз. Для преодоления большой величины сопротивления потребуется обеспечить значительное разрежение. Кроме того, установленные внутри каждого канала шиберы создают дополнительное сопротивление и способствуют оседанию глинозема в каналах. Работа шиберов либо будет затруднена воздействием высокой температуры, абразивных частиц, фтористых соединений и магнитного поля, либо будет не возможна.
Осаждение глинозема в каналах приведет к перераспределению потоков по каналам, что сделает невозможным равномерное удаление газов по всей длине электролизера.
В связи с тем, что внутренняя полость коллектора разделена сплошными (от стенки до стенки) горизонтальными перегородками, исключается возможность установки и использования дозаторов автоматической подачи глинозема (АПГ). Подобная конструкция накладывает ограничения на конструктивное выполнение анодной ошиновки, когда боковые шины имеют соединения между собой.
Наиболее близким по технической сущности к заявляемому является устройство (патент RU №2218453, выданный ОАО “ВАМИ”, С25С 3/22, 2003). Устройство для сбора и удаления газов алюминиевого электролизера, оснащенного дозаторами АПГ, содержит балку- коллектор с вертикальными стенками, верхним и нижним поясами жесткости и газоходными каналами для сбора и удаления газов с всасывающими окнами. Вертикальные стенки балки-коллектора выполнены двойными для образования двух газоходных каналов для сбора и удаления газов, размещенных в верхней части балки-коллектора. В каждом из газоходных каналов наклонно установлены ограничители, образующие всасывающую щель, постоянной ширины и переменной высоты, причем высота газоходных каналов возрастает к торцу балки-коллектора, соединенному с системой газоочистки.
К недостаткам устройства-прототипа относится следующее
В приведенной конструкции газовые струи с большой скоростью вертикально входят в газоходный канал и создают вихревые зоны, что сильно увеличивает газодинамическое сопротивление устройства. Чем больше величина разрежения в системе газоочистки, тем больше сопротивление. В результате не будет обеспечено необходимое разрежение для удаления газов по всей длине электролизера. Эффективно газ будет удаляться только с части электролизера. В результате неравномерного удаления газов по всей длине электролизера под укрытием образовываются застойные зоны и газ будет выбиваться в корпус.
Для достижения равномерного газоотсоса по всей длине электролизера изменяется только сечение газоходного канала S1. Площадь всасывающей щели S2 остается постоянной ширины и открытой по всей длине балки-коллектора. В этом случае объем входящих газов значительно превосходит пропускную возможность выходного сечения газоходного канала. Уменьшение ширины всасывающей щели приведет к зарастанию ее глиноземом.
Приведенная конструкция не сможет обеспечить эффективное, равномерное удаление электролизных газов по всей длине электролизера без изменения площади всасывающих щелей S2 и их конфигурации.
Задачей изобретения является повышение эффективности удаления газов в электролизерах с односторонним газоотсосом, при их поперечном расположении в корпусе.
Техническим результатом изобретения является обеспечение равномерного удаления газов из электролизера по всей его длине и снижение газодинамического сопротивления системы.
Поставленная задача решается выполнением устройства для сбора и удаления газов, выделяющихся из алюминиевого электролизера, оснащенного системой автоматической подачи глинозема, содержащего балку-коллектор с вертикальными двойными стенками и газоходные каналы переменного сечения, высота которых возрастает к торцу балки коллектора, соединенного с системой газоочистки, в котором согласно предлагаемому решению, между вертикальными стенками балки-коллектора, в зоне действия пробойников автоматической подачи глинозема и забора металла, установлены пластины с образованием входных каналов, снабженных на входе в газоходный канал соплами для обеспечения необходимой скорости и направления движения газовых потоков, причем соотношение площади выходного сечения сопла к площади поперечного сечения газоходного канала в области выходного сечения сопла выполнено с уменьшением к торцу электролизера, соединенному с системой газоочистки.
Уменьшение в сторону к торцу электролизера, соединенному с системой газоочистки соотношения площадей S2/S1 по длине газоходного канала балки-коллектора, позволит распределить газодинамическое сопротивление и тем самым обеспечить необходимое разрежение по всей длине газоходного канала для равномерного удаления газов по всей длине электролизера.
В связи с тем, что входные каналы располагаются в зоне действия пробойников АПГ и забора металла, т.е. в зонах выхода газов из-под корки глинозема и образования “огоньков”, сбор газов под укрытием выполняется максимально эффективно.
Использование сопел обеспечивает необходимые начальные значения скорости и углов входа в газоходный канал потоков газа без образования вихревых и застойных зон. Кроме того, угол установки сопел позволяет распределить входящие газовые потоки по высоте газоходных каналов. В результате значительно снижается газодинамическое сопротивление системы.
Сопоставительный анализ признаков заявляемого решения и признаков аналога и прототипа свидетельствует о соответствии решения критерию “новизна”.
Сущность изобретения поясняется чертежами и графиками, на которых изображены:
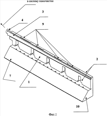
на фиг.1 – алюминиевый электролизер, общий вид (показаны только элементы конструкции, через которые удаляются газы);
на фиг.2, 3, 4 – схемы конструктивного выполнения соединения входных каналов с газоходными каналами балки-коллектора и укрытием электролизера;
на фиг.5 – график расчетной оценки эффективности удаления газов из электролизера, выполненный в программе STAR-CD.
Конструкция устройства для удаления газов состоит из балки коллектора 1 с двойными вертикальными стенками 2, в верхней части которой расположены газоходные каналы 3 переменного сечения. Высота газоходного канала 3 увеличивается по направлению выходного патрубка 4, соединенного с системой газоочистки корпуса. Соответственно площадь поперечного сечения газоходного канала S1 в этом направлении также увеличивается. Между стенками балки коллектора 1 расположены пластины 5, образующие входные каналы 6, соединяющие пространство под укрытием электролизера 7 и газоходные каналы 3. Стенки входных каналов имеют продолжение внутри газоходных каналов, образуя сопла 8, которые обеспечивают заданное направление движения электролизных газов и начальную скорость в газоходных каналах 3. Площадь сечений сопел S2 уменьшается к торцу, соединенному с системой газоочистки. Располагаются входные каналы в зоне работы пробойников АПГ (показана осевая линия штоков цилиндров АПГ и бункера АПГ 9) и в зоне забора металла 10.
В процессе работы электролизера газы через разломы в корке поступают под укрытие 7, затем конвективные потоки газов через входные каналы 6 и сопла 8 поступают в газоходные каналы 3 балки-коллектора 1 и далее в систему газоочистки корпуса, не представленную на чертеже.
На фиг.5 приведена расчетная оценка эффективности удаления газов по длине электролизера для конструкции прототипа, где изменяется только S1, и заявляемого устройства, где уменьшается соотношение S2/S1 по направлению к торцу, соединенному с системой газоочистки корпуса, входные каналы были выполнены по схеме, приведенной на фиг.2. Расчет выполнялся в программе вычислительной гидродинамики STAR-CD для одной и той же конструкции электролизера. Математическое моделирование в программе вычислительной гидродинамики STAR-CD процесса удаления газов из электролизера посредством устройства прототипа показало, что газ удаляется только 1/2 от всей длины электролизера. Из анализа графиков, приведенных на фиг.5, видно, что при уменьшении соотношения S2/S1 по направлению к торцу, соединенному с системой газоочистки, достигается равномерное удаление газов по длине электролизера. Некоторое увеличение объема удаляемых газов на противоположном от выходного патрубка торце необходимо для обеспечения равномерного удаления электролизных газов при заборе металла из электролизера.
Формула изобретения
Устройство для сбора и удаления газов, выделяющихся из алюминиевого электролизера, оснащенного системой автоматической подачи глинозема, содержащее балку-коллектор с вертикальными двойными стенками и газоходные каналы переменного сечения, высота которых возрастает к торцу балки коллектора, соединенного с системой газоочистки, и пробойники, отличающееся тем, что между вертикальными стенками балки-коллектора, в зоне действия пробойников установлены пластины с образованием входных каналов, снабженных на входе в газоходный канал соплами для обеспечения необходимой скорости и направления движения газовых потоков, причем соотношение площади выходного сечения сопла к площади поперечного сечения газоходного канала в области выходного сечения сопла выполнено с уменьшением к торцу электролизера, соединенному с системой газоочистки.
РИСУНКИ
|
|