|
|
(21), (22) Заявка: 2006105667/02, 16.02.2006
(24) Дата начала отсчета срока действия патента:
16.02.2006
(46) Опубликовано: 10.02.2008
(56) Список документов, цитированных в отчете о поиске:
СТРЕЛЕЦ Х.Л. Электролитическое получение магния. – М.: Металлургия, 1972, с.266. RU 2243295 C1, 27.12.2004. JP 59043890 A, 12.03.1984. US 4055474 A, 25.10.1977. FR 2237974 A, 14.02.1975. EP 0324563 A1, 19.07.1989. US 4058448 A1, 15.11.1977.
Адрес для переписки:
199106, Санкт-Петербург, Средний пр., 86, ОАО “РУСАЛ ВАМИ”
|
(72) Автор(ы):
Чесноков Александр Сергеевич (RU), Щеголев Владимир Иванович (RU), Татакин Александр Николаевич (RU), Ларионов Александр Анатольевич (RU), Забелин Игорь Всеволодович (UA), Шаяхметов Багдат Мухаметович (KZ), Чепрасов Александр Иванович (KZ)
(73) Патентообладатель(и):
Открытое акционерное общество “РУСАЛ Всероссийский алюминиево-магниевый институт” (ОАО “РУСАЛ ВАМИ”) (RU)
|
(54) ЭЛЕКТРОЛИЗЕР ДЛЯ ПОЛУЧЕНИЯ МАГНИЯ И ХЛОРА
(57) Реферат:
Изобретение относится к области цветной металлургии, в частности к конструкциям электролизеров для получения магния и хлора. Техническим результатом изобретения является улучшение выноса магния из рабочего отделения в сборную ячейку, что приводит к повышению выхода магния по току. Электролизер содержит продольные и торцевые вертикальные стенки, образующие ванну, разделенную перегородкой с V-образными каналами на сборную ячейку и электролитическое отделение. Поочередно в электролитическом отделении установлены аноды и катоды рамного типа, причем крайними установлены катоды. В электролитическом отделении торцевые стены, расположенные параллельно длинным сторонам катодов, имеют выступы, нависающие над верхними кромками катодов, при этом расстояние между выступом и рабочей поверхностью анода равно 1-4,5 межэлектродного расстояния. Выступы выполнены из стойкого в среде расплавленного магния и электролита материала, например из плавлено-литого материала, фторфлогопита или из низкоцементного огнеупорного бетона. 2 з.п. ф-лы, 3 ил.
Изобретение относится к области цветной металлургии, в частности к конструкциям электролизеров для получения магния и хлора.
Известны и широко применяются электролизеры для получения магния. Электролизеры имеют электролитическое отделение с поочередным расположением анодов и катодов и сборную ячейку, отделенную от электролитического отделения разделительной перегородкой, с верхними и нижними переточными каналами для организации циркуляции электролита в виде замкнутого контура между электролитическим отделением и сборной ячейкой [авторское свидетельство СССР №375318]. Крайними электродами установлены аноды.
Такая конструкция электролизера обладает рядом недостатков, а именно на задней продольной стенке в углах, примыкающих к торцевым стенкам, происходит значительное разрушение футеровки вследствие протекания в ней электрохимических процессов, приводящих к взаимодействию магния с материалом футеровки.
Этих недостатков лишен электролизер для получения магния и хлора, у которого в электролитическом отделении крайними электродами установлены катоды (Х.Л.Стрелец «Электролитическое получение магния», Москва, Металлургия, 1972 г., с.266). Этот электролизер принят за прототип.
В этом электролизере каждый анод охвачен со всех сторон катодной поверхностью, что исключает прохождение тока от катода к аноду через футеровку. В этом случае разрушение футеровки не происходит. Однако данная конструкция характеризуется пониженным выходом по току. Это обусловлено тем, что на электролизерах помимо основного циркуляционного контура, выносящего магний из электролитического отделения в сборную ячейку, возникает дополнительный циркуляционный контур электролита вокруг крайнего катода с восходящим потоком электролита, магния и хлора в межэлектродном зазоре между крайним катодом и рядом расположенным анодом и нисходящим потоком электролита в зазоре между крайним катодом и торцевой стенкой.
Так как уровень расплава гораздо выше верхнего среза крайнего катода, то над катодом образуется достаточно широкий зазор между торцевой стенкой ванны и анодом, в котором образуется застойная зона, где накапливается магний, который хлорируется образующимся на аноде хлором, что, в свою очередь, приводит к значительным его потерям, соответственно к снижению выхода по току.
Задачей изобретения является улучшение выноса магния из рабочего отделения в сборную ячейку, что приводит к повышению выхода магния по току.
Технический результат достигается тем, что в электролизере для получения магния и хлора, содержащем продольные и торцевые вертикальные стенки, образующие ванну, разделенную перегородкой с V-образными каналами на сборную ячейку и электролитическое отделение с поочередно установленными анодами и катодами рамного типа, причем крайними установлены катоды, в электролитическом отделении торцевые стены, расположенные параллельно длинным сторонам катодов, имеют выступы, нависающие над верхними кромками катодов, при этом расстояние между выступом и рабочей поверхностью анода равно 1-4,5 межэлектродного расстояния (МЭР), выполнены выступы из стойкого в среде расплавленного магния и электролита материала.
Выступы выполнены из плавлено-литого материала – фторфлогопита.
Выступы выполнены из низкоцементного огнеупорного бетона.
Использование заявляемой конструкции электролизера способствует усилению в зазоре между анодом и торцевой стенкой направленной циркуляции электролита, выносящий магний из этого зазора в сборную ячейку, что приводит к увеличению выхода магния по току.
Выступ, выполненный из стойкого в среде расплавленного магния и электролита материала (например, из фторфлогопита, низкоцементного огнеупорного бетона) и установленный над крайними катодами на торцевых стенках электролизера, уменьшает зазор между торцевой стенкой и анодом, в районе колебания уровня электролита до 1,0-4,5 межэлектродных расстояний, что исключает скапливание магния в этом месте и облегчает последующее перемещение магния вдоль электродов в сборную ячейку.
Выполнение выступа из материала, стойкого против действия магния и электролита, исключает разрушение футеровки торцевых стенок, что заметно увеличивает срок службы электролизера.
При расстоянии менее 1,0 МЭР увеличивается взаимодействие магния с хлором, что приводит к снижению выхода по току.
В случае, когда расстояние больше 4,5 МЭР, ухудшаются условия выноса магния из этого зазора в сборную ячейку, что также приводит к потерям магния и снижению выхода по току.
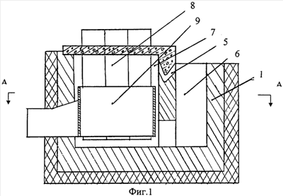
На фиг.1 показан поперечный разрез электролизера.
На фиг.2 показан разрез по А-А.
На фиг.3 показан разрез по Б-Б.
Электролизер для получения магния и хлора включает продольные 1 и торцевые 2 вертикальные стенки, образующие ванну 3, разделенную перегородкой 4 с V-образными каналами 5 на сборную ячейку 6 и электролитическое отделение 7 с поочередно установленными анодами 8 и катодами 9, причем крайними установлены катоды 9. На торцевых вертикальных стенках с внутренней стороны выполнены выступы 10 из стойкого в среде расплавленного магния и электролита материала. Выступы 10 расположены выше крайних катодов на всю их длину. Причем выступы расположены от рабочей поверхности анода на расстоянии 1,0-4,5 межэлектродного расстояния и выполнены из плавлено-литого материала – фторфлогопита или из низкоцементного огнеупорного бетона.
Электролизер работает следующим образом. При прохождении тока через электролизер на катодных поверхностях 9 выделяется магний, а на анодных 8 – хлор. Образующиеся на поверхности анода пузырьки хлора движутся вверх и создают восходящий поток электролита в межэлектродном пространстве. Электролит захватывает капли полученного на катодах магния и увлекает их к поверхности электролита. Достигнув поверхности, пузырьки хлора отрываются от электролита, который по сложной траектории направляется в сторону сборной ячейки 6 через V-образные каналы 5. В сборной ячейке 6 происходит накопление магния, который периодически удаляется вакуум-ковшом.
При установке в электролизере крайних катодов образуется замкнутый поток электролита вокруг крайних катодов. При этом в межэлектродном зазоре образуется восходящий поток электролита, магния и хлора, который на поверхности покидает электролит, а в зазоре между торцевой стенкой 2 и крайним катодом 9 образуется нисходящий поток электролита. В результате на поверхности электролита в районе между торцевой стенкой и поверхностью анода образуется застойная зона, в которой происходит накапливание магния, что приводит к замыканиям анода и катода, хлорированию магния и снижению выхода по току. Применение на торцевых вертикальных стенках выше катодов выступов из стойкого в среде расплавленного магния и электролита материала позволяет исключить образование застойной зоны, что способствует созданию в районе между выступом и поверхностью анода направленной циркуляции электролита и магния в сторону сборной ячейки 6.
Достигнув перегородки 4 поток электролита вместе с магнием устремляется в переточные каналы 5, V-образная форма которых служит направлению электролита и магния в сборную ячейку 6 и препятствует выходу хлора в нее.
Таким образом, заявляемые решения позволяют организовать в электролитическом отделении циркуляцию электролита, направленную в сторону сборной ячейки и обеспечить условия, необходимые для беспрепятственной эвакуации магния из электролитического отделения 7, что способствует стабильной работе электролизера и повышению выхода магния по току на 3-5%.
Формула изобретения
1. Электролизер для получения магния и хлора, содержащий продольные и торцевые вертикальные стенки, образующие ванну, разделенную перегородкой с V-образными каналами на сборную ячейку и электролитическое отделение с поочередно установленными анодами и катодами рамного типа, причем крайними установлены катоды, отличающийся тем, что в электролитическом отделении торцевые стены, расположенные параллельно длинным сторонам катодов, имеют выступы, нависающие над верхними кромками катодов и выполненные из стойкого в среде расплавленного магния и электролита материала, при этом расстояние между выступом и рабочей поверхностью анода равно 1-4,5 межэлектродного расстояния.
2. Электролизер по п.1, отличающийся тем, что выступы выполнены из плавлено-литого материала – фторфлогопита.
3. Электролизер по п.1, отличающийся тем, что выступы выполнены из низкоцементного огнеупорного бетона.
РИСУНКИ
|
|