|
|
(21), (22) Заявка: 2006104503/02, 13.02.2006
(24) Дата начала отсчета срока действия патента:
13.02.2006
(46) Опубликовано: 10.02.2008
(56) Список документов, цитированных в отчете о поиске:
RU 2239661 C1, 10.11.2004. RU 2054048 C1, 10.02.1996. RU 2177509 C2, 27.12.2001. SU 1079670 A1, 15.03.1984. US 4971297 A, 20.11.1990.
Адрес для переписки:
630057, г.Новосибирск, ул. Энгельса, 23, кв.6, Ю.А.Каранику
|
(72) Автор(ы):
Караник Юрий Апполинарьевич (RU)
(73) Патентообладатель(и):
Караник Юрий Апполинарьевич (RU)
|
(54) НАКОНЕЧНИК КИСЛОРОДНО-КОНВЕРТОРНОЙ ФУРМЫ КАРАНИКА
(57) Реферат:
Изобретение относятся к области металлургии и может быть использовано в конструкции наконечников при кислородно-конверторном производстве. Наконечник кислородно-конверторной фурмы содержит головку с полусоплами и фланец. В центральной части наконечник снабжен вставкой с полусоплами, выполненной из тугоплавкого материала. Центральная часть вставки выполнена сплошной, или зафутерованной огнеупорным материалом, или с соплом. Использование изобретения позволяет повысить стойкость наконечников, снизить издержки производства при переделе чугуна на сталь. 2 ил.
Изобретение относится к области металлургии и может быть использовано в конструкции наконечников при кислородно-конверторном производстве.
Известен наконечник кислородно-конверторной фурмы, содержащий головку и фланец, соединенные соплами при помощи сварки (А.В.Сущенко и др. Повышение стойкости кислородных фурм. Сталь №7, 1993, с.20-29).
К недостаткам указанной конструкции наконечника относятся низкая стойкость из-за разрушения по сварным швам.
Известен цельнолитой наконечник кислородно-конверторной фурмы (Патент РФ № 2239661, кл. С21С 5/48. Ю.А.Караник и др. Заявл. 13.02.2003 г, опубл. 10.11.2004 Бюл. № 31).
На опытных образцах цельнолитых наконечников достигнуто повышение стойкости по сравнению со сварными, изготовленными из проката, в 4-8 раз. Выход цельнолитых наконечников из строя, как показала практика, происходит из-за прогара в центральной части.
Целью предлагаемого изобретения является устранение этого недостатка, т.е. повышение стойкости наконечника.
Поставленная цель достигается тем, что известный наконечник кислородно-конверторной фурмы, содержащий головку и фланец, объединенные с соплами в месте соединения головки и сопел без сварки, снабжен армирующей вставкой, выполненной из тугоплавкого материала, расположенного в центральной его части.
В качестве материала армирующих вставок могут быть использованы Мо, W, Cr их сплавы и др. материалы, в т.ч. Fe и графит с покрытием.
Введение армирующей вставки, выполненной из тугоплавкого материала, расположенной в центре наконечника, гарантированно обеспечивает устранение прожогов его в центральной части и уменьшает вероятность прожогов головки из-за улучшения условий ее охлаждения, при упрощенной схеме охлаждения, и ликвидации застойной зоны в центре.
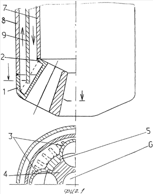
На фиг.1 представлен предлагаемый наконечник в составе фурмы, на фиг.2 представлены возможные варианты армирующей вставки (сплошной и зафутерованный огнеупором).
Наконечник состоит из головки 1, фланца 2 и полусопел 3 монолитной головки, вставки 4, выполненной из сплава ВХ-5 на основе хрома с полусоплами 5 и центральным соплом 6. Наконечник связан с трубой 7 для подвода охладителя (воды) и трубой 8 – для отвода охладителя, труба 9 разделяет поток. Центральная часть наконечника выполнена сплошной (10, фиг.2), или зафутерована огнеупорным материалом 11, например из магнезита, или с центральным соплом.
Наконечник работает следующим образом.
Наконечник в составе фурмы устанавливается на определенной высоте над уровнем чугуна в конверторе (не показано) и по стрелке, направленной вниз, подается вода, которая, ограниченная разделителем 9, охлаждает полусопла 3 и головку 1. Одновременно через сопла 3, 5, 6 подается под давлением кислород и производится металлургический процесс передела чугуна на сталь с одновременным повышением температуры расплава до 1650°С за счет экзотермических реакций. При этом вода не расходуется, как обычно, на охлаждение центральной части, где возможно образование застойных зон, и этим улучшается отбор тепла, а армирующая вставка из тугоплавкого материала (Тпл. – 1750-1900°С) выдерживает тепловые нагрузки с передачей тепла (контактный теплообмен) водоохлаждаемым стенкам головки 1. Т.к. температура плавления материала вставки гораздо выше температуры воздействия от расплава металла, прожоги в ней исключены. Прожоги исключаются и в головке 1, т.к. она более интенсивно охлаждается упорядоченным потоком воды без образования застойных зон. Таким образом, предлагаемые конструктивные изменения позволяют значительно повысить стойкость наконечников, зависящую только от усталостной прочности материалов, из которых он изготовлен.
Использование изобретения позволяет повысить стойкость наконечников более чем на порядок по сравнению со сварными, используемыми в производстве, снизить издержки производства при переделе чугуна на сталь.
Формула изобретения
Наконечник кислородно-конверторной фурмы, содержащий головку с полусоплами и фланец, отличающийся тем, что он снабжен расположенной в его центральной части вставкой с полусоплами, выполненной из тугоплавкого материала, при этом центральная часть вставки выполнена сплошной или зафутерованной огнеупорным материалом, или с соплом.
РИСУНКИ
MM4A – Досрочное прекращение действия патента СССР или патента Российской Федерации на изобретение из-за неуплаты в установленный срок пошлины за поддержание патента в силе
Дата прекращения действия патента: 14.02.2008
Извещение опубликовано: 27.12.2009 БИ: 36/2009
|
|