|
(21), (22) Заявка: 2006106454/02, 01.03.2006
(24) Дата начала отсчета срока действия патента:
01.03.2006
(46) Опубликовано: 10.02.2008
(56) Список документов, цитированных в отчете о поиске:
RU 2145637 C1, 20.02.2000. RU 2215792 C1, 10.11.2003. SU 602555 A1, 15.04.1978. US 3473793 А, 21.10.1969. ЕР 0139255 А, 02.05.1985.
Адрес для переписки:
620049, г.Екатеринбург, ул. Лобачевского, 1, кв.21, Я.П.Калугину
|
(72) Автор(ы):
Калугин Яков Прокопьевич (RU)
(73) Патентообладатель(и):
Калугин Яков Прокопьевич (RU)
|
(54) ВОЗДУХОНАГРЕВАТЕЛЬ
(57) Реферат:
Изобретение относится к области металлургии, в частности к конструкциям воздухонагревателей доменных печей. Устройство содержит кожух с футеровкой, насадку, купол с расположенной в его верхней части соосно с ним форкамерой, имеющей кожух и футеровку с независимой опорой на кожух. Каналы для прохода газа и воздуха выполнены в боковой вертикальной стенке футеровки форкамеры и сообщаются с внутренними коллекторами и штуцерами для подвода газа и воздуха. Каналы нижнего коллектора расположены в верхней его части и направлены вверх от горизонтальной плоскости на угол 15÷30°. Каналы верхнего коллектора расположены в нижней его части и направлены вниз от горизонтальной плоскости на угол 15÷30°. Проекции осей всех каналов на горизонтальную плоскость образуют угол 15÷45° к проекциям на горизонтальную плоскость радиусов форкамеры, проходящих через центры выходных сечений каналов. Использование изобретения обеспечивает уменьшение эксплуатационных затрат и улучшение сжигания газа. 2 ил.
Изобретение относится к области черной металлургии, в частности к конструкции аппаратов для нагрева воздушного дутья доменных печей.
Известны воздухонагреватели без камеры горения (бесшахтные) с установкой горелочных устройств или форкамер на куполе воздухонагревателя (патент России № 2145637, а.с. № 602555, патент Японии № 48-4284, патент США № 3473794), которые являются более перспективными аппаратами.
Наиболее близким к предлагаемому изобретению по технической сущности и совокупности признаков является бесшахтный воздухонагреватель по патенту России №2145637, кл. С21В 9/02 (прототип). Он имеет кожух с футеровкой, насадку, купол, штуцер горячего дутья, расположенный над насадкой на расстоянии до его оси не менее одного диаметра его проходного сечения, а также форкамеру, расположенную в верхней части купола соосно с ним и имеющую кожух с футеровкой, выполненной независимо от футеровки купола с самостоятельной опорой на кожух форкамеры. В форкамере имеются кольцевые коллекторы газа и воздуха, которые расположены между кожухом и боковой стенкой футеровки форкамеры один над другим и разделены перегородкой. Коллекторы имеют подводящие штуцеры и выходные каналы, причем последние выполнены в вертикальной боковой стенке футеровки форкамеры и выход газа и воздуха происходит непосредственно в форкамеру. За счет того, что оси каналов верхнего ряда из нижнего коллектора направлены к оси форкамеры и смещены вверх от горизонтальной плоскости на угол до 30°, а оси всех остальных каналов расположены в горизонтальной плоскости и направлены под углом 15÷30° к радиусам форкамеры, проходящим через центры их выходных сечений, в форкамере образуются закрученные потоки газа и воздуха. Закрутка потоков обеспечивает полное выгорание газа до входа в насадку и равномерное распределение потока по насадке.
Доменные воздухонагреватели являются крупногабаритными высокотемпературными аппаратами и требуют для своего сооружения и эксплуатации больших затрат. Поэтому одним из основных требований к ним является снижение энергетических затрат. Кроме того, воздухонагреватели сжигают большое количество доменного газа, в состав которого входит отравляющий газ оксид углерода СО. Поэтому важным требованием при эксплуатации доменных воздухонагревателей является полное сжигание газа, что обеспечит их экологическую безопасность.
В связи с указанным известный воздухонагреватель имеет ряд недостатков.
Для обеспечения хорошего перемешивания и сгорания газа и воздуха в форкамере создаются их закрученные потоки. В верхнюю часть форкамеры поступает газ и здесь образуется закрученный поток газа. Для возможности хорошего смешения газа и воздуха в известном воздухонагревателе предусмотрено оси воздушных каналов верхнего ряда из нижнего коллектора направить к оси форкамеры и сместить их вверх от горизонтальной плоскости на угол до 30°. Предполагается, что направленные по радиусу и смещенные вверх воздушные струи должны пройти сквозь поток газа к центральной части форкамеры и обеспечить хорошее перемешивание и сгорание газа в центре форкамеры. Струи воздуха из каналов остальных рядов направлены под углом к радиусам форкамеры и должны обеспечить хорошее перемешивание и сгорание периферийных потоков газа. Однако у воздухонагревателей крупных доменных печей форкамеры имеют большие поперечные размеры и для прохода к оси форкамеры воздушные струи должны преодолеть закрученный сносящий поток газа значительной толщины. Для этого надо значительно увеличить их скорости и установить более мощные нагнетатели воздуха, что увеличит энергетические затраты. Кроме того, может произойти неполное сгорание газа в центральной части форкамеры, что приведет к ухудшению экологических показателей воздухонагревателей. При этом возникает противоречие. С одной стороны, для увеличения проникающей способности воздушных струй верхнего ряда необходимо значительно увеличить их скорость, а следовательно, и давление в коллекторе, что потребует применения значительно более мощных нагнетателей воздуха. С другой стороны, для воздушных струй из каналов остальных рядов не требуется увеличения скоростей, так как в периферийных участках форкамеры и при обычных скоростях и закрутке потоков обеспечивается хорошее смешение и полное сгорание газа до входа в насадку.
Таким образом, для каналов разных рядов, выходящих из одного коллектора, требуются разные давления в этом коллекторе, что обеспечить невозможно. Поскольку для обеспечения давления воздуха в коллекторе устанавливаются нагнетатели с обычными напорами, то скорость струй из каналов верхнего ряда оказывается недостаточной и в центр форкамеры не поступает того количества воздуха, которое требуется для полного сжигания газа. Вследствие этого часть газа не сгорает и выбрасывается в атмосферу, что ухудшает экологические характеристики воздухонагревателя.
В основу настоящего изобретения поставлена задача уменьшения эксплуатационных затрат и улучшение сжигания газа, достигаемые путем перераспределения потоков газа и воздуха в форкамере.
Решение поставленной задачи достигается тем, что согласно изобретению в известном воздухонагревателе, содержащем кожух с футеровкой, насадку, купол, штуцер горячего дутья, расположенный над насадкой на расстоянии до его оси не менее одного диаметра его проходного сечения, форкамеру, расположенную в верхней части купола соосно с ним и имеющую кожух с футеровкой, выполненной независимо от футеровки купола с самостоятельной опорой на кожух форкамеры, коллекторы газа и воздуха с перегородкой между ними, расположенные между кожухом и боковой стенкой футеровки форкамеры один над другим и имеющие подводящие штуцеры и выходные каналы, выполненные в вертикальной боковой стенке футеровки форкамеры, оси каналов из нижнего коллектора расположены в верхней части коллектора и направлены вверх от горизонтальной плоскости на угол 15÷30°, а оси каналов из верхнего коллектора расположены в нижней части коллектора и направлены вниз от горизонтальной плоскости на угол 15÷30°, причем проекции осей всех каналов на горизонтальную плоскость образуют угол 15÷45° к проекциям на горизонтальную плоскость радиусов форкамер, проходящим через центры выходных сечений каналов.
Выполнение в форкамере каналов из нижнего коллектора, размещенных в его верхней части и направленных вверх под углом 15÷30°, а каналов из верхнего коллектора, размещенных внизу и направленных вниз под углом 15÷30°, позволяет направить струи газа и воздуха навстречу друг другу, так что в дальнейшем они могут двигаться в одном спутном потоке, внедряясь друг в друга. Струям воздуха не требуется преодолевать закрученный газовый поток большой толщины, чтобы попасть к центру форкамеры, т.к. они туда попадают вместе со струями газа. Не требуются также высокие скорости воздушных струй и нагнетатели воздуха с высокими напорами. Расположение проекций осей всех каналов на горизонтальную плоскость под углом 15÷45° к проекциям на горизонтальную плоскость радиусов форкамер, проходящим через центры их выходных сечений, позволяет создать необходимую высокую степень закрутки струй газа и воздуха, выходящих из каналов, что обеспечивает, с одной стороны, полное сгорание газа до входа в насадку и, с другой стороны, равномерный вход потока в насадку. В результате такого конструктивного выполнения на воздухонагревателях доменных печей как малого, так и большого объема обеспечивается полное сгорание газа до входа в насадку и равномерный вход продуктов горения в насадку при снижении энергетических затрат с обеспечением экологически чистых продуктов горения.
Сущность изобретения поясняется графическими материалами, где представлено:
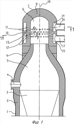
фиг.1 – общий вид одного из возможных вариантов выполнения бесшахтного воздухонагревателя предлагаемой конструкции, вертикальный разрез, где штуцеры подвода газа и воздуха и штуцер горячего дутья условно совмещены в одной плоскости;
фиг.2 – разрез I-I на фиг.1.
Воздухонагреватель содержит кожух 1 с футеровкой 2, насадку 3, штуцер горячего дутья 4, купол 5 с расположенной в его верхней части соосной ему форкамерой 6, имеющей кожух 7 и футеровку 8, выполненную независимо от футеровки купола с самостоятельной опорой 9 на кожух. Штуцер горячего дутья 4 расположен над насадкой 3 на расстоянии до его оси не менее 1 диаметра его проходного сечения. В вертикальной стенке форкамеры выполнены каналы для прохода газа 11 и воздуха 12 с перегородкой 13 между ними, сообщающиеся с внутренними коллекторами 14 и 15 и штуцерами 16 и 17 подвода газа и воздуха. Оси каналов 12 из нижнего коллектора 15 расположены в верхней части коллектора и направлены вверх от горизонтальной плоскости на угол =15÷30°. Оси каналов 11 из верхнего коллектора 14 расположены в нижней части коллектора и направлены вниз от горизонтальной плоскости на угол =15÷30°. Проекции всех каналов на горизонтальную плоскость образуют угол =15÷45° к проекциям на горизонтальную плоскость радиусов форкамер, проходящим через центры выходных сечений каналов.
Предпочтительно, чтобы в верхний коллектор подавался газ, а в нижний – воздух, как это и показано на фиг.1. Однако подача может быть и обратной.
Описанный воздухонагреватель содержит существенные отличия и работает следующим образом.
В период нагрева насадки воздух для горения по патрубку 17 подается в воздушный коллектор 15, расположенный внутри воздухонагревателя между кожухом и футеровкой форкамеры под газовым коллектором 14, и через каналы 12 в вертикальной стенке футеровки 10 поступает в форкамеру. Струи воздуха из каналов 12 направлены вверх. Газ по патрубку 16 подается в газовый коллектор 14, расположенный внутри воздухонагревателя между кожухом и футеровкой форкамеры над воздушным коллектором 17, откуда через каналы 11, расположенные в вертикальной стенке 10 футеровки, поступает в форкамеру. Струи газа из каналов 11 направлены вниз, навстречу струям воздуха.
В результате происходит взаимное внедрение струй газа в струи воздуха и совместное движение газа и воздуха в одном спутном потоке от периферии форкамеры к центру. Воздуху уже не требуется преодолевать закрученный поток газа значительной толщины и к центру форкамеры он двигается вместе с потоком газа. Выход обоих потоков из каналов, расположенных под угол =15÷45° к радиусам форкамеры, создает закрутку потоков в одном направлении, что дополнительно улучшает перемешивание газа и воздуха. При слиянии потоков газа и воздуха происходит воспламенение газовоздушной смеси от разогретой кладки форкамеры. Интенсивное перемешивание газа и воздуха в едином закрученном потоке приводит к быстрому сгоранию газа, которое начинается в форкамере и заканчивается на входе в коническую часть купола.
В дутьевой период холодное дутье поступает в насадку 3 снизу и, проходя ее верх, нагревается. Нагретое дутье выходит под купол 5 и отводится через штуцер горячего дутья 4 к потребителю, например, в доменную печь. В период дутья, вследствие высокой температуры горячего дутья, в форкамере поддерживается температура кладки, достаточная для сжигания смеси газа и воздуха в начале газового периода.
Таким образом, вследствие того что в газовый период в форкамере организовано интенсивное перемешивание и сжигание газа и воздуха, струи которых двигаются в спутном закрученном потоке, достигается полное сжигание газа до входа в насадку при снижении энергетических затрат с обеспечением экологически чистых продуктов горения на воздухонагревателях доменных печей как малого, так и большого объема.
Изобретение может быть использовано не только в черной металлургии для нагрева дутья доменных печей, а также в энергетике для нагрева теплоносителя (воздуха, газа) до высоких температур.
Формула изобретения
Воздухонагреватель, содержащий кожух с футеровкой, насадку, купол, штуцер горячего дутья, расположенный над насадкой на расстоянии до его оси не менее одного диаметра его проходного сечения, форкамеру, расположенную в верхней части купола соосно с ним и имеющую кожух с футеровкой, выполненной независимо от футеровки купола с самостоятельной опорой на кожух форкамеры, газовый и воздушный коллекторы с перегородкой между ними, расположенные между кожухом и боковой стенкой футеровки форкамеры один над другим и имеющие подводящие штуцеры и выходные каналы, выполненные в вертикальной боковой стенке футеровки форкамеры, отличающийся тем, что выходные каналы нижнего коллектора расположены в верхней его части и направлены вверх от горизонтальной плоскости на угол 15÷30°, а выходные каналы верхнего коллектора расположены в нижней его части и направлены вниз от горизонтальной плоскости на угол 15÷30°, причем проекции осей указанных каналов на горизонтальную плоскость образуют угол 15÷45° к проекциям на горизонтальную плоскость радиусов форкамеры, проходящих через центры выходных сечений каналов.
РИСУНКИ
QZ4A – Регистрация изменений (дополнений) лицензионного договора на использование изобретения
Лицензиар(ы): Калугин Яков Прокопьевич
Вид лицензии*: НИЛ
Лицензиат(ы): Открытое акционерное общество “Северсталь”
Характер внесенных изменений (дополнений):
Изменение касается предмета договора: дополнительно включен в договор патент № 2316600.
Договор № 14795 зарегистрирован 23.07.2002
Извещение опубликовано: 20.08.2008 БИ: 23/2008
* ИЛ – исключительная лицензия НИЛ – неисключительная лицензия
QZ4A – Регистрация изменений (дополнений) лицензионного договора на использование изобретения
Лицензиар(ы): Калугин Яков Прокопьевич
Вид лицензии*: НИЛ
Лицензиат(ы): Открытое акционерное общество “СЕВЕРСТАЛЬ”
Характер внесенных изменений (дополнений):
Изменения касаются объема использования; изменения касаются размера вознаграждения
Договор № 14795 зарегистрирован 23.07.2002
Извещение опубликовано: 20.09.2009 БИ: 26/2009
* ИЛ – исключительная лицензия НИЛ – неисключительная лицензия
QZ4A – Регистрация изменений (дополнений) лицензионного договора на использование изобретения
Лицензиар(ы): Калугин Яков Прокопьевич
Вид лицензии*: НИЛ
Лицензиат(ы): Открытое акционерное общество “Новолипецкий металлургический комбинат”
Характер внесенных изменений (дополнений):
Изменен объем предоставляемых прав – добавлен патент 2316600
Договор № РД0036643 зарегистрирован 28.05.2008
Извещение опубликовано: 20.12.2009 БИ: 35/2009
* ИЛ – исключительная лицензия НИЛ – неисключительная лицензия
QZ4A – Регистрация изменений (дополнений) лицензионного договора на использование изобретения
Лицензиар(ы): Калугин Яков Прокопьевич
Вид лицензии*: НИЛ
Лицензиат(ы): Открытое акционерное общество “СЕВЕРСТАЛЬ”
Характер внесенных изменений (дополнений):
Изменены размеры лицензионного вознаграждения
Договор № 14795 зарегистрирован 23.07.2002
Извещение опубликовано: 27.01.2010 БИ: 03/2010
* ИЛ – исключительная лицензия НИЛ – неисключительная лицензия
|