|
|
(21), (22) Заявка: 2006122752/11, 26.06.2006
(24) Дата начала отсчета срока действия патента:
26.06.2006
(46) Опубликовано: 10.02.2008
(56) Список документов, цитированных в отчете о поиске:
SU 581045 A1, 28.11.1977. SU 311830 A1, 04.10.1971. RU 2229426 C1, 27.05.2004. DE 3740109 A, 01.12.1988.
Адрес для переписки:
394000, г.Воронеж, пр-кт Революции, 19, ГОУВПО Воронежская государственная технологическая академия, отдел СМП
|
(72) Автор(ы):
Бахолдин Александр Михайлович (RU), Капранчиков Сергей Сергеевич (RU)
(73) Патентообладатель(и):
Государственное образовательное учреждение высшего профессионального образования Воронежская государственная технологическая академия (RU)
|
(54) УСТРОЙСТВО ДЛЯ УЛАВЛИВАНИЯ ТЯГОВОГО ОРГАНА ЭЛЕВАТОРА ПРИ ЕГО ОБРЫВЕ
(57) Реферат:
Изобретение относится к машинам непрерывного транспорта сыпучих материалов, в частности к устройствам для улавливания тягового органа элеватора при его обрыве. Устройство содержит кожух, рычажный механизм. На двух параллельных стержнях, прикрепленных к стенке внутри кожуха, между рабочей и холостой ветвями тягового органа установлена пластина с возможностью перемещения в горизонтальной плоскости, соединенная с кожухом пружинами растяжения. Рычажный механизм состоит из двух стержней, закрепленных на оси с возможностью поворота вокруг нее, на конце одного из которых находится рабочий орган, выполненный в виде ролика с возможностью вращения и касания с внутренней частью тягового органа. Конец другого изогнут и находится в зацеплении с пластиной при нормальной работе элеватора. Изобретение позволяет увеличить срок службы тягового органа и удержание тягового органа при его обрыве без возможного проскальзывания. 3 ил.
Изобретение относится к устройствам непрерывного транспортирования сыпучих материалов, в частности к устройствам для улавливания тягового органа элеватора при его обрыве.
Наиболее близким по технической сущности и достигаемому эффекту является устройство для улавливания тягового органа элеватора при его обрыве, включающее параллельные двухплечие рычаги, закрепленные с возможностью качания на оси, смонтированной на раме между рабочей и холостой ветвью элеватора, и упоры, ограничивающие поворот рычагов при обрыве тягового органа, на концах двухплечих рычагов установлены рамки, охватывающие ветви ленты.
Недостатком устройства является повышенное истирание тягового органа (ленты) при его колебании во время движения и невозможность мгновенного зацепления ковшей за рамку и прекращения падения тягового органа с ковшами.
Технической задачей изобретения является увеличение срока службы тягового органа (ленты) и удержание тягового органа при его обрыве без возможного проскальзывания.
Техническая задача изобретения достигается тем, что в устройстве для улавливания тягового органа элеватора при его обрыве, включающем кожух, рычажный механизм, новым является то, что на двух параллельных стержнях, прикрепленных к стенке внутри кожуха, между рабочей и холостой ветвями тягового органа установлена пластина, с возможностью перемещения в горизонтальной плоскости, соединенная с кожухом пружинами растяжения, а рычажный механизм состоит из двух стержней, закрепленных на оси с возможностью поворота вокруг нее, на конце одного из которых находится рабочий орган, выполненный в виде ролика с возможностью вращения и касания с внутренней частью тягового органа, а конец другого изогнут и находится в зацеплении с пластиной при нормальной работе элеватора.
Технический результат заключается в обеспечении мгновенного улавливания тягового органа с ковшами при его обрыве и увеличении срока службы тягового органа за счет снижения интенсивности истирания края ленты из-за отсутствия рамок с захватами.
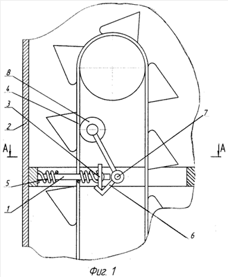
На фиг.1 изображен элеватор с устройством для улавливания тягового органа, общий вид; на фиг.2 – вид сверху по А-А; на фиг.3 – устройство в действии.
Устройство для улавливания тягового органа элеватора состоит из параллельных стержней 1, прикрепленных к стенке внутри кожуха 2. На стержнях 1 установлена пластина 3 с возможностью свободного перпендикулярного перемещения в горизонтальной плоскости по стержням 1. Пластина 3 помещена между рабочей и холостой ветвями тягового органа 4 и соединена с пружинами растяжения 5. Между рабочей и холостой ветвями тягового органа установлен рычажный механизм 6, состоящий из двух стержней, закрепленных на оси 7 с возможностью поворота вокруг нее, на конце одного из которых находится рабочий орган, выполненный в виде ролика 8 с возможностью вращения и касания внутренней части тягового органа, а конец другого изогнут и находится в зацеплении с пластиной 3.
Предложенное устройство для улавливания тягового органа элеватора при его обрыве работает следующим образом.
При нормальной работе элеватора пластина 3 оттянута и зацеплена рычажным механизмом 6. Пружины 5 растянуты. Как известно, максимальное натяжение тягового органа находится в месте его набегания на барабан, поэтому при его обрыве контакт с роликом 8 рычажного механизма 6 нарушается и ролик 8 под действием собственного веса отклоняется (фиг.3). Зацепление пластины 3 и рычажного механизма 6 нарушается. Пружины 5 сокращаются и практически мгновенно притягивают по стержням 1 пластину 3 к кожуху 2 элеватора (фиг.3). Тяговый орган с ковшами 4 зажимается между кожухом 2 и пластиной 3, тем самым останавливая дальнейшее движение тягового органа с ковшами вниз.
Предложенное устройство для улавливания тягового органа элеватора при его обрыве позволяет:
– обеспечить мгновенное улавливание тягового органа за счет быстрого срабатывания рабочего органа вследствие нарушения целостности тягового органа и нарушения взаимодействия между тяговым и рабочим органом;
– исключить истирание ленты за счет того, что ролики выполнены с возможностью свободного вращения и тем самым не создают значительного трения о ленту;
– увеличить срок службы тягового органа;
– сократить время демонтажа элеватора при обрыве тягового органа.
Формула изобретения
Устройство для улавливания тягового органа элеватора при его обрыве, включающее кожух, рычажный механизм, отличающееся тем, что на двух параллельных стержнях, прикрепленных к стенке внутри кожуха, между рабочей и холостой ветвями тягового органа установлена пластина с возможностью перемещения в горизонтальной плоскости, соединенная с кожухом пружинами растяжения, а рычажный механизм состоит из двух стержней, закрепленных на оси с возможностью поворота вокруг нее, на конце одного из которых находится рабочий орган, выполненный в виде ролика с возможностью вращения и касания с внутренней частью тягового органа, а конец другого изогнут и находится в зацеплении с пластиной при нормальной работе элеватора.
РИСУНКИ
MM4A – Досрочное прекращение действия патента СССР или патента Российской Федерации на изобретение из-за неуплаты в установленный срок пошлины за поддержание патента в силе
Дата прекращения действия патента: 27.06.2008
Извещение опубликовано: 20.05.2010 БИ: 14/2010
|
|