|
(21), (22) Заявка: 2005138078/13, 07.12.2005
(24) Дата начала отсчета срока действия патента:
07.12.2005
(43) Дата публикации заявки: 20.06.2007
(46) Опубликовано: 10.02.2008
(56) Список документов, цитированных в отчете о поиске:
DE 3714401, 10.11.1988. JP 2003335366, 25.11.2003. GB 1115536, 29.05.1968. RU 2229502, 27.05.2004.
Адрес для переписки:
394055, г.Воронеж, ул. Черняховского, 1, кв.68, Ю.Е. Ващенко
|
(72) Автор(ы):
Ващенко Юрий Ефимович (RU), Гончаров Николай Сергеевич (RU), Мирошниченко Лидия Александровна (RU), Соболев Сергей Николаевич (RU)
(73) Патентообладатель(и):
Индивидуальный предприниматель Ващенко Юрий Ефимович (RU), Гончаров Николай Сергеевич (RU), Мирошниченко Лидия Александровна (RU)
|
(54) СПОСОБ ХРАНЕНИЯ РАСТИТЕЛЬНОГО МАСЛА И УСТРОЙСТВО ДЛЯ ЕГО РЕАЛИЗАЦИИ
(57) Реферат:
Изобретение относится к масложировой промышленности. Масло хранят в герметичной эластичной таре, исключая его контакт с атмосферным воздухом. Внутренний объем тары равен объему находящегося в ней масла, при частичном расходовании масла уменьшают объем тары прямо пропорционально уменьшению объема хранящегося в ней масла. Масло хранят при давлении в таре ниже атмосферного, которое создают упругой силой растягивающихся стенок тары. Устройство содержит дно, стенки, сливную горловину с крышкой. Стенки выполнены в виде сильфона и имеют возможность сжиматься и/или растягиваться внешним усилием до получения объема устройства, равного объему имеющегося в нем масла, а крышка выполнена герметизирующей от атмосферного воздуха сливную горловину сжатого до объема масла устройства. Крышка горловины устройства оснащена патрубком слива, имеющим срезаемый наконечник и герметизирующий колпачок. В горловине устройства может быть установлен обратный клапан, препятствующий попаданию атмосферного воздуха во внутреннюю полость устройства при сливе из него масла. Изобретение позволяет обеспечение сохранности масла при его длительном хранении за счет исключения его контакта с воздухом и предотвращения диссоциации и перехода в возбужденное состоянии растворенного в масле кислорода. 2 н. и 6 з.п. ф-лы, 3 ил.
Изобретение относится к области хранения жидкостей, окисляющихся кислородом воздуха, в частности – к хранению пищевых растительных масел, особенно нерафинированных.
Растительные масла, особенно нерафинированные, содержат физиологически важные для организма человека витамины (А, Д, Е, К), ненасыщенные жирные кислоты, другие полезные вещества, которые при хранении окисляются и уничтожаются контактирующим с ними кислородом воздуха.
При окислении в растительных маслах из полезных веществ и витаминов образуются вредные триглицериды (перекиси, альдегиды, кетоны и т.д.), которые не только дают нежелательные привкусы и запахи (олеистый, салистый, окисленный, металлический, прогорклый и др.), но и являются ядовитыми. Старое, сильно окислившееся растительное масло нельзя не только употреблять в пищу, но даже использовать в парфюмерии, так как оно опасно для здоровья и способствует развитию многих заболеваний; в том числе онкологических. К этому мнению приходят все большее количество ученых, которые проводят научно-исследовательские работы в этой области.
В больших промышленных емкостях (на заводах-изготовителях), в малых емкостях до и после реализации в торговле (в торгово-бытовой таре), в верхней части емкостей находится атмосферный воздух, содержащий 21 процент кислорода, который контактирует с маслами и окисляет их. Для сохранения качества масел необходимо исключить их контакт с воздухом.
Молекулы кислорода О2 под воздействием квантов света (в основном с длиной волны =1500-3080 Å и энергией h >7,075 эВ, в так называемой D-границе) переходят в возбужденное состояние О2* и диссоциируют на атомы О, которые тоже переходят в возбужденное состояние О* (изменяют орбиту движения электронов вокруг ядра). Возбужденные О* и О2* являются сильными окислителями.
Диссоциация молекулы кислорода на атомы происходит при поглощении энергии в полосах Герцберга, то есть при длине волны квантов света =1750-2424 Å, а при <1750 Å (в полосах Шумана-Рунге) кванты света создают уже возбужденные атомы кислорода. На диссоциацию молекулы кислорода расходуется 5,115 эВ, а на возбуждение атомов – 1,96 эВ. Квантовый выход реакции равен единице при =3000 Å, и уменьшается до 0,4 при =3080 Å. Таким образом, наиболее опасными в являются кванты света с длиной волны =1500-3080 Å и с энергией h 7,075 эВ.
Если на растительное масло, находящееся в прозрачной торгово-бытовой таре (например, в прозрачной стеклянной или пластмассовой бутылке) действуют прямые лучи солнца или достаточно мощные источники искусственного освещения, то из растворенного в масле воздушного кислорода под их воздействием образуются возбужденные О* и O2*, которые являются сильными окислителями и быстро разрушают полезные вещества масла. По сравнению с таким сильным окислителем, как озон О3, возбужденные О* и O2* в 100 раз быстрее окисляют масло. В зависимости от характеристик воздействующего излучения ( и h ) атомарный и молекулярный кислород может быть возбужден до различных уровней.
Для сохранения полезных веществ и вкусовых качеств масел во время их длительного хранения необходимо исключить не только попадание воздуха в тару с маслом, но и воздействие на них прямых лучей солнца и прямого света от достаточно мощных источников искусственного освещения, например разрядных ламп, в спектре излучений которых присутствует вышеуказанный диапазон опасных квантов.
Известен способ снижения скорости окисления растительных масел при их изготовлении путем добавления в них антиоксидантов (синтетического фосфоглицерида в смеси с лимонной кислотой и др., Хомутов Б.И. Хранение пищевых жиров. – М.: Экономика, 1972).
Недостатком известного способа является то, что он замедляет, но не устраняет процесс окисления растительных масел, поэтому он эффективен только лишь непосредственно при их изготовлении (кратковременный контакт масел с атмосферным воздухом при их выдавливании на прессе), и мало эффективен при длительном хранении изготовленных масел (длительный контакт с атмосферным воздухом в хранилищах на заводе-изготовителе, на торговых складах и торговых точках до реализации, в быту после торговой реализации).
Известен способ хранения растительных масел в герметичных емкостях, включающий исключение их контакта с атмосферным воздухом при длительном хранении путем замены воздушной подушки в емкостях на азот (Патент № 2229502, С11В 3/00, 3/16, 2001). Этот способ дает эффект на заводах-изготовителях растительных масел при их длительном хранении в больших заводских емкостях-хранилищах (сотни и тысячи тонн масла), то есть до его расфасовки в тару на продажу и использование.
Недостатками известного способа являются его сложность и малая эффективность. Если заменить в малых торгово-бытовых емкостях воздушную подушку на азот, то при расходовании масла в быту (например, хозяйками на кухне) после первого же слива части масла в бытовую емкость попадет воздух, и масло начнет окисляться.
Кроме этого, через прозрачные стенки бытовой тары (обычно прозрачной стеклянной или пластмассовой бутылки) на масло действуют лучи естественного и/или искусственного освещения, под воздействием которого растворенный в масле кислород воздуха диссоциирует, переходит в возбужденное состояние и интенсивно окисляет масло (кванты света ускоряют процесс окисления масла растворенным в нем при изготовлении кислородом воздуха).
Целью предложенного изобретения является устранение вышеуказанных недостатков, то есть уменьшение контакта кислорода воздуха с маслом не только при хранении до реализации в торговых точках, но и при постепенном его расходовании в течение всего срока использования в бытовых условиях, а также исключение разложения нормального кислорода воздуха, растворенного в масле, на активный (возбужденный) атомарный и молекулярный кислород.
Поставленная цель достигается тем, что масло хранят в герметичной торгово-бытовой таре требуемой размерности (например, 0,1 л, 0,5 л, 1,0 л, 1,5 л и т.д.), внутренний объем которой специально устанавливают равным объему находящегося в ней масла, то есть без наличия газовой подушки. При частичном расходовании в быту масла из этой торгово-бытовой тары (при уменьшении объема хранящегося в таре масла) одновременно прямо пропорционально уменьшают и объем хранящей его тары, чем исключают наличие в ней газовой подушки (окисляющего атмосферного воздуха).
Масло хранят при давлении в торгово-бытовой таре ниже атмосферного, которое создают (понижают) упругой силой растягивающихся стенок тары, чтобы происходило его частичное разнасыщение от растворенного воздуха. После частичного разнасыщения (перехода части растворенного в масле газа в подушку) давление в таре может приблизиться к атмосферному.
Растительное масло в таре предохраняют от воздействия прямых лучей естественного (солнца) и/или искусственного (электрических ламп) источника квантов света (хранят в закрытых помещениях, накрывают светонепроницаемым материалом), а также хранят масло в таре с непрозрачной стенкой, например, поглощающей или экранирующей кванты света с длиной волны =1500-3080 Å и энергией h 7,075 эВ, чтобы растворенный в масле кислород воздуха не диссоциировал и не возбуждался (не ускорял процесс окисления).
Совокупность существенных признаков предложенного способа проявляет новые свойства, заключающиеся в том, что:
– исключают воздушную подушку в торгово-бытовой таре не только при хранении растительного масла, но и при его расходовании в быту;
– устраняют воздействие опасных квантов света, ускоряющих окисление масла растворенным кислородом воздуха за счет его диссоциации и возбуждения.
Таким образом, совокупность существенных признаков предложенного способа соответствует критериям “существенные отличия” и “новизна”.
Согласно предложенному способу отсутствие окисляющего воздуха в торгово-бытовой таре при хранении и расходовании масла и отсутствие действия опасных квантов света на масло осуществляют следующим образом.
После изготовления масло разливают в специальную торгово-бытовую тару, способную в заранее заданных пределах изменять (увеличивать и уменьшать) свой объем и устанавливать его равным объему находящегося в ней масла. После заливки требуемого количества масла эту тару сжимают внешним усилием (руками) до установки уровня масла на срезе горловины (до уравнивания величины объема тары с объемом залитого в нее масла), после чего герметизируют, например, герметичной резьбовой крышкой. Упругие стенки тары стремятся распрямиться и создают в таре давление ниже атмосферного, за счет чего из масла выделяется и превращается в газовую подушку часть растворенного в нем воздуха. Эта перешедшая в газовую подушку часть воздушного кислорода уже не будет участвовать в окислении масла при хранении.
Изменение объема залитого в торгово-бытовую тару масла во время его хранения из-за изменения температуры компенсируется автоматическим (самостоятельным) растягиванием или сжатием стенок тары, то есть автоматической компенсирующей “самоподстройкой” (саморегулированием) объема тары под изменяющийся в ней объем масла.
Если применяют тару с герметизирующей винтовой крышкой; то при расходовании масла в быту (после реализации в торговой точке) тару разгерметизируют снятием резьбовой крышки с ее горловины и сливают из нее нужное количество масла. Слив производят обязательно сжиманием тары внешним усилием (руками), чтобы в тару не попал атмосферный воздух. После слива нужного количества масла тару снова герметизируют резьбовой крышкой, предварительно установив уровень масла на горловине тары.
Для удобства и надежности исключения попадания в тару атмосферного воздуха во время слива масла в горловину тары устанавливают нормально закрытый обратный клапан, и масло не выливают, а выдавливают из тары через этот обратный клапан, сжимая тару руками.
Для слива из тары остатков масла (в конце расходования всего объема залитого масла) тару переворачивают вверх дном, внешним усилием (руками) сжимают и выдавливают остатки масла через горловину (через обратный клапан в горловине), уменьшая объем тары до минимума, или демонтируют крышку, обратный клапан и просто сливают из тары остатки масла.
Величину упругости стенок тары устанавливают, исходя из возможности приложения нужного внешнего усилия сжатия тары (возможностей человеческих рук), так как увеличение жесткости стенок тары повышает качество хранения (увеличивает газовую подушку в таре за счет уменьшения давления в ней, то есть увеличивает разнасыщение масла воздушным кислородом во время хранения).
При необходимости в полностью или частично опорожненную эластичную тару могут доливать масло из другой тары (например, из обычной стеклянной или пластмассовой бутылки для более лучшего сохранения масла без контакта с воздухом). Перед доливанием масла в частично опорожненную тару крышку и обратный клапан (если он имеется) удаляют из горловины, а после долива снова устанавливают.
Для исключения диссоциации и возбуждения молекул и атомов растворенного в масле кислорода не допускают попадания на масло прямых лучей естественного источника света (солнца) или искусственного (ламп электрического освещения), для чего масло в таре хранят в закрытых от освещения местах, накрывают непрозрачным материалом, а масляную тару изготавливают из непрозрачного материала, не пропускающего кванты света с длиной волны =1500-3080 Å и энергией h 7,075 эВ, или экранирующего их (например, покрывают стенки светоотражающим слоем краски, фольги, и т.п.).
Предложенный способ не требует больших материальных затрат для внедрения, прост и удобен в эксплуатации, надежен и эффективен для сохранения биологически полезных свойств масла и его вкусовых качеств при длительном хранении в мелкой таре и при постепенном расходовании в быту.
Предложенный способ может быть применен для хранения любых окисляющихся кислородом воздуха жидкостей (красок, олифы, лекарств и др.) с целью уменьшения их контакта с воздухом, а также для хранения жидких продуктов питания и их использования в невесомости (например, для питания космонавтов на орбитальных станциях-спутниках Земли).
Предложенный способ может быть использован также для хранения молочных продуктов, фруктовых соков, воды, других жидких пищевых продуктов с целью предотвращения попадания в них микроорганизмов из атмосферы при постепенном расходовании в быту, то есть с целью сохранения их стерильного состояния после изготовления и расфасовки (для увеличения срока безопасного хранения без скисания, порчи, внесения инфекции).
Известна установка для хранения растительных масел в герметичных заводских емкостях-хранилищах, включающая исключение их контакта с атмосферным воздухом при длительном хранении путем замены воздушной подушки в емкостях-хранилищах на азот (Патент № 2229502, С11В 3/00, 3/16, 2001 г – прототип). Эта установка эффективна на заводах-изготовителях растительных масел при длительном их хранении в больших заводских емкостях-хранилищах (сотни и тысячи тонн масла), то есть до расфасовки масла в торгово-бытовую тару на продажу и использование.
Недостатками известной установки являются его частичная эффективность. Если заменить в малых торгово-бытовых емкостях воздушную подушку на азот, то при расходовании масла в быту (например, хозяйками на кухне) после первого же слива части масла в бытовую емкость попадет воздух, и масло начнет окисляться.
Известно устройство (тара) для хранения жидкости, содержащее дно, стенки, сливную горловину, в котором использовано несколько последовательно соединенных сосудов, способных располагаться один в другом методом “матрешки” после их поочередного опорожнения (Патент № 1735138, В65D 8/00; 6/00, 1990). Известное устройство уменьшает количество контактируемого с маслом воздуха после слива его части в процессе эксплуатационного расходования за счет размещения (вдавливания) меньшего сосуда в больший после его опорожнения.
Недостатками известного устройства являются его сложность, высокая стоимость, неудобства в эксплуатации, невозможность полного исключения контакта масла с воздухом в процессе его постепенного эксплуатационного расходования (невозможность исключения присутствия воздуха во внутренней полости последовательно соединенных нескольких сосудов при их последовательном опорожнении).
Известно устройство для хранения и использования космонавтами жидких продуктов питания в космическом пространстве (в невесомости), содержащее жесткую внешнюю оболочку с дном, стенками, сливной горловиной, эластичный мешок, помещенный внутрь жесткой оболочки и соединенный с источником давления (газ, пружина) для расширения мешка и выдавливания жидкости из жесткой оболочки потребителю (Патент №1443793, В65D 1/02, 1985, прототип).
Недостатками известного устройства являются его сложность, высокая стоимость, неудобства в эксплуатации.
Кроме этого, известные устройства (например, прозрачные стеклянные и пластмассовые бутылки, которые являются основной тарой для хранения и использования в быту растительного масла) пропускают через свои стенки опасные кванты света, под воздействием которых растворенный в масле кислород диссоциирует, переходит в возбужденное состояние и очень быстро окисляет масло.
Целью предложенного изобретения является устранение этих недостатков, то есть упрощение и удешевление устройства, повышение его эксплуатационных качеств, обеспечение сохранности масла при его длительном хранении за счет исключения контакта с воздухом и предотвращения диссоциации и перехода в возбужденное состояние растворенного в масле кислорода за счет исключения действия опасного излучения.
Поставленная цель достигается тем, что в устройстве для хранения жидкого растительного масла, содержащем дно, стенки, сливную горловину с крышкой, стенки выполнены из мягкого материала или в форме сильфона и имеют возможность растягиваться и сжиматься, то есть изменять объем устройства до объема имеющегося в нем масла (прямо пропорционально его заправке и/или расходованию), а крышка герметизирует от атмосферного воздуха сливную горловину устройства, сжатого до объема залитого в него масла.
В сливной горловине устройства может быть установлен обратный клапан, препятствующий попаданию атмосферного воздуха во внутреннюю полость устройства при сливе из него масла.
Стенки устройства выполнены из непрозрачного материала, не пропускающего или экранирующего опасные кванты света (с длиной волны =1500-3080 Å и энергией h 7,075 эВ).
Совокупность существенных признаков предложенного устройства проявляет новые свойства, заключающиеся в том, что после заливки (заправки) в устройство масла и после слива из него части залитого масла (при эксплуатационном расходовании) устройство под внешним усилием принимает объем, равный объему находящегося в нем масла и не увеличивает объем воздушной подушки, а стенки устройства не пропускают возбуждающих кислород квантов света.
Таким образом, совокупность существенных признаков предложенного устройства соответствует критериям “существенные отличия” и “новизна”.
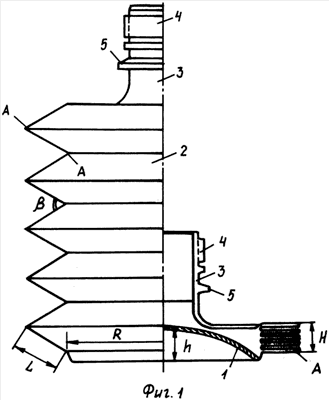
Схема предложенного устройства приведена на Фиг.1, Фиг.2, Фиг.3.
На Фиг.1 представлена схема варианта устройства для хранения масла, в котором стенки выполнены в виде сильфона, где:
1. Дно устройства.
2. Стенка устройства в форме сильфона, например, с треугольными гофрами.
3. Горловина устройства для залива и слива жидкости.
4. Место установки резьбовой крышки на горловине 3 для герметизации устройства.
5. Ребро жесткости горловины 3.
А – Место соединения стенок треугольных гофров сильфона.
R – Радиус дна (основания) устройства.
L – Ширина складывающихся и растягивающихся гофров сильфона.
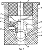
На Фиг.2 представлена схема обратного клапана, который устанавливают в горловину 3 устройства, где:
6. Корпус обратного клапана.
7. Седло обратного клапана.
8. Затвор обратного клапана (например, стеклянный или пластмассовый шарик).
9. Пружина обратного клапана (например, пластинчатая).
10. Отверстие в пластинчатой пружине 9.
11. Легко скользящий подпружиненный толкатель шарика 8.
12. Полость обратного клапана.
13. Входной канал, соединяющий полость устройства с полостью 12 обратного клапана.
14. Выходной канал, соединяющий полость 12 обратного клапана с атмосферой.
15. Неподвижный (зафиксированный) упор пластинчатой пружины 9.
16. Каналы, соединяющие полость 12 обратного клапана через канал 14 с атмосферой.
На Фиг 3 представлена схема резьбовой крышки, которую устанавливают на горловину 3 устройства, где:
17. Винтовая крышка.
18. Сливной патрубок.
19. Срезаемый наконечник патрубка 18.
20. Герметизирующий колпачок патрубка 18.
Б – Место среза наконечника 19.
При небольшой емкости конструкция устройства может быть упрощена путем выполнения его стенок плоскими из мягкого материала (вместо сильфона).
Схема устройства со стенками из мягкого материала в заявке не представлена, так как этот вариант прост для понимания и не требует подробных схем и разъяснений.
Стенки устройства выполнены из непрозрачного (мало прозрачного) материала и/или покрыты светоотражающим слоем (например, фольгой, специальной краской и др.), не пропускающим кванты света с длиной волны =1500-3080 Å и энергией h 7,075 эВ.
В качестве материала для изготовления тары могут быть использованы полиэтиленовая пленка, полиэтиленовые, полипропиленовые, полиэтилентерефталатовые (ПЭТ) бутылки.
Для придания материалу, из которого изготавливают тару, светонепроницаемости в пластиковые заготовки (преформы) добавляют требуемое количество требуемого красителя, например коричневого или зеленого.
На Фиг.1 показана схема стоящего на дне 1 предложенного устройства, стенки 2 которого выполнены в виде сильфона с треугольными гофрами, заправленного требуемым количеством масла под срез горловины 3 и закрытого (герметизированного) резьбовой крышкой по месту 4 (крышка на Фиг.1 не показана). Дно 1 устройства должно быть вогнутым на высоту h не более высоты Н сложенных гофр сильфона (как показано на Фиг.1) или иметь ребра жесткости. Без вогнутости или ребер жесткости дно 1 под действием внутреннего давления станет выпуклым, и устройство будет неустойчивым. Горловина 3 устройства должна быть жесткой, чтобы надежно герметизироваться крышкой (горловина выбрана стандартной). Для обеспечения герметичности горловина 3 может иметь ребро жесткости 5 (вместо увеличения толщины стенки горловины). Ширина L гофров сильфона должна быть меньше радиуса R устройства, чтобы они могли свободно складываться при максимальном сжатии сильфона.
В устройстве на Фиг.1, полностью заправленном маслом, стенки 2, состоящие из сильфона, растянуты (изображено на левой части Фиг.1). В этом состоянии требуемое количество масла залито в сильфон до верхнего среза горловины 3 (до крышки, установленной в месте 4). Плоские жесткие части стенки 2 (треугольные гофры сильфона) минимально согнуты в местах их соединения А между собой, раздвинуты на угол не более 170° (из прочностных и эксплуатационных условий рекомендуется оптимальная величина угла в диапазоне 40-90°). Места соединений А плоских треугольных частей (колец) сильфона могут быть выполнены толщиной меньше толщины самой стенки, чтобы сильфон растягивался и сжимался (складывался) под внешним усилием именно в этих местах А.
Угол не должен превышать 170° для того, чтобы при принудительном сжатии сильфона внешней силой (например, руками) не было складывания гофр сильфона в противоположную (внешнюю) сторону.
В полностью опорожненном состоянии устройства стенки 2 (гофры сильфона) сжаты до предела (изображено на правой части Фиг.1). В этом состоянии все залитое в устройство масло слито (выдавлено), плоские жесткие части стенок 2 (кольца сильфона) максимально согнуты в точках А, прижаты друг к другу, вогнутое дно 1 практически касается горловины 3.
Для полного исключения контакта масла с атмосферным воздухом при последовательном его использовании частями (постепенном многоразовом сливе) горловина 3 предложенного устройства может быть оснащена специальным обратным клапаном.
На Фиг.2 представлена схема устанавливаемого в горловину 3 специального обратного клапана, содержащего корпус 6 и затвор 8, например шарик (из прочностных и эксплуатационных условий рекомендуется применять стеклянный или пластмассовый шарик). Корпус 6 обратного клапана удерживается в горловине 3 крышкой 17 (Фиг.3). Полость 12 обратного клапана каналами 16 соединена через канал 14 с атмосферой. Шарик 8 прижат через свободно скользящий по стенкам полости 12 толкатель 11 к седлу 7 пружиной 9 (например, пластинчатой, как указано на Фиг.2). Пружина 9 имеет отверстие 10 для пропуска масла из устройства в канал 14 (потребителю при сжатии устройства внешним усилием для выдавливания масла). Пружина 9 поджата упором 15, зафиксированным в корпусе 6 обратного клапана и удерживаемым крышкой 17. Для поджатия шарика 8 может быть использована пружина любого типа.
Крышка 17 (Фиг.3) может быть выполнена с отверстием, к которому прикреплен сливной патрубок 18. Наконечник 19 патрубка 18 может быть выполнен срезаемым по месту Б перед началом эксплуатации устройства в быту. После срезания наконечника 19 патрубок 18 могут герметизировать колпачком 20, который прикладывают к устройству или прикрепляют к патрубку 18.
Устройство имеет объем больше объема заливаемого в него масла, чтобы при хранении иметь газовую подушку из разнасыщенного газа с давлением меньше атмосферного.
Предложенное устройство работает следующим образом.
В открытую горловину 3 устройства заливают требуемое количество масла, сжимают стенки 2 устройства до достижения уровня масла среза горловины 3 (выдавливают из устройства весь попавший в него атмосферный воздух), после чего герметизируют устройство от атмосферы резьбовой крышкой 17. В режиме складского хранения стенки устройства будут находиться в максимально растянутом состоянии и создадут газовую подушку из выделившегося из масла (разнасыщенного) воздуха.
Изменение объема залитого в тару масла во время его хранения из-за изменения температуры компенсируется автоматическим (самостоятельным) растягиванием или сжатием стенок тары: то есть автоматической компенсирующей “самоподстройкой” объема тары под изменяющийся объем масла.
Если устройство не снабжено обратным клапаном, то при эксплуатационном расходовании масла устройство разгерметизируют отвинчиванием и снятием крышки 17 (если она не оснащена сливным патрубком 18), сжимают стенки внешней силой (например, руками), выдавливают требуемое количество масла, после чего вновь герметизируют горловину 3 устройства завинчиванием крышки 17. Перед герметизацией крышкой 17 проверяют, чтобы уровень масла в устройстве был установлен на уровне горловины.
Если устройство снабжено обратным клапаном и крышкой 17 со сливным патрубком 18, то перед эксплуатацией устройства срезают наконечник 19; сжимают стенки внешней силой (например, руками), выдавливают требуемое количество масла через патрубок 18 из полости устройства, а после слива нужного количества масла снова герметизируют патрубок 18, но теперь уже колпачком 20.
Предложенное устройство после слива масла может использоваться повторно (может быть многоразового использования) как в быту, так и в заводских условиях. Для этого снимают крышку 17, в опорожненное устройство заливают нужное количество новой порции масла, выдавливают из него попавший воздух, герметизируют крышкой 17 и используют его вышеописанным образом.
Для повторного применения предложенного устройства, оснащенного обратным клапаном, обратный клапан демонтируют из горловины 3, наполняют устройство новой порцией масла, устанавливают в горловину 3 обратный клапан, герметизируют крышкой 17 и колпачком 20, после чего используют вышеописанным образом.
Применение предложенного устройства позволит без больших материальных затрат уменьшить контакт масла с окисляющим атмосферным воздухом и исключить диссоциацию и переход в возбужденное (повышенное окислительное) состояние растворенного в масле кислорода при длительном хранении масла в мелкой таре и постепенном его расходовании в быту.
Предложенное устройство может быть эффективно использовано для длительного хранения и постепенного эксплуатационного расходования любых окисляющихся и не окисляющихся промышленных, парфюмерных, медицинских, пищевых жидкостей – масел, лекарств, фруктовых соков, молока, воды, и т.п., так как исключает контакт жидкостей с атмосферным воздухом, что сохраняет их стерильность, созданную при изготовлении и при заправке жидкостей, следовательно, увеличивает срок их хранения.
Предложенное устройство может также использоваться в невесомости, то есть может заменить применяемые в космической технике более сложные и менее надежные устройства для питания космонавтов.
Формула изобретения
1. Способ хранения растительного масла, включающий исключение его контакта с атмосферным воздухом, отличающийся тем, что масло хранят в герметичной эластичной торгово-бытовой таре, внутренний объем которой равен объему находящегося в ней масла, а при частичном расходовании масла одновременно уменьшают объем тары прямо пропорционально уменьшению объема хранящегося в ней масла, при этом масло хранят при давлении ниже атмосферного, которое создают упругой силой растягивающихся стенок тары.
2. Способ по п.1, отличающийся тем, что масло предохраняют от воздействия прямых лучей естественного (солнца) и/или искусственного (электрических ламп) источника квантов света и хранят масло в таре с непрозрачной стенкой, поглощающей или экранирующей кванты света с длиной волны =1500-3080 Å.
3. Устройство для хранения растительного масла, реализующее способ по п.1, содержащее дно, стенки, сливную горловину с крышкой, характеризующееся тем, что его стенки выполнены в виде упругого сильфона и имеют возможность сжиматься и/или растягиваться внешним усилием до получения объема, равного объему имеющегося в нем масла, крышка выполнена герметизирующей от атмосферного воздуха сливную горловину сильфона, сжатого до объема масла, оснащена патрубком слива, имеющим срезаемый наконечник и герметизирующий колпачок, а в сливной горловине смонтирован обратный клапан, препятствующий попаданию атмосферного воздуха во внутреннюю полость устройства при сливе из него масла.
4. Устройство по п.3, отличающееся тем, что гофры сильфона выполнены с плоскими стенками, имеющими большую жесткость, чем места их соединения между собой.
5. Устройство по п.3, отличающееся тем, что гофры сильфона выполнены в форме треугольника с шириной стороны менее радиуса устройства и углом между сторонами в растянутом состоянии сильфона не более 170°.
6. Устройство по п.3, отличающееся тем, что сильфон выполнен в форме конуса, верхний меньший диаметр которого равен диаметру горловины устройства.
7. Устройство по п.3, отличающееся тем, что дно выполнено вогнутым на высоту не более высоты сложенных гофр сильфона или ребристым.
8. Устройство по п.3, отличающееся тем, что его стенки выполнены из материала, отражающего и/или поглощающего кванты света с длиной волны =1500-3080 Å.
РИСУНКИ
|