|
|
(21), (22) Заявка: 2006110151/11, 29.03.2006
(24) Дата начала отсчета срока действия патента:
29.03.2006
(46) Опубликовано: 10.02.2008
(56) Список документов, цитированных в отчете о поиске:
DE 4034401 А1, 30.04.1992. RU 2128609 С1, 10.04.1999. SU 1376707 А1, 09.02.1995. RU 2230282 С1, 10.06.2004.
Адрес для переписки:
190005, Санкт-Петербург, ул. 1-я Красноармейская, 1, БГТУ “ВОЕНМЕХ”
|
(72) Автор(ы):
Керножицкий Владимир Андреевич (RU), Кондратова Екатерина Сергеевна (RU), Крикалёв Сергей Константинович (RU)
(73) Патентообладатель(и):
Государственное образовательное учреждение высшего профессионального образования Балтийский государственный технический университет “ВОЕНМЕХ” им. Д.Ф. Устинова (БГТУ “ВОЕНМЕХ”) (RU)
|
(54) ЭЛЕКТРОМАГНИТНАЯ СИСТЕМА ЗАЩИТЫ КОСМИЧЕСКИХ АППАРАТОВ ОТ ОРБИТАЛЬНЫХ ОСКОЛКОВ
(57) Реферат:
Изобретение относится к системам защиты космического аппарата от орбитальных осколков. Электромагнитная система защиты от орбитальных осколков содержит, по меньшей мере, две защитные пластины из электропроводящего материала, установленные изолированно друг за другом в направлении полета орбитальных осколков и параллельно подключенные к источнику напряжения (тока), датчик контакта орбитальных осколков, установленный перед внутренней по направлению полета орбитальных осколков защитной пластиной, усилитель-формирователь. Выход датчика контакта орбитальных осколков через усилитель-формирователь соединен с запускающим входом источника напряжения, который выполнен в виде управляемого генератора импульсов напряжения. Технический результат заключается в повышении надежности и безопасности эксплуатации устройства. 7 з.п. ф-лы, 4 ил.
Заявленная электромагнитная система (ЭСЗ) относится к системам защиты различных космических аппаратов (КА) от орбитальных осколков или космического мусора, общая масса которого в окружающем Землю пространстве составляет около трех тысяч тонн. Так, специальная служба в США отслеживает местоположение более девяти тысяч осколков размером более десяти сантиметров в поперечнике (см. Известия на стр.9 от 30.04.2004 г).
Известны пассивные системы защиты КА от орбитальных осколков и метеоритов в виде защитных экранов, предложенные американским исследователем Фредом Уиплом (Fred Whipple) в 1947 г., которая впоследствии была модифицирована и представлена многоэтажными сплошными экранами. Впоследствии специалистами Международного научно-технического центра (проект № 1917) были предложены сетчатые экраны (также см. Известия на стр.9 от 30.04.2004 г).
Известны также многослойные защитные экраны, например устройство по а.с. СССР № 1376707, МКИ F41Н 5/04, состоящее из слоев защитного материала, в котором величина зазора междузащитными слоями зависит от длины длинномерного тела, пробивающего защиту. В этом устройстве при пробое первого защитного слоя движение этого длинномерного тела становится неустойчивым и оно будет встречаться с последующим защитным слоем под острым углом, что снижает его пробивную способность.
Все рассмотренные выше пассивные системы защиты имеют значительные весогабаритные характеристики, что делает их малопригодными для использования на космических аппаратах.
Существуют также динамические системы защиты, в которых поражающие элементы разрушаются, как правило, взрывом взрывчатого вещества (ВВ), заключенного между металлическими пластинами, установленными на защищаемом объекте. Наибольшее распространение подобного типа система защиты получила в области бронетанковой техники (см. журнал «Техника и вооружение» за январь 1998 г. на стр.22-23, а также заявку ФРГ № 2053345 от 11.05.1979 г., МКИ F41H 5/02, содержащую несколько подрывных зарядов, размещенных на обстреливаемой стороне броневой плиты, и аналогичные, по существу, заявки ФРГ № 2611163 от 06.11.1977 г. МКИ F41H 7/12 и Великобритании № 1421379 от 14.01.76 г. МКИ F42В 3/08).
Однако использование всех этих систем защиты для КА практически невозможно, поскольку срабатывание защитного заряда может нанести повреждение элементам конструкции КА и привести к изменению траектории последнего. Кроме того, вследствие отсутствия атмосферного давления в космическом пространстве значительно снижается эффективность устройства в целом.
Поэтому наиболее подходящей системой защиты для установки на КА является система защиты, основанная на иных физических принципах, например на основе электромагнитных методов.
Ближайшим из аналогов по технической сущности к заявленному изобретению является патент ФРГ № 4034401 МКИ 5 F41Н 5/007 от 29.10.1990 г., принятый авторами в качестве ближайшего аналога, который содержит, по меньшей мере, две защитные пластины из электропроводящего материала, нежестко установленные изолированно друг за другом на защищаемом объекте в направлении полета снаряда (осколка) и подключенные к выводам источника напряжения (конденсатора).
Данное устройство работает следующим образом. Когда снаряд либо длинномерный объект из электропроводящего материала пробивает обе пластины, он электрически замыкает подключенный к ним конденсатор, на котором накоплен электрический заряд. В результате чего конденсатор начинает разряжаться и по снаряду начинает протекать значительный ток, достигающий до 1…3 МА. Создаваемое этим током магнитное поле, возникающее вокруг снаряда, начинает взаимодействовать с магнитным полем, создаваемым контуром: внешняя защитная пластина – орбитальный осколок – внутренняя защитная пластина. Взаимодействие этих полей приводит к возникновению силы Лоренца в виде поперечной силы, воздействующей на снаряд, что приводит к его отклонению от первоначального направления и даже разрушению, а наличие угла наклона между направлением полета снаряда и поверхностью внутренней защитной пластины создает крутящий момент вокруг центра тяжести снаряда, что значительно снижает его проникающую способность.
Если размер снаряда достаточно велик, то он, пробив отверстие в пластинах и фиксируясь между ними, может быть разрушен поперечно воздействующей на него силой Лоренца.
До тех пор, пока происходит обезвреживание орбитального осколка описанным выше путем, конденсатор разряжается, но когда орбитальный осколок разрушен и перестает «закорачивать» пластины, конденсатор вновь заряжается от специального бортового генератора напряжения, специального трансформатора или батареи.
Чтобы избежать отказа устройства вследствие неразрушения орбитального осколка, застрявшего между пластинами, производится секционирование устройства, т.е. система защиты выполняется в виде небольших отдельных электрически и механически разделенных секций. Если одна из секций «закорачивается», то она может быть отключена от остальных работоспособных, после чего система вновь готова к работе, хотя при этом общая площадь защиты уменьшается.
С целью обеспечения входа поражающего элемента под углом к внутренней пластине и защищаемому объекту крепление обеих пластин осуществляется нежестко с возможностью перемещения в плоскостях их крепления.
Электромагнитная броня по патенту ФРГ № 4034401 МКИ 5 F41Н 5/007 удобна для защиты объектов бронетанковой техники и различных подвижных и стационарных объектов, однако ее использование на КА крайне затруднительно вследствие необходимости постоянного поддержания под электрическим потенциалом защитных пластин и невозможности заземления одной из них в интересах обеспечения безопасности. Это создает возможность попадания экипажа под высокое напряжение и коротких замыканий при выполнении наружных работ. Кроме того, возможность постоянного «закорачивания» пластин при их пробое орбитальными осколками вызывает необходимость выполнения системы защиты в виде ряда отдельных секций, что несомненно усложняет устройство и снижает его защитные свойства и требует применения множества специальных проводов значительной протяженности и элементов автоматики для подвода потенциала от бортового источника к пластинам секции и отключения «закороченных» секций. Следует также отметить, что для поддержания постоянного заряда на конденсаторе требуется наличие на борту источника тока со значительными весогабаритными характеристиками, что приводит к большому расходу электроэнергии и существенному утяжелению устройства, что неприемлемо для КА.
Таким образом, недостатками ближайшего аналога является недостаточно высокие надежность, экономичность и безопасность эксплуатации.
Технической задачей, вытекающей из современного уровня техники, является повышение надежности, экономичности и безопасности эксплуатации устройства.
Указанная техническая задача решается тем, что в заявленную электромагнитную систему защиты КА от орбитальных осколков, содержащую, по меньшей мере, две защитные пластины из электропроводящего материала, установленные изолированно друг за другом в направлении полета орбитальных осколков и параллельно подключенные к источнику напряжения (тока), введены датчик контакта орбитальных осколков, установленный перед внутренней по направлению полета орбитальных осколков защитной пластиной, и усилитель-формирователь, при этом выход датчика контакта орбитальных осколков через усилитель-формирователь соединен с запускающим входом источника напряжения (тока), выполненного в виде управляемого генератора импульсов напряжения (тока).
Датчик контакта орбитальных осколков может быть установлен на внешней по направлению полета орбитальных осколков защитной пластине.
В качестве управляющего импульсного генератора напряжения (тока) может быть применен один или несколько параллельно включенных взрывомагнитных генераторов.
Датчик контакта орбитальных осколков может быть выполнен в виде пьезодатчика или электроконтактного датчика, выполненного в виде нанесенных на поверхность (внутреннюю или внешнюю) внешней защитной пластины двух изолированных от этой пластины и друг от друга электропроводящих слоев (экранов), один из которых через дополнительный источник тока, а второй непосредственно подключены к запускающему входу импульсного источника напряжения (тока).
Между защитными пластинами могут быть установлены приводы, которые через упругие элементы и электроизолирующие прокладки соединяют защитные пластины или внешнюю защитную пластину с корпусом КА, используемого в качестве внутренней защитной пластины, и регулируют расстояние между ними.
В состав устройства может быть включен электронный блок управления, первый выход которого соединен с управляющими входами приводов, а второй выход соединен с запускающим входом управляемого генератора импульсов напряжения (тока), например, взрывомагнитного генератора.
Расстояние между защитными пластинами или между защитной пластиной и корпусом КА, используемого в качестве внутренней защитной пластины, устанавливают равным среднему значению максимального размера ожидаемых орбитальных осколков или непревышающим это значение.
Таким образом, благодаря новой совокупности существенных признаков решается поставленная задача и достигается технический результат, а именно повышается надежность, экономичность и безопасность эксплуатации устройства.
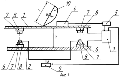
На фиг.1 представлена заявляемая система защиты КА от орбитальных осколков в момент контакта орбитального осколка с внешней по направлению его полета защитной пластиной, на фиг.2 – ее функционирование в момент замыкания защитных пластин орбитальным осколком, проникшим в зазор между ними, а на фиг.3 и 4 показаны выноски, иллюстрирующие процесс разрушения орбитального осколка и изменение его траектории в зазоре между защитными пластинами под воздействием силы Лоренца.
Представленная на фиг.1 система защиты КА от орбитальных осколков содержит, по меньшей мере, две защитные пластины 1 и 2 из электропроводящего материала, установленные изолированно друг за другом в направлении полета орбитальных осколков 10 и параллельно подключенные к импульсному источнику (генератору) напряжения (тока) 3, например к взрывомагнитному генератору (ВМГ), датчик 4 контактов орбитальных осколков, например пьезодатчик, установленный перед внутренней защитной пластиной, например, на внешней по направлению полета орбитальных осколков защитной пластине 1, перед ней или между защитными пластинами, усилитель-формирователь 5, через который выход датчика 4 контактов орбитальных осколков, установленного на наружной защитной пластине 1, соединен с запускающим входом импульсного источника напряжения (тока) 3.
Между пластинами 1 и 2 установлены приводы 6 (механические, электрические или гидравлические), которые через упругие элементы 7 и электроизолирующие прокладки 8 соединяют эти пластины. Запускающий вход импульсного генератора напряжения (тока) 3 и входы приводов 6 соединены соответственно с первым «а» и вторым «б» управляющими выходами блока управления 9.
В качестве датчика 4 контакта орбитальных осколков с защитной пластиной могут быть использованы пьезодатчики для измерения ударных волн или ускорений, возникающих в защитной пластине 1 при соударении ее с орбитальным осколком 10 (см., например, Логинов В.Н. Электрические измерения механических величин. Изд. 2-е., М: Энергия, 1979. – 104 с., на стр.71-78).
С целью повышения надежности и точности может использоваться несколько параллельно включенных датчиков 4 контакта орбитальных осколков 10, установленных в разных местах внешней защитной пластины 1 и параллельно подключенных к входу усилителя-формирователя 5.
Кроме того, датчик 4 контакта орбитальных осколков может быть выполнен в виде электроконтактного датчика, образованного нанесенными на поверхность (внутреннюю или внешнюю) внешней защитной пластины двумя изолированными от этой пластины и друг от друга электропроводящими слоями, выполненными, например, методом напыления. Один из этих слоев через дополнительный источник тока, а второй непосредственно подключен к запускающему входу импульсного источника напряжения (тока) 3, например, взрывомагнитного генератора.
Усилитель-формирователь (УФ) 5 может быть выполнен в виде обычного усилителя мощности или тока с «загрубленным» входом, выполняющим одновременно функции фильтра, когда он воспринимает лишь те электрические сигналы с выхода датчика 4 орбитальных осколков (в частности, с пьезодатчика), уровень которых соответствует случаям пробоя внешней защитной пластины 1 орбитальных осколков 10, обладающим достаточной для этого случая энергией. Этот пороговый уровень может быть установлен экспериментально либо по результатам реальной эксплуатации систем защиты КА от орбитальных осколков.
В качестве управляемого генератора 3 импульсов напряжения (тока) может быть использован взрывомагнитный генератор (ВМГ) напряжения (тока). Например, может быть использован ВМГ по патенту РФ №2044252, МКИ 6 F42В 1/00 от 20.09.1995 г., длиной 160 мм и диаметром около 70 мм. В настоящее время взрывомагнитные генераторы позволяют получать импульсы тока с амплитудой в десятки мегампер (см., например, журнал «Атом» Российского ядерного центра – ВНИИ ЭФ г.Саров за 2001 г. на с.40-43, а также труды XXX Звенигородской конференции по физике плазмы 24-28 февраля 2003 г.).
Могут также использоваться несколько параллельно включенных ВМГ, каждый из которых по мере использования предыдущего подключается к защитным пластинам 1 и 2 и датчикам 4 контактов орбитальных осколков 10 с внешней защитной пластиной с помощью блока управления 9.
В этом случае на отражение каждого орбитального осколка 10, способного пробить внешнюю защитную пластину 1, будет затрачиваться один ВМГ. Но поскольку орбитальные осколки 10 больших размеров достаточно редки, то на борту КА для обеспечения безопасности полетов достаточно иметь несколько малогабаритных взрывомагнитных генераторов.
Между защитными пластинами 1 и 2 могут быть установлены приводы (механические, электрические или гидравлические), которые через упругие элементы 7 и электроизолирующие прокладки 8 соединяют защитные пластины 1 и 2.
Расстояние между защитными пластинами 1 и 2 через блок управления 9 с помощью приводов 6 может быть установлено не более среднего значения максимального размера ожидаемых орбитальных осколков с тем, чтобы обеспечить замыкание защитных пластин при пробое их орбитальным осколком 10, а также нагрузить орбитальный осколок 10 под воздействием силы Лоренца по всей его длине.
В исходном состоянии при получении информации (на основании данных бортовой радиолокационной станции или сообщения из Центра наблюдения за космическим пространством) о наличии и возможных размерах орбитальных осколков 10, ожидаемых на орбите полета КА, экипаж КА непосредственно или Центр управления полетом дистанционно через управляющий вход «б» блока управления 9 подают напряжение на входы приводов 6, устанавливая расстояние h между защитными пластинами 1 и 2, равное среднему значению l максимального размера ожидаемых орбитальных осколков 10 или непревышающее это значение.
В дальнейшем устройство работает следующим образом. При ударе орбитального осколка 10 в наружную защитную пластину 1 и ее пробое, как это показано на фиг.1, в ней возникает ударная волна, под воздействием которой на выходе датчика 4 (пьезодатчика или электроконтактного датчика) возникает напряжение, подаваемое через усилитель-формирователь 5 на запускающий вход импульсного генератора напряжения (тока) 3 (взрывомагнитного генератора). При этом подрывается основной заряд взрывомагнитного генератора 3, в котором энергия взрыва преобразуется в электрический импульс, прикладываемый к защитным пластинам 1 и 2. Одновременно орбитальный осколок 10, встречаясь с внешней защитной пластиной 1, вследствие несимметричности удара затрачивает часть своей кинетической энергии на продольное смещение этой нежестко закрепленной защитной пластины, удерживаемой в исходном состоянии до смещения упругими элементами 7, которые поглощают часть этой энергии. При этом за счет данного смещения орбитальный осколок 10, пробивая в дальнейшем внешнюю защитную пластину 1, частично теряет устойчивость и входит в зазор между пластинами 1 и 2, встречаясь с внутренней защитной пластиной 2 под углом смещения , что снижает проникающую способность орбитального осколка 10. Как только орбитальный осколок 10 коснется внутренней защитной пластины 2, сохраняя электрический контакт с ранее пробитой им внешней защитной пластиной 1, как это показано на фиг.2, в обозначениях фиг.1, то образуется электрическая цепь: внешняя защитная пластина 1 – орбитальный осколок 10 – внутренняя защитная пластина 2, которая запитывается электрическим импульсом, создаваемым импульсным генератором 3. Сила тока i в этой цепи при использовании ВМГ может достигать нескольких мегаампер, что приводит к возникновению значительной силы Лоренца F, воздействующей на орбитальный осколок 10 в поперечном направлении, который в момент проникновения во внутреннюю защитную пластину 2 своими концами оказывается зафиксирован между защитными пластинами 1 и 2. Возникающая при этом схема нагружения является самой выгодной с точки зрения разрушения орбитального осколка 10, поскольку в этом случае орбитальный осколок на большей части своей длины l оказывается нагруженным, а воздействующие на него перерезывающая сила Лоренца F и изгибающий момент близки к максимальным (см. фиг.2 и 3).
Под воздействием перерезывающей силы Лоренца F орбитальный осколок 10 может быть разрушен, как это показано на сноске на фиг.3, или же под воздействием изгибающего момента он может быть вырван из пробоины во внешней защитной пластине 1 и образованного им углубления во внутренней защитной пластине 2 и ему может быть придано вращательное движение с угловой скоростью в зазоре между защитными пластинами 1 и 2 (см. фиг.3), что также обеспечивается выбором расстояния h между ними, равного средней величине l максимального размера ожидаемых орбитальных осколков 10. Кроме того, вырванный из пластин 1 и 2 орбитальный осколок может быть закручен с угловой скоростью в зазоре между пластинами 1 и 2, что значительно снижает пробивную способность осколка.
Когда орбитальный осколок встречается с внешней защитной пластиной под малым углом или если средняя величина l максимального размера орбитального осколка 10 окажется меньше расстояния h между защитными пластинами 1 и 2, установленными с помощью приводов 6, то он, проникнув в зазор между пластинами 1 и 2, не сможет вызвать их замыкание. Но и в этом случае орбитальный осколок 10 при движении под углом в однородном электромагнитном поле в зазоре между защитными пластинами 1 и 2 также будет подвергаться воздействию силы Лоренца, которая будет играть роль центростремительной силы, закручивающей орбитальный осколок 10, погашая тем самым его проникающую способность (см. фиг.4).
Если же орбитальный осколок 10 не будет разрушен и застрянет в зазоре между защитными пластинами 1 и 2, то вызванное ими постоянное замыкание защитных пластин 1 и 2 не приведет к отказу устройства ввиду кратковременности действия импульса, вырабатываемого импульсным генератором 3, по сигналу датчика 4 контакта орбитальных осколков 10 с поверхностью внешней защитной пластины 1. В этом состоянии устройство остается до очередного столкновения орбитального осколка 10 с внешней защитной пластиной 1 или до подачи импульса с выхода импульсного генератора 3 по команде с выхода «а» блока управления 9.
Поэтому при попадании очередного орбитального осколка 10 во внешнюю пластину 1 датчик 4 контакта космических осколков 10 вновь подает сигнал на запускающий вход импульсного источника тока 3, который вырабатывает импульс напряжения (тока), подводимый к защитным пластинам 1 и 2 через усилитель-формирователь 5. В дальнейшем весь описанный выше цикл работы устройства вновь повторяется. Отличие заключается лишь в том, что обе защитные пластины 1 и 2 оказываются «закороченными» как ранее застрявшим между защитными пластинами 1 и 2 орбитальным осколком 10, так и новым орбитальным осколком, пробившим внешнюю защитную пластину 1 и повторно «закоротившим» обе защитные пластины 1 и 2. В этом случае электрический ток i, обусловленный электрически импульсом от импульсного источника 3, будет протекать по двум параллельным цепям образованными ранее застрявшим между защитными пластинами 1 и 2 орбитальным осколком 10 и новым осколком. Наличие параллельных цепей с примерно одинаковым омическим сопротивлением приводит к тому, что ток (мощность) электрического импульса, вырабатываемого импульсным источником тока 3, распределяется примерно поровну между двумя застрявшими осколками. Однако в случае применения взрывомагнитных генераторов напряжения (тока) мощность импульса может достигать нескольких мегаватт, что вполне достаточно для разрушения одновременно двух орбитальных осколков, параллельно замыкающих защитные пластины 1 и 2. Но поскольку взрывомагнитный генератор 4 является устройством одноразового действия, то импульсный генератор 3 тока для обеспечения многоразового действия устройства выполняется в виде блока последовательно включаемых взрывомагнитных генераторов. Таким образом, в заявленном устройстве обеспечивается автоматизированное восстановление первоначальных защитных свойств устройства.
Все сказанное выше объясняет возможность использования защитных пластин 1 и 2 целиком, не прибегая к разделению их на отдельные секции, что повышает защитные свойства устройства, исключая возможность проникновения орбитального осколка 10 между секциями или через отключенную секцию, упрощает конструкцию устройства и повышает его надежность.
Кроме того, разрушение застрявшего между пластинами 1 и 2 орбитального осколка 10, «закорачивающего» эти пластины, может быть произведено автономно до попадания во внешнюю защитную пластину 1 следующего орбитального осколка. В этом случае с управляющего выхода «а» блока управления 9 напряжение подается на запускающий вход импульсного генератора 3, минуя датчик 4 орбитальных осколков 10. При этом импульс тока i с генератора импульсов 3 подводится к защитным пластинам 1 и 2, вследствие чего через орбитальный осколок 10 «закорачивающий» эти пластины начинает протекать ток i, под действием которого, как это описано выше, возникает сила F Лоренца, разрушающая орбитальный осколок 10, как это показано на сноске на фиг.3, или придающая ему вращательное движение со скоростью , как это показано на сноске на фиг.4. Придание вращательного движения застрявшему между защитными пластинами 1 и 2 орбитальному осколку 10 приводит к его освобождению, как это показано на фиг.4. При необходимости указанная выше процедура ликвидации «закорачивания» и восстановления защитных свойств устройства может быть неоднократно повторена.
Таким образом, установка датчика 4 контактов орбитальных осколков 10 на внешней защитной пластине 1 и выполнение источника 4 напряжения в виде импульсного генератора напряжения (тока) 3, запускающий вход которого через усилитель-формирователь 5 соединен с выходом датчика 4 орбитальных осколков 10, обеспечивает подачу напряжения (тока) к защитным пластинам 1 и 2 не постоянно, а по команде датчика 4 орбитальных осколков 10 лишь на очень короткий промежуток времени, равный длительности импульса, синхронно вырабатываемого импульсным источником напряжения (тока) 3 при прохождении орбитальным осколком 10 зазора между защитными пластинами 1 и 2. Тем самым исключается постоянное нахождение под напряжением элементов конструкции системы защиты КА в том числе и в случае «закорачивания» защитных пластин 1 и 2, что повышает надежность устройства, обеспечивает безопасность его эксплуатации и КА в целом, а также приводит к экономии электроэнергии на борту КА.
С другой стороны, применение приводов 6, которые через упругие элементы 7 и электроизолирующие прокладки 8 соединяют защитные пластины 1 и 2 и устанавливают расстояние h между ними на величину, не превышающую среднее значение l максимального размера ожидаемых орбитальных осколков 10, позволяет максимально нагрузить орбитальный осколок 10 возникшей силой Лоренца, когда орбитальный осколок 10 пробьет внешнюю защитную пластинку 1 и окажется зафиксированным между обеими защитными пластинами 1 и 2. Наличие данного привода позволяет также механически ликвидировать «замыкание» обеих защитных пластин 1 и 2 орбитальными осколками 10, застрявшими в зазоре между этими пластинами.
В этом случае путем подачи управляющего напряжения с выхода «б» блока управления 9 на вход приводов 6 добиваются увеличения расстояния между защитными пластинами 1 и 2, при котором обеспечивается высвобождение застрявших между этими пластинами орбитальных осколков 10.
Это достигается тем, что напряжение (ток) на защитные пластины 1 и 2 подается не постоянно, а только в моменты соударения орбитальных осколков 10 с внешней по направлению их полета защитной пластиной 1 в виде кратковременных импульсов, вырабатываемых управляемым генератором 3 напряжения (тока). Момент и факт соударения каждого орбитального осколка 10 с внешней защитной 1 пластиной фиксируется датчиком 4 орбитальных осколков, сигнал с выхода которого через УФ 5 подается на запускающий вход управляемого генератора 3 импульсов напряжения (тока), выходы которого подключены к защитным пластинам 1 и 2. Поэтому орбитальный осколок 10, пробивший внешнюю защитную пластину 1 и соприкоснувшийся с внутренней защитной пластиной 2, закорачивает эти пластины в момент подачи на них напряжения с выхода управляемого генератора 3 импульсов напряжения (тока). При этом через орбитальный осколок 10 начинает протекать ток i, обусловливающий возникновение силы Лоренца, поперечно приложенной к данному орбитальному осколку 10 и под действием которой происходит разрушение орбитального осколка 10, застрявшего между защитными пластинами 1 и 2. Если этого разрушения не произойдет, то застрявший орбитальный осколок 10 вследствие кратковременности импульса напряжения (тока), приложенного к защитным пластинам 1 и 2, не приведет к постоянному «закорачиванию» защитных пластин 1 и 2, а следовательно, к отказу и разрушению устройства. Все это приводит к повышению такой важнейшей составляющей надежности как безотказность. Кроме того, введенный в состав устройства электронный блок управления 9 позволяет разрушить или удалить орбитальный осколок 10, застрявший между защитными пластинами 1 и 2, путем включения управляемого генератора импульсов 3 напряжения (тока), подающего импульс напряжения (тока) к защитным пластинам 1 и 2. При этом ранее застрявший между этими пластинами и неразрушенный орбитальный осколок 10 вновь может неоднократно подвергаться дополнительному разрушающему воздействию, что повышает такую важную составляющую надежности как ремонтопригодность. Надежность устройства также может быть повышена регулировкой величины зазора h между защитными пластинами с помощью приводов 6 путем подачи на них управляющих сигналов с электронного блока управления 9. Величина h этого зазора устанавливается не выше среднего значения l максимального размера ожидаемого орбитального осколка 10. В этом случае закорачивающий защитные пластины орбитальный осколок 10 практически по всей своей длине подвергается разрушающим воздействиям, обусловленным возникающей силой Лоренца, что увеличивает вероятность разрушения орбитальных осколков 10, а следовательно повышает надежность устройства.
Таким образом, указанное повышение надежности приводит к тому, что отпадает необходимость секционирования защитных пластин 1 и 2, при котором каждая секция при постоянном «закорачивании» ее защитных пластин 1 и 2 застрявшим между ними орбитальным осколком 10 отключается, а защитная поверхность КА сокращается.
Благодаря тому, что высокое напряжение на защитные пластины 1 и 2 подается кратковременно и только в моменты соударения орбитальных осколков 10 с внешней защитной пластиной 1, сокращается расход электроэнергии, ранее затрачиваемой на постоянное поддержание высокого напряжения на защитных пластинах 1 и 2.
Благодаря заявленной совокупности отличительных признаков получен технических результат, а именно повышена надежность, экономичность и безопасность функционирования устройства.
В целом полученный технический результат обеспечивает более высокий уровень безопасности космический полетов и снижает уровень потерь, обусловленных возможными повреждениями КА орбитальными осколками, сокращением времени активного существования КА, срывами сроков выполнения различных космических программ.
Формула изобретения
1. Электромагнитная система защиты от орбитальных осколков, содержащая, по меньшей мере, две защитные пластины из электропроводящего материала, установленные изолированно друг за другом в направлении полета орбитальных осколков и параллельно подключенные к источнику напряжения (тока), отличающаяся тем, что в ее состав введен датчик контакта орбитальных осколков, установленный перед внутренней по направлению полета орбитальных осколков защитной пластиной, и усилитель-формирователь, при этом выход датчика контакта орбитальных осколков через усилитель-формирователь соединен с запускающим входом источника напряжения (тока), выполненного в виде управляемого генератора импульсов напряжения (тока).
2. Устройство по п.1, отличающееся тем, что датчик контакта орбитальных осколков установлен на внешней по направлению полета орбитальных осколков защитной пластине, или перед ней, или между защитными пластинами.
3. Устройство по п.1, отличающееся тем, что в качестве управляемого генератора напряжения (тока) применен один или несколько параллельно включенных взрывомагнитных генераторов.
4. Устройство по п.1, отличающееся тем, что датчик контакта орбитальных осколков с внешней защитной пластиной выполнен в виде пьезодатчика.
5. Устройство по п.1, отличающееся тем, что датчик контакта орбитальных осколков с внешней защитной пластиной выполнен в виде нанесенных на поверхность (внутреннюю или внешнюю) внешней защитной пластины двух изолированных от этой пластины и друг от друга электропроводящих слоев, один из которых через дополнительный источник тока, а второй непосредственно подключены к запускающему входу импульсного источника напряжения (тока).
6. Устройство по п.1, отличающееся тем, что между защитными пластинами установлены приводы, которые через упругие элементы и электроизолирующие прокладки соединяют защитные пластины или внешнюю защитную пластину с корпусом КА, используемого в качестве внутренней защитной пластины, и регулируют расстояние между ними.
7. Устройство по п.1, отличающееся тем, что в его состав введен электронный блок управления, первый выход которого соединен с управляющими входами приводов, а второй выход соединен с запускающим входом управляемого генератора импульсов напряжения (тока), например взрывомагнитного генератора.
8. Устройство по п.1, отличающееся тем, что с помощью приводов расстояние между защитными пластинами устанавливают равным среднему значению максимального размера ожидаемых орбитальных осколков или не превышающим это значение.
РИСУНКИ
|
|