|
|
(21), (22) Заявка: 2006114492/11, 27.04.2006
(24) Дата начала отсчета срока действия патента:
27.04.2006
(46) Опубликовано: 10.02.2008
(56) Список документов, цитированных в отчете о поиске:
WO 90/14269 А1, 29.11.1990. RU 2194652 С2, 20.10.2002. SU 1711665 A3, 07.02.1992. ЕР 0649787 А, 26.04.1995.
Адрес для переписки:
394064, г.Воронеж-64, ул. Старых Большевиков, 54а, ГОУ ВПО Воронежское ВВАИУ, научно-исследовательский отдел
|
(72) Автор(ы):
Великанов Алексей Викторович (RU), Лазарев Сергей Викторович (RU), Нилов Владимир Александрович (RU), Пожидаев Сергей Евгеньевич (RU), Гуков Кирилл Петрович (RU), Носов Евгений Викторович (RU)
(73) Патентообладатель(и):
Государственное образовательное учреждение высшего профессионального образования Воронежское высшее военное авиационное инженерное училище (военный институт) (RU)
|
(54) УСТРОЙСТВО ДЛЯ ЭВАКУАЦИИ САМОЛЕТОВ
(57) Реферат:
Изобретение относится к области наземного обслуживания воздушных судов, в частности к устройствам их транспортировки. Устройство для эвакуации самолетов содержит тягач с закрепленной с ним тележкой, выполненной в виде рамы. Несущая рама имеет закрепленную на себе подвижную рамку с вилкообразным захватом, взаимодействующим с передней стойкой шасси самолета. Тележка снабжена гидравлическим силовым цилиндром для подъема и опускания подвижной рамки. Силовой цилиндр размещен между упорами на несущей раме тележки и подвижной рамки. Устройство снабжено подвижной втулкой, смонтированной на указанном гидравлическом силовом цилиндре с возможностью ее фиксации металлическим пальцем при достижении штоком гидравлического силового цилиндра упорной поверхности подвижной втулки. Изобретение позволяет буксировать самолет с вышедшим из строя пневматиком и при отсутствии колес передней стойки самолета обеспечивает повышение тягово-сцепных качеств тягача за счет частичной догрузки ведущих колес тягача, а также при установке вместо колес на тележку пневмокатков данное устройство позволяет буксировать самолет по поверхности малосвязанного грунта, имеющего большой коэффициент сопротивления качению. 4 ил.
Изобретение относится к области наземного обслуживания воздушных судов, в частности к устройствам их транспортировки.
Известно устройство для транспортировки и маневрирования самолета, содержащее транспортное средство, на раме которого установлена грузовая платформа с откидной рампой, механизмом подъема рампы в виде силового цилиндра с рычагом, соединенным с рампой, и механизмами фиксации носовых колес шасси самолета на грузовой платформе в виде прижимных рычагов с приводом от силового цилиндра [1].
Рассмотренное выше устройство имеет довольно сложную конструкцию, большие габариты и вес в связи с тем, что вес самолета, приходящийся на переднюю стойку, полностью воспринимается тягачом, что влечет за собой усложнение конструкции, повышение материальных затрат на его изготовление и эксплуатацию.
Известно также транспортировочное устройство для зажима колес шасси самолета [2], используемое для буксировки самолетов. Оно состоит из рамы, имеющей опорные колеса, и двух пар роликов, которые сжимаются специальными механизмами. Устройство позволяет осуществлять вращение колес при помощи роликов.
Однако это устройство недостаточно эффективно при транспортировке самолета из-за низких тяговых качеств тягача, осуществляющего перемещение транспортировочного устройства, так как оно не позволяет догружать тягач весом самолета, приходящимся на его переднюю стойку, и из-за невозможности буксировки самолетов с поврежденными пневматиками передней стойки.
Наиболее близким к заявляемому устройству является транспортировочное устройство [3] для буксировки и маневрирования летательных аппаратов. Транспортировочное устройство имеет захват колес одноосного шасси самолета, используемый для буксировки самолета. Оно содержит два ролика, прижимаемых к колесу самолета. Ролики приводятся в движение электродвигателями. Для свободного перемещения устройства в нем имеются колеса.
Рассмотренное выше устройство не обеспечивает возможность буксировки самолета по грунтовым поверхностям полевых аэродромов в связи с тем, что устройство имеет малые колеса, оказывающие большое удельное давление на грунт (колеса будут зарываться). Оно предполагает буксировку самолета только за счет двигателей самого устройства и не позволяет эффективно использовать его при низких значениях коэффициента сцепления колес с поверхностью, так как вес, приходящийся на переднюю стойку, составляет 10-12% от всего веса самолета. Также очень сильно усложняется буксировка по влажной опорной поверхности из-за низкого коэффициента сцепления роликов по отношению к колесам самолета, а также рассмотренное выше устройство имеет сложную конструкцию и высокую стоимость.
Техническим результатом, который достигается предлагаемым устройством, является поднятие передней стойки самолета над опорной поверхностью, что позволяет буксировать самолет с вышедшим из строя пневматиком или даже при отсутствии колес передней стойки самолета, повышение тягово-сцепных качеств тягача за счет частичной догрузки его ведущих колес весом, приходящимся на переднюю стойку самолета, а также при установлении вместо колес на тележку пневмокатков (большего диаметра и/или ширины), количество которых может быть увеличено, обеспечивается большая площадь пятна контакта, следовательно, снижается удельное давление на опорную поверхность, что позволяет буксировать самолет по поверхности малосвязанного грунта, имеющего большой коэффициент сопротивления качению.
Предлагаемое устройство для эвакуации самолета содержит тягач, тележку, оборудованную колесами, количество которых может изменяться в зависимости от состояния опорной поверхности и веса буксируемого самолета, изготовленную в виде несущей рамы и подвижной рамки, оборудованной вилкообразным захватом, взаимодействующим с передней стойкой шасси самолета, гидроцилиндр, гидравлическую систему тягача, позволяющую поднимать переднюю стойку шасси самолета над опорной поверхностью.
Общим признаком прототипа и заявляемого устройства является тележка, выполненная в виде несущей рамы, которая сцеплена с тягачом.
Отличительными признаками являются использование подвижной рамки с гидроцилиндром, позволяющей поднимать и опускать переднюю стойку самолета над опорной поверхностью, а также то, что фиксация производится непосредственно за переднюю стойку самолета и посредине тележки вилкообразным захватом, гидроцилиндр выполнен с подвижной втулкой, смонтированной на указанном гидравлическом силовом цилиндре с возможностью ее фиксации металлическим пальцем при достижении штоком гидравлического силового цилиндра упорной поверхности подвижной втулки.
Данное устройство позволяет буксировать самолет с поврежденным пневматиком и при отсутствии колес на передней стойке самолета, одновременно обеспечивать частичную догрузку ведущих колес тягача, улучшая его тягово-сцепные качества, а при установке на нем пневмокатков с малым удельным давлением на опорную поверхность и буксировку по малосвязанному грунту на полевых аэродромах, имеющему большой коэффициент сопротивления качению, а также буксировку самолетов с большим взлетным весом.
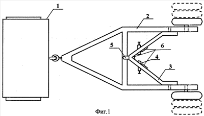
Заявляемое устройство изображено на фиг.1 – вид сверху; на фиг.2 – вид сбоку; на фиг.3 – принципиальная гидравлическая схема данного буксировочного устройства; на фиг.4 – силовой гидроцилиндр с подвижной втулкой
На фиг.1 и 2 изображено устройство для буксировки самолетов, включающее следующие элементы: тягач 1, несущая рама 2, подвижная рамка 3 с оборудованным на ней вилкообразным захватом 4, взаимодействующим с передней стойкой самолета 7, гидроцилиндр 5, демпферные резиновые подушки 6, сглаживающие возможные удары тележки о переднюю стойку самолета.
На фиг.3 изображена принципиальная гидравлическая схема устройства для буксировки самолетов, включающая следующие элементы: гидравлический силовой цилиндр 5, фильтры 16, манометры 12, 13, трехпозиционный электромагнитный клапан 15, гидравлический бак 14, гидравлический насос 10, перепускной клапан 17, обратный клапан 11.
На фиг.4 изображен силовой гидроцилиндр 5 с подвижной втулкой 9, которая фиксируется металлическим пальцем 8 и обеспечивает более удобный захват.
Устройство для эвакуации самолетов содержит тягач 1, на задней части рамы которого закреплена тележка, выполненная в виде несущей рамы 2 и подвижной рамки 3, имеющей вилкообразный захват 4 и движимой силовым гидроцилиндром 5 за счет давления, создаваемого гидравлическим насосом 10, который в свою очередь запитывается гидравлической жидкостью из бака 14 через фильтры 16.
Устройство работает следующим образом. Перед буксировкой тягач подъезжает к самолету так, чтобы передняя стойка самолета 7 оказалась возле вилкообразного захвата 4, находящегося на подвижной рамке 3, которая в свою очередь соединена с несущей рамой 2. Для предотвращения жестких ударов на подвижной рамке 3 размещены демпферные резиновые подушки 6. После того, как передняя стойка самолета окажется в нужном месте и будет произведен захват стойки, приводится в движение гидравлический насос 10, подающий под высоким давлением, величина которого определяется по манометру 13, гидравлическую жидкость из бака 14 к трехпозиционному электромагнитному клапану 15, с помощью которого производится управление гидравлическим силовым цилиндром при подъеме и опускании подвижной рамки 3. Регулировка догружающего усилия производится при помощи регулятора давления 17, выполняющего также функцию перепускного клапана. Контроль за величиной догружающего усилия осуществляется по манометру 12, тем самым достигаются подъем передней стойки воздушного судна и догрузка ведущих колес тягача, улучшая его тягово-сцепные качества. Для упрощения захвата передней стойки самолета на гидроцилиндре 5 смонтирована подвижная втулка 8, которая фиксируется металлическим пальцем 9, при достижении штока гидроцилиндра упорной поверхности втулки.
Изготовление устройства для буксировки самолетов производится из узлов и агрегатов, серийно выпускаемых промышленностью. В качестве захватного устройства используется передняя съемная часть от стандартного унифицированного водила, силовой цилиндр – серийно выпускаемый с диаметром поршня от 100 мм и выше и рабочим давлением 100-150 кГс/см2. Сборка осуществляется при помощи электродуговой сварки.
Источники информации
1. Патент ФРГ № 28124334, МКИ B64F 1/22, опубл. 1978 г.
2. Международная заявка № 90/02080, PCT(WO), МКИ4 В64F 1/22, 1990 г.
3. Международная заявка № 90/14269, PCT(WO), МКИ5 B64F 1/22, 1991 г.
Формула изобретения
Устройство для эвакуации самолетов, содержащее тягач с закрепленной с ним тележкой, выполненной в виде рамы, отличающееся тем, что несущая рама имеет закрепленную на себе подвижную рамку с вилкообразным захватом, взаимодействующим с передней стойкой шасси самолета, при этом тележка снабжена гидравлическим силовым цилиндром для подъема и опускания подвижной рамки, размещенным между упорами на несущей раме тележки и подвижной рамки, и подвижной втулкой, смонтированной на указанном гидравлическом силовом цилиндре с возможностью ее фиксации металлическим пальцем при достижении штоком гидравлического силового цилиндра упорной поверхности подвижной втулки.
РИСУНКИ
MM4A – Досрочное прекращение действия патента СССР или патента Российской Федерации на изобретение из-за неуплаты в установленный срок пошлины за поддержание патента в силе
Дата прекращения действия патента: 28.04.2008
Извещение опубликовано: 20.05.2010 БИ: 14/2010
|
|