|
|
(21), (22) Заявка: 2006121771/11, 19.06.2006
(24) Дата начала отсчета срока действия патента:
19.06.2006
(46) Опубликовано: 10.02.2008
(56) Список документов, цитированных в отчете о поиске:
RU 2205769 С2, 20.06.2001. RU 2133208 С1, 20.07.1999. US 2614518 А, 21.10.1952. US 4051797 A, 04.10.1977.
Адрес для переписки:
199106, Санкт-Петербург, В.О., 21 линия, 2, СПГГИ(ТУ), патентный отдел
|
(72) Автор(ы):
Тарасов Юрий Дмитриевич (RU)
(73) Патентообладатель(и):
Государственное образовательное учреждение высшего профессионального образования “Санкт-Петербургский государственный горный институт имени Г.В. Плеханова (технический университет)” (RU)
|
(54) СПОСОБ ПОДЪЕМА ЗАТОНУВШЕГО ОБЪЕКТА И УСТРОЙСТВО ДЛЯ ЕГО ОСУЩЕСТВЛЕНИЯ
(57) Реферат:
Способ подъема затонувшего объекта заключается в опускании с базового судна заполняемых водой понтонов, которые после прикрепления к затонувшему объекту продувают сжатым воздухом и поднимают вместе с затонувшим объектом к базовому судну. Все понтоны объединяют в обойму, а внутри корпуса каждого понтона формируют полости между жесткими герметизированными друг от друга оболочками, соединенными между собой жесткими перемычками. При опускании понтонов в каждой полости между смежными оболочками создают водяными насосами, которыми снабжено устройство для реализации данного способа, давление воды, которое увеличивают, начиная от нулевого значения на поверхности водоема, при погружении понтонов и уменьшают давление при их подъеме. Количество оболочек внутри корпуса понтона принимают равным n-1, где n – отношение глубины Н водоема (м) к глубине h (м), соответствующей предельному давлению, на которое рассчитан корпус и оболочки понтона. Такое выполнение способа и реализующего его устройства позволяет осуществлять подъем затонувшего объекта с больших глубин, в несколько раз превышающих существующую предельную глубину, при использовании освоенных промышленностью материалов и технологий изготовления судоподъемного оборудования. 2 н. и 2 з.п. ф-лы, 3 ил.
Изобретение относится к области проведения работ по подъему затонувших объектов и может быть использовано для подъема судов и выполнения на дне водоемов монтажных, демонтажных и транспортных операций, связанных с разработкой шельфовых месторождений полезных ископаемых.
Известен способ подъема затонувшего объекта, заключающийся в опускании с базового судна к затонувшему объекту периодически наращиваемой штанги, захвате затонувшего объекта и его подъеме с удалением верхних секций штанги, и устройство для осуществления способа, содержащее базовое судно – катамаран со штангой, выполненной из связанных между собой посредством разъемных замков секций с нулевой плавучестью, связанную со штангой траверсу, выполненную с грузозахватным приспособлением, а также установленные на базовом судне подъемный механизм и механизм фиксации для упомянутой штанги (А.с. СССР №885101, кл. В63С 7/02, 1977).
Недостатком известного способа и реализующего его устройства являются достаточно большие нагрузки, испытываемые приводом подъемного механизма, что ограничивает область применения устройства подъемом затонувших объектов небольшого веса с относительно небольших глубин.
Известен способ подъема затонувшего объекта, реализуемый в виде судоподъемного устройства (прототип), в соответствии с которым подъем осуществляют путем опускания с базового судна заполняемых водой понтонов с корпусами цилиндрической формы, снабженных патрубками с запорными приспособлениями для подачи воды и воздуха, которые после прикрепления к затонувшему объекту продувают сжатым воздухом и поднимают вместе с затонувшим объектом (Большая советская энциклопедия. М., изд. «Советская энциклопедия», с.52 (143), 1975 г.).
Однако недостатком известного способа и реализующего его устройства является возможность погружения понтонов лишь на относительно небольшую глубину, определяемую прочностью корпуса понтона, что ограничивает возможности использования способа и устройства.
Техническим результатом изобретения является обеспечение возможности подъема затонувшего объекта с больших глубин, в несколько раз превышающих предельную глубину, ограниченную прочностью корпусов понтонов при использовании известного способа и реализующего его устройства.
Технический результат достигается тем, что в способе подъема затонувшего объекта, заключающегося в опускании с базового судна заполняемых водой понтонов, которые после прикрепления к затонувшему объекту продувают сжатым воздухом и поднимают вместе с затонувшим объектом к базовому судну, согласно изобретению все понтоны объединяют в обойму, внутри корпуса каждого понтона формируют полости между жесткими герметизированными друг от друга оболочками, а при опускании понтонов в каждой полости между смежными оболочками создают давление воды, которое увеличивают, начиная от нулевого значения на поверхности водоема, при погружении понтонов и уменьшают давление при их подъеме, при этом давление в полостях между оболочками при погружении понтонов на полную глубину определяют из соотношений
pi=ip, i [1, (n-1)], n=H/h, h=p/(g ),
где рi – давление (Па) воды в i-ой полости понтона, считая от внутренней оболочки, n – отношение глубины Н водоема (м) к глубине h (м), соответствующей предельному давлению р (Па), на которое рассчитан корпус и оболочки понтона, g – ускорение свободного падения, м/с2, – плотность воды, кг/м3.
Давление воды в полостях между оболочками понтонов могут повышать и понижать непрерывно в течение всего цикла опускания и подъема понтонов. Давление воды в полостях между оболочками понтонов могут повышать и понижать ступенчато при опускании и подъеме понтонов. В устройстве для подъема затонувшего объекта, содержащем базовое судно, спускаемые с базового судна заполняемые водой и продуваемые сжатым воздухом понтоны цилиндрической формы, снабженные патрубками с запорными приспособлениями для подачи воды и воздуха, согласно изобретению каждый понтон снабжен герметизированными оболочками цилиндрической формы, размещенными внутри его корпуса с зазорами между собой по всем их поверхностям с образованием замкнутых полостей, оболочки соединены между собой жестким перемычками, каждая полость между оболочками патрубком связана с водяным насосом с возможностью регулирования давления, а количество оболочек внутри корпуса понтона принимают равным n-1.
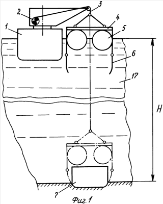
Устройство для подъема затонувшего объекта представлено на фиг.1 – вид сбоку, на фиг.2 – продольный разрез по понтону, на фиг.3 – вид А по фиг.2.
Устройство для подъема затонувшего объекта содержит (фиг.1) размещенный на базовом судне 1 подъемный механизм 2, который гибким элементом 3 кинематически связан с объединенными в обойму 4 понтонами 5. Нижняя часть обоймы 4 снабжена грузозахватными приспособлениями 6 с возможностью их взаимодействия с затонувшим объектом 7. Каждый понтон 5 снабжен (фиг.2, 3) герметизированными оболочками 8 цилиндрической формы, размещенными внутри его корпуса 9 с зазорами между собой по всем их поверхностям, образующими замкнутые полости 10. Оболочки 8 соединены между собой жесткими перемычками 11. Каждая полость 10 между оболочками 8 патрубком 12 с запорным приспособлением связана с водяным насосом (не показаны) с возможностью создания в этой полости давления разной величины. При этом количество оболочек 8 внутри корпуса 9 понтона принимают равным n-1. Центральная часть 13 каждого понтона 5, объем которой определяется положением внутренней оболочки 8, снабжена патрубком 14 с запорным приспособлением 15, связанным с источником сжатого воздуха (не показаны), и приспособлением 16 для заполнения центральной части 13 понтона водой. 17 – водоем. Устройство может быть оборудовано приспособлениями (не показаны), стабилизирующими положение обоймы 4 с понтонами 5 в пространстве, и локационными приспособлениями (не показаны).
Устройство для подъема затонувшего объекта действует следующим образом. После размещения базового судна 1 над затонувшим объектом 7 центральные части 13 и полости 10 понтонов 5 через приспособление 16 и патрубки 12 заполняют водой, а затем с помощью подъемного механизма 2 и гибкого элемента 3 опускают в водоем 17 к затонувшему объекту 7. При этом в процессе погружения обоймы 4 с понтонами 5 в полостях 10 постепенно или ступенчато повышают давление, начиная от нулевого значения на поверхности водоема 17. К моменту достижения обоймой 4 с понтонами 5 затонувшего объекта давление в полостях 10 между оболочками 8 понтонов 5 доводят до значений, определяемых из соотношений
pi=ip, i [1, (n-1)], n=H/h, h=p/(g ),
где рi – давление (Па) воды в i-ой полости понтона, считая от внутренней оболочки, n – отношение глубины Н водоема (м) к глубине h (м), соответствующей предельному давлению р (Па), на которое рассчитан корпус и оболочки понтона, g – ускорение свободного падения, м/с2, – плотность воды, кг/м3.
После соединения грузозахватных приспособлений 6 с затонувшим объектом 7 центральные части 13 понтонов 5 через патрубок 14 продувают сжатым воздухом с вытеснением находящейся там воды, после чего закрывают запорное приспособление 15. В процессе подъема затонувшего объекта 7, соединенного с понтонами 5, в полостях 10 между оболочками 8 начинают понижать давление воды, доводя его до нулевого значения в тот момент, когда понтоны 5 с затонувшим объектом будут подняты на поверхность водоема 17. Одновременно при подъеме понтонов 5 выбирают образующуюся при их подъеме слабину гибкого элемента 3, который наматывают на барабан лебедки подъемного механизма 2.
За счет постоянного (непрерывного) или ступенчатого, через каждые h метров глубины водоема 17, изменения давления воды в смежных полостях 10 между оболочками 8 при опускании и подъеме понтонов 5 давление на корпус 9 и на расположенные внутри него оболочки 8 не превышает допустимого, значение которого определено из условия обеспечения их прочности, независимо от глубины Н водоема 17, поскольку количество оболочек 8 соответствует глубине Н водоема. Зазоры, формирующие внутренние полости 10 между оболочками 8, невелики (их размеры определяются возможностью поступления воды по всему периметру каждой оболочки 8), поэтому полезные объемы понтонов 5 незначительно отличаются от объемов, занимаемых их корпусами 9.
Отличительные признаки изобретения позволяют осуществлять подъем затонувшего объекта с больших глубин, в несколько раз превышающих существующую предельную глубину, при использовании освоенных промышленностью материалов и технологий изготовления судоподъемного оборудования.
Формула изобретения
1. Способ подъема затонувшего объекта, заключающийся в опускании с базового судна заполняемых водой понтонов, которые после прикрепления к затонувшему объекту продувают сжатым воздухом и поднимают вместе с затонувшим объектом к базовому судну, отличающийся тем, что все понтоны объединяют в обойму, внутри корпуса каждого понтона формируют полости между жесткими герметизированными друг от друга оболочками, а при опускании понтонов в каждой полости между смежными оболочками создают давление воды, которое увеличивают, начиная от нулевого значения на поверхности водоема, при погружении понтонов и уменьшают давление при их подъеме, при этом давление в полостях между оболочками при погружении понтонов на полную глубину определяют из соотношений
pi=ip; i [1, (n-1)]; n=H/h; h=p/(g ),
где рi – давление (Па) воды в i-й полости понтона, считая от внутренней оболочки n – отношение глубины Н водоема (м) к глубине h (м), соответствующей предельному давлению р (Па), на которое рассчитан корпус и оболочки понтона; g – ускорение свободного падения, м/с2; – плотность воды, кг/м3.
2. Способ по п.1, отличающийся тем, что давление воды в полостях между оболочками понтонов повышают и понижают непрерывно в течение всего цикла опускания и подъема понтонов.
3. Способ по п.1, отличающийся тем, что давление воды в полостях между оболочками понтонов повышают и понижают ступенчато при опускании и подъеме понтонов.
4. Устройство для подъема затонувшего объекта, содержащее базовое судно, спускаемые с базового судна, заполняемые водой и продуваемые сжатым воздухом понтоны цилиндрической формы, снабженные патрубками с запорными приспособлениями для подачи воды и воздуха, отличающееся тем, что каждый понтон снабжен герметизированными оболочками цилиндрической формы, размещенными внутри его корпуса с зазорами между собой по всем их поверхностям с образованием замкнутых полостей, оболочки соединены между собой жесткими перемычками, каждая полость между оболочками патрубком связана с водяным насосом с возможностью регулирования давления, а количество оболочек внутри корпуса понтона принимают равным n-1, где n – отношение глубины Н водоема (м) к глубине h (м), соответствующей предельному давлению, на которое рассчитан корпус и оболочки понтона.
РИСУНКИ
MM4A – Досрочное прекращение действия патента СССР или патента Российской Федерации на изобретение из-за неуплаты в установленный срок пошлины за поддержание патента в силе
Дата прекращения действия патента: 20.06.2008
Извещение опубликовано: 20.05.2010 БИ: 14/2010
|
|