|
| На основании пункта 3 статьи 13 Патентного закона Российской Федерации от 23 сентября 1992 г. № 3517-I патентообладатель обязуется передать исключительное право на изобретение (уступить патент) на условиях, соответствующих установившейся практике, лицу, первому изъявившему такое желание и уведомившему об этом патентообладателя и федеральный орган исполнительной власти по интеллектуальной собственности, – гражданину РФ или российскому юридическому лицу. |
|
(21), (22) Заявка: 2006121723/11, 19.06.2006
(24) Дата начала отсчета срока действия патента:
19.06.2006
(46) Опубликовано: 10.02.2008
(56) Список документов, цитированных в отчете о поиске:
RU 2272916 С2, 27.03.2006. US 6318065 В1, 20.11.2001. DE 1237162, 23.03.1967.
Адрес для переписки:
443112, г.Самара, ул. Крайняя, 18-17, Н.Б. Болотину
|
(72) Автор(ы):
Болотин Николай Борисович (RU)
(73) Патентообладатель(и):
Болотин Николай Борисович (RU)
|
(54) СИЛОВАЯ УСТАНОВКА ГАЗОТУРБОВОЗА С ОХЛАЖДАЕМОЙ ТУРБИНОЙ И УТИЛИЗАЦИЕЙ ТЕПЛА
(57) Реферат:
Изобретение относится к железнодорожному транспорту. Силовая установка газотурбовоза с охлаждаемой турбиной и утилизацией тепла содержит газотурбинный двигатель с компрессором, камерой сгорания и турбиной, соединенной газовым трактом со свободной турбиной, за которой установлен регенеративный теплообменник. Вход регенеративного теплообменника соединен через водяной насос с емкостью для воды, а выход соединен через теплообменник охлаждения воздуха, паровую турбину и теплообменник-конденсатор с емкостью для воды. Теплообменник-конденсатор установлен в топливной магистрали после насоса горючего. Турбина содержит воздушную систему охлаждения соплового аппарата и рабочего колеса турбины, в которую входит трубопровод отбора воздуха из-за компрессора, теплообменник охлаждения воздуха, коллектор, сопловой аппарат с полостями внутри него и дефлектор на диске турбины. Технический результат заключается в повышении КПД, повышении надежности силовой установки и предотвращении отложения накипи в системе охлаждения турбины. 2 з.п. ф-лы, 2 ил.
Изобретение относится к железнодорожному транспорту, конкретно к силовым установкам локомотива, выполненным на базе газотурбинного двигателя (турбопоезда или газотурбовоза), который в качестве топлива использует сжиженный природный газ – СПГ.
Работы по созданию газотурбовоза проведены в СССР и за рубежом. В Западной Европе наиболее интенсивные работы по газотурбовозам впервые были развернуты во Франции и привели к созданию газотурбовоза.
Известна силовая установка по патенту РФ №2137617, эта установка имеет жидкостную систему охлаждения и вентилятор для создания потока охлаждающего воздуха.
Известна силовая установка по патенту РФ №2189477, которая содержит газотурбинный двигатель – ГТД, газовый тракт, соединяющий этот газотурбинный двигатель со свободной турбиной и нагрузку в виде электрогенератора, вал которого подсоединен к валу свободной турбины через муфту.
Недостатком этой силовой установки является то, что она имеет низкий КПД около 20%, что почти в 2 раза меньше, чем у современных дизельных установок.
Известна силовая установка газотурбовоза по патенту РФ №2272916 (прототип), которая содержит газотурбинный двигатель с турбиной и свободную турбину, за которой установлен регенеративный теплообменник, выход из которого соединен с газотурбинным двигателем, конкретно – с системой охлаждения турбины.
Недостатками этого двигателя является низкий КПД силовой установки из-за того, что подача пара на вход в турбину резко уменьшает температуру продуктов сгорания, проходящих через нее, и тем самым снижает КПД турбины и силовой установки в целом. Если же компенсировать снижение температуры газа перед турбиной увеличением расхода топлива, это приведет к дефектам в виде прогара сопловых и рабочих лопаток турбины. Кроме того, длительное пропускание большого расхода воды через систему охлаждения турбины приводит к отложению накипи в системе охлаждения турбины и ухудшению охлаждения. Применение дистиллированной воды невозможно по техническим и экономическим соображениям. Кроме того, регенеративный теплообменник имеет недостаточную поверхность теплообмена для того, чтобы полностью утилизировать тепло выхлопных газов.
Задачи создания изобретения: повышение экономичности и надежности установки.
Решение указанных задач достигнуто за счет того, что силовая установка газотурбовоза с охлаждаемой турбиной и утилизацией тепла, содержащая газотурбинный двигатель с компрессором, камерой сгорания и турбиной, соединенной газовым трактом со свободной турбиной, за которой установлен регенеративный теплообменник, вход которого соединен через водяной насос с емкостью для воды, отличается тем, что выход из регенеративного теплообменника соединен через теплообменник охлаждения воздуха, паровую турбину и теплообменник-конденсатор с емкостью для воды. Теплообменник-конденсатор установлен в топливной магистрали после насоса горючего. Турбина содержит воздушную систему охлаждения соплового аппарата и рабочего колеса турбины, в которую входит трубопровод отбора воздуха из-за компрессора, теплообменник охлаждения воздуха, коллектор, сопловой аппарат с полостями внутри него и дефлектор на диске турбины.
Предложенное техническое решение обладает новизной, изобретательским уровнем и промышленной применимостью, что подтверждается проведенными патентными исследованиями. Для реализации изобретения достаточно применения известных узлов и деталей, ранее разработанных и реализованных в конструкции газотурбинных двигателей и в машиностроении.
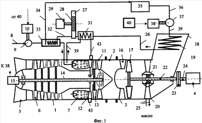
Сущность изобретения поясняется чертежами, где на фиг.1 приведена схема силовой установки локомотива, а на фиг.2 приведена схема охлаждения турбины.
Предложенное техническое решение содержит газотурбинный двигатель ГТД 1 и подсоединенную газовым трактом 2 свободную турбину 3, к которой присоединен электрогенератор 4 (фиг.1).
ГТД 1 содержит воздухозаборное устройство 5, компрессор 6, камеру сгорания 7, систему топливоподачи 8 с топливным насосом 9 и приводом топливного насоса 10, турбину 11. Турбина 11 содержит сопловой аппарат турбины 12 и рабочее колесо турбины 13. Рабочее колесо турбины 13 установлено на валу ГТД 14, на конце вала ГТД 14 установлен датчик оборотов ГТД 15. Свободная турбина 3 содержит сопловой аппарат свободной турбины 16, рабочее колесо свободной турбины 17. В выхлопной шахте 18 установлен основной регенеративный теплообменник 19. Далее установлены задняя опора 20 с подшипником 21, в котором установлен вал свободной турбины 22, к которому подсоединен через муфту 23, вал нагрузки 24 с электрогенератором 4. Подшипник 21 имеет систему смазки 25.
Выход регенеративного теплообменника 19 подключен трубопроводом подачи пара 26 к паровой турбине 27, на валу паровой турбины 28 установлен дополнительный электрогенератор 29. Выход из паровой турбины 27 подсоединен трубопроводом 30 к входу в теплообменник охлаждения воздуха, выход из теплообменника охлаждения воздуха 31 паровым трубопроводом 32 соединен с входом в теплообменник-конденсатор 33, выход из теплообменника-конденсатора 33 подсоединен трубопроводом рециркуляции 34 с баком для воды 35, выход из бака для воды 35 трубопроводом низкого давления 36 соединен с водяным насосом 37, имеющим привод 38. Выход из водяного насоса 37 трубопроводом высокого давления 39 соединен со входом в регенеративный теплообменник 19.
Блок управления 40 соединен электрическими связями с датчиком частоты вращения 15, приводом топливного насоса 10 и приводом водяного насоса 38.
Теплообменник охлаждения воздуха 31 по воздушной линии подключен трубопроводом отбора воздуха 41 к полости за компрессором 6, а его выход трубопроводом подачи воздуха 42 подключен к коллектору 43, установленному над сопловым аппаратом турбины 12 и сообщающемуся посредством отверстий с полостью «А» внутри лопаток соплового аппарата 12. Теплообменник-газификатор 33 установлен в топливной магистрали 8 после насоса горючего 9.
Система охлаждения рабочего колеса турбины 13 работает на воздухе и содержит трубопровод отбора воздуха 41 от полости из-за компрессора 6, теплообменник охлаждения воздуха 31, коллектор 43, выполненный над сопловым аппаратом турбины 12, трубки подвода воздуха 44 (фиг.2), форсунки 45. Рабочее колесо турбины 13 содержит рабочие лопатки турбины 46, диск 47, дефлектор 48. Турбина 11 содержит корпус 49. На бандажных полках 50 рабочих лопаток турбины 46 выполнены уплотнения 51.
При работе при помощи стартера запускается ГТД 1, при этом подается сигнал с блока управления 40 на привода 10 и 38, топливный насос 9 подает жидкое топливо – сжиженный природный газ сначала в теплообменник охлаждения воздуха 31, где оно испаряется и газифицируется, а потом оно подается в камеру сгорания 7, где воспламеняется при помощи электрозапальника (на фиг.1 и 2 не показано). Выхлопные газы, проходя газовый тракт, поступают сначала на турбину ГТД 11, а потом в свободную турбину 3. Рабочее колесо свободной турбины 17 с валом свободной турбины 22 раскручиваются. Крутящий момент через муфту 23 передается на вал нагрузки 24 и далее на электрогенератор 4. С электрогенератора 4 электрическая энергия подается на электродвигатели, связанные с колесными парами газотурбовоза (на фиг.1 и 2 не показано).
После запуска двигателя, который контролирует блок управления 40 по сигналу с датчика оборотов ГТД 15, блок управления 40 дает команду на включение привода водяного насоса 38, который раскручивает насос 37 и вода по трубопроводу высокого давления 39 подается регенеративный теплообменник 19, где подогревается и испаряется, превращаясь в пар. Пар, имеющий температуру от 100 до 120°С, по паровому трубопроводу 26 подается сначала в теплообменник охлаждения воздуха 31, где охлаждает воздух, идущий на охлаждение турбины 11. Воздух, отбираемый из-за компрессора, имеет температуру до 500°С, а на выходе из теплообменника охлаждения воздуха – около 300°С. Пар при этом дополнительно подогревается на 10…20°С и поступает на паровую турбину 27, которая приводит в действие дополнительный электрогенератор 29. Тем самым утилизируется тепло выхлопных газов и тепло воздуха, охлаждающего турбину. Это позволит создать силовую установку, работающую длительное время с температурой газов на входе в турбину более 1500°С.
Охлаждение турбины осуществляется следующим образом. Воздух высокого давления из-за компрессора 6 по трубопроводу отбора воздуха 41 подается сначала в теплообменник охлаждения воздуха 31, потом по трубопроводу подачи воздуха 42 в коллектор 43, потом в полости «А» соплового аппарата турбины 12, где охлаждает сопловой аппарат турбины 12, далее по трубкам 44 через форсунки 45 – в полость «Б», потом через отверстия «В» – в полость «Г» и далее через отверстия «Д» выходит в газовый тракт турбины 11.
В результате использования новой схемы регенерации тепла КПД силовой установки возрастает более, чем в 2 раза, а именно с 20% без теплообменника до 47…52%. Это достигнуто утилизацией тепла в паровой турбине 27, использованием хладоресурса топлива для повышения температуры газа перед турбиной 11.
Применение изобретения позволило:
1. Повысить КПД силовой установки за счет применения утилизации тепла в паровой турбине и форсирования температуры газа перед турбиной.
2. Улучшить надежность силовой установки и, в первую очередь, турбины за счет ее эффективного охлаждения.
3. Отказаться от применения воды для охлаждения турбины.
4. Предотвратить отложение накипи в системе охлаждения турбины.
Формула изобретения
1. Силовая установка газотурбовоза с охлаждаемой турбиной и утилизацией тепла, содержащая газотурбинный двигатель с компрессором, камерой сгорания и турбиной, соединенной газовым трактом со свободной турбиной, за которой установлен регенеративный теплообменник, вход которого соединен через водяной насос с емкостью для воды, отличающаяся тем, что выход из регенеративного теплообменника соединен через теплообменник охлаждения воздуха, паровую турбину и теплообменник-конденсатор с емкостью для воды.
2. Силовая установка газотурбовоза с охлаждаемой турбиной и утилизацией тепла по п.1, отличающаяся тем, что теплообменник-конденсатор установлен в топливной магистрали после насоса горючего.
3. Силовая установка газотурбовоза с охлаждаемой турбиной и утилизацией тепла по п.1 или 2, отличающаяся тем, что турбина содержит воздушную систему охлаждения соплового аппарата и рабочего колеса турбины, в которую входят трубопровод отбора воздуха из-за компрессора, теплообменник охлаждения воздуха, коллектор, сопловой аппарат с полостями внутри него и дефлектор на диске турбины.
РИСУНКИ
|
|