|
|
(21), (22) Заявка: 2006115873/11, 10.05.2006
(24) Дата начала отсчета срока действия патента:
10.05.2006
(46) Опубликовано: 10.02.2008
(56) Список документов, цитированных в отчете о поиске:
RU 2242386 С1, 20.12.2004. SU 954840 А1, 30.08.1982. DE 1113841 A, 14.09.1961. RU 2034729 C1, 10.05.1995.
Адрес для переписки:
664074, г.Иркутск, ул. Лермонтова, 83, Иркутский государственный технический университет
|
(72) Автор(ы):
Федотов Александр Иванович (RU), Стафеев Михаил Викторович (RU), Потапов Антон Сергеевич (RU), Доморозов Алексей Николаевич (RU), Осипов Артур Геннадьевич (RU)
(73) Патентообладатель(и):
Государственное образовательное учреждение высшего профессионального образования “Иркутский государственный технический университет” (ГОУ ИрГТУ) (RU)
|
(54) УСТРОЙСТВО ДЛЯ ДИАГНОСТИРОВАНИЯ ТОРМОЗНОЙ СИСТЕМЫ АВТОТРАНСПОРТНОГО СРЕДСТВА
(57) Реферат:
Изобретение относится к области машиностроения и может быть использовано для испытания тормозных качеств автотранспортных средств. Устройство содержит неподвижную платформу с двумя одинаковыми секциями, подвешенными в ней на рычагах, соединенных с датчиками веса, датчиком тормозной силы и секцией шарнирно. В секции установлены опорный, приводной ролики и следящий ролик, на которые ставится колесо автотранспортного средства. Посредством рычагов секция подвешена на датчиках веса, измеряющих нагрузку, приходящуюся на диагностируемую ось автотранспортного средства. На неподвижной платформе установлен приводной электродвигатель малой мощности, связанный через муфту с одним из маховиков и через длинную карданную передачу – с другим. Приводной электродвигатель через цепную передачу и короткую карданную передачу соединен с приводным роликом, связанным с опорным роликом цепной передачей. Технический результат заявляемого изобретения заключается в повышении достоверности определения диагностических параметров тормозной системы автотранспортного средства. 2 ил.
Изобретение относится к области машиностроения, а именно к устройствам для испытания тормозных качеств автотранспортных средств, в частности, оснащенных антиблокировочными системами (АБС).
Известно устройство для диагностирования тормозной системы автотранспортного средства (Техническая эксплуатация автомобилей: учебник для вузов. /Под ред. Г.В.Крамаренко 2-е изд., перераб. и доп./. – М.: Транспорт, 1983, стр.143, рис.6.31). Оно включает в себя опорно-приводное и измерительное устройства.
Опорно-приводное устройство состоит из рамы, двух пар опорных и приводных роликов, на которые поочередно устанавливаются колеса одной оси автотранспортного средства, и приводного электродвигателя для вращения приводных роликов.
Измерительное устройство включает датчик давления, на который воздействует рычаг статора приводного электродвигателя, измеритель реактивного крутящего момента, равного тормозному моменту, в единицах тормозной силы колеса, противоблокировочное устройство, сигнализирующее о прекращении вращения колеса.
Процесс диагностирования осуществляется следующим образом. Автотранспортное средство устанавливают колесами одной из осей на опорные и приводные ролики, включают приводные электродвигатели и, вращая колеса роликами стенда, постепенно нажимают на тормозную педаль. Возникающие при этом тормозные силы измеряют по величине реактивных моментов на статорах приводных электродвигателей. Одновременно измеряют ряд других диагностических параметров: зависимость изменения тормозной силы от силы давления на педаль тормоза; силу и постоянство сопротивления незаторможенного колеса; время срабатывания тормозных механизмов и др.
Однако данное устройство не позволяет измерять удельные тормозные силы на каждом (левом и правом) колесе и проскальзывание колес диагностируемого автотранспортного средства относительно поверхностей приводных и опорных роликов. Измерение тормозной силы по величине реактивного момента на статоре электродвигателя дает большую погрешность диагностируемых параметров.
Известно устройство для диагностирования тормозной системы автотранспортного средства (Техническая эксплуатация автомобилей: учебник для вузов. /Под ред. Г.В.Крамаренко 2-е изд., перераб. и доп./. – М.: Транспорт, 1983, стр.146, рис.6.34б). Оно содержит неподвижную платформу, включающую две одинаковые секции с установленными на них приводными и опорными роликами, соединенными цепной передачей, при этом приводные ролики связаны с маховиками, раскручиваемыми от привода, используемого для вывода устройства в режим начальной скорости торможения.
Данное устройство измеряет тормозной путь колес (по каждому в отдельности), максимальное замедление и время срабатывания тормозного привода. Процесс диагностирования автотранспортного средства аналогичен тому, который производится на устройствах, описанных выше, за исключением следующих особенностей. Маховые массы запасают кинетическую энергию от привода, что позволяет раскручивать колеса автотранспортного средства до значительных скоростей при использовании менее мощных приводов. После вывода автотранспортного средства в режим начальной скорости торможения производят отключение привода и нажимают на педаль тормоза автотранспортного средства.
Недостатком устройства является то, что оно не позволяет измерять удельные тормозные силы на каждом (левом и правом) колесе и не обеспечивает необходимую достоверность диагностических параметров из-за невозможности измерения проскальзывания колес диагностируемого автотранспортного средства относительно поверхностей приводных и опорных роликов.
Известно устройство для диагностирования тормозной системы автотранспортного средства (Техническая эксплуатация автомобилей: учебник для вузов. /Под ред. Г.В.Крамаренко 2-е изд., перераб. и доп./. – М.: Транспорт, 1983, стр.146, рис.6.35).
Устройство предназначено для общего экспрессного диагностирования тормозной системы автотранспортного средства. Оно состоит из четырех подвижных платформ с рифленой поверхностью, на которые автотранспортное средство наезжает колесами со скоростью 6-12 км/ч и останавливается при резком торможении. Под влиянием возникающих при этом сил инерции автотранспортного средства, сил трения между шинами и поверхностью площадок происходит перемещение платформ. Величина перемещения каждой платформы (пропорциональная тормозной силе) измеряется датчиками и фиксируется измерительными приборами, расположенными на пульте.
Недостатком данного устройства является большая погрешность измерения, связанная с невозможностью измерения проскальзывания колес автомобиля и его точностью заезда при диагностировании.
Наиболее близким по технической сущности и достигаемому результату и принятым за прототип является устройство для контроля эффективности торможения автотранспортного средства (патент РФ №2242386, МПК 7 В60Т 17/22, 2004), содержащее неподвижную платформу, включающую две одинаковые секции с установленными на каждой из них приводным и опорным роликами. Ролики соединены цепной передачей, при этом приводные ролики связаны с маховиками, раскручиваемыми от приводных электродвигателей, используемых для вывода автотранспортного средства в режим начальной скорости торможения. Устройство содержит узлы для измерения тормозной силы на каждом колесе автотранспортного средства и следящие ролики, установленные в одинаковых секциях неподвижной платформы.
Общими признаками прототипа с заявляемым устройством являются: два маховика и приводной электродвигатель, установленные на неподвижной платформе, включающей две одинаковые секции, где размещены приводной, опорный и следящий ролики. Маховики соединены с приводными роликами цепной передачей, опорные и приводные ролики связаны друг с другом.
Недостатком прототипа является то, что он не позволяет измерять нагрузку на диагностируемую ось автомобиля, что не обеспечивает измерения средних реализованных значений удельных тормозных сил на каждом (левом и правом) колесе, среднего реализованного значения показателя М.А.Петрова и среднего за время торможения, а также текущего значения проскальзывания колес автотранспортного средства; ограниченного просвета между стендом и диагностируемым автотранспортным средством, не позволяющего диагностировать автотранспортные средства с небольшим клиренсом.
Технический результат заявляемого изобретения заключается в повышении достоверности определения диагностических параметров и упрощении измерения при диагностировании тормозной системы автотранспортного средства:
– за счет измерения удельных тормозных сил на каждом колесе диагностируемого автотранспортного средства;
– за счет использования шарнирных связей между датчиками тормозной силы, веса и подвижными секциями.
Поставленная задача достигается тем, что устройство для диагностирования тормозной системы автотранспортного средства, содержащего неподвижную платформу, включающую две одинаковые секции с установленными на них приводными и опорными роликами, соединенными цепной передачей, а приводные ролики связаны с маховиками, раскручиваемыми от приводного электродвигателя, используемого для вывода автотранспортного средства в режим начальной скорости торможения, и следящие ролики, в узлах для измерения тормозной силы на каждом колесе диагностируемого автотранспортного средства установлены датчики тормозной силы и датчики веса. Все датчики установлены на неподвижной платформе и соединены с подвижными секциями рычагами, связанными с датчиками веса, датчиком тормозной силы и секцией шарнирно. Оба маховика и приводной электродвигатель заявляемого устройства, установленные на неподвижной платформе, соединены длинной карданной передачей друг с другом и цепной и короткой карданной передачей с приводными роликами.
Отличием от прототипа является наличие в узлах для измерения тормозной силы на каждом колесе автотранспортного средства датчиков тормозной силы и веса, соединение датчиков тормозной силы и датчиков веса с рычагами, связанными с датчиками веса, датчиком тормозной силы и секцией шарнирно, наличие одного приводного электродвигателя, при этом маховики соединены друг с другом посредством длинной карданной передачи и с приводными роликами – цепной и короткой карданной передачей.
Наличие новой совокупности существенных признаков в заявляемом устройстве позволяет сделать вывод о соответствии заявляемого изобретения критерию «новизна».
Дополнительный анализ патентной и научно-технической информации не выявил источники, содержащие сведения об известности отличительных признаков заявляемого устройства, что свидетельствует о его соответствии критерию «изобретательский уровень».
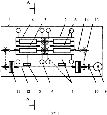
Предлагаемое устройство иллюстрируется чертежами, где на фиг.1 изображена схема заявляемого устройства (вид сверху), на фиг.2 – схема заявляемого устройства в сечении А-А на фиг.1.
Устройство включает неподвижную платформу 1 с подвешенными в ней двумя одинаковыми секциями 2 на рычагах 3, соединенных с датчиками 4 веса, датчиком 5 тормозной силы и секцией 2 шарнирно. В секции 2 установлены опорный 6, приводной 7 ролики и следящий 8 ролик, на которые ставится колесо автотранспортного средства. Посредством рычагов 3 секция 2 подвешена на датчиках 4 веса, измеряющих нагрузку, приходящуюся на диагностируемую ось автотранспортного средства. На неподвижной платформе 1 установлен приводной электродвигатель 9 малой мощности, связанный через муфту 10 с одним из маховиков 11 и через длинную карданную передачу 12 с другим. Приводной электродвигатель 9 через цепную передачу 13 и короткую карданную передачу 14 соединен с приводным 7 роликом, связанным с опорным 6 роликом цепной передачей 13.
Устройство работает следующим образом. На опорные 6, приводные 7 и следящие 8 ролики устанавливаются колеса одной из осей автотранспортного средства, затем приводной электродвигатель 9 через муфту 10, цепную передачу 13, короткую карданную передачу 14 и приводной ролик 7 разгоняет колеса автотранспортного средства и через длинную карданную передачу 12 маховики 11 до начальной скорости торможения. В начальный момент торможения приводной электродвигатель 9 отключается, и на секцию 2 в целом действует тормозная сила колеса автотранспортного средства и крутящий момент маховика 11, в результате чего секция 2 посредством рычагов 3 приходит в движение. Усилие сдвига секции 2 измеряется датчиком 5 тормозной силы, а нагрузка на колесо измеряется датчиком 4 веса. Усилие на педаль тормоза и время торможения колес автотранспортного средства измеряется датчиком, устанавливаемым на тормозной педали автотранспортного средства. Данные с датчиков передаются в ЭВМ. Следящие ролики 8 определяют момент блокировки колес автотранспортного средства, их проскальзывание относительно поверхностей опорных 6 и приводных 7 роликов. Аналогичным образом диагностируется вторая ось автотранспортного средства.
Выполнение технического результата заявляемого устройства заключается в том, что датчики веса, измеряющие нагрузку на диагностируемую ось автотранспортного средства, позволяют измерять средние реализованные значения удельных тормозных сил на каждом (левом и правом) колесе, среднее реализованное значение показателя М.А.Петрова и среднее за время торможения, а также текущее значение проскальзывания колес автотранспортного средства, и провести оценку состояния тормозной системы по определяемым компьютером интегральным показателям процесса торможения автотранспортного средства. Подвешивание секции на рычагах, соединенных с датчиками веса, датчиком тормозной силы и секцией шарнирно, позволяет при перемещении секции качественно и просто определять показатели процесса торможения колеса автотранспортного средства.
Вышеописанное устройство позволяет диагностировать автотранспортные средства с разной базой и любой колесной формулой, оснащенные и не оснащенные АБС. Эффективная схема связи датчиков тормозной силы и веса с рычагами, соединенными с датчиками веса, датчиком тормозной силы и секцией шарнирно, позволяет производить диагностирование автотранспортных средств в условиях, максимально соответствующих реальным условиям торможения автотранспортного средства.
Формула изобретения
Устройство для диагностирования тормозной системы автотранспортного средства, содержащее неподвижную платформу, включающую две одинаковые секции с установленными на них приводными и опорными роликами, соединенными цепной передачей, при этом приводные ролики связаны с маховиками, раскручиваемыми от приводного электродвигателя, используемого для вывода автотранспортного средства в режим начальной скорости торможения, узлы для измерения тормозной силы на каждом колесе автотранспортного средства и следящие ролики, отличающееся тем, что узлы для измерения тормозной силы на каждом колесе автотранспортного средства содержат датчики тормозной силы и веса, при этом все датчики установлены на неподвижной платформе и соединены с подвижными секциями рычагами, связанными с датчиками веса, датчиком тормозной силы и секцией шарнирно, приводной электродвигатель установлен на неподвижной платформе и связан через муфту с одним из маховиков и через длинную карданную передачу – с другим, при этом приводной электродвигатель через цепную передачу и короткую карданную передачу соединен с приводным роликом, связанным с опорным роликом цепной передачей.
РИСУНКИ
MM4A – Досрочное прекращение действия патента СССР или патента Российской Федерации на изобретение из-за неуплаты в установленный срок пошлины за поддержание патента в силе
Дата прекращения действия патента: 11.05.2009
Извещение опубликовано: 20.05.2010 БИ: 14/2010
NF4A – Восстановление действия патента СССР или патента Российской Федерации на изобретение
Дата, с которой действие патента восстановлено: 27.09.2010
Извещение опубликовано: 27.09.2010 БИ: 27/2010
|
|