|
|
(21), (22) Заявка: 2006112262/02, 13.04.2006
(24) Дата начала отсчета срока действия патента:
13.04.2006
(46) Опубликовано: 10.02.2008
(56) Список документов, цитированных в отчете о поиске:
US 4006763, 08.02.1977. GB 1271820, 26.04.1972. RU 2211757 C2, 10.09.2003.
Адрес для переписки:
117624, Москва, ул. Изюмская, 47, корп.2, кв.10, С.Н. Таратухину
|
(72) Автор(ы):
Бабаев Азер Кахраман оглы (RU)
(73) Патентообладатель(и):
Бабаев Азер Кахраман оглы (RU)
|
(54) РУЧНОЙ УДАРНЫЙ ИНСТРУМЕНТ
(57) Реферат:
Ручной ударный инструмент относится к строительной и ремонтной за счет снижения риска критической деформации забиваемого изделия технике и содержит рукоятку, закрепленную на одном ее конце головку с ограничителями хода, установленный между ними подвижный вдоль оси головки боек с образованием между ним и одним из ограничителей хода рабочего зазора. По меньшей мере, один дополнительный подвижный вдоль оси головки боек, установленный с образованием между ним и головкой своего осевого рабочего зазора в два раза большего рабочего зазора между основным подвижным бойком и одним из ограничителей хода. При этом каждый последующий осевой рабочий зазор между дополнительным подвижным бойком и головкой больше предыдущего на величину рабочего зазора между основным подвижным бойком и одним из ограничителей хода, а масса каждого подвижного бойка больше массы головки. Кроме того, масса каждого подвижного бойка может быть выбрана большей суммы массы головки и заданной массы забиваемого элемента. Кроме того, масса дополнительного подвижного бойка больше суммы масс головки и основного подвижного бойка, при этом масса каждого последующего дополнительного подвижного бойка выбрана больше суммы масс головки, основного подвижного бойка и предыдущего дополнительного подвижного бойка. Обеспечивается повышение эффективности забивания и рихтования изделий и исключение отскока головки ударного инструмента от шляпки забиваемого изделия и от рихтуемой поверхности путем дискретного воздействия малыми массами импульса удара на забиваемое и рихтуемое изделия. 2 з.п. ф-лы, 2 ил.
Изобретение относится к технологическим процессам, а именно к строительной и ремонтной технике, в частности к конструкциям ручных ударных инструментов, предназначенных для забивания гвоздей и для рихтования различных металлических материалов и конструкций.
Наиболее близким по технической сущности к предлагаемому ручному ударному инструменту является выбранный в качестве прототипа ручной молоток, содержащий рукоятку, закрепленную на одном ее конце головку с ограничителями хода и установленный между ними подвижный вдоль оси головки боек с образованием между ним и одним из ограничителей хода рабочего зазора (Патент США №2261188, кл. В25С 1/00, опубл. 1977 год).
Недостатком прототипа является отсутствие многократного дискретного воздействия импульса удара на забиваемое изделие, что повышает риск его критической деформации, а также снижает возможность позиционирования удара при рихтовке.
Технический результат, достигаемый предлагаемым изобретением, заключается в повышении эффективности забивания и рихтования изделий за счет соответственно снижения риска критической деформации забиваемого изделия и возможности позиционирования ударного инструмента относительно рихтуемой поверхности путем дискретного воздействия малыми массами импульса удара на забиваемое и рихтуемое изделия.
Поставленный результат достигается тем, что ручной ударный инструмент, содержащий рукоятку, закрепленную на одном ее конце головку с ограничителями хода и установленный между ними подвижный вдоль оси головки боек с образованием между ним и одним из ограничителей хода рабочего зазора, снабжен, по крайней мере, одним дополнительным подвижным вдоль оси головки бойком, установленным с образованием между ним и головкой своего осевого рабочего зазора, выбранного в два раза большим рабочего зазора между основным подвижным бойком и одним из ограничителей хода, при этом каждый последующий осевой рабочий зазор между дополнительным подвижным бойком и головкой выбран большим предыдущего на величину рабочего зазора между основным подвижным бойком и одним из ограничителей хода, а масса каждого подвижного бойка выбрана большей массы головки.
Кроме того, масса каждого подвижного бойка выбрана большей суммы массы головки и заданной массы забиваемого изделия, что дополнительно повышает эффективность забивания последнего.
Кроме того, масса дополнительного подвижного бойка выбрана большей суммы масс головки и основного подвижного бойка, при этом масса каждого последующего дополнительного подвижного бойка выбрана большей суммы масс головки, основного подвижного бойка и предыдущего дополнительного подвижного бойка, что дополнительно повышает эффективность забивания и рихтования изделия.
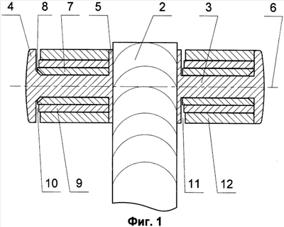
На фиг.1 изображен ручной ударный инструмент с коаксиально установленными подвижными бойками, продольный разрез,
на фиг.2 – то же, с последовательно установленными подвижными бойками.
Ручной ударный инструмент содержит рукоятку 1, закрепленную на одном ее конце 2 головку 3 с ограничителями 4 и 5 хода и установленный между ними подвижный вдоль оси 6 головки 3 боек 7 с образованием между ним и одним из ограничителей 4 хода рабочего зазора 8. Ручной ударный инструмент снабжен, по крайней мере, одним дополнительным подвижным вдоль оси 6 головки 3 бойком 9, установленным с образованием между ним и головкой 3 зазора 8 между основным подвижным бойком 7 и одним из ограничителей 4 хода, при этом каждый последующий осевой рабочий зазор, например, зазор 11 между дополнительным подвижным бойком 12 и головкой выбран большим предыдущего зазора 10 на величину рабочего зазора 8 между основным подвижным бойком 7 и одним из ограничителей 4 хода, а масса m каждого подвижного бойка (7, 9, 12 и т.д.) выбрана большей массы m3 головки 3, т.е. m>m3. Кроме того, масса m каждого подвижного бойка (7, 9, 12 и т.д.) может быть выбрана большей суммы массы m3 головки 3 и заданной массы m3и забиваемого изделия (не показано), т.е. m>m3+m3и.
Кроме того, масса m9 дополнительного подвижного бойка 9 может быть выбрана большей суммы массы m3 головки 3 и массы m7 основного подвижного бойка 7, т.е. m9>m3+m7, при этом масса m12 каждого последующего дополнительного подвижного бойка 12 выбрана большей суммы массы m3 головки 3, массы m7 основного подвижного бойка 7 и массы m9 предыдущего дополнительного подвижного бойка 9, т.е. m12>m3+m7+m9.
Подвижные бойки 7, 9, 12 могут быть установлены на головке 3 ручного ударного инструмента коаксиально (фиг.1), последовательно друг другу (фиг.2), кроме того, с одной и/или с двух сторон от рукоятки 1 (фиг.1).
Ручной ударный инструмент работает следующим образом.
При взмахе руки с ручным ударным инструментом в момент изменения направления движения в направлении удара подвижные бойки 7, 9, 12 и т.д. под действием сил инерции устанавливаются в исходное положение, упираясь в ограничители хода 5. При этом конструкция головки 3 ручного ударного инструмента обеспечивает такое исходное положение подвижных бойков, при котором воздействие их масс m в момент воздействия ручного ударного инструмента на забиваемое изделие происходит с рассчитанными промежутками времени. В момент контакта головки 3 ручного ударного инструмента с забиваемым изделием система имеет скорость V и сообщает последнему импульс энергии, пропорциональный взаимодействующим массам (m3 и m3и) и их скоростям. После воздействия система (m3+m3и) движется с отрицательным ускорением, преодолевая сопротивление материала скрепляемых изделий. Подвижные бойки в этот момент имеют скорость V и через интервалы времени, обусловленные зазорами 8, 10 и 11, поочередно «догоняют» головку 3 ручного ударного инструмента и «добивают» забиваемое изделие в материал. При этом происходит поглощение энергии реакции на удар, что предотвращает «отскок» ударного инструмента.
Таким образом, данный ручной ударный инструмент имеет распределенный по времени импульс воздействия. Его масса распределена на несколько подвижных составляющих масс, поочередно воздействующих на забиваемое изделие. При этом каждый последующий боек воздействует на забиваемое изделие независимо друг от друга.
Формула изобретения
1. Ручной ударный инструмент, содержащий рукоятку, закрепленную на одном ее конце головку с ограничителями хода и установленный между ними подвижный вдоль оси головки боек с образованием между ним и одним из ограничителей хода рабочего зазора, отличающийся тем, что он снабжен, по меньшей мере, одним дополнительным подвижным вдоль оси головки бойком, установленным с образованием между ним и головкой своего осевого рабочего зазора, в два раза большего рабочего зазора между основным подвижным бойком и одним из ограничителей хода, при этом каждый последующий осевой рабочий зазор между дополнительным подвижным бойком и головкой больше предыдущего на величину рабочего зазора между основным подвижным бойком и одним из ограничителей хода, а масса каждого подвижного бойка больше массы головки.
2. Ручной ударный инструмент по п.1, отличающийся тем, что масса каждого подвижного бойка больше суммы массы головки и заданной массы забиваемого изделия.
3. Ручной ударный инструмент по п.1, отличающийся тем, что масса дополнительного подвижного бойка больше суммы масс головки и основного подвижного бойка, при этом масса каждого последующего дополнительного подвижного бойка больше суммы масс головки, основного подвижного бойка и предыдущего дополнительного подвижного бойка.
РИСУНКИ
|
|