|
(21), (22) Заявка: 2005132881/02, 25.10.2005
(24) Дата начала отсчета срока действия патента:
25.10.2005
(43) Дата публикации заявки: 27.04.2007
(46) Опубликовано: 10.02.2008
(56) Список документов, цитированных в отчете о поиске:
SU 445565 А, 28.11.1974. КОНОВАЛОВ Е.Г. и др. Чистовая и упрочняющая ротационная обработка поверхностей, Минск, Высшая школа, 1968, с.10, 136. SU 931428 A1, 30.05.1982. RU 2090343 С1, 20.09.1997. GB 1141957 А, 05.02.1969.
Адрес для переписки:
634067, г.Томск, Кузовлевский тракт, 2, стр.202, ООО “Томскнефтехим”, Патентная группа
|
(72) Автор(ы):
Буканов Виктор Иванович (RU), Борцов Юрий Владимирович (RU), Борисов Геннадий Алексеевич (RU), Кобяков Александр Иванович (RU), Мисковец Павел Николаевич (RU)
(73) Патентообладатель(и):
Общество с ограниченной ответственностью “Томскнефтехим” (ООО “Томскнефтехим”) (RU)
|
(54) УСТРОЙСТВО ДЛЯ УПРОЧНЯЮЩЕЙ ОБКАТКИ РОЛИКАМИ НАРУЖНЫХ ПОВЕРХНОСТЕЙ ДЕТАЛЕЙ
(57) Реферат:
Изобретение относится к области обработки металлов давлением и может быть использовано при обкатывании наружных поверхностей деталей. Устройство содержит корпус, два двухплечих рычага с обкатными головками, упрочняющие ролики и механизм регулирования усилия обкатки. Одна из обкатных головок имеет два упрочняющих ролика и закреплена на двухплечем рычаге с возможностью поворота на оси. При этом ее центр поворота расположен диаметрально противоположно центру вращения упрочняющего ролика обкатной головки, установленной на другом двухплечем рычаге. Исключается действие усилий на суппорт токарного станка и деталь, повышается качество поверхности. 6 ил.
Изобретение относится к устройствам для упрочняющей обработки поверхностей деталей методом поверхностной пластической деформации путем обкатывания поверхностей деталей роликами для создания внутренних остаточных напряжений сжатия, в частности для обкатывания наружных поверхностей различной формы – цилиндр, конус, галтель, впадина резьбы и т.д.
Известны однороликовые универсальные приспособления к токарным станкам, предназначенные для обкатки деталей различных форм и размеров, содержащие роликовую головку с обкатным роликом и державку, состоящую из корпуса, штока и пружины (ГОСТ 16339-70-16345-70).
Недостатком приспособления такой конструкции является то, что усилие обкатки, действующее на ролик приспособления, передается на суппорт токарного станка и при больших усилиях обкатывания обкатка становится невозможна из-за недостаточной прочности и жесткости самого суппорта токарного станка.
Известно приспособление с двумя роликами для упрочнения обкаткой рабочей поверхности штоков на токарном станке, приспособление крепится на поворотной части суппорта и содержит ползун, стойки с обкатными роликами и перемещаемые винтом с правой и левой резьбой (Дуров B.C., Рахмилевич З.З., Черняк Я.С. Эксплуатация и ремонт компрессоров и насосов. – М., Химия, 1980, стр.137-140).
Основным недостатком такого приспособления является необходимость модернизации токарного станка, после чего он становится специализированным на выполнение только определенных технологических операций.
Наиболее близким к предлагаемому изобретению является устройство для выглаживающей и упрочняющей обработки наружных цилиндрических поверхностей (SU 445565, В24В 39/04, 1974). Приспособление крепится на суппорте токарного станка и содержит два диаметрально противоположно расположенных ролика, расположенных в обкатных головках, установленных с возможностью поворота в двух взаимно перпендикулярных плоскостях в рычагах, каждый из которых выполнен из двух частей, соединенных резьбовой втулкой, а между осями поворота рычагов в корпусе устройства расположена штанга, несущая подпружиненную скобу, обеспечивающую центрирование роликов относительно детали. Другие концы рычагов соединены с механизмом регулирования усилия обкатки, при этом двухплечие рычаги выполнены с возможностью изменения длины плеч для обеспечения регулирования усилия обкатки.
Недостатком устройства такой конструкции является то, что усилие от образовавшихся волн пластически деформированного металла впереди упрочняющих роликов в направлении обкатывания полностью передаются на суппорт токарного станка и на обрабатываемую деталь и при больших усилиях обкатывания обкатка становится невозможной из-за недостаточной прочности и жесткости самого суппорта токарного станка и недостаточной жесткости обрабатываемой детали. Недостаточная жесткость системы станок-приспособление-инструмент-деталь (СПИД) не позволяет получить необходимую точность детали, шероховатость ее поверхности и достаточную глубину упрочненного слоя.
Изобретение направлено на исключение действия усилий на суппорт токарного станка и на обрабатываемую деталь от образующихся волн пластически деформированного металла впереди упрочняющих роликов в направлении обкатывания, повышение жесткости системы станок-приспособление-инструмент-деталь (СПИД), повышения точности и улучшения качества обрабатываемой поверхности детали.
Указанная задача решается за счет того, что устройство для упрочняющей обкатки роликами наружных поверхностей деталей содержит корпус, два двухплечих рычага с обкатными головками, упрочняющие ролики и механизм регулирования усилия обкатки, при этом одна из обкатных головок имеет два упрочняющих ролика и закреплена на двухплечем рычаге с возможностью поворота на оси, центр которой расположен диаметрально противоположно центру оси вращения упрочняющего ролика обкатной головки, установленной на другом двухплечем рычаге.
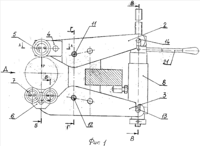
На фиг.1 показан общий вид устройства для упрочняющей обкатки роликами наружных поверхностей деталей с частичным разрезом;
На фиг.2 – вид Д на фиг.1;
На фиг.3 – разрез А-А на фиг.1;
На фиг.4 – разрез Б-Б на фиг.1;
На фиг.5 – разрез В-В на фиг.1;
На фиг.6 – разрез Г-Г на фиг.1.
Устройство для упрочняющей обкатки роликами наружных поверхностей деталей состоит из корпуса 1, двухплечих рычагов 2 и 3, обкатной головки 4 с упрочняющими сменным роликом 5, обкатной головки 6 с упрочняющими сменными роликами 7 и механизма регулирования усилия обкатки 8.
В поворотных двухплечих рычагах 2 и 3 выполнены отверстия для крепления обкатных головок 4 и 6 осями 9 и 10 в соответствии с фиг.3 и 4 и отверстия под установку осей 11 и 12 (фиг.6) для крепления двухплечих рычагов 2 и 3 в корпусе 1 с возможностью поворота, а также пазы для установки механизма регулирования усилия обкатки 8 ответными цапфами 13 и 14 к двухплечим рычагам 2 и 3.
Механизм регулирования усилия обкатки 8 в соответствии с фиг.5 состоит из корпуса 15 с цапфами 13, внутри которого установлена пружина 16, шток 17 с двумя резьбовыми концами, резьбовой гайки 18, установленной в стакане 19 с цапфами 14 для регулирования усилия обкатки, и резьбовой гайки 20 для крепления штока 17 в корпусе 15. Для вращения гайки 18 в комплекте устройства имеется рукоятка 21.
Для крепления устройства в резцедержателе токарного станка в соответствии с фиг.6 корпус 1 имеет шип 22.
Устройство для упрочняющей обкатки роликами наружных поверхностей деталей работает следующим образом.
На шпиндели обкатных головок 4 и 6 устанавливаются и крепятся упрочняющие сменные ролики 5 и 7 в зависимости от вида обрабатываемой поверхности деталей – цилиндр, конус, галтель, впадина резьбы и т.д.
Устройство со снятым механизмом регулирования усилия обкатки 8 устанавливается и крепится в суппорте токарного станка за шип 22, выполненный на корпусе 1.
Перемещением суппорта токарного станка подводят обкатные головки 4 и 6 к обрабатываемой детали и устанавливают так, чтобы ось, проходящая через центр оси вращения упрочняющего ролика 5 обкатной головки 4, и центр оси поворота обкатной головки 6, совпали с центром обрабатываемой детали в соответствии с фиг.1.
Механизм регулирования усилия обкатки 8 цапфами 13 на корпусе 15 устанавливают в пазы рычага 3 и вращением гайки 18 рукояткой 21 подводят цапфы 14 стакана 20 в паз рычага 2 до касания в верхнюю поверхность паза. Дальнейшим вращением гайки 18 поворачивают рычаги 2 и 3 до момента касания упрочняющих роликов (5, 7) обкатываемой наружной поверхности детали и настраивают необходимое усилие обкатывания.
Включают вращение обрабатываемой детали и продольное перемещение суппорта токарного станка. Упрочняющие ролики 5 и 7 вращаются от вращения обрабатываемой детали и производят упрочняющую обработку наружной поверхности детали.
Наличие в устройстве двух двухплечих рычагов, установленных в корпусе на осях с возможностью поворота рычагов относительно осей, на одних концах которых закреплены обкатные головки со сменными упрочняющими роликами, где одна из обкатных головок имеет два упрочняющих ролика и установлена на рычаге на оси с возможностью поворота, а к другим концам рычагов осями присоединен механизм регулирования усилия обкатки, обеспечивают замыкание усилия прижатия роликов на обрабатываемую деталь и корпус устройства, а действие усилий от образующихся волн пластически деформированного металла впереди упрочняющих роликов в направлении обкатывания замыкается на обкатной головке, имеющей два упрочняющих ролика, и обрабатываемой детали и тем самым не передаются усилия обкатки на суппорт токарного станка.
Наличие в устройстве, а именно в двухплечих рычагах, нескольких отверстий для их крепления в корпусе устройства на осях с возможностью поворота рычагов относительно этих осей обеспечивает расширение диапазона регулирования усилия обкатки за счет изменения длины плеч двухплечих рычагов.
Наличие шипа на корпусе устройства обеспечивает крепление устройства в резцедержателе токарного станка.
Технический результат, обеспечиваемый предлагаемым устройством для упрочняющей обкатки роликами наружных поверхностей деталей, выражается в повышении жесткости системы станок-приспособление-инструмент-деталь (СПИД), за счет чего повышается производительность обработки (повышение режимов обкатки), повышается точность и улучшается качество обрабатываемой поверхности, увеличивается глубина упрочненного слоя детали.
Предлагаемое изобретение соответствует критерию «промышленная применимость» и используется для упрочняющей обработки поверхностей деталей методом поверхностной пластической деформации, путем обкатывания поверхностей деталей упрочняющими роликами для создания внутренних остаточных напряжений сжатия, в частности для обкатывания наружных поверхностей различной формы – цилиндр, конус, галтель, впадина резьбы и т.д.
Формула изобретения
Устройство для упрочняющей обкатки роликами наружных поверхностей деталей, содержащее корпус, два двуплечих рычага с обкатными головками, упрочняющие ролики и механизм регулирования усилия обкатки, отличающееся тем, что одна из обкатных головок имеет два упрочняющих ролика и закреплена на двуплечем рычаге с возможностью поворота на оси, при этом ее центр поворота расположен диаметрально противоположно центру вращения упрочняющего ролика обкатной головки, установленной на другом двуплечем рычаге.
РИСУНКИ
|