|
|
(21), (22) Заявка: 2006118664/02, 29.05.2006
(24) Дата начала отсчета срока действия патента:
29.05.2006
(46) Опубликовано: 10.02.2008
(56) Список документов, цитированных в отчете о поиске:
КРЫНИЦА М.Н. «Оснастка для судовых монтажных работ». Справочник. – Ленинград «Судостроение», 1982, с.112-116. RU 144449 C1, 20.01.2000. GB 96281, 23.06.1965.
Адрес для переписки:
194100, Санкт-Петербург, ОАО “Конструкторское бюро специального машиностроения”
|
(72) Автор(ы):
Бородулько Геннадий Анатольевич (RU), Гуськов Владимир Дмитриевич (RU), Крюков Виталий Яковлевич (RU), Сивков Александр Николаевич (RU), Терентьев Сергей Иванович (RU), Ходасевич Константин Борисович (RU)
(73) Патентообладатель(и):
Открытое акционерное общество “Конструкторское бюро специального машиностроения” (RU)
|
(54) ПЕРЕНОСНЫЙ СТАНОК ДЛЯ ОБРАБОТКИ ПРЕИМУЩЕСТВЕННО ТОРЦЕВЫХ ПОВЕРХНОСТЕЙ КРУГЛЫХ ДЕТАЛЕЙ
(57) Реферат:
Переносный станок для обработки преимущественно торцевых поверхностей круглых деталей относится к оборудованию для вскрытия, например, металлобетонных контейнеров для транспортировки и/или хранения отработавшего ядерного топлива и содержит устанавливаемую на основании станину с опорами, выполненными с возможностью размещения между ними обрабатываемой детали. Опоры имеют центрирующие направляющие элементы, выполненные с возможностью взаимодействия с соответствующими ответными элементами основания, установленный на станине шпиндель с траверсой, смонтированный на станине привод вращения шпинделя, установленные на траверсе суппорты с резцедержателями. При этом каждый суппорт снабжен устройством для горизонтального перемещения суппорта относительно траверсы. Шпиндель с траверсой установлены с возможностью ограниченного вертикального перемещения с помощью механизма перемещения. Последний смонтирован на станине и кинематически связан с приводом вращения шпинделя. Шпиндель выполнен со сквозным отверстием, ось которого геометрически совмещена с осью вращения шпинделя. В упомянутом отверстии с возможностью вертикального перемещения и фиксации своего положения относительно станины установлен шток, нижний конец которого снабжен опорным элементом, выполненным с возможностью разъемного соединения с обрабатываемой деталью. В варианте выполнения станок снабжен съемными стружкоприемниками, каждый из которых разъемно установлен на траверсе в зоне соответствующего суппорта с резцедержателем с возможностью взаимодействия с торцевой поверхностью обрабатываемой детали в рабочем положении. Вместе с этим станок снабжен устройством для отсоса вредностей, содержащим воздуховод, который сообщен с установленными на траверсе воздухоприемниками. Упомянутый шток имеет канал, который выполняет роль концевого участка воздуховода, другие участки которого образованы каналами, выполненными в корпусе траверсы и сообщенными соответственно с воздухоприемниками и через вырезы в корпусе штока – с каналом штока. Шток установлен в станине с образованием выступающего наружу конца, который выполнен с возможностью сообщения канала штока с системой вытяжной вентиляции. В отверстии шпинделя шток установлен с помощью герметизирующего уплотнения. Каждый съемный стружкоприемник имеет коробчатое сечение, выполнен с входным раструбом, а внутренний объем съемного стружкоприемника через сетчатый фильтр сообщен с соответствующим воздухоприемником. Обеспечивает расширение функциональных возможностей переносного станка и повышение безопасности обращения с отработавшим ядерным топливом. 3 з.п. ф-лы, 4 ил.
Изобретение относится к машиностроению, в частности к оборудованию для вскрытия, например, металлобетонных контейнеров (МБК) для транспортировки и/или хранения отработавшего ядерного топлива (ОЯТ).
Известны МБК, выполненные в виде цилиндрической металлобетонной конструкции с двумя герметичными крышками: внешней и внутренней, расположенными одна над другой и установленными на едином основании (RU 2273903, G21F 9/14, G21F 5/008, 2006). Внешняя и внутренняя герметичные крышки образуют два контура (барьера) защиты. Кроме того, конструкция контейнера допускает возможность установки дополнительной защитной герметизирующей крышки (например, в виде листа), которую но периметру приваривают к упомянутому основанию. Установка дополнительной защитной герметизирующей крышки обусловлена возможностью снижения герметичности уплотнений упомянутых внешней и внутренней крышек в условиях длительного радиационного и термоциклического воздействия в процессе хранения ОЯТ и требованием обеспечения надежности и экологической безопасности способа сухого контейнерного хранения. При подготовке контейнера к разгрузке ОЯТ (например, при доставке на радиохимический комбинат с целью переработки ОЯТ или при перегрузке ОЯТ в другой контейнер) возникает необходимость удаления дополнительной защитной герметизирующей крышки. Эта операция может быть выполнена с помощью известных стационарных токарно-карусельных или расточных станков. Однако использование известных стационарных станков значительно усложняет технологию обращения с контейнерами и конструктивное исполнение хранилищ контейнеров. Кроме того, использование известных стационарных станков требует манипуляции с загруженным ОЯТ металлобетонным контейнером, что снижает безопасность обращения с ОЯТ.
Известен переносный станок для механической обработки по патенту RU 2144449 (В23В 41/00, 2000). Известный станок относится к станкам токарной группы и предназначен для механической обработки уплотнительных поверхностей, преимущественно в затворах конусов и на напорных элементах фланцевых задвижек и вентилей в период их ремонта. Станок содержит привод, планшайбу с кареткой и резцом, полую борштангу со шпинделем в ее внутренней полости. Шпиндель и борштанга соединены между собой кинематически: с одной стороны через планшайбу и каретку, несущую резец, с другой стороны через привод, шестерни, разъемные муфты, дифференциальный механизм. Станок имеет один привод для вращения борштанги с резцом и для радиального перемещения резца.
Однако известный станок имеет ограниченную область использования.
Наиболее близким по совокупности существенных признаков с заявляемым изобретением является переносный станок типа «Паук», который предназначен для обработки опорных поверхностей фундаментов круглой и кольцевой формы большого диаметра (Крыница М.Н. Оснастка для судовых монтажных работ: Справочник. – Л.: Судостроение, 1982, с.112-116). Известный переносный станок содержит устанавливаемую на фундаменте (основании) станину с опорами, выполненными с возможностью размещения между ними обрабатываемой детали, причем опоры имеют центрирующие направляющие элементы, выполненные с возможностью взаимодействия с соответствующими ответными элементами фундамента (основания), установленный на станине шпиндель с траверсой, смонтированный на станине привод вращения шпинделя, установленные на траверсе суппорты с резцедержателями, при этом каждый суппорт снабжен устройством для горизонтального перемещения суппорта относительно траверсы.
Однако известный переносный станок в случае его использования, например, для отрезки дополнительной наружной защитной герметизирующей крышки МБК не предполагает возможности фиксации отрезаемой (вырезаемой) круглой части наружной защитной герметизирующей крышки. Вследствие этого вырезаемая (отрезаемая) круглая часть крышки может деформироваться и переместиться во внутрь верхней части корпуса МБК, что затрудняет удаление отрезанной части крышки. Вместе с этим операция, связанная с удалением отрезанной круглой части наружной защитной герметизирующей крышки, является радиационно-опасной для обслуживающего персонала. Кроме того, известный переносный станок не предполагает сбора образующейся в процессе резания стружки, которая может быть радиоактивной, а также может попасть внутрь корпуса МБК. Радиационную опасность также повышает и возможность выделения радиоактивных газообразных продуктов из-под вскрываемой крышки.
Задача, решаемая изобретением, заключается в создании переносного станка для срезки сварного шва наружной защитной герметизирующей крышки, например, металлобетонного контейнера для транспортировки и/или хранения отработавшего ядерного топлива, удаления отрезанной круглой части упомянутой крышки, а также позволяющего восстановить привалочный профиль основания корпуса МБК для приварки новой наружной защитной герметизирующей крышки и обеспечивающего повышение безопасности обращения с МБК.
Указанная задача решается благодаря тому, что в переносном станке для обработки преимущественно торцевых поверхностей круглых деталей, содержащем устанавливаемую на основание станину с опорами, выполненными с возможностью размещения между ними обрабатываемой детали, причем опоры имеют центрирующие направляющие элементы, выполненные с возможностью взаимодействия с соответствующими ответными элементами основания, установленный на станине шпиндель с траверсой, смонтированный на станине привод вращения шпинделя, установленные на траверсе суппорты с резцедержателями, при этом каждый суппорт снабжен устройством для горизонтального перемещения суппорта относительно траверсы, согласно изобретению шпиндель с траверсой установлены с возможностью ограниченного вертикального перемещения с помощью механизма перемещения, который смонтирован на станине и кинематически связан с приводом вращения шпинделя. Шпиндель выполнен со сквозным отверстием, ось которого геометрически совмещена с осью вращения шпинделя. В упомянутом отверстии с возможностью вертикального перемещения и фиксации своего положения относительно станины установлен шток, нижний конец которого снабжен опорным элементом, выполненным с возможностью разъемного соединения с обрабатываемой деталью.
Вместе с этим переносный станок снабжен устройством для отсоса вредностей, содержащим воздуховод, который сообщен с установленными на траверсе воздухоприемниками. При этом упомянутый шток имеет канал, который выполняет роль концевого участка воздуховода, другие участки которого образованы каналами, выполненными в корпусе траверсы и сообщенными соответственно с воздухоприемниками и через вырезы в корпусе штока – с каналом штока. Шток установлен в станине с образованием выступающего наружу конца, который выполнен с возможностью сообщения канала штока с системой вытяжной вентиляции. В отверстии шпинделя шток установлен с помощью герметизирующего уплотнения.
Кроме того, переносный станок снабжен съемными стружкоприемниками, каждый из которых разъемно установлен на траверсе в зоне соответствующего суппорта с резцедержателем с возможностью взаимодействия с торцевой поверхностью обрабатываемой детали в рабочем положении.
В последнем приведенном варианте выполнения переносный станок может быть снабжен устройством для отсоса вредностей, содержащим воздуховод, который сообщен с установленными на траверсе воздухоприемниками. При этом упомянутый шток имеет канал, который выполняет роль концевого участка воздуховода, другие участки которого образованы каналами, выполненными в корпусе траверсы и сообщенными соответственно с воздухоприемниками и через вырезы в корпусе штока с каналом штока. Шток установлен в станине с образованием выступающего наружу конца, который выполнен с возможностью сообщения канала штока с системой вытяжной вентиляции. В отверстии шпинделя шток установлен с помощью герметизирующего уплотнения. Каждый съемный стружкоприемник имеет коробчатое сечение, выполнен с входным раструбом, а внутренний объем съемного стружкоприемника через сетчатый фильтр сообщен с соответствующим воздухоприемником.
Технический результат использования изобретения состоит в том, что оно обеспечивает расширение функциональных возможностей переносного станка, а также повышение радиационной и экологической безопасности при вскрытии наружной защитной герметизирующей крышки контейнера с ОЯТ.
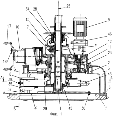
На фиг.1 схематично показан переносный станок для обработки преимущественно торцевых поверхностей круглых деталей, рабочее положение, общий вид, продольный разрез; на фиг.2 – опора станины и траверса с суппортами, воздухоприемниками и стружкоприемниками, поперечный разрез по А-А на фиг.1; на фиг.3 – траверса с суппортом, резцедержателем и стружкоприемником, разрез по Б-Б на фиг.1; на фиг.4 – кинематическая схема переносного станка.
В варианте осуществления изобретения переносный станок для обработки торцевых поверхностей круглых деталей содержит устанавливаемую на основании 1 корпуса, например, металлобетонного контейнера для транспортировки и/или хранения отработавшего ядерного топлива станину 2 с опорами 3, выполненными с возможностью размещения между ними обрабатываемой детали, а именно: дополнительной наружной защитной герметизирующей крышки 4, выполненной в виде круглого листа, который по периметру приварен к единому основанию защитных герметизирующих крышек МБК (на чертеже не показано). Опоры станины имеют центрирующие направляющие элементы 5 и 6, выполненные с возможностью взаимодействия с соответствующими ответными элементами основания 1. В варианте осуществления изобретения центрирующий направляющий элемент 5 представляет собой кольцо, взаимодействующее с торцевой опорной поверхностью основания 1 корпуса МБК и с цилиндрической поверхностью буртика «а», выполненного на торце упомянутого основания. Элементы 6 выполнены, например, в виде болтов, пропущенных через сквозные отверстия в кольце 5 и взаимодействующих с соответствующими резьбовыми отверстиями основания 1. Элементы 6 обеспечивают заданное угловое положение станины относительно продольной оси МБК, а также – фиксацию переносного станка относительно корпуса МБК в рабочем положении.
На станине 2 установлен шпиндель 7 с траверсой 8 и смонтирован привод 9 вращения шпинделя. Шпиндель с траверсой установлены с возможностью ограниченного вертикального перемещения с помощью смонтированного на станине 2 механизма 10 перемещения. В варианте осуществления изобретения вертикальное перемещение шпинделя возможно в ручном или в автоматическом режимах. Механизм 10 перемещения кинематически связан с приводом 9 вращения шпинделя. В варианте выполнения изобретения привод 9 вращения шпинделя выполнен в виде мотор-редуктора. Вращение шпинделю сообщается через зубчатые колеса 11 и 12. В варианте осуществления изобретения в качестве мотор-редуктора используется мотор-редуктор, например, 2-RF 67DV 100L4 фирмы SEW EURODRIVE с асинхронным двигателем, с которым электрически соединен частотный преобразователь, например, «MOVITRAC МС 07». Использование мотор-редуктора совместно с частотным преобразователем обеспечивает возможность бесступенчатого регулирования числа оборотов шпинделя с режущим инструментом и, соответственно, скорости резания в достаточно широких пределах.
Вертикальное перемещение шпинделя осуществляется посредством вращения гайки 13, взаимодействующей с винтом 14, который шарнирно связан с одним из плеч рычага 15, другое плечо которого взаимодействует с корпусом шпинделя через вкладыш 16, установленный в выполненном в корпусе шпинделя кольцевом пазу «b». В ручном режиме вращение гайке 13 сообщается с помощью рукоятки (штурвала) 17. Для переключения в автоматический режим рукоятку 17 с помощью фиксатора 18 вводят в зацепление (связывают) с червячным колесом 19, вращение которому посредством червяка 20 и зубчатых колес 21 и 22 сообщается шпинделем 7. При ручном режиме перемещения шпинделя фиксатор 18 выводится из зацепления с червячным колесом 19 и, таким образом, рукоятка 17 отсоединяется от привода 9 вращения шпинделя 7.
В варианте осуществления изобретения с целью ограничения предельных нагрузок в кинематических цепях главного движения (вращение шпинделя) и движения подачи (осевое перемещение шпинделя) предусмотрены предохранительные муфты 23 и 24, которые срабатывают (т.е. разрывают соответствующие кинематические цепи) при возникновении в предохранительных муфтах крутящих моментов, превышающих допустимые значения.
Шпиндель 7 выполнен со сквозным отверстием «с», ось которого геометрически совмещена с осью 25 вращения шпинделя. В отверстии «с» с возможностью вертикального перемещения и фиксации своего положения относительно станины 2 установлен шток 26. Вертикальное перемещение штока осуществляется посредством пары винт-гайка, где винтом служит шток. Винт (шток) взаимодействует с закрепленной на станине 2 с возможностью вращения гайкой 27. Вращение гайке 27 сообщается с помощью элементов 28. Нижний конец штока 26 снабжен опорным элементом 29, выполненным с возможностью жесткого разъемного соединения, например, с помощью болтов 30 с обрабатываемой деталью 4 (т.е. с дополнительной наружной защитной герметизирующей крышкой МБК). Для обеспечения совмещения установленных на опорном элементе 29 болтов 30 с ответными резьбовыми отверстиями, предусмотренными на обрабатываемой детали 4, шток 26 установлен с возможностью поворота относительно оси 25. В случае необходимости поворот штока 26 осуществляется с помощью рукоятки 31, которая кинематически связана со штоком 26 посредством винтовой передачи 32, тяги 33 и рычага 34, соединенного с корпусом штока посредством «скользящей» шпонки (на чертеже не показано).
На траверсе 8 установлены суппорты 35 с резцедержателями 36. В варианте осуществления изобретения переносный станок оснащен, например, отрезными резцами 37, посредством которых от основания 1 корпуса МБК отрезают дополнительную наружную защитную герметизирующую крышку 4. В случае необходимости восстановления профиля привалочных (посадочных) поверхностей основания 1 корпуса МБК (например, перед приваркой на то же место новой наружной защитной герметизирующей крышки) станок может быть оснащен, например, подрезным резцом. Каждый суппорт 33 снабжен устройством 36 для горизонтального перемещения суппорта относительно траверсы 8 (по существу – устройством радиальной подачи). Устройство 35 включает ходовой винт 39, установленный в корпусе траверсы, взаимодействующий с соответствующей гайкой, закрепленной на суппорте (на чертеже не показано). Перемещение суппорта относительно траверсы осуществляется по Т-образным горизонтальным направляющим траверсы (на чертеже не показано).
Переносный станок снабжен съемными стружкоприемниками (стружкозаборниками) 40, каждый из которых разъемно установлен на траверсе 8 в зоне соответствующего суппорта с резцедержателем. Съемные стружкоприемники установлены каждый с возможностью взаимодействия с торцевой поверхностью обрабатываемой детали 4. По направлению вращения шпинделя стружкоприемник установлен перед резцедержателем (т.е. перед режущей кромкой соответствующего резца). Съемный стружкоприемник имеет коробчатое сечение и выполнен с входным раструбом «d». Последний выполнен таким образом, что максимально приближен к режущей кромке резца, устанавливаемого в резцедержателе. В варианте осуществления изобретения стружкоприемник установлен с возможностью поворота на полой полуоси 41, выполненной, например, в виде перфорированного конического патрубка. В рабочем положении входной раструб «d» стружкоприемника 40 при помощи установленного на траверсе 8 подпружиненного рычага 42 постоянно поджимается к обрабатываемой детали 4 и «скользит» по последней. Подпружиненный рычаг 42 одновременно выполняет функцию фиксатора, удерживающего стружкоприемник от перемещений вдоль полой полуоси 41.
Переносный станок снабжен устройством для отсоса вредностей, содержащим воздуховод, который сообщен с установленными на траверсе 8 воздухоприемниками 43, 44. При этом шток 26 имеет канал «с», который выполняет роль концевого участка воздуховода. Другие участки воздуховода образованы каналами, выполненными в корпусе траверсы 8 и сообщенными соответственно с воздухоприемниками и через вырезы (отверстия) «f» в корпусе штока 26 – с каналом «е» штока. При этом шток 26 установлен в станине 2 с образованием выступающего наружу конца, который выполнен с возможностью сообщения канала «е» штока с системой вытяжной вентиляции (на чертеже не показано). В отверстии «с» шпинделя 7 шток 26 установлен с помощью герметизирующего уплотнения 45, 46.
В варианте выполнения съемные стружкоприемники 40 разъемно подсоединены к воздухоприемникам 44. При этом внутренний объем (внутренняя полость) каждого съемного стружкоприемника сообщается с соответствующим воздухоприемником через сетчатый фильтр 47, который в варианте осуществления изобретения закреплен на боковой поверхности перфорированного конического патрубка (полой полуоси) 41 воздухоприемника 44. При работе станка создаваемый системой вытяжной вентиляции направленный воздушный поток способствует перемещению стружки во внутреннюю полость стружкоприемника и удержанию стружки внутри нее.
Для автоматического ограничения вертикального перемещения шпинделя с траверсой переносный станок снабжен регулируемым упором 48, кинематически связанным с механизмом 10 перемещения и взаимодействующим с путевым выключателем 49.
Вместе с этим станок оснащен пультом управления (на чертеже не показано), который устанавливается на станине или может быть выполнен в виде отдельно расположенного устройства (компактного выносного модуля). Кроме того, на станине 2 предусмотрены такелажные элементы (на чертеже не показано).
Переносный станок для обработки торцевых поверхностей круглых деталей работает следующим образом.
В варианте осуществления изобретения переносный станок с помощью грузоподъемного средства (на чертеже не показано) устанавливают на основании 1 корпуса металлобетонного контейнера для транспортировки и/или хранения ОЯТ (например, на радиохимическом комбинате). При этом центрирующие направляющие элементы 5 и 6 обеспечивают заданное положение станины 2 относительно основания 1 корпуса МБК. Положение переносного станка относительно основания 1 фиксируют с помощью элементов (болтов) 6. Затем с помощью элементов 28 посредством гайки 27 шток 26 опускают до контакта опорного элемента 29 с обрабатываемой деталью 4 (т.е. с дополнительной наружной защитной герметизирующей крышкой МБК). Для обеспечения совмещения установленных на опорном элементе 29 болтов 30 с ответными резьбовыми отверстиями, предусмотренными на обрабатываемой детали 4, при необходимости осуществляют поворот штока 26 относительно оси 25 с помощью рукоятки 31. С помощью болтов 30 опорный элемент 29 штока скрепляют с обрабатываемой деталью 4. Далее посредством ходовых винтов 39 перемещают суппорты 35 с резцедержателями 36 и таким образом устанавливают на заданном радиусе закрепляемые в резцедержателях, например, отрезные резцы 37. При этом режущие кромки резцов устанавливают несколько выше поверхности обрабатываемой детали и смещают относительно друг друга по высоте.
После установки резцов в заданном положении включают привод 9 вращения шпинделя с траверсой. В ручном или автоматическом режиме с помощью механизма 10 перемещения осуществляется вертикальное перемещение (вертикальная подача) шпинделя 7 с траверсой 8. Отрезные резцы «врезаются» в металл дополнительной наружной защитной герметизирующей крышки 4 и производится отрезка (иными словами – «вскрытие» или «вырезка») наружной защитной герметизирующей крышки. В процессе отрезки (вырезки) наружной защитной герметизирующей крышки (обрабатываемой детали) 4 образующаяся стружка через входные раструбы «d» стружкоприемников 40 воздушным потоком «затягивается» во внутренние полости последних и удерживается внутри них с помощью сетчатых фильтров 47. Таким образом, в процессе резания обеспечивается механизированное удаление стружки. Вместе с этим в процессе резания осуществляется отсос вредностей из зоны обработки наружной защитной герметизирующей крышки. В варианте осуществления изобретения удаляемые вредности включают инертный радиоактивный газ криптон-85 и радиоактивные аэрозоли (цезий-137, кобальт-60). После отрезки (вырезки) происходит остановка привода 9 вращения (мотор-редуктора) шпинделя. Отключение мотор-редуктора может осуществляться автоматически или вручную. Затем с помощью механизма 10 перемещения шпиндель с траверсой возвращают в исходное положение.
Станину 2 переносного станка отсоединяют от основания 1 корпуса МБК. Переносный станок совместно с разъемно присоединенной к опорному элементу 29 отрезанной (вырезанной) круглой частью наружной защитной герметизирующей крышки 4 с помощью грузоподъемного средства (на чертеже не показано) снимают с основания 1 корпуса МБК. С траверсы 8 снимают стружкоприемники 40, внутренний объем которых заполнен стружкой. После вырезанную (отрезанную) часть наружной защитной герметизирующей крышки отделяют от опорного элемента 29 (по существу – от станка) и вместе со стружкой, извлеченной из съемных стружкоприемников 40, отправляют на утилизацию. Съемные стружкоприемники вновь устанавливают на полые полуоси 41.
При снятой наружной защитной герметизирующей крышке снимают другие (внутренние) радиационно-защитные крышки МБК, после чего производят выгрузку ОЯТ из МБК.
В случае повторного использования МБК (после проведения его дезактивации) посредством переносного станка аналогичным образом производится восстановление привалочного профиля основания 1 корпуса МБК для обеспечения возможности приварки новой наружной защитной герметизирующей крышки. Таким образом, МБК подготавливается к дальнейшему использованию.
Таким образом, благодаря особенности исполнения переносного станка для обработки торцевых поверхностей круглых деталей изобретение обеспечивает расширение функциональных возможностей переносного станка, а также – повышение радиационной и экологической безопасности при вскрытии наружной защитной герметизирующей крышки контейнера с ОЯТ. Вместе с этим использование изобретения обеспечивает повышение безопасности обращения с ОЯТ при использовании МБК.
Формула изобретения
1. Переносный станок для обработки преимущественно торцевых поверхностей круглых деталей, содержащий устанавливаемую на основании станину с опорами, выполненными с возможностью размещения между ними обрабатываемой детали, причем опоры имеют центрирующие направляющие элементы, выполненные с возможностью взаимодействия с соответствующими ответными элементами основания, установленный на станине шпиндель с траверсой, смонтированный на станине привод вращения шпинделя, установленные на траверсе суппорты с резцедержателями, при этом каждый суппорт снабжен устройством для горизонтального перемещения суппорта относительно траверсы, отличающийся тем, что шпиндель с траверсой установлены с возможностью ограниченного вертикального перемещения с помощью механизма перемещения, который смонтирован на станине и кинематически связан с приводом вращения шпинделя, причем шпиндель выполнен со сквозным отверстием, ось которого геометрически совмещена с осью вращения шпинделя, в упомянутом отверстии с возможностью вертикального перемещения и фиксации своего положения относительно станины установлен шток, нижний конец которого снабжен опорным элементом, выполненным с возможностью разъемного соединения с обрабатываемой деталью.
2. Переносный станок по п.1, отличающийся тем, что он снабжен устройством для отсоса вредностей при вскрытии контейнеров для транспортировки и/или хранения отработавшего ядерного топлива, содержащим воздуховод, который сообщен с установленными на траверсе воздухоприемниками, при этом упомянутый шток имеет канал, который выполняет роль концевого участка воздуховода, другие участки которого образованы каналами, выполненными в корпусе траверсы и сообщенными соответственно с воздухоприемниками и через вырезы в корпусе штока – с каналом штока, при этом шток установлен в станине с образованием выступающего наружу конца, канал которого выполнен с возможностью сообщения с системой вытяжной вентиляции, причем в отверстии шпинделя шток установлен с помощью герметизирующего уплотнения.
3. Переносный станок по п.1, отличающийся тем, что он снабжен съемными стружкоприемниками, каждый из которых разъемно установлен на траверсе в зоне соответствующего суппорта с резцедержателем с возможностью взаимодействия с торцевой поверхностью обрабатываемой детали в рабочем положении.
4. Переносный станок по п.3, отличающийся тем, что он снабжен устройством для отсоса вредностей, содержащим воздуховод, который сообщен с установленными на траверсе воздухоприемниками, при этом упомянутый шток имеет канал, который выполняет роль концевого участка воздуховода, другие участки которого образованы каналами, выполненными в корпусе траверсы и сообщенными соответственно с воздухоприемниками и через вырезы в корпусе штока – с каналом штока, при этом шток установлен в станине с образованием выступающего наружу конца, канал которого выполнен с возможностью сообщения с системой вытяжной вентиляции, причем в отверстии шпинделя шток установлен с помощью герметизирующего уплотнения, при этом каждый съемный стружкоприемник имеет коробчатое сечение, выполнен с входным раструбом, а внутренний объем съемного стружкоприемника через сетчатый фильтр сообщен с соответствующим воздухоприемником.
РИСУНКИ
|
|