|
|
(21), (22) Заявка: 2006119742/02, 05.06.2006
(24) Дата начала отсчета срока действия патента:
05.06.2006
(46) Опубликовано: 10.02.2008
(56) Список документов, цитированных в отчете о поиске:
SU 1360886 A1, 23.12.1987. SU 1256854 A1, 15.09.1986. SU 555985 A, 13.06.1977. SU 1057166 A, 30.11.1983. EP 0785038 A2, 23.07.1997.
Адрес для переписки:
423823, Республика Татарстан, г. Набережные Челны, а/я 156, ОАО “КАМАЗ-Металлургия”, Н.М. Ледковой
|
(72) Автор(ы):
Шейн Александр Михайлович (RU)
(73) Патентообладатель(и):
Открытое акционерное общество “КАМАЗ-Металлургия” (RU)
|
(54) УСТРОЙСТВО ДЛЯ ПОЛУЧЕНИЯ ОТЛИВОК С ПОДНУТРЕНИЯМИ ВО ВНУТРЕННЕЙ ПОЛОСТИ
(57) Реферат:
Изобретение относится к литейному производству, в частности к литью деталей из пластмасс, к литью по выплавляемым моделям, литью под давлением, литью в кокиль. Устройство содержит наклонный штырь, закрепленный в неподвижной полу форме, ползун, установленный в Т-образных пазах подвижной полуформы, клин и стержни, оформляющие поднутрения отливки. Клин оформляет часть внутренней полости отливки и размещен во внутреннем отверстии ползуна с возможностью продольного перемещения. Стержни установлены во внутреннем отверстии ползуна и имеют возможность перемещения перпендикулярно оси ползуна за счет направляющих винтов и упругих элементов. В верхнем положении ползун зафиксирован подпружиненным фиксатором. При закрытой пресс-форме положение ползуна с клином фиксируют замки, закрепленные в неподвижной полуформе. При раскрытии пресс-формы наклонный штырь выводит клин. Наклонная поверхность клина отходит от наклонных поверхностей стержней, упругие элементы отжимают стержни от поверхности ползуна и выводят их из поднутрений отливки. Под воздействием наклонного штыря клин по пазам продолжает движение вниз до упоров. Затем приходит в движение ползун, который отжимает подпружиненный фиксатор, выводя стержни из отливки. Обеспечивается снижение трудоемкости изготовления пресс-формы. 5 ил.
Настоящее изобретение относится к литейному производству, в частности к литью деталей из пластмасс, к литью по выплавляемым моделям, литью под давлением, литью в кокиль, а именно к устройствам для получения отливок с поднутрениями во внутренней полости.
Наиболее близким к заявляемому техническому решению является устройство для получения отливок с поднутрениями во внутренней полости, размещенное в пресс-форме получения литья под давлением (SU 1360886, 23.12.87), состоящее из клина, оформляющего часть внутренней полости отливки с поднутрениями, приводимого при раскрытии формы от наклонного штыря и установленного в держателе в направляющих в подвижной полуформе, на наклонных поверхностях которого выполнены пазы, и стержней, оформляющих поднутрения отливки, внутренняя наклонная поверхность которых контактирует с наклонными поверхностями клина и на ней выполнены направляющие выступы в форме, соответствующей форме пазов клина. Когда в процессе перемещения клина подвижные упоры, установленные в стержнях, упираются в конец паза клина, стержни перемещаются клином и выводятся из полости отливки.
В известном устройстве для получения отливок с поднутрениями во внутренней полости литьем под давлением при раскрытии пресс-формы клин, оформляющий часть внутренней полости отливки без поднутрения, наклонным штырем или гидроцилиндром выводится из полости отливки. При этом клин, перемещаясь, посредством направляющих держателя сводит к оси отливки до уменьшения их наружного размера до размера полости отливки, стержни, оформляющие поднутрения отливки, торцы которых упираются в подпружиненные упоры. В момент, когда наружный размер стержней уменьшится до размера выхода из полости отливки, упоры стержней входят в контакт с концом паза клина, а стержни выходят из контакта с подпружиненными упорами и, увлекаемые клином, выходят из полости отливки. Дальше отливка выталкивается из гнезда. При запирании пресс-формы клин, перемещаясь в полость отливки, двигает с собой стержни, которые торцами раздвигают скошенные поверхности торцов подпружиненных упоров и заходят в полость отливки.
Недостатками заявляемого устройства является то, что направляющие пазы сложны в изготовлении и не могут обеспечить достаточной точности фиксации стержней, кроме того, на стыке стержней и клина возможны зазоры, вызывающие подливы во внутренние пазы направляющих и подклинивание стержней.
Заявляемое техническое решение направлено на получение литьем деталей с поднутрениями во внутренней полости, а также на получение внутренних направляющих пазов без продольного уклона. В настоящее время эти детали получают сваркой из нескольких составных частей, в некоторых случаях – при помощи механической обработки грибковой фрезой для обработки Т-образных пазов или очень трудоемким процессом электроэрозии.
Для этого устройство для получения отливок с поднутрениями во внутренней полости, размещенное в пресс-форме и содержащее наклонный штырь, установленный в неподвижной полуформе, клин, оформляющий часть внутренней полости отливки, и стержни, оформляющие поднутрения отливки, внутренняя наклонная поверхность которых взаимодействует с наклонными поверхностями клина, дополнительно содержит ползун, установленный в Т-образных направляющих пазах подвижной полуформы и имеющий возможность перемещения по ним, с закрепленными в нем упорами, взаимодействующими с пазами, выполненными на поверхности клина, при этом клин установлен во внутреннем отверстии ползуна с возможностью продольного перемещения, а стержни установлены во внутреннем отверстии ползуна посредством направляющих винтов и упругих элементов с возможностью перемещения перпендикулярно оси ползуна.
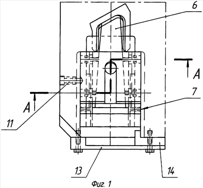
На фиг.1 изображен вид на устройство в плане, когда стержни, оформляющие пазы, введены в пазы отливки;
на фиг.2 изображен вид на устройство в плане, когда стержни, оформляющие пазы, выведены из пазов, но не выведены из отливки;
на фиг.3 – изображен вид на устройство в плане, когда стержни, оформляющие пазы, выведены из пазов и из отливки;
на фиг.4 – изображен вид на устройство в разрезе по оси, в состоянии, когда стержни введены в пазы отливки;
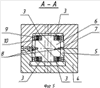
на фиг.5 – разрез А-А на фиг.1.
Устройство для получения отливок с поднутрениями во внутренней полости размещено в пресс-форме и содержит наклонный штырь 1, закрепленный в неподвижной полуформе 2, стержни 3, оформляющие поднутрения отливки, и установленный в подвижной полуформе 4 ползун 5, во внутреннем отверстии которого размещен клин 6.
Клин 6 оформляет часть внутренней полости отливки и имеет возможность продольного перемещения в отверстии ползуна 5.
Для установки ползуна 5 в подвижной полуформе 4 выполнены направляющие Т-образные пазы, по которым ползун 5 имеет возможность перемещения.
В ползуне 5 закреплены упоры 7, которые взаимодействуют с клином 6, для чего на направляющей поверхности клина 6 выполнены пазы 8. Упоры 7 служат для ограничения хода клина 6 во внутреннем отверстии ползуна 5.
Стержни 3 служат для оформления поднутрений в отливке. Они установлены во внутреннем отверстии ползуна 5 посредством направляющих винтов 9 и упругих элементов 10. Стержни 3 имеют возможность перемещения перпендикулярно оси ползуна 5 за счет направляющих винтов 9 и упругих элементов 10, в результате этого внутренние наклонные поверхности стержней 3 прижимаются к наклонным поверхностям клина 6, обеспечивая между ними постоянный контакт.
В исходном положении ползун 5 зафиксирован в верхнем положении подпружиненным фиксатором 11. При закрытой пресс-форме положение ползуна 5 с клином 6 фиксируют замки 12, закрепленные в неподвижной полу форме 2. В подвижной полуформе 4 закреплена опорная планка 13, ограничивающая ход клина 6, и упор 14, ограничивающий ход ползуна 5.
Устройство для получения отливок с поднутрениями во внутренней полости работает следующим образом.
При закрытой пресс-форме ползун 5 со стержнями 3 и клин 6 зафиксированы замком 12 и находятся в крайнем верхнем положении, то есть до упора в подвижную полуформу 4. При этом клин 6 и ползун 5 фиксируют положение стержней 3, оформляющих поднутрения отливки.
При раскрытии пресс-формы по разъему наклонный штырь 1 выводит клин 6 из отливки вниз, при этом наклонная поверхность клина 6 отходит от наклонных поверхностей стержней 3, позволяя упругим элементам 10 отжать стержни 3 от поверхности ползуна 5 в направлении, перпендикулярном оси ползуна 5, тем самым выводя их из оформленных поднутрений отливки. После выведения стержней 3 из поднутрений клин 6 под воздействием наклонного штыря 1 по пазам 8 продолжает движение вниз до упоров, после чего приходит в движение ползун 5 со стержнями 3. При этом ползун 5 отжимает подпружиненный фиксатор 11 и перемещается вниз по Т-образным пазам подвижной полуформы 4, выводя стержни 3 из отливки. В конце хода клин 6 упирается в опорную планку 13, а ползун 5 – в упор 14.
При закрытии пресс-формы наклонный штырь 1 перемещает вверх клин 6, который, в свою очередь, толкает ползун 5 со стержнями 3, постепенно вводя последние во внутреннюю полость отливки. Ползун 5 перемещается до упора в подвижную полу форму 4.
Далее клин 6 раздвигает стержни 3, которые, посредством направляющих винтов 9 и сжимающихся упругих элементов 10, перемещаются перпендикулярно оси ползуна 5 и занимают исходное положение. Происходит заливка металла.
Заявляемое устройство позволяет получать отливки с поднутрениями во внутренней полости, а также отливки с внутренними направляющими пазами без продольного уклона за счет стержней, раздвигающихся в направлении, перпендикулярном оси ползуна, вводящего стержни в полость отливки.
Формула изобретения
Устройство для получения отливок с поднутрениями во внутренней полости, размещенное в пресс-форме и содержащее наклонный штырь, установленный в неподвижной полуформе, клин, оформляющий часть внутренней полости отливки, и стержни, оформляющие поднутрения отливки, внутренняя наклонная поверхность которых имеет возможность взаимодействия с наклонными поверхностями клина, отличающееся тем, что оно содержит ползун, установленный в Т-образных направляющих пазах подвижной полуформы и имеющий возможность перемещения по ним, с закрепленными в нем упорами, взаимодействующими с пазами, выполненными на поверхности клина, при этом клин установлен во внутреннем отверстии ползуна с возможностью продольного перемещения, а стержни установлены во внутреннем отверстии ползуна с возможностью перемещения перпендикулярно оси ползуна посредством направляющих винтов и упругих элементов.
РИСУНКИ
|
|