|
|
(21), (22) Заявка: 2003125335/02, 15.08.2003
(24) Дата начала отсчета срока действия патента:
15.08.2003
(30) Конвенционный приоритет:
16.08.2002 DE 10237473.2
(43) Дата публикации заявки: 27.02.2005
(46) Опубликовано: 10.02.2008
(56) Список документов, цитированных в отчете о поиске:
US 5467810 С, 21.11.1995. JP 57209748 A, 23.12.1982. JP 57209749 A, 23.12.1982. SU 202484 A, 03.10.1974.
Адрес для переписки:
129010, Москва, ул. Б. Спасская, 25, стр.3, ООО “Юридическая фирма Городисский и Партнеры”, пат.пов. Ю.Д.Кузнецову, рег.№ 595
|
(72) Автор(ы):
ХУГЕНШЮТТ Герхард (DE), РОЛЬФ Томас (DE), КОЛБЕК Дитмар (DE), ВОБКЕР Ханс-Гюнтер (DE)
(73) Патентообладатель(и):
КМ ОЙРОПА МЕТАЛ АКЦИЕНГЕЗЕЛЛЬШАФТ (DE)
|
(54) ОХЛАЖДАЕМЫЙ ЖИДКОСТЬЮ КРИСТАЛЛИЗАТОР ДЛЯ НЕПРЕРЫВНОЙ РАЗЛИВКИ МЕТАЛЛОВ
(57) Реферат:
Изобретение относится к металлургии. Кристаллизатор для непрерывной разливки металлов, охлаждаемый жидкостью, содержит опорные пластины и закрепленные на них болтами пластины из меди или медного сплава. Головки болтов находятся на опорных пластинах со сторон, обратных тем, на которых закреплены медные пластины. Между головками болтов и поверхностями опорных плит установлены шарнирные устройства, обеспечивающие относительные перемещения пластин. Каждое шарнирное устройство содержит первый элемент, соответствующий головке болта, и второй элемент, соответствующий опорной пластине, с обращенными друг к другу поверхностями скольжения, между которыми расположен скользящий элемент. Обеспечивается равномерное, без напряжений удлинение пластины кристаллизатора при ее нагреве относительно опорной пластины. 13 з.п. ф-лы, 3 ил.
Изобретение относится к охлаждаемому жидкостью кристаллизатору для непрерывной разливки металлов с признаками ограничительной части п. 1 формулы изобретения.
Из DE 195 81 604 Т1 известна форма для непрерывной разливки металлов, в которой равномерная по толщине пластина кристаллизатора из меди или медного материала соединена с опорной пластиной из стали большим количеством болтов. Вследствие термически обусловленного удлинения пластин кристаллизатора в процессе разливки возникает, в частности для коротких болтов, значительное напряжение изгиба и растягивающее напряжение болтов. В зависимости от вида крепления болтов на пластине кристаллизатора в случае приваренных болтов может быть получен выход из строя сварных соединений или в случае резьбовых болтов – перенапряжение резьбы. В экстремальном случае в пластине кристаллизатора даже возникают трещины. Во избежание этого в DE 195 81 604 T1 предусмотрено соединение пластин кристаллизатора болтами с опорной пластиной в скользящем порядке друг с другом так, что пластина кристаллизатора становится подвижной относительно опорной пластины в трех измерениях. Это достигается путем применения скользящих крепежных средств и выбором бульших размеров сквозных отверстий в опорной пластине. Возможно боковое или двухмерное перемещение болтов и, следовательно, пластины кристаллизатора. Дополнительно к этой мере предлагаются дисковые пружинящие кольца, предпочтительно в виде стопки, для того, чтобы сохранять предварительное напряжение болта и при высоких температурах. При этом пружинящие кольца с точки зрения редукторов служат как шарнирная система с одной степенью свободы, а именно как гнездо.
Этому решению свойственен тот недостаток, что при использовании стальных пружинящих колец возникает значительное трение сцепления между пружинящими элементами. Вследствие большого количества поверхностей соприкосновения между пружинящими кольцами, а также между опорной пластиной и пластиной кристаллизатора силы трения сцепления суммируются так, что исключается относительное смещение пластины кристаллизатора без усилий трения сцепления.
Исходя из этого, в основу изобретения положена задача улучшения охлаждаемого жидкостью кристаллизатора для непрерывной разливки металлов в том отношении, чтобы трение сцепления между опорной пластиной и пластиной кристаллизатора было уменьшено и было возможно равномерное удлинение пластины кристаллизатора относительно опорной пластины.
Изобретение решает данную задачу признаками п. 1 формулы изобретения.
Существенным в изобретении является то, что между головкой болта и обратной стороной опорной пластины предусмотрено шарнирное устройство с элементами шарнира, каждый из которых относится к одной из указанных деталей, причем элементы шарнира имеют обращенные друг к другу поверхности скольжения, между которыми установлен элемент скольжения без возможности потери.
Шарнирные устройства в соответствии с изобретением представляют собой опорные узлы, обеспечивающие боковое движение болта в сквозном отверстии опорной пластины, выполненном с большим, чем диаметр болта, диаметром, и тем самым допускающие, по существу, параллельное относительное движение между пластиной кристаллизатора и опорной пластиной. Элементом скольжения в соответствии с изобретением является каждый элемент, который может уменьшить трение сцепления и/или трение скольжения между поверхностями скольжения.
Поверхность скольжения или элемент скольжения установлены неподвижно, по меньшей мере, опосредованно относительно опорной пластины, а соответствующая поверхность скольжения или соответствующий элемент шарнира совершает предпочтительно боковое относительно продольной оси болта относительное движение. В частности, элемент скольжения выполнен кольцевым и через него проходит болт и тем самым удерживается без возможности потери между шарнирными элементами. Элемент скольжения может быть установлен в виде отдельной детали между шарнирными элементами.
В соответствии с изобретением можно выполнить элемент скольжения в виде скользящего покрытия, которое неразрывно нанесено, по меньшей мере, на одной из поверхностей скольжения. Иными словами, только одна из поверхностей скольжения или также обе поверхности скольжения могут быть снабжены скользящим покрытием. Скользящее покрытие пригодно для того, чтобы уменьшить величину трения сцепления и/или величину трения скольжения между элементами шарнира и тем самым упростить относительное движение болта относительно опорной пластины.
Особенно целесообразными считаются скользящие покрытия, содержащие политетрафторэтилен (PTFE). Благодаря применению PTFE можно значительно уменьшить величины трения сцепления и трения скольжения по сравнению с металлическими поверхностями скольжения.
Преимущественно величина трения сцепления между поверхностями скольжения менее 0,1. В частности, при использовании содержащих PTFE поверхностей скольжения в рамках изобретения можно добиться величин трения сцепления между поверхностями скольжения менее 0,04. Указанные величины трения сцепления относятся соответственно к сухому трению между поверхностями скольжения. Разумеется, в рамках изобретения можно также предусмотреть дополнительные смазочные материалы между поверхностями скольжения для того, чтобы таким образом уменьшить трение. В частности, можно также применять твердые смазочные материалы. Под ними имеются в виду, например, соединения со слоисто-решетчатой структурой, например графит, сульфид молибдена, дихалкогениды, галогениды металлов, фторид графита, шестиугольные нитриты бора. К твердым смазочным материалам относятся оксидные и фторидные соединения переходных и щелочноземельных металлов, затем мягкие металлы, такие как свинец, а также полимеры, в частности, содержащие фтор пластмассы, например PTFE.
Наряду с относящимися к поверхностям шарнира отделимыми или неотделимыми элементами скольжения в виде твердых смазочных материалов, посредством которых поверхности скольжения направлены параллельно друг другу, можно также предусмотреть механические элементы скольжения для непараллельных друг другу поверхностей скольжения, с помощью которых обеспечивается относительное перемещение. Для этого в соответствии с изобретением предусмотрено, что поверхности скольжения шарнирных элементов выполнены вогнутыми и находятся в зацеплении с маятниковым диском с выполненной в форме шарового свода поверхностью. Маятниковый диск служит при этом в качестве элемента скольжения между поверхностями скольжения. Маятниковый диск выполнен кольцеобразным и имеет обращенные к поверхностям скольжения поверхности в форме шарового свода. При относительном смещении шарнирных элементов производится угловое смещение маятникового диска, который свободно перемещается в вогнутых поверхностях скольжения.
Поверхности скольжения могут быть выполнены в соответствии с изобретением в виде шайбы с конусным вогнутым торцом. В то время как шайба с конусным вогнутым торцом обеспечивает лучшую передачу усилия и направление маятникового диска, в шайбе с конусным вогнутым торцом в любом случае задано только линейное направление между маятниковым диском и элементом шарнира. Линейное касание имеет преимущество небольших поверхностей соприкосновения и при соответствующей паре материалов также и меньших сил трения.
Особенно благоприятно можно использовать разделенные надвое маятниковые диски, так как их можно приобрести как стандартные изделия. Подобные маятниковые диски обозначаются так же как сферические диски и имеют поверхность в форме шарового свода и кольцевую плоскую радиальную поверхность. Два из этих сферических дисков могут служить в качестве полудисков маятникового диска, причем полудиски могут быть обращены друг к другу своими радиальными поверхностями и использоваться направленными наружу поверхностями в форме шарового свода между элементами шарнира. Разумеется, в рамках изобретения можно также выполнить маятниковые диски цельными с направленной наружу поверхностью в форме шарового свода.
Существенным для надежного присоединения пластин кристаллизатора к опорной пластине является достаточное зажимное усилие болтов. Необходимая предварительная затяжка должна сохраняться при сильных тепловых колебаниях. Дополнительно следует учитывать, что при использовании маятникового диска должны производиться не только боковые смещения относительно продольной оси болта, но и в зависимости от положения маятникового диска также незначительные изменения в направлении продольной оси. Иными словами, расстояние между элементами шарнира изменяется в зависимости от положения маятникового диска. Поэтому для предела выносливости болтового соединения при скользящих покрытиях целесообразно, а при маятниковых дисках необходимо установить между головкой болта и обратной стороной опорной пластины, по меньшей мере, один пружинящий элемент. В качестве пружинящего элемента могут служить как пружинящие кольца, так и эластомерные материалы, например резина, которые могут быть предусмотрены как между головкой болта и первым элементом шарнира, так и между вторым элементом шарнира и опорной пластиной. Разумеется, также можно предусмотреть несколько пружинящих элементов в уложенном в стопку порядке для того, чтобы выравнить высокие обусловленные температурой изменения длины и сохранить предварительное зажимное усилие болтового соединения.
Наряду с поверхностями скольжения на участке устройства с болтом имеется в наличии также большое количество других поверхностей соприкосновения на обратной стороне пластины кристаллизатора и на обращенной к ней стороне опорной пластины. В зависимости от перпендикулярно приложенных болтами сил в стыке между пластиной кристаллизатора и опорной пластиной следует считаться со значительными силами трения, которым в соответствии с изобретением можно противодействовать тем, что установить средство скольжения между параллельно перемещающимися относительно друг друга поверхностями соприкосновения пластины кристаллизатора и опорной пластины. Хотя пара материалов сталь – медь уже имеет уменьшенную величину трения скольжения, она может быть еще более уменьшена дополнительными мерами. В качестве средства скольжения предпочтительно применяются при этом твердые смазочные материалы, неразделимо соединенные с соответствующими поверхностями соприкосновения пластины кристаллизатора и/или опорной пластины. Средствами скольжения являются предпочтительно покрытия. Это могут быть полимерные покрытия, в частности, на основе PTFE или также плоские элементы скольжения, например скользящие диски или скользящие кольца, с помощью которых может быть уменьшена величина трения сцепления между поверхностями соприкосновения, предпочтительно на величину менее 0,1.
В рамках изобретения, разумеется, только те участки кристаллизатора снабжены уменьшающими величину трения средствами скольжения или элементами скольжения, на которых требуется относительное перемещение. Для определенного удлинения пластины кристаллизатора может быть целесообразным жестко соединять болтами средний участок пластины кристаллизатора с опорной пластиной так, чтобы, исходя из данного участка, было возможно равномерное тепловое без напряжений удлинение пластины кристаллизатора.
Ниже изобретение поясняется подробнее со ссылкой на изображенный на чертеже пример выполнения.
Показано:
фиг. 1 – в разрезе частичный участок пластины кристаллизатора, соединенной с опорной пластиной болтом;
фиг. 2 – в увеличенном перспективном изображении болт по фиг. 1, включая шарнирное устройство, и
фиг. 3 – болт с другим вариантом выполнения шарнирного устройства в перспективном изображении.
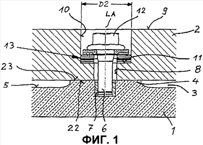
Фиг. 1 показывает в поперечном сечении участок присоединения пластины 1 кристаллизатора из меди или медного сплава, которая обратной стороной закреплена на опорной пластине 2. Опорная пластина 2 может быть как переходной пластиной, так и составной частью не показанной более подробно водяной рубашки.
В данном примере выполнения между пластиной 1 кристаллизатора и опорной пластиной 2 выполнен зазор 3 для охлаждения, по которому протекает средство охлаждения. Он проходит между расположенными на расстоянии друг от друга плоскими выступами 4, которые поднимаются из стороны 5 охлаждающего средства пластины 1 кристаллизатора в виде островков. В изображенном плоском выступе 4 в центре ввинчен болт 6. Болт 6 входит в резьбовую вставку 7 в плоском выступе 4. Болт 6 проходит с зазором через сквозное отверстие 8 в опорной пластине 2. Сквозное отверстие 8 расширено в направлении к обратной стороне 9 опорной пластины 2 в диаметре до цилиндрического отверстия 10 с углублением. На проходящем в радиальном направлении дне 11 отверстия 10 с углублением на опорную пластину 2 действует приложенное через установленную в отверстии 10 с углублением головку 12 болта зажимное усилие с включением шарнирного устройства 13. Шарнирное устройство представляет собой гнездо, обеспечивающее термически обусловленное смещение пластины 1 кристаллизатора поперечно продольной оси LA болта 6. В принципе относительное смещение становится возможным благодаря тому, что диаметры сквозного отверстия 8 и болта 6 имеют разные значения. Дополнительно шарнирное устройство служит для того, чтобы уменьшить трение сцепления между служащей в качестве неподвижной опоры опорной пластиной 2 и действующей в качестве плавающего подшипника пластины 1 кристаллизатора. В соответствии с этим шарнирное устройство 13 имеет первый относящийся к головке 12 болта верхний элемент 14 шарнира и относящийся к обратной стороне 9 и соответственно к дну 11 отверстия на обратной стороне 11 второй нижний элемент 15 шарнира, действующий как неподвижная опора. Элементы 14, 15 шарнира выполнены, каждый, в виде кольцевых дисков, в центре которых проходит болт 6. При этом диаметр D выполненного как плавающий подшипник верхнего элемента 14 шарнира меньше измеренного как наружный диаметр D1 нижнего элемента 15 шарнира. Вследствие этого возможно боковое смещение верхнего элемента 15 шарнира без бокового препятствия. Нижний элемент 15 шарнира по своему диаметру D1 согласован с диаметром D2 отверстия 10 с углублением так, что за исключением обычных допусков элемент 15 шарнира не смещается в сторону внутри отверстия 10 с углублением. Элемент 15 шарнира выполняет тем самым свою функцию в качестве неподвижной опоры.
Для уменьшения трения сцепления и трения скольжения обращенные друг к другу поверхности 16, 17 скольжения элементов 14, 15 скольжения согласованы между собой так, что величина трения сцепления меньше 0,1. Для этого в показанном на фиг. 2 примере выполнения изобретения верхний элемент 14 шарнира по своей поверхности 16 скольжения снабжен PTFE-покрытием, которое в качестве элемента скольжения 18 удерживается без возможности потери болтом 6 между поверхностями 16, 17 скольжения. Поверхность 17 скольжения нижнего элемента шарнира согласована с PTFE-покрытием, так, что ее поверхность имеет малую шероховатость. В качестве элемента 15 скольжения может применяться металлический диск с полированной, закаленной или шлифованной поверхностью.
Над элементом 14 шарнира установлен опорный диск 19 того же диаметра, который установлен под выполненным цельным на головке 12 болта радиальным буртиком 20 меньшего диаметра. Опорный диск 19 может быть по выбору установлен под головкой 12 болта для того, чтобы оптимально передавать зажимные усилия резьбового соединения на расположенное ниже шарнирное устройство 13. Опорный диск 19 может быть выполнен цельным с головкой 12 болта. Головка 12 болта может быть выполнена как цельной с болтом 6, то есть быть головкой болта, или надета в виде гайки на снабженный резьбой распорный палец. Сам болт 6 может быть соединен с замыканием по материалу или с геометрическим замыканием с пластиной 1 кристаллизатора.
В направлении к дну 11 отверстия 10 с углублением примыкает под нижним элементом 15 шарнира пружинящий элемент 21. Это может быть, например, диск из эластомерного материала, например резины. Можно также предусмотреть несколько пружинящих элементов 21 в сложенном в стопку порядке.
В качестве дополнительной меры для уменьшения трения между пластиной 1 кристаллизатора и опорной пластиной 2 предусмотрено снабжение поверхностей 22, 23 соприкосновения средством для скольжения. Поверхности соприкосновения 22, 23 в данном примере выполнения находятся на участке плоского выступа 4. В данном случае можно включить, например, плоский смазочный материал. Тем самым опорная пластина относительно пластины кристаллизатора на участке присоединения находится в соприкосновении исключительно через элементы скольжения и средства скольжения так, что задается эффективное уменьшение имеющейся величины трения сцепления.
Следующий пример выполнения шарнирного устройства показывает фиг. 3. В нем выполненный снова в виде винта 23 болт 6′ проходит посередине сквозь шарнирное устройство 24. По своей конструкции снизу вверх под головкой 12′ болта установлен сначала первый кольцевой пружинящий элемент 21′, за которым следует второй кольцевой пружинящий элемент 21″. За ним следует в качестве верхнего элемента 25 шарнира предпочтительно закаленная стальная шайба с открытым в плоскости чертежа вниз обработанным конусом. Элемент 25 шарнира действует в определенной степени как шайба с конусным вогнутым торцом. В обратной конфигурации нижний элемент 26 шарнира снабжен обращенным в направлении головки 12′ болта конусным гнездом. Это означает, что не видимые более подробно на фиг. 3 поверхности скольжения выполнены в форме боковой поверхности усеченного конуса. Между элементами 25, 26 шарнира установлен маятниковый диск 27, обращенные в направлении к элементам 25, 26 шарнира поверхности 28, 29 которого выполнены в форме шарового свода и находятся в линейном соприкосновении с шайбами с конусным вогнутым концом элементов 25, 26 шарнира.
В данном примере выполнения маятниковый диск 27 состоит из верхнего полудиска 29 и нижнего полудиска 30. Полудиски 29 и 30 выполнены идентичными и установлены перевернутыми своими плоскими радиальными поверхностями друг на друга. Тем, что маятниковый диск 27 установлен в шайбах с конусным вогнутым торцом элементов 25, 26 шарнира со свободным перемещением, может осуществляться относительное перемещение верхнего элемента 25 шарнира и тем самым болта 6′ относительно действующего в качестве неподвижной опоры нижнего элемента 26 шарнира. Относительное перемещение состоит при этом не только в выравнивании возможных угловых отклонений между элементами 25, 26 шарнира, но, в частности, также в боковом смещении поперечно к продольной оси резьбового болта 6′. Но при чисто боковом смещении вследствие заданной геометрической формы, однако, необходимо выравнивание по высоте внутри шарнирного устройства 24. Смещение по высоте верхнего элемента 25 шарнира относительно нижнего элемента 26 шарнира составляет только долю бокового смещения. Выяснилось, что при боковом смещении приблизительно на 3 мм смещение по высоте составляет около 0,1 мм. Смещение по высоте может быть компенсировано пружинящими элементами 21′, 21″ с сохранением предварительной затяжки.
Перечень позиций:
1 – пластина кристаллизатора
2 – опорная пластина
3 – зазор для охлаждающего средства
4 – плоский выступ пластины кристаллизатора
5 – сторона охлаждающего средства пластины кристаллизатора
6 – болт
6′ – болт
7 – резьбовая вставка в плоском выступе
8 – сквозное отверстие в опорной пластине
9 – обратная сторона опорной пластины
10 – отверстие с углублением
11 – дно отверстия
12 – головка болта 6
12′ – головка болта 6′
13 – шарнирное устройство
14 – элемент шарнира
15 – элемент шарнира
16 – поверхность скольжения
17 – поверхность скольжения
18 – элемент скольжения на поверхности скольжения
19 – опорный диск
20 – радиальный буртик на головке болта
21 – пружинящий элемент
21′ – пружинящий элемент
21” – пружинящий элемент
22 – поверхность соприкосновения опорной пластины
23 – поверхность соприкосновения пластины кристаллизатора
24 – шарнирное устройство
25 – элемент шарнира шарнирного устройства 24
26 – элемент шарнира шарнирного устройства 24
27 – маятниковый диск шарнирного устройства 24
28 – поверхность маятникового диска
29 – верхний полудиск маятникового диска
30 – нижний полудиск маятникового диска
D – диаметр элемента шарнира 14
D1 – диаметр элемента шарнира 15
D2 – диаметр отверстия с углублением
LA – продольная ось болта 6
Формула изобретения
1. Кристаллизатор для непрерывной разливки металлов, охлаждаемый жидкостью, содержащий пластины (1) из меди или медного сплава, удерживаемые с обратной стороны на опорных пластинах (2) с помощью большого количества болтов (6, 6′), имеющих головки (12, 12′), находящиеся на участке обратных сторон (9) опорных пластин (2), обращенных от пластин (1), установленные между головками (12, 12′) болтов и обратными сторонами (9, 11) шарнирные устройства (13, 24), позволяющие относительные движения между пластинами (1) и опорными пластинами (2), отличающийся тем, что каждое шарнирное устройство (13, 24) содержит первый элемент (14, 25), соответствующий головке (12, 12′) болта, и второй элемент (15, 26), соответствующий обратной стороне (9, 11) опорной пластины (2), с обращенными друг к другу поверхностями (16, 17) скольжения, причем между поверхностями (16, 17) скольжения элементов (14, 15; 25, 26) шарнира неотъемлемо установлен скользящий элемент (18, 27).
2. Кристаллизатор по п.1, отличающийся тем, что скользящим элементом (18) является скользящее покрытие, неразъемно соединенное, по меньшей мере, с одной из поверхностей (16) скольжения.
3. Кристаллизатор по п.2, отличающийся тем, что составной частью скользящего покрытия является политетрафторэтилен (PTFE).
4. Кристаллизатор по п.2 или 3, отличающийся тем, что величина ( 0) трения сцепления между поверхностями скольжения менее или равна 0,1.
5. Кристаллизатор по п.4, отличающийся тем, что величина ( 0) трения сцепления между поверхностями скольжения менее или равна 0,04.
6. Кристаллизатор по п.1, отличающийся тем, что поверхности скольжения элементов (25, 26) шарнира выполнены вогнутыми и находятся в зацеплении с маятниковым диском (27) с поверхностями (28) в форме шарового свода.
7. Кристаллизатор по п.6, отличающийся тем, что вогнутые поверхности скольжения выполнены в виде шайбы с конусным вогнутым торцом.
8. Кристаллизатор по п.6 или 7, отличающийся тем, что маятниковый диск (27) разделен на верхний полудиск (29) и нижний полудиск (30) с односторонней поверхностью (28) в форме шарового свода.
9. Кристаллизатор по одному из пп.6-8, отличающийся тем, что между головкой (12, 12′) болта и обратной стороной (9, 11) опорной пластины (2) установлен, по меньшей мере, один пружинящий элемент (21, 21′, 21″).
10. Кристаллизатор по одному из пп.1-9, отличающийся тем, что между параллельно перемещающимися относительно друг друга поверхностями (22, 23) соприкосновения пластины (1) кристаллизатора и опорной пластины (2) установлено средство скольжения.
11. Кристаллизатор по п.10, отличающийся тем, что средством скольжения является покрытие, неразделимо соединенное с соответствующими поверхностями (22, 23) соприкосновения пластины (1) кристаллизатора и/или опорной пластины (2).
12. Кристаллизатор по п.11, отличающийся тем, что составной частью скользящего покрытия является политетрафторэтилен (PTFE).
13. Кристаллизатор по одному из пп.10-12, отличающийся тем, что между перемещающимися параллельно друг другу поверхностями (22, 23) соприкосновения пластины (1) и опорной пластины (2) установлены плоские элементы скольжения.
14. Кристаллизатор по одному из пп.10-13, отличающийся тем, что величина ( 0) трения сцепления между поверхностями (22, 23) соприкосновения менее или равна 0,1.
РИСУНКИ
MM4A – Досрочное прекращение действия патента СССР или патента Российской Федерации на изобретение из-за неуплаты в установленный срок пошлины за поддержание патента в силе
Дата прекращения действия патента: 16.08.2008
Извещение опубликовано: 27.07.2010 БИ: 21/2010
|
|