|
(21), (22) Заявка: 2003125478/02, 18.08.2003
(24) Дата начала отсчета срока действия патента:
18.08.2003
(43) Дата публикации заявки: 27.02.2005
(46) Опубликовано: 10.02.2008
(56) Список документов, цитированных в отчете о поиске:
SU 1038798 А, 30.08.1983. SU 1068690 А, 23.01.1984. SU 1301612 A1, 07.04.1987. US 4159741 A, 03.07.1979. GB 1053149 А, 30.12.1966.
Адрес для переписки:
456208, Челябинская обл., г. Златоуст, Парковый пр-д, 3, ФГУП НИИ “Гермес”, Патентное бюро
|
(72) Автор(ы):
Двуреченский Александр Германович (RU), Курчавов Сергей Васильевич (RU)
(73) Патентообладатель(и):
Федеральное государственное унитарное предприятие “Научно-исследовательский институт “ГЕРМЕС” (RU)
|
(54) СПОСОБ ЗАКРЕПЛЕНИЯ ТРУБ В ТРУБНОЙ РЕШЕТКЕ
(57) Реферат:
Изобретение относится к энергомашиностроению и может быть использовано при изготовлении теплообменных аппаратов. Трубу, имеющую на наружной поверхности кольцевой уступ, устанавливают в отбортованное отверстие трубной решетки до упора уступа трубы во внутреннюю поверхность указанного отверстия. Поверхность уступа и внутренняя поверхность отверстия выполнены с образованием взаимосогласованного сопряжения. Трубу фиксируют от возможного перемещения и закрепляют в отверстии решетки. Для этого осуществляют позонное деформирование трубы и отбортовки отверстия с помощью пресс-шайбы. Уступ на наружной поверхности трубы может быть выполнен в виде зига тороидальной формы или неподвижно закрепленного кольца. В результате обеспечивается повышение технологичности способа закрепления с одновременным повышением надежности и герметичности полученного соединения. 2 з.п. ф-лы, 4 ил.
Изобретение относится к способам закрепления труб в отверстиях трубных решеток и может быть использовано, например, при изготовлении теплообменных аппаратов.
Наиболее простым является крепление труб в трубных решетках (досках) с помощью развальцовки, но опыт эксплуатации теплообменников, в частности регенераторов, показал в ряде случаев расстройства вальцовочных соединений, приводящих к потери герметичности.
В некоторых случаях вальцовочные соединения заменяют сварными и паяными. (В.Н.Земзин, Л.Д.Френкель. Сварные конструкции паровых и газовых турбин, М., ГНТИ машиностроительной литературы, 1962 г.), но соединение труб с трубной решеткой сваркой неприменимо, когда на трубной решетке или трубе до сварки размещают термонеустойчивые элементы (ТНЭ) типа тензодатчиков и т.п.
Наиболее близким к предлагаемому решению является способ закрепления труб в трубной решетке по патенту Российской Федерации №2078636, В21D 39/06 (опубл. 10.05.1997), в котором в отверстие трубной решетки, имеющей кольцевые канавки, устанавливают трубу с кольцевыми выступами в виде трапеции на наружной поверхности, фиксируют трубу, а затем закрепляют трубу в трубной решетке за счет приложения сжимающего усилия со стороны внутренней поверхности трубы.
К недостаткам данного способа относится невозможность его применения при закреплении труб в тонкостенных трубных решетках из-за их неизбежной деформации, а также необходимости обязательного выполнения кольцевых канавок в трубных решетках, что также неприемлемо при использовании тонкостенных трубных решеток.
Целые изобретения является повышение технологичности способа закрепления труб в трубной решетке с одновременным повышением надежности и герметичности полученного соединения, особенно в условиях резкого перепада температур и при использовании тонкостенных трубных решеток.
Поставленная цель достигается тем, что в предлагаемом способе на наружной поверхности трубы выполняют кольцевой уступ, затем осуществляют установку трубы в отбортованное отверстие трубной решетки, фиксацию трубы от возможного перемещения и последующее ее закрепление в отверстии трубной решетки путем приложения сжимающего усилия. Трубу устанавливают в отверстие трубной решетки до упора по выполненным взаимосогласованным сопряжениям на кольцевом уступе трубы и внутренней поверхности отбортованного отверстия. Закрепляют трубу путем позонного деформирования трубы и отбортованного отверстия с помощью пресс-шайбы. Уступ на наружной поверхности трубы выполняют в виде зига тороидальной формы или в виде неподвижно закрепленного кольца.
Отличительными признаками предложенного способа с их влиянием на технический результат являются:
– выполнение взаимосогласованных сопряжении на кольцевом уступе трубы и внутренней поверхности отбортованного отверстия позволяет обеспечить минимальный зазор между соединяемыми поверхностями, исключить вытекание герметика и обеспечить его полное затвердевание по всей поверхности, а это все в свою очередь ведет к повышению прочности и герметичности соединения при выполнении данного способа;
– применение пресс-шайбы при закреплении трубы в трубной решетке обеспечивает соединение внахлестку, которое более технологично и не ограничивает применение ТНЭ;
– наличие кольцевого уступа на наружной поверхности трубы дает возможность приложения усилия к трубной решетке вдоль оси трубы (напрессовкой пресс-шайбы) без деформации тонкостенной трубной решетки; в случае использования труб малых диаметров, из-за повышения трудоемкости изготовления кольцевого уступа методами пластического деформирования, его выполняют в виде неподвижно закрепленного кольца на наружной поверхности трубы.
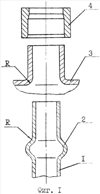
Предлагаемый способ поясняется чертежами, где на фиг.1 и 2 показано соединение трубы и трубной решетки соответственно до сборки и после осуществления данного способа, при этом на наружной поверхности трубы выполнен уступ в виде зига тороидальной формы, на фиг.3 и 4 – данное соединение соответственно до сборки и после осуществления способа при выполнении уступа в виде неподвижно закрепленного кольца.
Способ осуществляется следующим образом.
Предварительно на наружной поверхности трубы 1 методом пластического деформирования, например раскаткой, выполняют кольцевой уступ 2 в виде зига тороидальной формы – фиг.1, а в случае использования труб малого диаметра на наружной поверхности трубы 1 выполняют уступ 2 в виде неподвижно закрепленного кольца – фиг.3. На трубной решетке 3 выполняют отверстие с отбортовкой. На кольцевом уступе 2 трубы 1 и внутренней поверхности отбортованного отверстия выполняют взаимосогласованные сопряжения (одинакового радиуса R). Затем устанавливают трубу 1 в отверстие трубной решетки до упора в кольцевой уступ 2 с одновременным нанесением герметика в зазоры между соединяемыми поверхностями. Закрепление трубы в отверстии трубной решетки осуществляют путем позонного деформирования трубы 1 и отбортованного отверстия с помощью пресс-шайбы 4 – фиг.2, 4.
Предлагаемый способ закрепления труб в отверстиях трубной решетки опробован при изготовлении рекуперативного теплообменника, состоящего из медных труб диаметром 8 мм с толщиной стенки 1 мм, латунной трубной решетки толщиной 1,5 мм и стальных пресс-шайб.
Проверено два варианта. При первом варианте на наружной поверхности медной трубы диаметром 8 мм и толщиной 1 мм выполняли раскаткой кольцевой уступ в виде зига тороидальной формы, а на латунной трубной решетке – отбортованные отверстия. Взаимосогласованные сопряжения в месте контакта уступа и отбортованного отверстия выполнены радиусами, равными 3 мм, при втором варианте на наружную поверхность трубы устанавливали кольцо, выполняющего роль уступа, и фиксировали его анаэробным герметиком Анатерм-112, сопряжения также выполняли радиусом, равным 3 мм.
Затем и по первому и по второму варианту устанавливали трубу в отверстие трубной решетки до упора в кольцевой уступ, одновременно заполняя зазоры между соединяемыми поверхностями трубы, кольцевого уступа и трубной решетки герметиком Анатерм-112, и осуществляли напрессовку пресс-шайбы на отбортовку.
Опробование предлагаемого технического решения подтвердило повышение технологичности способа закрепления труб в трубной решетке при одновременном повышении прочности и герметичности соединения, полученного при реализации данного способа.
Формула изобретения
1. Способ закрепления труб в трубной решетке, включающий выполнение на наружной поверхности трубы кольцевого уступа, установку трубы в отбортованное отверстие трубной решетки, фиксацию трубы от возможного перемещения и последующее ее закрепление в отверстии трубной решетки путем приложения сжимающего усилия, отличающийся тем, что трубу устанавливают в отбортованное отверстие трубной решетки до упора уступа трубы во внутреннюю поверхность отбортованного отверстия, которые выполнены с образованием взаимосогласованного сопряжения, а закрепление трубы осуществляют путем позонного деформирования трубы и отбортовки отверстия с помощью пресс-шайбы.
2. Способ по п.1, отличающийся тем, что кольцевой уступ на наружной поверхности трубы выполняют в виде зига тороидальной формы.
3. Способ по п.1, отличающийся тем, что кольцевой уступ на наружной поверхности трубы выполняют в виде неподвижно закрепленного кольца.
РИСУНКИ
|