|
|
(21), (22) Заявка: 2006122092/15, 20.06.2006
(24) Дата начала отсчета срока действия патента:
20.06.2006
(46) Опубликовано: 10.02.2008
(56) Список документов, цитированных в отчете о поиске:
RU 2174452 C1, 10.10.2001. SU 1333420 A1, 30.08.1987. SU 1519781 A1, 07.11.1989. GB 865151 А, 12.04.1961. GB 582972 А, 03.12.1946. US 5771844 A, 30.06.1998.
Адрес для переписки:
650026, г.Кемерово, ул. Весенняя, 28, Кузбасский государственный технический университет, патентный отдел
|
(72) Автор(ы):
Богомолов Александр Романович (RU), Афанасьев Юрий Олегович (RU), Тихов Сергей Дмитриевич (RU), Кошелев Евгений Александрович (RU), Петрик Павел Трофимович (RU), Темникова Елена Юрьевна (RU)
(73) Патентообладатель(и):
Государственное образовательное учреждение высшего профессионального образования “Кузбасский государственный технический университет” (ГУ КузГТУ) (RU)
|
(54) ПЫЛЕУЛОВИТЕЛЬ МЕЛКОДИСПЕРСНОЙ ПЫЛИ
(57) Реферат:
Изобретение относится к области технологических процессов, связанных с приготовлением, применением, переработкой и транспортировкой пылящих сыпучих материалов, и предназначено для сухой очистки газодисперсных потоков от пыли, включая мелкодисперсную пыль с низкой плотностью, в коксохимической, угольной, химической, металлургической промышленности. Пылеуловитель содержит цилиндрический корпус с тангенциальным входом в виде плоского щелевого канала. По образующим внутренней поверхности корпуса на длине, равной высоте плоского входного участка, в направлении движения потока запыленного газа, установлены уступы. В области соединения нижней части корпуса и конусной его части укреплен усеченный конус. Нижняя конусная часть корпуса соединена с бункером пыли, оснащенным герметичным затвором. Установленный усеченный конус обеспечивает пониженное давление в области ниже уступов и позволяет транспортировать сепарированную мелкодисперсную пыль в бункер пыли вместе с пылью вторичного тока, сносящегося с внутренней поверхности усеченного конуса. Технический результат: повышение эффективности очистки. 2 з.п. ф-лы, 4 ил.
Изобретение относится к области технологических процессов, связанных с приготовлением, применением, переработкой и транспортировкой пылящих сыпучих материалов, и предназначено для сухой очистки газодисперсных потоков от мелкодисперсной пыли (включая мелкодисперсную пыль с низкой плотностью) в коксохимической, угольной, химической и металлургической промышленности.
Известно устройство для очистки воздуха от сухой средне- и крупнодисперсной пыли (Патент РФ №2102115, МПК 6 B01D 45/06, опубл. 20.01.1998 г.) «Струйно-инерционный пылеуловитель», содержащий щелевое сопло подачи газового потока, стенку камеры осаждения, размещенную вертикально напротив выходного сечения сопла, направляющий щиток. В этом устройстве запыленный воздух через плоское сопло подается тангенциально к выпуклой криволинейной поверхности. Образующаяся струя прилипает к этой поверхности и распространяется вдоль нее, согласно эффекту Коанда. Наиболее крупные частицы пыли под действием сил инерции выносятся из струи и попадают в бункер. Для очистки воздуха от более мелких частиц и удаления очищенного воздуха на пути струи устанавливается стенка и направляющий щиток с щелью между ними.
К причинам, препятствующим достижению указанного ниже технического результата, относятся использование в конструкции устройства сложной в изготовлении криволинейной поверхности, а также невозможность улавливания мелкодисперсной пыли.
Наиболее близким к заявляемому по технической сущности является пылеуловитель (Патент РФ №2174452, МПК 7 В04С 5/103, опубл. 10.10.2000), содержащий цилиндрический корпус, в верхней части которого тангенциально установлено щелевое сопло для ввода загрязненного газа. В нижней части корпуса соосно установлена обечайка, отделяющая пространство у стенок корпуса от центральной части. По образующим внутренней поверхности корпуса, в направлении входного потока загрязненного газа, выполнены уступы. Пространство внутри обечайки сообщено с полостью вертикальной цилиндрической камеры, расположенной над обечайкой. Полость вертикальной цилиндрической камеры через выходной патрубок сообщена трубой для отвода очищенного газа. К нижней части корпуса присоединен бункер для отвода пыли.
К причинам, препятствующим достижению указанного ниже технического результата, относятся использование в конструкции устройства:
– обечайки в форме цилиндра, установленной соосно в нижней части корпуса и отделяющей пространство внутри корпуса на центральную часть и пространство у стенок корпуса. Поскольку наличие радиального градиента давления обуславливает возникновение в циклонах вторичных циркуляционных течений, влияющих на эффективность пылеулавливания, то для частиц газа, находящихся в плоскости, удаленной от днища (конусной части) пылеуловителя, градиент давления уравновешивается центробежной силой. Вблизи же неподвижных поверхностей тангенциальная составляющая скорости газа вследствие трения уменьшается и, следовательно, уменьшается также центробежная сила. Так как радиальный градиент статического давления здесь такой же, как и на большом расстоянии от поверхностей, равновесие между силами статического давления и центробежной силой нарушается и возникает радиальное течение, направленное к оси вращения, т.е. радиальный или осевой сток. Из условия неразрывности этот сток вызывает осевое течение, направленное по внешней нормали к днищу, и подтекание газа вдоль образующих цилиндрической части пылеуловителя. Верхняя часть вторичного вихря устремляется по кратчайшему пути к устью выходного патрубка, а нижняя, распространяясь вдоль образующих корпуса пылеуловителя, формирует восходящий поток газа. Вторичное циркуляционное течение, обогащенное частицами мелкодисперсной пыли и оказавшееся у верхней кромки обечайки в форме цилиндра, на внутренней ее стенке образует вихревой поток, подобный течению на внутренней стенке цилиндрической части корпуса. В центральной части обечайки в форме цилиндра противотоком вихревому потоку движется восходящий поток, который представляет собой массу отделившихся внутренних слоев от основной массы опускающегося (нисходящего) вниз потока по конической части циклона. В результате равновесия сил этих двух встречных потоков во внутренней полости обечайки в форме цилиндра происходит удерживание определенной массы вращающейся мелкодисперсной пыли на внутренней стенке обечайки, которая постоянно выносится восходящим потоком в выходной патрубок, значительно снижая эффективность очистки;
– уступов, выполненных по образующим внутренней поверхности корпуса в направлении входного потока загрязненного газа. При истечении плоской струи из щелевого сопла параллельно твердой поверхности, под действием вязкости на границе между струей и окружающей средой возникает слой смешения, толщина которого растет с расстоянием. Вследствие этого расход в свободной струе также увеличивается. Таким образом осуществляется вовлечение (эжекция) окружающей жидкости (газа) в струйное течение. В случае ограниченного пространства близлежащая стенка препятствует эжекции. В результате под струей образуется зона разрежения (отрывная зона) с давлением Рв, меньшим, чем давление в окружающей среде Р . Конструкции уступов выполнены в предположении, что мелкодисперсная пыль, попавшая в зону разрежения, осаждается в пылесборник под действием гравитационных сил. Однако процесс осаждения мелкодисперсной пыли под действием гравитационных сил происходит, когда другие силы (массовые или поверхностные) уравновешиваются или отсутствуют. Такая конструкция уступов не обеспечивает равенства сил, а вследствие этого не достигается высокое качество очистки.
Авторами заявляемого технического решения были проведены экспериментальные исследования, подтверждающие эти выводы.
Визуализация показала наличие вихревой нити в области разрежения, которая представляла собой концентрированный вихрь пылевого потока, перемещающегося в направлении от бункера к входному патрубку, затем вихрь срывался, и пыль возвращалась в основной поток (запыленную струю).
На определенном участке вихревая нить сносилась в основной поток. Это явление находит следующее объяснение. В результате того что скорость основного закрученного потока ниже среза выходной трубы резко уменьшается 2< 1 из-за увеличения площади сечения циклона, следовательно, в этой зоне повышается давление и выполняется условие Р2>P1. Образовавшийся концентрированный вихрь в отрывной зоне за уступом переходит в вихревую нить, по которой частицы пыли движутся из области меньшего разрежения в зону большего, т.е. снизу вверх. Пылевой поток по вихревой нити проходит в результате инерционных эффектов в области постоянного разрежения (движущая сила – перепад давлений в этой зоне равен нулю) некоторое расстояние (в нашем случае 20 мм) и далее мелкодисперсная пыль сносится (выбрасывается) в область основного запыленного потока (сносящего потока) в виде вихревого шнура (торнадо). Таким образом, если концентрированный вихрь из частичек не перемещается в область сборника пыли, которым является бункер, то эта часть как бы улавливаемой в отрывной зоне пыли участвует многократно в процессе, т.е. происходит циркуляция пыли. Визуализация описанного процесса с помощью быстродействующих средств наблюдения показала, что частицы пыли перемещаются в отрывной зоне со скоростью 3-10 м/с в направлении снизу вверх. Экспериментальные исследования, проведенные нами, показали, что в устройстве, включающем в себя уступы и обечайку, как в патенте-прототипе, не может быть достигнуто указанное техническое решение, направленное на улавливание мелкодисперсной пыли с высокой эффективностью.
Задачей изобретения является повышение эффективности пылеулавливания из запыленных газовых потоков мелкодисперсных частиц, включая мелкодисперсные частицы с низкой кажущейся плотностью.
Указанная задача достигается тем, что в пылеуловителе мелкодисперсной пыли, содержащем цилиндрический корпус, нижняя часть которого выполнена конусной, тангенциальный вход в виде плоского щелевого канала, уступы, выполненные по образующей внутренней поверхности корпуса, обечайку, выходной патрубок, согласно изобретению обечайка расположена в области соединения цилиндрической и конической частей корпуса и выполнена в виде усеченного конуса с центральным углом 6-10°, диаметр верхнего основания которого на 10% превышает диаметр выходного патрубка, а уступы выполнены в виде пластин, длинная сторона которых прикреплена к образующей внутренней поверхности цилиндрической части корпуса, а другая сторона является срезом уступов, причем длина уступов соотносится с длиной образующей внутренней поверхности цилиндрической части корпуса как l=(3/5-2/3)L,
где l – длина уступа, которая в предельном случае равна высоте плоского щелевого канала тангенциального входа, т.е. l=а;
L – длина образующей внутренней поверхности цилиндрической части корпуса;
а – высота плоского щелевого канала.
Указанная задача достигается также тем, что высота уступа Н равна от 1/4 до 1/3 расстояния h, образованного наружной стенкой выходного патрубка и срезом уступа.
Указанная задача достигается также тем, что отношение большей стороны плоского канала к меньшей равно а:b=10:1.
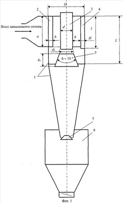
Изобретение поясняется чертежами, где на фиг.1 показан общий вид пылеуловителя мелкодисперсной пыли в разрезе с уступами и усеченным конусом; на фиг.2 показаны уступы, установленные на внутренней поверхности цилиндрического корпуса вдоль образующей; на фиг.3 – схема закрученного струйного течения потока; на фиг.4 – схема движения частиц пыли по вихревой нити в отрывной зоне за уступом.
Пылеуловитель мелкодисперсной пыли (фиг.1) состоит из цилиндрического корпуса 1, нижняя часть которого выполнена конусной. В верхней части корпуса 1 установлен плоский канал тангенциального входа 2 и выходной патрубок 3. По образующей на внутренней поверхности цилиндрической части корпуса 1 выполнены уступы 4. В области соединения нижней части корпуса 1 и конусной его части установлен усеченный конус 5 с центральным углом 6-10°, диаметром верхнего основания d1, на 10% превышающим диаметр d выходного патрубка 3, т.е. d1=1,1d и высотой h1 8/10 диаметра верхнего основания, т.е. h1=0,8d1. Корпус 1 соединен с бункером пыли 6 через конусную часть корпуса 1 пылеуловителя мелкодисперсной пыли. В нижней конусной части корпуса 1 установлена тарелка 7.
Устройство работает следующим образом. Запыленный газовый поток вводят тангенциально (фиг.2) в верхнюю цилиндрическую часть корпуса 1 пылеуловителя мелкодисперсной пыли через плоский канал тангенциального входа 2. Сформировавшийся здесь вращающийся поток опускается по кольцевому пространству, образуемому внутренней поверхностью цилиндрической части корпуса 1 пылеуловителя мелкодисперсной пыли с выполненными уступами 4 и выходным патрубком 3, в конусную часть корпуса 1, а затем, продолжая вращаться, выходит из пылеуловителя мелкодисперсной пыли через выходной патрубок 3. Аэродинамические силы искривляют траектории частиц. Те из частиц, масса которых достаточно велика, успевают достигнуть стенок пылеуловителя, т.е. отделяются от потока. Под влиянием силы тяжести (касается крупных частиц) и увлекающего действия осевого течения, отделившиеся частицы через тарелку 7 опускаются в бункер пыли 6, где оседают. Для мелкодисперсной фракции пыли, которая находится в потоке газа, по пути движения потока выполнены уступы 4. Из-за действия центробежных сил струя газодисперсного потока искривляется и присоединяется к стенке. Как следствие, происходит разделение частиц пыли и газа. Мелкодисперсная пыль сепарируется в зону пониженного давления, где образуется вихрь. Пыль, сконцентрированная в зоне разрежения, движется по направлению к бункеру 6 под действием перепада давления, которое создается усеченным конусом 5, установленным в области соединения цилиндрической и конусной части корпуса 1.
Установка усеченного конуса 5 позволяет получить скорости вращающегося основного газопылевого потока ниже уступов 4 большие, чем в зоне уступов 4, тем самым давление под уступами 4 будет меньше, чем в области уступов 4. Это обстоятельство позволяет сепарированным частицам мелкодисперсной пыли, находящимся в области концентрированного завихренного потока отрывной зоны перемещаться по спиралевидной вихревой нити (см. фиг.4) из области большего давления по всей длине уступов в зону меньшего давления ниже уступов и далее в бункер. Второе положительное действие установленного усеченного конуса 5 в области соединения цилиндрической части корпуса 1 и его конусной части проявляется в том, что вторичный ток запыленного потока газа, вращающийся во внутренней области этого усеченного конуса 5 с мелкодисперсной пылью, сносится вниз (в направлении бункера 6) по расширяющейся поверхности конуса 5, захватывается основным запыленным потоком газа и движется по конусной части пылеуловителя в бункер пыли 6. Таким образом, мелкодисперсная пыль не выносится восходящим потоком в выходной патрубок, а улавливается и ссыпается в бункер пыли 6 через тарелку 7.
Уступ 4 имеет длину l меньше, чем длина образующей цилиндрического корпуса L и находится в пределах l=(3/5÷2/3)L. В предельном случае уступ имеет длину, равную высоте плоского канала входного участка, т.е. l=а.
Выполнение уступов 4 в виде пластин (фиг.3) позволяет получить зону разрежения большего (в сравнении с прототипом) размера для образования вихревой нити и движения пыли по ее траектории в направлении сборника пыли.
Высота Н уступа 4 определяется из условий наибольшего разрежения в отрывной зоне, а количество уступов 4 – количеством дуг, вписанных на длине окружности цилиндрической части корпуса 1, а длина каждой дуги определяется суммой расстояния от среза уступа 4 до точки присоединения разделяющей линии струи к внутренней стенке цилиндрической части корпуса 1.
Для эффективной очистки от мелкодисперсной пыли скорость запыленного потока газа входного участка должна быть не менее 17 м/с, а безразмерная скорость во входном участке в виде числа Рейнольдса, определяющего турбулентный режим истекающей струи, должна находиться не ниже чисел 4·104. Это дает приемлемые значения длины присоединения и среднего давления (разрежения) в зоне разрежения для случая истечения струи под углом к плоскости с последующим присоединением к ней же. Из сопоставления размерной и безразмерной скоростей, и принимая соотношение сторон плоского щелевого канала тангенциального входа a_b=10:1, находят эквивалентный диаметр и действительный размер щелевого канала исходя из заданной производительности пылеуловителя мелкодисперсной пыли по газу.
Заявляемый пылеуловитель мелкодисперсной пыли позволяет достичь высокой степени эффективности улавливания мелкодисперсной пыли с низкой кажущейся плотностью (по экспериментальным данным для пыли с дисперсией 2-4 и кажущейся плотностью 800-900 кг/м3 эффективность очистки составляет более 99%).
Формула изобретения
1. Пылеуловитель мелкодисперсной пыли, содержащий цилиндрический корпус, нижняя часть которого выполнена конусной, тангенциальный вход в виде плоского щелевого канала, уступы, выполненные по образующей внутренней поверхности корпуса, обечайку, выходной патрубок, отличающийся тем, что обечайка расположена в области соединения цилиндрической и конической частей корпуса и выполнена в виде усеченного конуса с центральным углом 6-10°, диаметр верхнего основания которого на 10% превышает диаметр выходного патрубка, а уступы выполнены в виде пластин, длинная сторона которых прикреплена к образующей внутренней поверхности цилиндрической части корпуса, а другая сторона является срезом уступов, причем длина уступов соотносится с длиной образующей внутренней поверхности цилиндрической части корпуса как l=(3/5÷2/3)L, где l – длина уступа, которая в предельном случае равна высоте плоского щелевого канала тангенциального входа, т.е. l= ; L – длина образующей внутренней поверхности цилиндрической части корпуса; – высота плоского щелевого канала.
2. Пылеуловитель мелкодисперсной пыли по п.1, отличающийся тем, что высота уступа Н равна от 1/4 до 1/3 расстояния h, образованного наружной стенкой выходного патрубка и срезом уступа.
3. Пылеуловитель мелкодисперсной пыли по любому из пп.1 и 2, отличающийся тем, что отношение большей стороны плоского канала к меньшей равно 10:1.
РИСУНКИ
MM4A – Досрочное прекращение действия патента СССР или патента Российской Федерации на изобретение из-за неуплаты в установленный срок пошлины за поддержание патента в силе
Дата прекращения действия патента: 21.06.2008
Извещение опубликовано: 20.06.2010 БИ: 17/2010
|
|