|
|
(21), (22) Заявка: 2002125937/12, 30.09.2002
(24) Дата начала отсчета срока действия патента:
30.09.2002
(30) Конвенционный приоритет:
01.10.2001 (пп.1-6) IT MI2001A002034
(43) Дата публикации заявки: 20.04.2004
(46) Опубликовано: 10.02.2008
(56) Список документов, цитированных в отчете о поиске:
ЕР 0660063 А2, 28.06.1995. SU 807029 А, 25.02.1981. US 3863713 А, 04.02.1975. SU 808828 А, 15.03.1981. RU 2080914 С1, 10.06.1997.
Адрес для переписки:
129010, Москва, ул. Б.Спасская, 25, стр.3, ООО”Юридическая фирма Городисский и Партнеры”, пат.пов. Г.Б. Егоровой
|
(72) Автор(ы):
МЕДЗЕДИМИ Васко (IT), БАРБЬЕРИ Лоренцо (IT), РОНКЬЕРИ Андреа (IT)
(73) Патентообладатель(и):
НУОВО ПИНЬОНЕ ХОЛДИНГ С.П.А. (IT)
|
(54) ХИМИЧЕСКИЙ РЕАКТОР ИЛИ ТЕПЛООБМЕННИК (ВАРИАНТЫ)
(57) Реферат:
Изобретение относится к химическому реактору или к теплообменнику с тонкой пластиной для труб, например нефтехимическому и нефтеочистительному реактору. Химический реактор или теплообменник содержит по меньшей мере одну трубу, имеющую ось трубы, тонкую пластину для труб, прикрепленную первой стороной к трубе и расположенную перпендикулярно трубе, камеру, образованную тонкой пластиной для труб, основанием, расположенным напротив второй стороны пластины, и соединяющей пластину и основание боковой секцией с образующими, параллельными оси трубы, и соединительный элемент, непосредственно соединенный с основанием и пластиной для труб и расположенный между ними и по оси трубы. В другом варианте выполнения химический реактор или теплообменник содержит трубу, имеющую ось трубы и стенку, тонкую пластину для трубы, прикрепленную к трубе перпендикулярно ее оси, камеру, образованную второй стороной тонкой пластины для труб, основанием камеры, расположенным противоположно тонкой пластине для труб, соединяющей пластину и основание боковой цилиндрической секцией с образующими, параллельными оси трубы, и соединительный элемент внутри трубы, непосредственно соединенный с основанием камеры и пластиной для труб и расположенный между ними по оси трубы и симметрично относительно оси трубы. Простое и функциональное устройство позволяет снизить стоимость сооружения, уменьшить вес, облегчает установку, а также надежно и безопасно после установки. 2 н. и 4 з.п. ф-лы, 2 ил.
Изобретение касается химического реактора или теплообменника с тонкой пластиной для труб, например нефтехимического и нефтеочистительного реактора.
Известен химический реактор, состоящий из крупногабаритных емкостей, внутри которых происходят химические реакции при высокой температуре и высоком давлении.
Внутри по существу цилиндрического корпуса такого химического реактора в основном имеется множество труб или пучков труб, которые выполняют различные функции, включая теплообмен между рабочими средами.
Эти пучки труб установлены и удерживаются в рабочем положении с помощью пластин, которые иногда могут иметь большую площадь поверхности.
Известен также теплообменник с пластиной для труб, которая соединена с камерой, при этом между пластиной для труб и основанием камеры расположены соединительные элементы (см., например, ЕР 0660063, F28F 9/02, 28.06.1995).
В настоящее время пластины для труб выполняют в виде одного изделия или в качестве альтернативы, в виде нескольких сваренных изделий, а затем их окончательно отделывают, например сверлят и/или подвергают механической обработке.
Пластины для труб обычно имеют такую толщину, которая позволяет им выдерживать прикладываемые нагрузки.
В случае использования химических реакторов, прежде всего, нагрузки, создаваемые массой, давлением или температурой, могут вырабатывать высокие уровни напряжений. Тогда необходимы пластины значительной толщины, которые иногда имеют предел технической возможности.
В частности, в таких случаях пластины могут также производиться с уменьшенной толщиной, но с добавлением элементов, которые используются для упрочнения самих пластин.
Известны различные способы упрочнения пластин для труб согласно уровню техники.
Также известны технические условия, которые регулируют критерии размеров для пластин и для их упрочнения.
В основном известные упрочняющие элементы состоят из армирующих ребер, которые привариваются к тонким пластинам для ограничения воздействий деформации и напряжений, которым подвергаются пластины.
Эти упрочняющие элементы являются дорогостоящими, и вследствие того, что их размер существенно уменьшает полезную площадь для внедрения труб на пластинах, требуется значительное увеличение диаметра самих труб и, следовательно, общего диаметра оборудования.
Задачей настоящего изобретения, таким образом, является создание такого химического реактора или теплообменника с тонкой пластиной для труб, который позволяет снизить стоимость его сооружения, а также устраняет указанные недостатки.
Другой задачей настоящего изобретения является создание такого химического реактора или теплообменника с тонкой пластиной для труб, который позволяет уменьшить вес самого реактора или теплообменника и облегчает его установку.
Следующей задачей настоящего изобретения является создание химического реактора или теплообменника с тонкой пластиной для труб, который после его установки является безопасным и надежным.
Другой задачей настоящего изобретения является создание химического реактора или теплообменника с тонкой пластиной для труб, который является особенно простым и функциональным.
Эта и другие задачи согласно изобретению достигаются путем создания химического реактора или теплообменника, содержащего по меньшей мере одну трубу, имеющую ось трубы; тонкую пластину для труб, прикрепленную первой стороной к трубе и расположенную перпендикулярно трубе; камеру, образованную тонкой пластиной для труб, основанием, расположенным напротив второй стороны пластины, и соединяющей пластину и основание боковой секцией с образующими, параллельными оси трубы, и соединительный элемент, непосредственно соединенный с основанием и пластиной для труб и расположенный между ними и по оси трубы.
Предпочтительно соединительный элемент является либо плоским участком, имеющим форму, подобную боковой секции камеры, либо цилиндрическим участком, имеющим форму, подобную боковой секции камеры.
Более предпочтительно соединительный элемент расположен внутри боковой секции камеры и симметрично относительно оси трубы, при этом ось перпендикулярна пластине.
Еще более предпочтительно соединительный элемент является цилиндром и расположен симметрично в осевом направлении относительно оси трубы.
Другим аспектом изобретения является химический реактор или теплообменник, содержащий трубу, имеющую ось трубы и стенку; тонкую пластину для трубы, прикрепленную к трубе перпендикулярно ее оси; камеру, образованную второй стороной тонкой пластины для труб, основанием камеры, расположенным противоположно тонкой пластине для труб, соединяющей пластину и основание боковой цилиндрической секцией с образующими, параллельными оси трубы, и соединительный элемент внутри трубы, непосредственно соединенный с основанием камеры и пластиной для труб и расположенный между ними по оси трубы и симметрично относительно оси трубы.
Дополнительные признаки и преимущества химического реактора или теплообменника с тонкой пластиной для труб, согласно настоящему изобретению, станут понятнее и очевиднее из нижеследующего описания, приведенного в виде примера, но не ограничивающего существа изобретения, со ссылками на прилагаемые схематические чертежи.
Фиг.1 является поперечным сечением устройства, используемого в основном в качестве химического реактора или теплообменника, которое показывает трубу, соединенную с пластиной, при этом пластина выполнена согласно известному уровню техники.
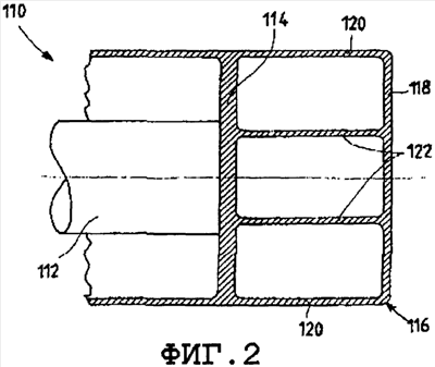
Фиг.2 является поперечным сечением устройства, используемого в основном в качестве химического реактора или теплообменника, на которой показана труба по фиг.1, соединенная с тонкой пластиной, при этом пластина выполнена с системой для передачи нагрузок согласно настоящему изобретению.
На фиг.1 показано устройство, используемое в основном в качестве химического реактора или теплообменника, обозначенное цифровой позицией 10 в целом согласно известному уровню техники.
В показанном примере устройство 10 содержит систему труб 12. Эта система, в предпочтительных примерах реализации, описанных с помощью иллюстративного примера, не ограничивающего сути изобретения, содержит трубы, расположенные одна над другой, и закреплена на пластине 14 для труб, расположенной перпендикулярно оси труб.
Камера 16, которая служит распределительным устройством жидкотекучей среды, соединена с пластиной 14 для труб. В показанном примере, эта камера 16 образована U-образной секцией с основанием 18, которое соединено с пластиной 14 для труб цилиндрической частью 20, с образующими, параллельными оси труб.
На фиг.2 показано устройство, используемое в основном в качестве химического реактора или теплообменника, в целом обозначенное цифровой позицией 110 согласно настоящему изобретению.
На этой фигуре элементы, которые являются такими же и/или эквивалентными тем, что показаны на фиг.1, имеют те же цифровые позиции с увеличением на 100.
Более конкретно, в показанном примере, устройство 110 содержит систему труб 112, которая показана схематически на фигуре. В предпочтительных примерах реализации, описанных с помощью иллюстративного примера, не ограничивающего сути изобретения, эта система 112 содержит трубы, расположенные одна над другой, и закреплена на пластине 114 для труб, расположенной перпендикулярно оси труб.
Камера 116, которая служит распределительным устройством жидкотекучей среды, соединена с пластиной 114. В примере, камера 116 образована U-образной секцией с основанием 118, которое соединено с пластиной 114 цилиндрической частью или боковой частью 120, с образующими, параллельными оси труб.
Кроме того, по сравнению с устройством 10 согласно известному уровню техники пластина 114 устройства 110 согласно изобретению соединена в основании 118 камеры 116 как цилиндрической частью 120, так и соединительными элементами 122, которые расположены внутри цилиндрической части 120.
На фиг.2 эти соединительные элементы 122 выполнены цилиндрическими или плоскими участками, имеющими форму, подобную боковой части 120. В примере показан один из этих элементов 122, расположенный по оси симметрично относительно оси трубы 112, хотя не исключаются другие конфигурации.
Работа устройства 110, используемого в основном как химический реактор или теплообменник, согласно изобретению, понятна из последующего описания со ссылкой на чертежи и вкратце заключается в следующем.
В известном уровне техники нагрузки передаются полностью устройством 10 через пластину 14 на цилиндрическую часть 20 камеры 16.
На фиг.2, однако, распределение нагрузок более эффективно.
Фактически, согласно настоящему изобретению, нагрузки передаются устройством 110 через пластину 114 как на цилиндрическую часть 120, так и на соединительные элементы 122.
Поэтому возможно использование более тонких пластин 114 для труб.
Предлагаемое описание определяет признаки устройства, используемого в основном в качестве химического реактора или теплообменника, с тонкой пластиной для труб, которое является предметом настоящего изобретения, а также соответствующие преимущества, которые заключаются в следующем:
уменьшении общего веса;
упрощении установки и удержании пучка труб;
снижении общей стоимости и более коротких сроков сооружения по сравнению с известным уровнем техники;
простом, надежном и безопасном применении.
Изобретение может применяться в химических реакторах, нефтехимических реакторах, нефтеочистительных реакторах, теплообменниках и вообще в устройствах под давлением типа пучка труб.
Наконец очевидно, что возможны многие модификации и варианты такого устройства, в основном используемого как химический реактор или теплообменник, с тонкой пластиной для труб, не выходящие за объем изобретения; кроме того, все элементы могут быть заменены технически эквивалентными элементами.
В работе, согласно техническим требованиям, могут использоваться любые материалы, формы и размеры.
Объем изобретения таким образом определяется прилагаемой формулой изобретения.
Формула изобретения
1. Химический реактор или теплообменник, содержащий:
по меньшей мере одну трубу, имеющую ось трубы;
тонкую пластину для труб, прикрепленную первой стороной к трубе и расположенную перпендикулярно трубе;
камеру, образованную тонкой пластиной для труб, основанием, расположенным напротив второй стороны пластины, и соединяющей пластину и основание боковой секцией с образующими, параллельными оси трубы, и
соединительный элемент, непосредственно соединенный с основанием и пластиной для труб и расположенный между ними и по оси трубы.
2. Химический реактор или теплообменник по п.1, в котором соединительный элемент является плоским участком, имеющим форму, подобную боковой секции камеры.
3. Химический реактор или теплообменник по п.1, в котором соединительный элемент является цилиндрическим участком, имеющим форму, подобную боковой секции камеры.
4. Химический реактор или теплообменник по п.1, в котором соединительный элемент расположен внутри боковой секции камеры и симметрично относительно оси трубы, при этом ось перпендикулярна пластине.
5. Химический реактор или теплообменник по п.4, в котором соединительный элемент является цилиндром и расположен симметрично в осевом направлении относительно оси трубы.
6. Химический реактор или теплообменник, содержащий:
трубу, имеющую ось трубы и стенку;
тонкую пластину для трубы, прикрепленную к трубе перпендикулярно ее оси;
камеру, образованную второй стороной тонкой пластины для труб, основанием камеры, расположенным противоположно тонкой пластине для труб, и соединяющей пластину и основание боковой цилиндрической секцией с образующими, параллельными оси трубы, и
соединительный элемент внутри трубы, непосредственно соединенный с основанием камеры и пластиной для труб и расположенный между ними по оси трубы и симметрично относительно оси трубы.
РИСУНКИ
|
|