|
|
(21), (22) Заявка: 2005102011/15, 23.06.2003
(24) Дата начала отсчета срока действия патента:
23.06.2003
(30) Конвенционный приоритет:
28.06.2002 SE 0202018-8
(43) Дата публикации заявки: 27.06.2005
(46) Опубликовано: 10.02.2008
(56) Список документов, цитированных в отчете о поиске:
US 5951160 А, 14.09.1999. RU 2033193 С1, 20.04.1995. WO 0183094 A1, 08.11.2001. RU 2003351 C1, 30.11.1993.
(85) Дата перевода заявки PCT на национальную фазу:
28.01.2005
(86) Заявка PCT:
SE 03/01070 (23.06.2003)
(87) Публикация PCT:
WO 2004/002615 (08.01.2004)
Адрес для переписки:
129010, Москва, ул. Б.Спасская, 25, стр.3, ООО “Юридическая фирма Городисский и Партнеры”, пат.пов. Г.Б. Егоровой, рег.№ 513
|
(72) Автор(ы):
ГРЕБИУС Стаффан (SE)
(73) Патентообладатель(и):
АСЕПТ МЕДИКАЛ АБ (SE)
|
(54) УСТРОЙСТВО ДЛЯ ПЕРЕМЕШИВАНИЯ И ПОДАЧИ КОСТНОГО ЦЕМЕНТА
(57) Реферат:
Изобретение относится к устройству одноразового использования для перемешивания и подачи пасты с высокой вязкостью. Устройство содержит цилиндр, в который подается паста, поршень, способный возвратно-поступательно перемещаться в цилиндре, шток поршня, перемещаемый и вращаемый в поршне и образующий средство перемешивания для пасты, подаваемой в цилиндр, запирающее средство для соединения поршня и штока поршня. Поршень перемещается в цилиндре посредством штока для осаждения пасты снаружи цилиндра. Устройство включает средство для стопорения штока к поршню посредством защемления, причем это средство обеспечивает стопорение штока к поршню в любом положении вдоль полной длины штока. Технический результат состоит в обеспечении перемешивания костного цемента с высокой вязкостью в вакууме и обеспечении возможности одноразового использования устройства. 9 з.п. ф-лы, 7 ил.
Это изобретение относится к устройству для перемешивания и подачи паст, которые требуют перемешивания перед подачей, и, более конкретно, к устройству одноразового использования, которое способно работать с пастами с высокой вязкостью, такими как, например, костный цемент.
Костный цемент используется, например, в связи с хирургическим замещением тазобедренного сустава. Костный цемент в основном состоит из акрилатного пластика, который является биосовместимым. В зависимости от использования, костный цемент имеет различные вязкостные характеристики. Для использования в связи с замещениями тазобедренного сустава вязкость часто довольно высокая, тогда как костный цемент, используемый, например, для усиления позвоночного диска, имеет низкую вязкость. Это изобретение главным образом относится к перемешиванию и подаче костных цементов с более высокой вязкостью, но оно также пригодно для подачи материала с низкой вязкостью.
Для упрощения, термин костный цемент будет использоваться везде в этом применении, хотя изобретение может быть использовано для любых других видов паст, которые требуют перемешивания перед подачей.
В настоящее время перемешивание ингредиентов костного цемента обычно выполняется в отдельном сосуде, причем перемешанный костный цемент размещается в аппликаторе для костного цемента, который в основном выполнен из нержавеющей стали. Этот способ имеет несколько серьезных недостатков:
1. Перемешивание костного цемента должно предпочтительно выполняться в вакууме, так как низкое внешнее давление уменьшает наличие газовых примесей в костном цементе, которые приводят к соединению с уменьшенной прочностью. Вакуумная обработка часто выполняется после того, как компоненты костного цемента были перемешаны. Применяя способ предшествующего уровня техники, перемешанный (и обработанный в вакууме) костный цемент должен быть размещен в аппликаторе, который увеличивает риск добавления газовых примесей в костный цемент.
2. Аппликатор обычно не является одноразовым, что делает необходимым разбирать аппликатор, чтобы почистить его и тщательно стерилизовать после использования. Дополнительно, аппликатор изнашивается со временем.
В патенте US-A-5951160 описан аппликатор для костного цемента, в котором используется шток поршня как средство перемешивания костного цемента. После того как было выполнено перемешивание, шток поршня отводится по направлению к поршню, причем два крыла на дистальном конце штока поршня пропускаются через щель в поршне для того, чтобы ввести их в его полость. Затем шток слегка поворачивается, при этом обеспечивается прикрепление штока поршня к поршню при помощи крыльев, находящихся в полости.
Это устройство согласно предшествующему уровню техники является простым, но имеет несколько серьезных недостатков:
1. Невозможно использовать устройство для костного цемента с высокой вязкостью, так как костный цемент с высокой вязкостью закупорит щель на поршне и сделает невозможным сцепление крыльев на штоке поршня с поршнем.
2. Перемешивание не может быть выполнено в вакууме, так как нет средства приостановки для поршня, которое предотвращает перемещение поршня в цилиндре посредством силы вакуума.
3. Качество перемешивания низкое, так как на конце штока поршня только два крыла.
Дополнительно, аппликатор согласно патенту US-A-5951160 не имеет средства, облегчающего вытеснение костного цемента из цилиндра, что означает, что устройство должно быть введено в устройство такого типа, которое обеспечит вытеснение костного цемента.
В патенте US-A-5398483 описано устройство и способ подачи костного цемента, где компоненты косного цемента содержатся разделенными в контейнере. Когда должен использоваться костный цемент, герметизация между отсеками контейнера открывается, чтобы обеспечить перемещение компонентов косного цемента в контейнере. После перемешивания контейнер размещается в пистолете аппликатора. Этот способ имеет один значительный недостаток: невозможно использовать любой вид добавочных компонентов (таких, например, как антибиотики), так как костный цемент поступает в заранее расфасованный, герметизированный контейнер.
Компания Cem-Vac Inc. продает на рынке комбинированное устройство, в котором поршень для вытеснения костного цемента расположен на одном конце цилиндра, а поршень для перемешивания костного цемента расположен на другом конце цилиндра. Компоненты костного цемента подаются в цилиндр через полый перемешивающий шток поршня. После завершения перемешивания устройство размещается в аппликаторе с рукояткой пистолетного типа, и полый шток поршня используется как сопло аппликатора.
В устройствах согласно предшествующему уровню техники, описанных выше, используется отдельный аппликатор с рукояткой пистолетного типа для применения требуемого давления на костный цемент.
Настоящее изобретение направлено на преодоление вышеупомянутых и других недостатков посредством обеспечения устройства, в котором костный цемент может быть перемешан в вакууме, включающего средство для облегчения подачи, и которое может быть выброшено после использования.
Задачей настоящего изобретения является обеспечение смесителя/аппликатора одноразового использования, в котором костный цемент перемешивается в вакууме и который обеспечивает работу с костным цементом с высокой вязкостью.
Согласно изобретению устройство для перемешивания и подачи пасты, такой как костный цемент, содержит цилиндр, в которой подается паста, поршень, способный возвратно-поступательно перемещаться в цилиндре, шток поршня, перемещаемый и вращаемый в поршне и образующий средство перемешивания для пасты, подаваемой в цилиндр, и запирающее средство для соединения поршня и штока поршня, чтобы обеспечить перемещение поршня в цилиндре посредством штока поршня для осаждения пасты снаружи цилиндра. При этом устройство включает средство для запирания штока поршня в поршне посредством средства защемления, причем запирающее средство обеспечивает стопорение штока к поршню в любом положении вдоль полной длины штока поршня.
Устройство согласно изобретению является устройством одноразового использования.
Предпочтительно поршень разделен на передний и задний элементы, вращаемые относительно друг друга.
Цилиндр является газонепроницаемым, что обеспечивает перемешивание пасты в вакууме.
Средство защемления в поршне включает элемент запирания с отверстием в центре для прохождения штока поршня, причем элемент запирания в позиции защемления опирается на участок, размещенный сбоку от центральной оси штока поршня.
Устройство согласно изобретению содержит внешнее кольцо, расположенное на цилиндре, которое вращается для стопорения поршня к штоку поршня.
При этом внешнее кольцо закреплено средством закрепления для предотвращения случайного поворота кольца.
Предпочтительно шток поршня ограничен от выталкивания назад при помощи упругого тела, расположенного позади поршня.
Поршень снабжен средством герметизации для обеспечения газонепроницаемости цилиндра.
Одноразовое использование устройства для перемешивания и подачи пасты, такой как костный цемент, гарантируется безвозвратным стопорением поршня к штоку поршня.
Когда население в индустриализированных частях мира становится старше, потребность в различных хирургических коррекциях недостатков человеческого тела становится более значительной. Например, 15000 операций по замещению тазобедренных и коленных суставов проводятся каждый год только в Швеции. Для большинства этих операций по замещению тазобедренных и коленных суставов используется костный цемент для закрепления искусственных тазобедренных и коленных суставов в медуллярном канале бедра.
Так как скорость, с которой может работать хирург, важна с нескольких точек зрения, очень важно создать устройство, в котором костный цемент может перемешиваться и из которого костный цемент может осаждаться. Также имеет большое значение то, что устройство может быть выброшено после использования, поэтому никакие персональные средства не должны быть использованы для чистки и дезинфекции устройства после использования.
Далее приводится подробное описание изобретения со ссылкой на прилагаемые чертежи.
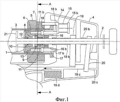
Фиг.1 и 2 – фрагментарные аксиальные виды сечения ближайшего к концу участка устройства, показывающие взаимодействие между поршнем и штоком поршня.
Фиг.3 – фрагментарный увеличенный вид сечения, показывающий взаимное запирание между поршнем и штоком поршня.
Фиг.4 – вид поперечного сечения, взятый вдоль линии А-А на фиг.1.
Фиг.5 и 6 – фрагментарные аксиальные виды, показывающие взаимодействие между поршнем и внешним кольцом.
На фиг.7а-е показано пять различных этапов действия устройства.
На фиг.1 показан поршень 1, шток 2 поршня, ближний к концу участок цилиндра 3, и часть 4 основного корпуса. С внешней стороны цилиндра 3 размещено внешнее кольцо 5, вращаемое вокруг цилиндра. Поршень разделен на передний элемент 6 и задний элемент 7, которые сцеплены друг с другом на ровных поверхностях. В каждом из элементов 6, 7 на ровной поверхности выполнены углубления 8, 9 соответственно, каждое углубление 8, 9 расположено под углом по отношению друг к другу, как показано на фиг.4. Элемент 10 запирания с отверстием в центре, через которое при перемещении проходит шток 2 поршня, расположен в углублении 9 и смещается при помощи винтовой движущей пружины 11, размещенной в углублении 11b в заднем элементе 7 поршня 1, для того чтобы опираться на поверхность напротив элемента 6 поршня 1.
Передний элемент 6 поршня 1 снабжен средствами 12, 13 герметизации, которые герметизируют соединения поршня 1/цилиндра 3 и поршня 1/штока 2 поршня.
Кольцевое средство 14 закрепления используется для предотвращения вращения кольца 5. Кольцевое средство 14 закрепления смещается при помощи винтовой движущей пружины 15, которая опирается на опору 15b в корпусе 4. Позади поршня 1 расположено упругое тело 16, которое расположено между трубчатым выступом 16b, образованным корпусом, и задним элементом 7 поршня 1. Шток 2 поршня выполнен с возможностью скольжения через все элементы поршня 1.
Два стержня 17, 18 используются для того, чтобы предотвратить вращение переднего элемента 6 поршня 1, которые плотно прикреплены к переднему элементу 6 поршня 1, и проходят два отверстия 17b, 18b, выполненные в корпусе 4. Кроме предотвращения вращения переднего элемента 6 поршня 1, стержни 16, 17 также удерживают элементы 6, 7 поршня вместе. Задний элемент 7 поршня 1 снабжен двумя щелями 23, 23b (см. фиг.4), образованными для того, чтобы обеспечить вращение заднего элемента 7 относительно переднего элемента 6.
На переднем конце штока 2 поршня размещено средство 21 перемешивания. Средство 21 перемешивания предусмотрено для перемешивания составных частей пасты, размещенной в цилиндре 3 при возвратно-поступательном перемещении и вращении штока 2 поршня, и может быть выполнено в виде нескольких радиальных крыльев, проходящих от дальнего конца штока 2 поршня.
На фиг.2 показан поршень 1, который отодвинут в обратном направлении силой, приложенной к штоку 2 поршня, сжимая упругое тело 16, при этом кольцевое средство 14 закрепления поднимается из углубления 22 во внешнем кольце 5, обеспечивая вращение внешнего кольца 5. Так как внешнее кольцо 5 соединено с задним элементом 7 поршня 1 посредством маленьких стержней 24, 25 (показаны на фиг.5), задний элемент 7 будет также вращаться, что обеспечивается формой щелей 23 (показаны на фиг.4). Когда задний элемент 7 поршня 1 вращается при помощи вращения внешнего кольца 5, и передний элемент 6 удерживается от вращения стержнями 16, 17, углубления 8, 9 совпадают. Это приводит к падению элемента 10 запирания в углубление 8 переднего элемента 6 поршня 1. Элемент 10 запирания, упавший в углубление 8, безвозвратно стопорит поршень 1 к штоку 2 поршня в прямом направлении. Тем не менее, возможно обеспечить скольжение поршня 1 вдоль штока 2 поршня по направлению к ближнему концу устройства. Как будет объяснено ниже, это является преимуществом в некоторых аспектах.
Действие запирания между элементом 10 запирания и штоком 2 поршня показано на фиг.3, на которой элемент 10 запирания взаимодействует с углублением 8 переднего элемента 6 поршня 1. Так как элемент 10 запирания в позиции защемления опирается на участок, размещенный сбоку от центральной оси штока 2 поршня, элемент 10 запирания защемляет шток 2 поршня в прямом направлении.
На фиг.4 показан элемент 10 запирания в углублении 9 заднего элемента 7 поршня 1 до того, как он упал в углубление 8 переднего элемента 6 поршня 1. Также показан (пунктирной линией) контур углубления 8 переднего элемента 6 поршня 1. Кроме того, показано положение двух стержней 17, 18 и соответствующих им щелей 23 заднего элемента 7 поршня 1. Два маленьких стержня 24 и 25 соединяют внешнее кольцо 5 с задним элементом 7 поршня 1.
Когда поршень 1 застопорен к штоку 2 поршня, может быть начато выталкивание пасты из цилиндра 3 при помощи начала движения поршня 1 вперед посредством штока 2 поршня. Когда поршень 1 перемещается вперед, соединение между поршнем 1 и основным корпусом 4 при помощи стержней 16, 17 размыкается, также как и соединение между внешним кольцом 5 и задним элементом 7 поршня 1.
На фиг.5 показан пример взаимодействия между внешним кольцом 5 и задним элементом 7 поршня 1. Два маленьких стержня 24, 25 проходят в две открытые прорези заднего элемента 7 поршня 1, одна из которых показана позицией 26. Две прорези открыты для того, чтобы обеспечить перемещение вперед поршня 1.
Две открытые прорези, одна из которых показана на фиг.6 позицией 26, имеют сужения, одно из которых показано позицией 28. Сужения служат для ограничения перемещения вперед поршня 1 без прикладывания реальной силы к поршню 1. Они также служат для подачи отдельного щелчка, когда поршень 1 начинает свое перемещение вперед для вытеснения пасты, размещенной в цилиндре 3, и таким образом сообщается пользователю, что устройство готово к подаче пасты.
Все элементы, упомянутые выше, размещены в основном корпусе 4, включая средство 19 сжатия и средство 20 запирания, которые действуют на шток 2 поршня. Средство 19 сжатия смещается винтовой движущей пружиной 19b, один конец которой действует на трубчатый выступ 16b, другой конец на средство 19 сжатия. Винтовая движущая пружина 19b служит для сжатия средства 19 сжатия по направлению к ближайшему концу устройства. Средство 20 запирания подпружинено при помощи винтовой движущей пружины 20b, которая сжимает средство 20 запирания в обратном направлении. Средство 20 запирания может быть дезактивировано при помощи сжатия по направлению к выступу 20с. И средство 19 сжатия, и средство 20 запирания оба приводятся в действие штангой 19с, которая по очереди соединяется с рукояткой включения, например рукояткой пистолетного типа.
Действие средства 19 сжатия и средства 20 запирания следующее: когда рукоятка включения приводится в действие, штанга 19с будет перемещаться вперед (в направлении стрелки, показанной на фиг.1), активируя средство 20 запирания путем освобождения его из выступа 20с, смещенного винтовой движущей пружиной 20b. Одновременно, штанга 20с действует на средство 19 сжатия, что приводит к эффекту защемления между средством 19 сжатия и штоком 2 поршня, сжимая шток 2 поршня вперед под давлением винтовой движущей пружины 19b. Во время процесса перемещения вперед штока 2 поршня средство запирания скользит вдоль штока 2 поршня.
Когда освобождается рукоятка включения, эффект защемления между средством 19 сжатия и штоком 2 поршня прекращается, что приводит к возвращению винтовой движущей пружины 19b, сжимающей средство 19 сжатия, вдоль штока 2 поршня. Если рукоятка включения полностью освобождена, штанга 19с устраняет действие защемления между средством 20 запирания и штоком 2 поршня путем выталкивания (сила, исходящая от винтовой движущей пружины 19d) средства 20 запирания по направлению к выступу 20с.
В позиции, в которой рукоятка включения полностью освобождается, шток 2 поршня не ограничен в любом случае от толкания и выталкивания назад и так далее (или вращения) через элементы основного корпуса, обеспечивающие перемешивание составных частей пасты.
Далее действие устройства будет описано со ссылкой на элементы, упомянутые выше, и на фиг.7.
На первом этапе компоненты пасты, которые должны быть перемешаны и поданы, вводятся в цилиндр 3. После того как в цилиндр 3 поступили компоненты пасты, цилиндр 3 соединяется с источником Р вакуума, который уменьшает наличие газов в пасте, как газов, которые поступают из воздуха, смешанным с пастой, так и газов, которые образуются в результате процесса консервирования пасты.
Путем толкания и выталкивания назад штока 2 поршня и так далее и вращения его средство 21 перемешивания на дальнем конце штока 2 поршня перемешивает компоненты пасты. Эти рабочие шаги показаны на фиг.7 и 7а.
Следующий последовательный этап заключается в том, чтобы запереть шток 2 поршня в поршне 1. Это достигается путем сильного толкания штока 2 поршня в обратном направлении и одновременном повороте внешнего кольца 5, как показано на фиг.7с.
На фиг.7d показана приведенная в действие рукоятка включения, посредством которой поршень толкается вперед, при этом паста заполняет любое пустое пространство в цилиндре 3, в то время как источник Р вакуума все еще соединен с цилиндром.
На фиг.7d источник Р вакуума отсоединен от цилиндра 3, и сопло связано с передним концом цилиндра 3. Сопло может иметь различные формы в зависимости от того, для какого применения используется устройство.
Если шток 2 поршня будет проскальзывать вперед без выталкивания поршня вперед и, следовательно, не вытесняя пасту, шток 2 поршня может быть отведен назад, и вытеснение пасты может быть возобновлено.
Один очень важный признак действия устройства заключается в том, что шток 2 поршня не обязательно полностью удаляется по направлению к поршню 1 для того, чтобы застопорить поршень 1 к штоку 2 поршня так, как в случае устройства согласно предшествующему уровню техники, описанного в патенте US-A-5951160. Если к поршню 1 приложена достаточная сила, возможно повернуть внешнее кольцо 5 и, следовательно, застопорить поршень 1 к штоку 2 поршня. Этот признак очень важен, так как он обеспечивает стопорение поршня 1 к штоку 2 поршня, даже если паста с высокой вязкостью будет препятствовать толканию штока 2 поршня пока средство 21 перемешивания войдет в физический контакт с поршнем 1.
Одно дополнительное преимущество воплощения, в котором элемент 10 запирания падает в углубление 8, заключается в том, что он безвозвратно стопорит поршень 1 к штоку 2 поршня, что предотвращает использование устройства более одного раза.
Формула изобретения
1. Устройство для перемешивания и подачи пасты, такой, как костный цемент, содержащее цилиндр (3), в который подается паста, поршень (1), способный возвратно-поступательно перемещаться в цилиндре, шток (2) поршня, перемещаемый и вращаемый в поршне (1) и образующий средство (21) перемешивания для пасты, подаваемой в цилиндр (3), и запирающее средство для соединения поршня (1) и штока (2) поршня, чтобы обеспечить перемещение поршня (1) в цилиндре (3) посредством штока (2) поршня для осаждения пасты снаружи цилиндра (3), отличающееся тем, что оно включает средство для запирания штока (2) поршня в поршне (1) посредством средства защемления, причем запирающее средство обеспечивает стопорение штока (2) к поршню (1) в любом положении вдоль полной длины штока (2) поршня.
2. Устройство по п.1, отличающееся тем, что оно является устройством одноразового использования.
3. Устройство по п.1, отличающееся тем, что поршень разделен на передний (6) и задний (7) элементы, вращаемые относительно друг друга.
4. Устройство по п.1, отличающееся тем, что цилиндр (3) является газонепроницаемым, что обеспечивает перемешивание пасты в вакууме.
5. Устройство по п.1, отличающееся тем, что средство защемления в поршне (1) включает элемент (10) запирания с отверстием в центре для прохождения штока поршня, причем элемент (10) в позиции защемления опирается на участок, размещенный сбоку от центральной оси штока (2) поршня.
6. Устройство по п.1, отличающееся тем, что внешнее кольцо (5), расположенное на цилиндре, вращается для стопорения поршня (1) к штоку (2) поршня.
7. Устройство по п.6, отличающееся тем, что внешнее кольцо (5) закреплено средством (14) закрепления для предотвращения случайного поворота кольца (5).
8. Устройство по п.6, отличающееся тем, что шток (2) поршня ограничен от выталкивания назад при помощи упругого тела (16), расположенного позади поршня (1).
9. Устройство по п.1, отличающееся тем, что поршень (1) снабжен средством (12, 13) герметизации для обеспечения газонепроницаемости цилиндра (3).
10. Устройство по п.1, отличающееся тем, что одноразовое использование гарантируется безвозвратным стопорением поршня (1) к штоку (2) поршня.
РИСУНКИ
|
|