|
|
(21), (22) Заявка: 2006113869/15, 24.04.2006
(24) Дата начала отсчета срока действия патента:
24.04.2006
(46) Опубликовано: 10.02.2008
(56) Список документов, цитированных в отчете о поиске:
RU 2182843 C1, 27.05.2002. SU 718138 А, 28.02.1980. RU 2234358 C1, 20.08.2004. SU 1586784 A1, 23.08.1990.
Адрес для переписки:
450000, Республика Башкортостан, г.Уфа, ул. К. Маркса, 12, УГАТУ, ОИС, В.П. Ефремовой
|
(72) Автор(ы):
Жернаков Владимир Сергеевич (RU), Усманова Регина Равилевна (RU), Панов Александр Константинович (RU)
(73) Патентообладатель(и):
Государственное образовательное учреждение высшего профессионального образования Уфимский государственный авиационный университет (RU)
|
(54) БАРБОТАЖНО-ВИХРЕВОЙ АППАРАТ С ОСЕВЫМ ОРОСИТЕЛЕМ
(57) Реферат:
Изобретение относится к устройствам для мокрой очистки газов от механических и газообразных примесей и может быть использовано в химической, нефтяной и других отраслях промышленности. Устройство содержит цилиндрическую камеру, которая снабжена осевым оросителем, заглушенным с выходного конца и перфорированным отверстиями малого диаметра. К осевому оросителю жестко прикреплены лопасти завихрителя гиперболической формы, формирующие проточные секции. Изобретение направлено на интенсификацию процесса газоочистки за счет более эффективного использования рабочего объема устройства. 3 ил.
Изобретение относится к устройствам для мокрой очистки газов от механических и газообразных примесей и может быть использовано в химической, нефтяной и других отраслях промышленности.
Известно устройство для мокрой очистки газа, содержащее циклон, цилиндрическую камеру с входной трубой, центральную и периферийные форсунки, трубу перетока шлама в шламосборник. При этом цилиндрическая камера снабжена завихрителем газового потока, представляющим собой четыре лопасти, изогнутые по синусоидальной кривой и выполненные с возможностью регулировки их положения относительно оси цилиндрической камеры путем поворота эксцентриков, установленных в радиальных отвертиях цилиндрической камеры и закрепленных с помощью контргаек (патент РФ №2234358, МКИ В 01 D 47/06, 2004. Бюл. №23).
Недостатком данного устройства является сложность технического изготовления и монтажа устройства регулирования положения лопастей завихрителя.
Наиболее близким по технической сущности и достигаемому эффекту является устройство для мокрой очистки газа, содержащее циклон, цилиндрическую камеру, форсунки, завихритель газового потока, представляющий собой пару пересекающихся плоскостей, образующих четыре лопасти, имеющие на входном участке поверхности плоской прямоугольной формы, постепенно переходящие в параболическую, причем лопасти формируют проточные секции и изогнуты так, что большей стороной касаются внутренней поверхности камеры и жестко прикреплены к ней по всей длине (патент РФ №2182843, МКИ В 01 D 47/06, 2002. Бюл. №15, прототип).
Недостаток этого устройства заключается в сравнительно малой поверхности контактирующих фаз в гидродинамически активной зоне аппарата.
Указанная задача решается за счет того, что очистка газовых выбросов осуществляется за счет более эффективного использования рабочего объема устройства, тем самым интенсифицируется процесс газоочистки.
Поставленная цель достигается тем, что барботажно-вихревой аппарат для мокрой очистки газа содержит циклон, цилиндрическую камеру с входной трубой, трубу перетока шлама в шламосборник. При этом цилиндрическая камера снабжена осевым оросителем, представляющим собой осевой патрубок, перфорированный по всей длине отверстиями малого диаметра и заглушенный с выходного конца, к которому жестко прикреплены лопасти завихрителя гиперболической формы, формирующие проточные секции.
Технический результат, обеспечиваемый барботажно-вихревым аппаратом с осевым оросителем, выражается в повышении эффективности пылеулавливания за счет установки в аппарате осевого оросителя, перфорированного отверстиями малого диаметра, размещенными в каждой проточной секции, формируемой лопастями завихрителя гиперболической формы.
Повышение эффективности пылеулавливания обусловлено установкой в аппарате осевого оросителя, представляющего собой осевой патрубок, заглушенный с выходного конца и перфорированный по всей длине отверстиями малого диаметра, по длине которого жестко прикреплены лопасти завихрителя, формирующие проточные секции. Благодаря тому, что отверстия размещены по длине цилиндрической камеры, в зоне подачи запыленного газа увеличивается поверхность контактирования фаз и, следовательно, имеет место более эффективное использование рабочего объема устройства.
Ороситель крепится к цилиндрической камере резьбовыми шпильками, ввернутыми в радиальные резьбовые отверстия в оросителе с одной стороны и соединенными с цилиндрической камерой с другой, соединение закреплено с помощью контргаек.
Эффективность очистки достигается также благодаря выбору оптимальной геометрии лопастей завихрителя гиперболической формы, формирующих проточные секции, что ведет к снижению гидравлического сопротивления устройства. Присоединение цилиндрической камеры с наклоном к циклону с учетом стока шлама обеспечивает отвод дисперсных частиц в шламосборник, что также повышает эффективность пылеулавливания.
Кроме того, барботажно-вихревой аппарат с осевым оросителем может быть использован как самостоятельное пылеулавливающее устройство, так и устанавливаться в газоходах пылеулавливающей системы с целью экономии материальных средств и площади производственных помещений.
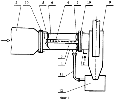
Сущность изобретения поясняется чертежами: на фиг.1 показан общий вид аппарата; на фиг.2 – продольный и поперечный разрезы цилиндрической камеры; на фиг.3 – лопасть завихрителя.
Барботажно-вихревой аппарат с осевым оросителем в соответствии с фиг.1 и 2 содержит цилиндрическую камеру 1 с входной трубой 2. В цилиндрической камере установлен осевой ороситель 3, представляющий собой осевой патрубок, перфорированный отверстиями малого диаметра 4 и заглушенный с выходного конца. Осевой ороситель 3 крепится со стенками цилиндрической камеры 1 посредством резьбовых шпилек 5. В цилиндрической камере 1 установлен завихритель 6 газового потока, представляющий собой четыре лопасти гиперболической формы, жестко скрепленные с оросителем 3 по всей длине и формирующие проточные секции 7. Жидкость на орошение подается в ороситель 3 по трубе 8. Циклон 9 соединен с цилиндрической камерой 1 с помощью соединительных фланцев 10. Отвод дисперсных частиц осуществляется из цилиндрической камеры при помощи трубы перетока шлама 11 в шламосборник 12.
Барботажно-вихревой аппарат с осевым оросителем работает следующим образом.
Запыленный газ подается в цилиндрическую камеру 1 по входной трубе 2, где завихритель 6 при помощи лопастей, формирующих проточные секции 7, отклоняет поток и придает ему вращательное движение. Под действием возникающей при этом центробежной силы дисперсные частицы перемещаются к стенкам цилиндрической камеры 1.
Для улучшения условий очистки в цилиндрической камере 1 установлен осевой ороситель 3, в который подаётся орошающая жидкость. Благодаря тому, что ороситель 3 перфорирован отверстиями малого диаметра 4, расположенными в каждой проточной секции 7 завихрителя 6, увеличивается поверхность контакта фаз вследствие диспергирования жидкости по всему объему цилиндрической камеры 1. При соприкосновении газов и жидкости происходит частичное испарение последней и охлаждение газа. Образовавшаяся суспензия разделяется под действием центробежной силы, возникающей при вращении потока. Распыление орошающей жидкости способствует оттоку дисперсных частиц из центральной зоны цилиндрической камеры 1, что снижает время сепарации. Оптимальная геометрия лопастей завихрителя 6 обеспечивается тем, что лопасти имеют поверхность гиперболической формы, позволяющую снизить гидравлическое сопротивление. При этом лопасти жестко скреплены с осевым оросителем 3, формируя проточные секции 7.
Отделившийся шлам смывается жидкостью и при помощи наклона цилиндрической камеры 1 транспортируется по трубе перетока шлама 11 в шламосборник 12. Угол наклона цилиндрической камеры 1 подобран опытным путем в пределах 10°, достаточным для отвода шлама. Последующее разделение суспензии происходит в циклоне 9, откуда шлам также поступает в шламосборник 12.
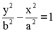
Экспериментальные исследования проводились на барботажно-вихревом аппарате диаметром 1,1 м, длиной 1 м, в цилиндрической камере которого установлен осевой ороситель диаметром 0,06 м, толщина стенки 0,012 м, перфорированный отверстиями диаметром 0,005 м, с жестко закрепленными на нем лопастями завихрителя. Лопасти завихрителя имеют гиперболическую форму, описываемую уравнением

где у – ордината точек гиперболы;
х – абсцисса точек гиперболы;
b – расстояние до действительной оси;
а – расстояние до мнимой оси.
Для данной формы поверхности а=0,2 м, b=0,15 м, координаты фокусов F1(0;25), F2(0;-0,25).
В газоход поступали дымовые газы печей обжига с температурой до 600°С и содержанием твердых частиц в пределах 50-75 г/м3. Размер дисперсных частиц от 0,01 до 0,4 мм. Удельный расход орошающей жидкости составлял 0,0001-0,00075 м3/м3 газа. Установлено, что гидравлическое сопротивление аппарата не превышает 500 Па, эффективность пылеулавливания для частиц размером 0,01 мм не ниже 95%.
Предлагаемый барботажно-вихревой аппарат с осевым оросителем позволяет повысить эффективность газоочистки и улучшить защиту окружающей среды.
Формула изобретения
Барботажно-вихревой аппарат для мокрой очистки газа, содержащий циклон, цилиндрическую камеру с входной трубой, трубу перетока шлама в шламосборник, отличающийся тем, что цилиндрическая камера снабжена осевым оросителем, представляющим собой осевой патрубок, перфорированный по всей длине отверстиями малого диаметра и заглушенный с выходного конца, к которому жестко прикреплены лопасти завихрителя гиперболической формы, формирующие проточные секции.
РИСУНКИ
MM4A – Досрочное прекращение действия патента СССР или патента Российской Федерации на изобретение из-за неуплаты в установленный срок пошлины за поддержание патента в силе
Дата прекращения действия патента: 25.04.2008
Извещение опубликовано: 27.12.2009 БИ: 36/2009
|
|