|
| На основании пункта 3 статьи 13 Патентного закона Российской Федерации от 23 сентября 1992 г. № 3517-I патентообладатель обязуется передать исключительное право на изобретение (уступить патент) на условиях, соответствующих установившейся практике, лицу, первому изъявившему такое желание и уведомившему об этом патентообладателя и федеральный орган исполнительной власти по интеллектуальной собственности, – гражданину РФ или российскому юридическому лицу. |
|
(21), (22) Заявка: 2006111642/15, 11.04.2006
(24) Дата начала отсчета срока действия патента:
11.04.2006
(46) Опубликовано: 10.02.2008
(56) Список документов, цитированных в отчете о поиске:
SU 912228 A1, 1503.1982. SU 570382 А1, 02.09.1977. SU 318402 А1, 28.04.1972. SU 967527 А1, 23.10.1982. GB 1390705 A1, 16.04.1975.
Адрес для переписки:
123458, Москва, ул. Твардовского, 11, кв.92, О.С. Кочетову
|
(72) Автор(ы):
Кочетов Олег Савельевич (RU), Кочетова Мария Олеговна (RU), Бородина Елена Сергеевна (RU), Шестаков Сергей Сергеевич (RU), Бородина Ольга Алексеевна (RU)
(73) Патентообладатель(и):
Кочетов Олег Савельевич (RU)
|
(54) ПЕННЫЙ ГАЗОПРОМЫВАТЕЛЬ
(57) Реферат:
Изобретение относится к технике мокрого пылеулавливания и может применяться в химической, текстильной, пищевой, легкой и других отраслях промышленности для очистки загрязненных газов. Пенный газопромыватель содержит лопаточный закручиватель, выполненный, по меньшей мере, с тремя лопатками, имеющими форму трапеции. В верхней части контактно-выхлопной трубы расположен корпус влагоотделителя с тарельчатым сепаратором, имеющим, по меньшей мере, две тарелки. Каждая тарелка закреплена на корпусе влагоотделителя посредством, по меньшей мере, трех упругих пластин. Ближайшая к контактно-выхлопной трубе тарелка выполнена с днищем, имеющим коническую поверхность с вершиной конуса, направленного в сторону выхлопного патрубка. На нижней тарелке установлен вибратор. В нижней части аппарата установлены регулятор уровня рабочей жидкости и водомерная трубка с контрольными рисками. Технический результат состоит в повышении эффективности и надежности процесса пылегазоулавливания. 2 з.п. ф-лы, 2 ил.
Изобретение относится к технике мокрого пылеулавливания и может применяться в химической, текстильной, пищевой, легкой и других отраслях промышленности для очистки загрязненных газов.
Наиболее близким техническим решением к заявляемому объекту является пенный аппарат для обработки газа по а.с. СССР №912228, В01D 47/02, 1980 г., содержащий корпус, тангенциальный патрубок для подачи загрязненного воздуха и вертикальную цилиндрическую контактно-выхлопную трубу, установленную соосно с корпусом, нижний конец которой помещен внутри корпуса и снабжен лопаточным закручивателем, связанным с нижней частью корпуса (прототип).
Недостатком прототипа является сравнительно невысокая эффективность процесса пылегазоулавливания за счет недостаточно эффективной крутки лопаточным завихрителем.
Технический результат – повышение эффективности и надежности процесса пылегазоулавливания.
Это достигается тем, что в пенном газопромывателе, содержащим корпус, тангенциальный патрубок для подачи загрязненного воздуха и вертикальную цилиндрическую контактно-выхлопную трубу, установленную соосно с корпусом, нижний конец которой помещен внутри корпуса и снабжен лопаточным закручивателем, связанным с нижней частью корпуса, лопаточный закручиватель выполнен, по меньшей мере, с тремя лопатками, расположенными в нижней части корпуса, причем лопатки закручивателя выполнены в форме трапеции, большее основание которой закреплено по образующей цилиндрической поверхности корпуса, и равномерно расположены по поперечному сечению последнего так, что разделяют на равные части кольцевое пространство между корпусом и контактно-выхлопной трубой, при этом плоскость каждой лопатки выполнена изогнутой по спирали Архимеда, выступающей за окружность контактно-выхлопной трубы на величину, не превышающую 10% от ее диаметра, причем траектория спирали Архимеда берет свое начало из точки пересечения оси контактно-выхлопной трубы с плоскостью, проходящей через ее срез, обращенный к лопаткам, перпендикулярно ее оси, смежные лопатки расположены так, что образуют русла, сужающиеся к центру аппарата, а в верхней части контактно-выхлопной трубы расположен корпус влагоотделителя с тарельчатым сепаратором, состоящим, по меньшей мере, из двух тарелок, закрепленных на, по меньшей мере, трех упругих пластинах к корпусу влагоотделителя, причем ближайшая к контактно-выхлопной трубе тарелка выполнена с днищем, имеющим коническую поверхность с вершиной конуса, направленного в сторону выхлопного патрубка, а на нижней тарелке установлен вибратор, который автоматически включается при запенивании или засорении влагоотделителя, а соосно контактно-выхлопной трубе закреплен патрубок для выхода очищенного воздуха, причем в нижней части аппарата, заполненной жидкостью, установлены регулятор уровня рабочей жидкости и водомерная трубка с контрольными рисками.
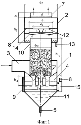
На фиг.1 изображен общий вид пенного газопромывателя, на фиг.2 – схема регулятора уровня рабочей жидкости.
Пенный газопромыватель состоит из корпуса 1 (фиг.1), тангенциального патрубка 3 для подачи загрязненного воздуха, штуцеров 6, 5 и 13 соответственно для ввода и вывода рабочей жидкости, вертикальной цилиндрической контактно-выхлопной трубы 10, установленной соосно с корпусом 1. Нижний конец контактно-выхлопной трубы 10 помещен внутри корпуса аппарата и снабжен лопаточным закручивателем с, по меньшей мере, тремя лопатками 4, расположенными в нижней части корпуса 1, заканчивающегося конической частью 11, заполненной жидкостью.
Лопатки 4 закручивателя выполнены в форме трапеции, большее основание которой закреплено по образующей цилиндрической поверхности корпуса 1, и равномерно расположены по поперечному сечению последнего так, что разделяют на равные части кольцевое пространство между корпусом 1 и контактно-выхлопной трубой 10.
При этом плоскость каждой лопатки 4 выполнена изогнутой по спирали Архимеда, выступающей за окружность контактно-выхлопной трубы 10 на величину, не превышающую 10% от ее диаметра. При этом траектория спирали Архимеда берет свое начало из точки пересечения оси контактно-выхлопной трубы 10 с плоскостью, проходящей через ее срез, обращенный к лопаткам 4, перпендикулярно ее оси.
Смежные лопатки 4 расположены так, что образуют русла (не показано), сужающиеся к центру аппарата. В верхней части контактно-выхлопной трубы 10 расположен корпус влагоотделителя 2 с тарельчатым сепаратором, состоящим, по меньшей мере, из двух тарелок 12 и 14, закрепленных на, по меньшей мере, трех упругих пластинах 8 к корпусу влагоотделителя 2, которые способствуют за счет небольших колебаний тарелок более интенсивному сливу с них жидкости, тем самым повышая эффективность влагоотделения. Ближайшая к контактно-выхлопной трубе 10 тарелка 14 выполнена с днищем, имеющим коническую поверхность с вершиной конуса, направленного в сторону выхлопного патрубка 7, что способствует более интенсивному влагоулавливанию. Для повышения эффективности влагоулавливания на нижней тарелке 14 может быть установлен вибратор (не показано), который автоматически включается при запенивании и засорении влагоотделителя 2.
На корпусе влагоотделителя 2, соосно контактно-выхлопной трубе 10 закреплен патрубок 7 для выхода очищенного воздуха.
В аппарате используется регулятор уровня 15 рабочей жидкости поплавкового типа (фиг.2), состоящий из цилиндрического корпуса 16 с крышкой 24 и патрубками 17 и 18 для подключения к корпусу аппарата 1 и штуцером 6 для ввода рабочей жидкости, соединенным с краном 19. В корпусе 16 размещен поплавок 20 с соосно закрепленном на нем конусом 21, перекрывающим при избытке жидкости в нижней части корпуса 1 калиброванную втулку 22, ввернутую в резьбовую втулку 23, закрепленную в крышке 24, с возможностью регулировки ее выступающей части над поплавком 20.
Для контроля уровня рабочей жидкости в нижней части корпуса 1 аппарата устанавливается водомерная трубка 9 с контрольными рисками, указывающими допустимые максимальный и минимальный уровни жидкости, а также уровень наиболее эффективной работы аппарата.
Пенный газопромыватель работает следующим образом.
Подлежащий очистке воздух поступает через входной тангенциальный патрубок 3 в корпус 1, нижняя часть 11 которого заполнена жидкостью. В кольцевом пространстве, образованном стенкой корпуса 1 и нижней частью трубы 10, воздушный поток получает начальный вращательный импульс. Опускаясь по спирали к поверхности и достигая лопаток 4, воздух отклоняется ими от внутренней поверхности корпуса. Последовательно перетекая через лопатки вследствие центронаправленного уменьшения их высоты, поток воздуха смещается к контактно-выхлопной трубе 10 и одновременно разделяется лопатками 4 на равновеликие объемы. Отделяемые объемы воздуха, проходя по руслам между лопатками 4 закручивателя, частично погруженного в рабочую жидкость, дополнительно ускоряются и, приобретая интенсивное вращательное движение, в виде нескольких взаимодействующих потоков поступают в контактно-выхлопную трубу 10. При этом направление входа воздушных потоков благодаря принятому расположению и частичному заглублению лопаток 4 внутрь торца трубы пересекает траектории вращательного движения газожидкостного слоя внутри трубы. В результате происходит завихрение и отрыв его пристенного слоя от внутренней поверхности трубы. Это интенсифицирует перемешивание воздуха и жидкости, а также препятствует переходу к раздельному с воздухом кольцевому движению жидкости внутри трубы, при котором резко сокращается площадь поверхности контакта и снижается эффективность процесса очистки.
Под воздействием закрученных масс воздуха, перемешивающихся над поверхностью жидкости, последняя также приобретает вращательное движение и лопатками закручивателя направляется к центру аппарата, где восполняет объем воздуха, отводимый под действие центробежных сил и сил Кориолиса. При таком перемешивании исключается воронкообразование и тем самым достигается выравнивание уровня жидкости в корпусе аппарата и возрастает турбулентность ее поверхности, что облегчает условия отрыва и инжекции жидкости потоками обрабатываемого воздуха, и повышается энергетическая эффективность аппарата. Прошедший обработку воздух движется вверх по контактно-выхлопной трубе 10 и поступает во влагоотделитель 2, где освобождается от капельной влаги, выносимой воздухом из зоны контакта. По мере работы аппарата в корпус его подается рабочая жидкость через штуцер 6 регулятора уровня и удаляется отработанная через штуцер 5 и 13.
В аппарате используется регулятор уровня 15 рабочей жидкости поплавкового типа, а для контроля уровня рабочей жидкости в нижней части корпуса аппарата устанавливается водомерная трубка 9 с контрольными рисками, указывающими допустимые максимальный и минимальный уровни жидкости, а также уровень наиболее эффективной работы аппарата.
Эффективность улавливания, например дизельной сажи, аппаратом достигает порядка 98%.
Оптимальный режим работы аппарата производительностью от 2500 м3/ч до 9000 м3/ч осуществляется при следующих соотношениях параметров:
отношение диаметра d2 влагоотделителя к его высоте h2 лежит в оптимальном интервале величин: d2/h2 1,28…1,34;
отношение диаметра dтр контактно-выхлопной трубы к ее высоте hтр лежит в оптимальном интервале величин: dтр/hтр 0,32…0,44;
отношение диаметра d4 корпуса аппарата к высоте h4 закручивателя лежит в оптимальном интервале величин: d4/h4 3,0…3,1;
отношение высоты hтр контактно-выхлопной трубы к высоте h4 закручивателя лежит в оптимальном интервале величин: hтр/h4 4,5…6,2;
отношение диаметра d выхлопного патрубка к его высоте h лежит в оптимальном интервале величин: d/h 3,6…6,3;
отношение диаметра d1 нижней тарелки тарельчатого сепаратора влагоотделителя к диаметру d3 верхней тарелки лежит в оптимальном интервале величин: d1/d3 1,36…1,44;
отношение диаметра d2 влагоотделителя к диаметру d1 нижней тарелки тарельчатого сепаратора лежит в оптимальном интервале величин: d2/d1=1,2…1,3.
Формула изобретения
1. Пенный газопромыватель, содержащий корпус, тангенциальный патрубок для подачи загрязненного воздуха и вертикальную цилиндрическую контактно-выхлопную трубу, установленную соосно с корпусом, нижний конец которой помещен внутри корпуса и снабжен лопаточным закручивателем, связанным с нижней частью корпуса, отличающийся тем, что лопаточный закручиватель выполнен, по меньшей мере, с тремя лопатками, расположенными в нижней части корпуса, причем лопатки закручивателя выполнены в форме трапеции, большее основание которой закреплено по образующей цилиндрической поверхности корпуса, и равномерно расположены по поперечному сечению последнего так, что разделяют на равные части кольцевое пространство между корпусом и контактно-выхлопной трубой, при этом плоскость каждой лопатки выполнена изогнутой по спирали Архимеда, выступающей за окружность контактно-выхлопной трубы на величину, не превышающую 10% от ее диаметра, причем траектория спирали Архимеда берет свое начало из точки пересечения оси контактно-выхлопной трубы с плоскостью, проходящей через ее срез, обращенный к лопаткам, перпендикулярно ее оси, смежные лопатки расположены так, что образуют русла, сужающиеся к центру аппарата, а в верхней части контактно-выхлопной трубы расположен корпус влагоотделителя с тарельчатым сепаратором, состоящим, по меньшей мере, из двух тарелок, закрепленных на, по меньшей мере, трех упругих пластинах к корпусу влагоотделителя, причем ближайшая к контактно-выхлопной трубе тарелка выполнена с днищем, имеющим коническую поверхность с вершиной конуса, направленного в сторону выхлопного патрубка, а на нижней тарелке установлен вибратор, который автоматически включается при запенивании или засорении влагоотделителя, а соосно с контактно-выхлопной трубой закреплен патрубок для выхода очищенного воздуха, причем в нижней части аппарата, заполненной жидкостью, установлены регулятор уровня рабочей жидкости и водомерная трубка с контрольными рисками.
2. Пенный газопромыватель по п.1, отличающийся тем, что регулятор уровня рабочей жидкости выполнен поплавкового типа и состоит из цилиндрического корпуса с крышкой и патрубками для подключения к корпусу аппарата и штуцером для ввода рабочей жидкости, соединенным с краном, а в корпусе размещен поплавок с соосно закрепленным на нем конусом, перекрывающим при избытке жидкости в нижней части корпуса калиброванную втулку, ввернутую в резьбовую втулку, закрепленную в крышке, с возможностью регулировки ее выступающей части над поплавком.
3. Пенный газопромыватель по п.1, отличающийся тем, что оптимальный режим работы инжекционно-пенного аппарата осуществляется при следующих соотношениях параметров: отношение диаметра d2 влагоотделителя к его высоте h2 лежит в оптимальном интервале величин: d2/h2=1,28…1,34; отношение диаметра dтр контактно-выхлопной трубы к ее высоте hтр лежит в оптимальном интервале величин: dтр/hтр=0,32…0,44; отношение диаметра d4 корпуса аппарата к высоте h4 закручивателя лежит в оптимальном интервале величин: d4/h4=3,0…3,1; отношение высоты hтр контактно-выхлопной трубы к высоте h4 закручивателя лежит в оптимальном интервале величин: hтр/h4=4,5…6,2; отношение диаметра d выхлопного патрубка к его высоте h лежит в оптимальном интервале величин: d/h=3,6…6,3; отношение диаметра d1 нижней тарелки тарельчатого сепаратора влагоотделителя к диаметру d3 верхней тарелки лежит в оптимальном интервале величин: d1/d3=1,36…1,44; отношение диаметра d2 влагоотделителя к диаметру d1 нижней тарелки тарельчатого сепаратора лежит в оптимальном интервале величин: d2/d1=1,2…1,3.
РИСУНКИ
|
|