|
(21), (22) Заявка: 2005100850/15, 09.07.2003
(24) Дата начала отсчета срока действия патента:
09.07.2003
(30) Конвенционный приоритет:
10.07.2002 DE 10231095.5
(43) Дата публикации заявки: 10.06.2005
(46) Опубликовано: 10.02.2008
(56) Список документов, цитированных в отчете о поиске:
JP 10085730 А, 07.04.1998. US 5830348 А, 03.11.1998. SU 1813007 A3, 30.04.1993. SU 346840 A, 28.08.1972.
(85) Дата перевода заявки PCT на национальную фазу:
14.01.2005
(86) Заявка PCT:
EP 03/07402 (09.07.2003)
(87) Публикация PCT:
WO 2004/007047 (22.01.2004)
Адрес для переписки:
129010, Москва, ул. Б.Спасская, 25, стр.3, ООО “Юридическая фирма Городисский и Партнеры”, пат.пов. Е.И.Емельянову
|
(72) Автор(ы):
РЕДЕР Эрнст (DE), МОР Инго (DE), ВЕБЕР Клаус-Петер (DE), ЛИНДЛОФФ Йорг (DE)
(73) Патентообладатель(и):
БРИТА ГМБХ (DE)
|
(54) ФИЛЬТРУЮЩАЯ КАССЕТА
(57) Реферат:
Изобретение предназначено для фильтрации. Фильтрующая кассета содержит заполненный фильтровальным материалом корпус с дном и окружной стенкой, а также прочно закупоривающую корпус крышку, которая имеет основание и сформированную на нем вдоль его периферии полосовидную боковую стенку, закрепленную на внутренней стороне окружной стенки. Основание крышки в направлении окружной стенки переходит через изогнутый внутрь краевой участок в боковую стенку, причем изогнутый краевой участок и полосовидная боковая стенка в сформированной области соединены в заостренный внутрь общий стеновой участок. Технический результат: уменьшение опасности срезающего разрушения, обеспечение дополнительного уплотняющего усилия. 14 з.п. ф-лы, 4 ил.
Изобретение относится к фильтрующей кассете, содержащей заполненный фильтровальным материалом корпус с дном и окружной стенкой, а также прочно закупоривающую корпус крышку, которая включает в себя основание и сформированную на нем вдоль его периферии полосовидную боковую стенку, закрепленную на внутренней стороне корпуса фильтрующей кассеты.
Фильтрующие кассеты являются составной частью фильтрующих устройств, в частности водяных фильтров, и вставляются в качестве заменяемого компонента в герметичную внешнюю емкость. Внешний контур фильтрующей кассеты, по существу, соответствует внутреннему контуру внешней емкости, так что она воспринимает давление, оказываемое фильтруемой средой на стенки кассеты. Дно и окружную стенку фильтрующей кассеты не требуется поэтому выполнять герметичными. Однако иначе дело обстоит с крышкой кассеты, поскольку между крышкой кассеты и крышкой внешней емкости, как правило, имеется промежуток. Этот промежуток возникает при определенных условиях за счет того, что крышку вставляют в корпус кассеты и закрепляют на внутренней стороне стенки корпуса кассеты, причем окружная боковая стенка крышки кассеты выступает вверх относительно основания крышки кассеты. Это требует не только герметичного выполнения крышки, но и герметичного закрепления крышки на корпусе кассеты во избежание утечек.
Основание крышки образует со сформированной на периферии, проходящей вверх боковой стенкой приблизительно прямой угол, как это известно, например, из DE 19958649.7. За счет внутреннего давления направленные вверх усилия действуют на основание крышки, которая в результате этого выгибается вверх и растягивается. Вследствие этого на боковую стенку в области места соединения с основанием крышки действуют направленные радиально внутрь усилия, которые приводят к отделению боковой стенки и к трещинообразованию в зоне соединения.
Толчки давления, которые во время эксплуатации фильтрующего устройства в большом количестве воздействуют на стенку и крышку кассеты, могут впоследствии привести к негерметичности, так что фильтрующую кассету придется целиком заменить.
Пока не существует решений по устранению этих проблем.
Из полезной модели DE 29715504 U1 известен корпус воздушного фильтра, который при переменных условиях давления должен обеспечивать достаточную стабильность. В отношении уровня техники в этой предварительной публикации указывается на корпуса воздушных фильтров, верхняя часть которых имеет направленный наружу выгиб. В противоположность уровню техники в этой публикации предложено направить выгиб внутрь, так что возникающие в результате колебаний давления воздушные импульсы демпфируются относительно жесткой краевой зоной. О том, как эта часть крышки закреплена на корпусе, или является ли эта часть крышки встроенной составной частью корпуса, не сообщается.
В ЕР 0861682 В1 описана крышка для корпуса фильтра, которая при отделении от корпуса фильтра создает меньшее всасывающее действие, а при установке на корпусе фильтра пропускает меньше воздуха во внутреннее пространство корпуса фильтра. Речь при этом идет о съемной крышке, имеющей, в целом, слегка выпуклое основание без загнутого краевого участка и сформированную на нем вдоль его периферии в виде оболочки боковую стенку, которая проходит в направлении продольной оси с обеих сторон основания и придает крышке форму открытого вниз стакана. В нижней области боковой стенки предусмотрена внешняя резьба, взаимодействующая с соответствующей внутренней резьбой корпуса фильтра и образующая крепежные средства, с помощью которых крышка может быть установлена на корпусе. Над внешней резьбой во внешней стороне боковой стенки выполнена окружная кольцевая канавка, в которой расположено служащее уплотнительным средством кольцо круглого сечения. Далее с одной стороны крышки под кольцевой канавкой выполнено отверстие, пересекающее боковую стенку радиально продольной оси, благодаря чему внутренние стороны стаканообразной крышки сообщены с его внешней стороной.
Эта крышка изготовлена из относительно толстого материала, причем основание крышки, в целом, выгнуто слегка наружу для придания ей достаточной стабильности, когда корпус фильтра при работе нагружен повышенным давлением. Поскольку боковая стенка крышки соединена со стенкой емкости только внешней резьбой, это обеспечивает определенную упругость боковой стенки, которая за счет дополнительных уплотнительных средств на верхнем участке боковой стенки не вызывает утечек.
В US 5830348 описаны топливный фильтр и регулятор давления, расположенные в общем корпусе с окружной стенкой. Корпус снабжен крышкой с выпускным присоединительным элементом для топлива. Основание крышки имеет выпуклости, переходящие в направлении окружной стенки в загнутый внутрь краевой участок, который переходит через другой, выпуклый наружу, участок в участок боковой стенки, закрепленный на корпусе.
Задачей изобретения является увеличение срока службы фильтрующих кассет с прочно закрепленной крышкой.
Эта задача решается посредством фильтрующей кассеты, отличающейся тем, что основание крышки в направлении окружной стенки переходит через загнутый внутрь краевой участок в боковую стенку, причем загнутый краевой участок и полосовидная боковая стенка в сформированной области объединены в заостренный внутрь общий стеновой участок.
Изобретение исходит из того факта, что усилия FD, действующие за счет внутреннего давления на основание крышки, вызывают в области общего стенового участка растягивающее усилие FZ, которое из-за изгиба краевого участка имеет большую составляющую усилия параллельно боковой стенке и небольшую, направленную внутрь, составляющую усилия перпендикулярно боковой стенке. Это означает, что также область крепления боковой и окружной стенок нагружается только на растяжение вдоль боковой и окружной стенок, что уменьшает опасность срезающего разрушения на нижнем конце области крепления.
Другое преимущество загнутого краевого участка состоит в том, что усилия, оказываемые внутренним давлением на крышку, в краевой зоне не только ослаблены, но и могут быть использованы для создания уплотняющего усилия. За счет того что боковая стенка и загнутый краевой участок основания крышки образуют внутри фильтрующей кассеты общий стеновой участок, оказываемая внутренним давлением на общий стеновой участок составляющая F усилия направлена радиально наружу, так что общий стеновой участок прижимается к окружной стенке корпуса кассеты. При этом предпочтительно, если общий стеновой участок образует нижний участок боковой стенки.
В целом, нагрузка в критической области окружной стенки на нижнем конце области крепления заметно снижена, что эффективно предотвращает утечки в этой области и устанавливает срок службы фильтрующей кассеты, главным образом, выше срока службы фильтровального материала.
Преимущественно боковая стенка примыкает по касательной к изогнутому краевому участку. Боковая стенка сформирована предпочтительно на изогнутом краевом участке.
За счет ориентации по касательной направленная внутрь, действующая на боковую и окружную стенки составляющая растягивающего усилия дополнительно уменьшается. На внешней стороне крышки в краевой области образовано клинообразное кольцевое пространство. Оказалось, что достаточно, если изогнутый участок стенки проходит до внутреннего конца полосовидной боковой стенки.
Далее оказалось, что распределение усилий тем благоприятнее, чем больше радиус изгиба изогнутого краевого участка, причем верхний предел ограничивают размером корпуса кассеты. Преимущественно изогнутый краевой участок имеет средний радиус R изгиба, составляющий R 3×S, в частности R 5×S, где S обозначает толщину окружной стенки.
Преимущественно изогнутый краевой участок описывает угол 80-100°, обозначает угол, покрываемый радиусом R изгиба. Изогнутый краевой участок имеет на одном конце в области общего стенового участка, по существу, вертикальный участок и переходит на другом конце в, по существу, горизонтальный участок основания крышки. Диапазон угла 80-100° учитывает угол наклона окружной стенки относительно дна корпуса кассеты. Если корпус кассеты расширяется, например, конически вверх, что является предпочтительным выполнением, то угол лежит в диапазоне 90-100°.
Предпочтительным образом боковая стенка имеет верхний участок, проходящий от общего стенового участка вверх, по меньшей мере, до уровня основания крышки. Контактная поверхность полосовидной боковой стенки, с одной стороны, увеличивается, а, с другой стороны, создается контактная поверхность для опорного кольца, которое может быть расположено на крышке. Кроме того, этот верхний участок служит для захвата и удержания крышки посредством инструмента при вставке в кассету и закреплении на стенке кассеты.
За счет предусмотрения опорного кольца, расположенного между крышкой кассеты и крышкой внешней емкости, крышка кассеты может быть выполнена тем самым менее толстостенной, поскольку оказываемое на внутреннюю сторону крышки кассеты давление через опорное кольцо передается, по существу, на крышку внешней емкости. Поскольку опорное кольцо выполнено с возможностью многократного использования, а крышку с фильтрующей кассетой приходится удалять, можно сократить расходы на материал крышки.
Контур основания опорного кольца преимущественно, по существу, соответствует внешнему контуру крышки, так что крышка при сжимающей нагрузке может всей поверхностью прилегать к опорному кольцу.
При отсутствии давления опорное кольцо неполностью заполняет клинообразное кольцевое пространство. Предпочтительным образом между опорным кольцом и, по меньшей мере, прилегающим к общему стеновому участку участком изогнутого краевого участка имеется щелевидный промежуток. Этот щелевидный промежуток может проходить до горизонтального конца изогнутого краевого участка. Выражение «по существу, соответствует» следует понимать при этом с учетом этого щелевидного промежутка.
Наличие такого промежутка предпочтительно, поскольку в противном случае при толчках давления внешняя поверхность крышки терлась бы о нижнюю сторону опорного кольца, и крышка тем самым впоследствии повредилась бы. В краевой области крышки, т.е. в области клиновидного кольцевого пространства, это привело бы к нежелательной концентрации напряжений. Из-за высоких давлений материал крышки может попасть в область предела текучести. Для возникающей при определенных условиях пластической деформации в распоряжении имеется, тем самым, соответствующее свободное пространство, в которое может смещаться материал. Это означает, что полное прилегание крышки к нижней стороне опорного кольца достигается только тогда, когда возникают предельные давления.
Соединение крышки с окружной стенкой корпуса кассеты может быть создано, например, посредством склеивания или сварки. Преимущественно применяют, однако, лазерную сварку, поскольку нужный участок боковой стенки может быть сварен с окружной стенкой с большей точностью. При этом лазерной сварке с окружной стенкой корпуса кассеты подвергают, по меньшей мере, один участок общего стенового участка. Оказалось, что для достижения достаточной стабильности с окружной стенкой корпуса кассеты требуется сваривать не всю ширину боковой стенки. Предпочтительно, если сварная область проходит до нижнего конца общего стенового участка.
Для лазерной сварки материал корпуса кассеты выполнен проницаемым для лазерного излучения, а материал боковой стенки крышки – поглощающим лазерное излучение. При этом достаточно, если поглощающим лазерный луч является только материал боковой стенки крышки кассеты.
Примерные варианты осуществления изобретения более подробно поясняются ниже с помощью чертежей, на которых:
– фиг.1 – разрез фильтрующей кассеты в перспективе;
– фиг.2а,b – выносной элемент Х в увеличенном виде;
– фиг.3 – разрез верхней области фильтрующей кассеты с опорным кольцом;
– фиг.4 – выносной элемент Y на фиг.3 в увеличенном виде.
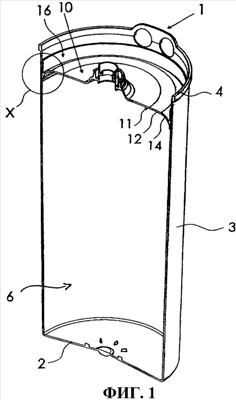
На фиг.1 в вертикальном разрезе изображена фильтрующая кассета 1 с корпусом 6, содержащим дно 2, окружную стенку 3, и открытым краем 4. Фильтровальный материал внутри фильтрующей кассеты не показан. Окружная стенка 3 выполнена здесь конической. Однако также возможна цилиндрическая окружная стенка.
Внутрь корпуса кассеты на расстоянии от открытого края 4 вставлена крышка 10. Крышка 10 кассеты имеет основание 11, включающее в себя, по существу, горизонтальную до центральной области среднюю часть 12 и изогнутый краевой участок 14, что более подробно поясняется ниже в связи с фиг.2а,b.
На фиг.2а в увеличенном виде изображена область Х. Видно, что горизонтальная средняя часть 12 в направлении окружной стенки 3 переходит в изогнутый краевой участок 14, который проходит внутрь фильтрующей кассеты, и вертикальным участком 15′ общего стенового участка 15 соединен с боковой стенкой 16. Боковая стенка 16 имеет верхний 17 и нижний 18 участки, причем нижний участок 18 идентичен общему стеновому участку 15. Этот общий стеновой участок 15 заострен вниз.
Изогнутый участок 14 изогнут настолько, что заканчивается в вертикальном направлении, т.е. боковая стенка 16 сформирована по касательной к изогнутому краевому участку 14. Боковая стенка 16 проходит почти параллельно окружной стенке 3.
Изогнутый краевой участок 14 характеризуется радиусом R изгиба, составляющим в представленном здесь примере примерно 7×S, где S обозначает толщину окружной стенки 3. Угол описывает область, покрываемую радиусом R изгиба, причем R может быть также средним радиусом изгиба. Изогнутый краевой участок 14 описывает угол около 90о.
Окружная стенка 3 может быть выполнена конической и образует с дном тупой угол (не показан).
Верхний участок 17 боковой стенки проходит за горизонтальную среднюю часть 12 вверх, причем между верхним участком 17 боковой стенки и изогнутым краевым участком 14 образовано клиновидное в поперечном сечении кольцевое пространство 5. Клиновидное кольцевое пространство 5 имеет острый угол, преимущественно 40-50°.
Общий стеновой участок 15 приварен в области 19 к окружной стенке 3, в частности лазерной сваркой. Диаметр крышки выполнен преимущественно с припуском, с тем чтобы стеновой отрезок 15 при сварке дополнительно прижимался к окружной стенке 3. Этот предварительный прижим предпочтителен, в частности, для лазерной сварки, чтобы получить однородный сварной шов. Эта область 19 простирается от нижнего острия общего стенового участка 15 вверх, причем достаточно, что эта сварная область 19 не простирается по всей ширине нижнего участка 18 боковой стенки.
Созданное внутренним давлением усилие обозначено стрелкой F. Видно, что внутреннее давление действует на общий стеновой участок 15 и оказывает тем самым, в частности в сварной области 19, дополнительное уплотняющее усилие.
Фиг.2b соответствует фиг.2а, причем дополнительно крышка, выгнутая действующими на внутреннюю сторону усилиями FD, обозначена штриховой линией. Средняя часть 12 и изогнутый краевой участок 14 выдавливаются вверх и занимают положение 12′, 14′, в результате чего возникают растягивающие усилия FZ, имеющие на общем стеновом участке 15 свою главную составляющую FZH, параллельную боковой стенке 16. За счет этого на сварной участок 19 действуют лишь небольшие, направленные внутрь усилия, что приводит к тому, что на нижнем конце сварного шва в критической области предварительно поврежденной в результате сварки окружной стенки 3 при сжимающей нагрузке возникают меньшие срезающие усилия.
На фиг.3 поясненная с помощью фиг.1 и 2 фильтрующая кассета изображена с опорным кольцом 20. Крышка 10 показана полностью и содержит концентричные присоединительные трубки 13. В соответствии с этим опорное кольцо 20 также в центре имеет кольцевое отверстие 27, так что эти присоединительные трубки 13 свободно доступны сверху.
Опорное кольцо 20 имеет радиальные опорные ребра 21, которые в нижней области соединены между собой общим основанием 22 опорного кольца, а в области внешней периферии – общей стенкой 26 опорного кольца. Контур основания 22 опорного кольца почти соответствует внешнему контуру крышки 10, причем опорное кольцо 20 прилегает к боковой стенке 16 также своей боковой стенкой 26.
На фиг.4 в увеличенном виде изображен выносной элемент Y. В области клиновидного кольцевого пространства над изогнутым краевым участком 14, в частности над участком 14” изогнутого краевого участка 14 крышки 10, образовано щелевидное кольцевое пространство 30. Это достигается за счет того, что острый край 25 изогнутого участка 24 основания 22 опорного кольца неполностью входит в кольцевое пространство 5, а изогнутый участок 24 основания 22 опорного кольца имеет меньший по сравнению с искривленным краевым участком 14 радиус изгиба. Этот различный радиус изгиба приводит к тому, что своим горизонтальным участком 23 основание 22 опорного кольца прилегает к горизонтальной средней части 12 основания крышки.
Перечень ссылочных позиций
1 – фильтрующая кассета
2 – дно
3 – окружная стенка
4 – открытый край
5 – клиновидное кольцевое пространство
6 – корпус кассеты
10 – крышка
11 – основание крышки
12 – горизонтальная средняя часть
12′ – горизонтальная средняя часть
13 – присоединительные трубки
14 – изогнутый краевой участок
14′ – изогнутый краевой участок
14” – отрезок изогнутого краевого участка
15 – общий стеновой участок
15′ – вертикальный участок
16 – боковая стенка
17 – верхний участок боковой стенки
18 – нижний участок боковой стенки
19 – сварной участок
20 – опорное кольцо
21 – радиальное опорное ребро
22 – основание опорного кольца
23 – горизонтальный участок
24 – изогнутый участок
25 – острый край
26 – стенка опорного кольца
27 – кольцевое отверстие
30 – щелевидное кольцевое пространство
Формула изобретения
1. Фильтрующая кассета (1), содержащая заполненный фильтровальным материалом корпус (6) с дном (2) и окружной стенкой (3), а также прочно закупоривающую корпус (6) крышку (10), которая имеет основание (11) и сформированную на нем вдоль его периферии полосовидную боковую стенку (16), закрепленную на внутренней стороне окружной стенки (3), отличающаяся тем, что основание (11) крышки в направлении окружной стенки (3) переходит через изогнутый внутрь краевой участок (14) в боковую стенку (16), причем изогнутый краевой участок (14) и полосовидная боковая стенка (16) в сформированной области соединены в заостренный внутрь общий стеновой участок (15).
2. Кассета по п.1, отличающаяся тем, что боковая стенка (16) примыкает по касательной к изогнутому краевому участку (14).
3. Кассета по п.1, отличающаяся тем, что общий стеновой участок (15) образует нижний участок (18) боковой стенки (16).
4. Кассета по п.1, отличающаяся тем, что изогнутый краевой участок (14) проходит до внутреннего конца полосовидной боковой стенки (16).
5. Кассета по п.1, отличающаяся тем, что изогнутый краевой участок (14) имеет средний радиус R изгиба, составляющий R 5×S, где S обозначает толщину окружной стенки (3) корпуса (6) кассеты.
6. Кассета по п.1, отличающаяся тем, что изогнутый краевой участок (14) описывает угол 80-100°.
7. Кассета по п.1, отличающаяся тем, что боковая стенка (16) имеет верхний участок (17), проходящий от общего стенового участка (15) вверх, по меньшей мере, до уровня основания (11) крышки.
8. Кассета по п.7, отличающаяся тем, что верхний участок (17) боковой стенки (16) и изогнутый краевой участок (14) ограничивают на своей внешней стороне клиновидное в поперечном сечении кольцевое пространство (5).
9. Кассета по п.1, отличающаяся тем, что на крышке (10) расположено опорное кольцо (20).
10. Кассета по п.9, отличающаяся тем, что, по меньшей мере, контур основания опорного кольца (20) выполнен, по существу, соответствующим внешнему контуру крышки (10).
11. Кассета по п.9, отличающаяся тем, что опорное кольцо (20) заполняет клиновидное кольцевое пространство (5) неполностью.
12. Кассета по п.9, отличающаяся тем, что между опорным кольцом (20) и, по меньшей мере, прилегающим к общему стеновому участку (15) участком (14′) изогнутого краевого участка (14) имеется щелевидный промежуток (30).
13. Кассета по п.1, отличающаяся тем, что, по меньшей мере, один участок (19) общего стенового участка (15) соединен с окружной стенкой (3) лазерной сваркой.
14. Кассета по п.1, отличающаяся тем, что участок (19) склеен или сварен контактным нагревом с окружной стенкой (3).
15. Кассета по п.13, отличающаяся тем, что материал корпуса (6) кассеты является проницаемым для лазерного излучения, а, по меньшей мере, материал боковой стенки (16) крышки (10) – поглощающим лазерное излучение.
РИСУНКИ
|