|
|
(21), (22) Заявка: 2005114001/15, 02.10.2003
(24) Дата начала отсчета срока действия патента:
02.10.2003
(30) Конвенционный приоритет:
08.10.2002 (пп.1-13) US 10/267,136
(43) Дата публикации заявки: 10.10.2005
(46) Опубликовано: 10.02.2008
(56) Список документов, цитированных в отчете о поиске:
ЕР 0848974 А, 24.06.1998. US 5158714 А, 27.10.1992. US 4140625 А, 20.02.1979. RU 2153927 C2, 10.08.2000. RU 2127147 C1, 10.03.1999. RU 2125484 C1, 27.01.1999. SU 709143 А, 15.01.1980.
(85) Дата перевода заявки PCT на национальную фазу:
11.05.2005
(86) Заявка PCT:
US 03/31351 (02.10.2003)
(87) Публикация PCT:
WO 2004/033065 (22.04.2004)
Адрес для переписки:
103735, Москва, ул. Ильинка, 5/2, ООО “Союзпатент”, пат.пов. Ю.В.Пинчуку
|
(72) Автор(ы):
МЮЛЛЕР Мортен (DK)
(73) Патентообладатель(и):
ЮОП ЛЛК (US)
|
(54) ДВУХФАЗНЫЙ РАСПРЕДЕЛИТЕЛЬНЫЙ АППАРАТ И СПОСОБ РАСПРЕДЕЛЕНИЯ
(57) Реферат:
Изобретение обеспечивает контактирование паров и жидкости, пропускаемых через резервуар по направлению вниз, внутри некоторого множества распределительных узлов (1), размещенных по всей поверхности горизонтальной распределительной тарелки (14), расположенной внутри резервуара. В распределительных узлах предусматривается наличие соответствующих путей (15, 16), предназначенных для прохождения по ним потоков, причем эти пути оказывают разное сопротивление движению потоков за счет наличия входных отверстий (4, 5) для паров, по меньшей мере, двух разных размеров. Эти входные отверстия, имеющие разные размеры, выполняются либо в разных распределительных узлах, либо в одном и том же распределительном узле, но ведут они при этом в разные каналы с восходящим потоком. Благодаря этому обеспечиваются разные значения объемных скоростей потоков паров и объемных скоростей потоков жидкости, проходящих по разным каналам с восходящим потоком. Настоящее изобретение позволяет улучшить равномерность распределения жидкости по всему поперечному сечению резервуара, несмотря на имеющиеся различия по высоте расположения уровней жидкости на распределительной тарелке или наблюдающиеся изменения в значениях объемных скоростей потоков паров и жидкости при прохождении их сквозь реактор. 2 н. и 11 з.п. ф-лы, 10 ил.
Область техники, к которой относится изобретение
Настоящее изобретение относится к распределительно-смесительному аппарату и способу перемешивания и распределения, которые предназначаются соответственно для использования и осуществления их внутри резервуара с двухфазным нисходящим потоком. В частности, настоящее изобретение относится к аппарату и способу, которые предназначены для распределения жидкости, проходящей вниз через смешанно-фазовый реактор, содержащий твердый катализатор. Более конкретно настоящее изобретение относится к аппарату, используемому в качестве составной части устройства для перемешивания и распределения, которое располагается над слоями катализатора или между этими слоями в реакторе для гидравлической обработки при осуществлении процесса гидроочистки или гидрокрекинга.
Уровень техники
В патенте US-A-5942162 раскрывается распределительное устройство для жидкости и паров, предназначенное для применения его в реакторах с нисходящим потоком. Такие устройства устанавливаются над отверстиями в тарелке, которая располагается по внутреннему поперечному сечению реактора. Эти устройства обеспечивают принудительное прохождение паров через вертикальную щель, ведущую в трубку 3 с восходящим потоком, которая обеспечивает подачу жидкости и паров к впускному отверстию трубки 1 с нисходящим потоком. Эта трубка 1 с нисходящим потоком пропущена сквозь отверстия в тарелке.
Узел колпачка барботажной ректификационной колонны, разработанный специально для применения его в конструкции реактора, раскрывается в патенте US-A-5158714. Этот узел включает в себя стакан для прохода паров, частично закрываемый колпачком. Стакан для прохода паров закрепляется над сквозным отверстием, выполненным в накрывающей тарелке. Как и в предыдущей ссылке, щели или отверстия в колпачке или юбке одинаковы по размеру и форме и равномерно распределены вокруг основания колпачка. В указанной ссылке раскрываются различные механические детали, к примеру, такие как соответствующие средства для съемного крепления узла колпачка барботажной ректификационной колонны к центральному цилиндру, а также дисперсионная пластина, расположенная в нижнем конце стакана для прохода паров с целью ограничить потоки для двух фаз текучей среды с образованием при этом тумана, который взаимодействует с находящимся внизу катализатором. Колпачок опирается на подставки 116, закрепленные на верхнем конце центральной цилиндрической стенки. Щели 137 в юбке или в цилиндрической стенке 136 колпачка 114 обеспечивают более высокий уровень жидкости внутри кольцевого пространства, определяемого колпачком 114 и стаканом 112 для прохода паров, чем на распределительной тарелке 30. Отмечается, что более высокий уровень жидкости в кольцевом пространстве позволяет компенсировать различные отклонения уровня жидкости на распределительной тарелке 30 и обеспечивает, по существу, однородный поток газа и жидкости через каждый узел колпачка и, по существу, равномерное смешивание газа и жидкости.
В других технических решениях предусматривается применение двухфазных распределителей с нисходящим потоком, имеющих одинаковые пути прохождения потоков по тарелке, причем путь прохождения каждого потока имеет точно такую же конфигурацию и рассчитан на подачу жидкости с такой же объемной скоростью потока. Для потока газа также предусматривается равномерное распределение его между всеми распределителями. Как указано выше, предложены были различные конструкции, обеспечивающие получение одинаковых путей прохождения потоков через распределители. Конструкции распределителей с одинаковыми путями прохождения потоков обеспечивают в достаточной мере равномерное распределение жидкости по площади поперечного сечения резервуара под тарелкой в идеальных условиях. Такими идеальными условиями могут считаться, например, наличие горизонтально расположенной тарелки, на которой распределители установлены на одной и той же высоте и работают при одинаковой глубине слоя жидкости вокруг каждого распределителя при расчетных значениях объемной скорости потоков жидкости и газа, поступающих к тарелке. Однако, когда условия не являются идеальными, что практически всегда имеет место при коммерческой эксплуатации, наблюдается рост различных нарушений равномерности распределения. То есть, иными словами, жидкость распределяется менее равномерно по площади поперечного сечения резервуара под тарелкой.
Различные конструкции, обеспечивающие получение одинаковых путей прохождения потоков, имеют разные рабочие диапазоны или, например, амплитуду регулировки величины, диапазона объемных скоростей потока пара и(или) жидкости, в пределах которого определенная конструкция работает эффективно. Однако когда для распределителей с одинаковой конфигурацией потоков прохождения текучей среды существуют разные уровни жидкости на тарелке, пути, по которым проходят пары и жидкость через разные распределители, уже не являются одинаковыми. Например, жидкость с более низким уровнем вокруг одного распределителя должна будет пройти большее расстояние, прежде чем попасть в переточную трубку. При таких условиях каждый из распределителей с одинаковыми путями прохождения потоков не обеспечивает, как предполагалось, получения таких же объемных скоростей потока паров и жидкости. Следовательно, наблюдается рост различных нарушений равномерности распределения жидкости по площади поперечного сечения резервуара под тарелкой.
Как отмечается в указанных здесь выше ссылках, распределительные устройства для двухфазных нисходящих потоков часто используются при осуществлении процесса гидравлической обработки, и, в частности, они устанавливаются в реакторах для проведения гидроочистки или гидрокрекинга. Ниже приводится несколько примеров неидеальных условий, воздействию которых подвергаются такие распределительные устройства при коммерческой эксплуатации указанных реакторов.
Для обеспечения хорошей рабочей характеристики реактора очень важно поддерживать температурный профиль процесса (со структурным ядром в потоке) и однородный профиль объемной скорости потока реагента при прохождении его через слой катализатора. Температурный профиль процесса и профиль объемной скорости потока могут находиться во взаимосвязи между собой, поскольку в результате изменения температурного профиля могут наблюдаться и различные нарушения равномерности распределения паров или жидкости, и наоборот. Данное обстоятельство является критическим с точки зрения обеспечения успешной эксплуатации реактора в течение длительного срока, к примеру, реактора для проведения гидрокрекинга на нефтеперерабатывающем заводе, где желательно обеспечить работу реактора на каждой загрузке катализатора в течение продолжительного периода времени. Гидрокрекинг и другие реакции гидрогенизации, к примеру, такие как гидродесульфурация, являются высокоэкзотермическими, и, таким образом, при проведении требуемой реакции наблюдается повышение температуры реагентов, стекающих по направлению вниз. Кроме того, активность и избирательность катализатора зависят от температуры, при которой ему приходится работать. Следовательно, экзотермический характер реакции оказывает соответствующее влияние на работу катализатора и на эффективность осуществления всего технологического процесса в целом. Различные нарушения равномерности распределения и недостаточно тщательное перемешивание могут вызывать локальные температурные отклонения, которые приводят к возникновению соответствующих различий по активности катализатора и по конверсии в пределах поперечного сечения реактора. Все это может приводить к снижению избирательности, а также к уменьшению средней величины конверсии или же скорости протекания реакции, в результате чего может возникнуть необходимость в переводе реактора на более суровые условия эксплуатации, либо в ограничении объемной скорости потока исходного сырья, подаваемого в реактор, с тем, чтобы обеспечить получение требуемого уровня качества получаемой продукции или же уровня конверсии без превышения максимальных значений рабочих температур. Обычно при этом происходит соответствующее уменьшение общей избирательности процесса по отношению к требуемым продуктам, что приводит к снижению экономической эффективности процесса.
Еще один отрицательный эффект, наблюдающийся в результате возникновения различных нарушений равномерности распределения и локальных температурных отклонений, состоит в преждевременном истечении срока службы катализатора, что происходит по причине более интенсивного дезактивирования катализатора. Это может происходить в результате использования катализатора при высокой температуре либо из-за отложения веществ, ухудшающих качество нефтепродукта, к примеру, таких как углерод (кокс), на поверхности катализатора. Во всяком случае, это может привести к преждевременному снижению средней активности катализатора, находящегося в реакторе, а также к необходимости в преждевременной остановке реактора. Низкое качество вырабатываемых нефтепродуктов, снижение эффективной производительности до уровня ниже оптимального, а также преждевременная остановка реактора – все это имеет существенный отрицательный экономический эффект, в результате чего наблюдается ухудшение эксплуатационных показателей нефтеперерабатывающего завода. Остановка реактора для гидравлической обработки, перезагрузка и повторный его пуск представляют собой довольно сложную и трудоемкую операцию, требующую для ее осуществления много времени, из-за чего приходится выводить из эксплуатации не только сам этот агрегат, но также и связанные с ним в одном технологическом процессе другие агрегаты, находящиеся в направлении потока, как перед реактором, так и после него. Все это может потенциально приводить к сокращению пропускной способности всего нефтеперерабатывающего завода в целом. Таким образом, целью настоящего изобретения является создание усовершенствованного аппарата для перемешивания паров и жидкости с обеспечением соответствующего распределения жидкости в реакторах с нисходящим потоком, которые используются для осуществления реакций конверсии углеводородов.
Помимо различных отклонений, допускаемых во время установки оборудования, к примеру, таких как нарушение горизонтального расположения тарелки для сбора жидкости, неравномерность уровней жидкости на тарелке распределителя, предназначенной для сбора жидкости, может вызываться несколькими разными факторами. Одна из проблем, с которыми приходится сталкиваться при проектировании узлов, располагающихся внутри реактора для проведения гидравлической обработки, связана с возникновением сил, создаваемых течением газа и жидкости, которые находятся в реакторе. Эти силы в сочетании с высокими давлениями и температурами стремятся привести к возникновению высоких напряжений в опорах и других устройствах, находящихся внутри реактора. Обычно эти силы поглощаются опорными балками, предусмотренными в перемешивающем и распределительном оборудовании. Однако при этом все же могут еще наблюдаться некоторые деформации внутренних опор и распределительных тарелок. Значительно более серьезная проблема возникает в том случае, когда направляющаяся потоком вниз жидкость стекает на собирающую ее тарелку всего лишь в нескольких отдельных точках. При этом устанавливаются соответствующие градиенты по высоте слоя жидкости, а также возникают потоки жидкости, направленные поперек тарелки. Под воздействием жидкости, стекающей в виде потока вниз, возникают также различные возмущения и другие нарушения равномерности уровня жидкости. Следовательно, соответствующие устройства, находящиеся на распределительных тарелках, нуждаются в том, чтобы они были должным образом приспособлены к этим условиям. Другой целью настоящего изобретения является создание такого распределительного аппарата, который обладал бы лучшей способностью приспосабливаться к возникновению различий по глубине слоя жидкости, окружающей отдельные распределители, расположенные на разных частях распределительной тарелки.
Объемные скорости потоков жидкости и паров, пропускаемых сквозь реактор для проведения гидравлической обработки, подвержены с течением времени частым изменениям, которые происходят в связи с изменениями рабочей температуры реактора или же иных условий работы реактора, изменениями состава подаваемого исходного сырья, изменениями в технических условиях на вырабатываемые нефтепродукты или же в связи с переходом на использование другого катализатора. Например, при увеличении конверсии в реакторе для проведения гидрокрекинга наблюдается соответствующее повышение интенсивности испарения углеводородов, поскольку они являются такими нефтепродуктами, которые обладают более высокой летучестью. Таким образом, следующей целью настоящего изобретения является создание такого распределительного аппарата, который обладает очень высокой устойчивостью к различным изменениям в объемной скорости потока паров и(или) жидкости, в особенности, к увеличению объемной скорости потока паров, находящихся в реакторе.
Режим работы агрегата для проведения гидравлической обработки будет с течением времени постепенно изменяться в связи с имеющимися различиями в скоростях подачи исходного сырья, в скоростях потока рециркулирующего газа, а также в условиях, создаваемых внутри реактора, например, таких как повышение температуры с целью противодействия дезактивированию катализатора. Различные отклонения, возникающие в процессе работы реактора, к примеру, такие как изменения в объемной скорости потока жидкости, направляющейся на тарелку колонны, могут приводить к соответствующим изменениям в уровне жидкости, удерживаемой на тарелке, предназначенной для сбора жидкости. Следующая цель настоящего изобретения заключается в создании такого устройства, которое будет менее чувствительным к изменениям в уровне жидкости на тарелке, предназначенной для сбора жидкости.
Раскрытие изобретения
Настоящее изобретение представляет собой распределительный аппарат для жидкости, предназначенный для использования его в качестве одного из элементов оборудования, устанавливаемого внутри резервуара с двухфазным нисходящим потоком, причем этот аппарат менее чувствителен к различным локальным повышениям уровня жидкости или изменениям градиентов по высоте слоя жидкости на тарелке, предназначенной для сбора жидкости. Аппарат содержит множество отдельных распределительных узлов, смонтированных на горизонтальной тарелке, создающей необходимое сопротивление потоку. Каждый такой распределительный узел представляет собой расположенный сверху тарелки колпачок или кожух, который способствует формированию одного или нескольких каналов для прохождения потока, причем каждый из них имеет П-образную форму. Путь, по которому проходит поток текучей среды, начинается у проходов в вертикальной боковой стенке колпачка, которые обеспечивают сообщение с каналом для прохождения потока. При наличии в одном распределительном узле двух или более каналов для прохождения внутри такого распределительного узла над тарелкой может происходить слияние путей, по которым проходит поток текучей среды. Аппарат имеет, по меньшей мере, два пути разной конфигурации, по которым проходит поток текучей среды, что обеспечивается, к примеру, за счет соответствующих различий в конфигурации проходов, благодаря чему разные трехмерные скорости потока текучей среды, проходящей через данный аппарат по путям для потока текучей среды, имеют разную конфигурацию. Весовой поток паров и(или) весовой поток жидкости будет различным для разных распределительных узлов либо для двух или более путей, по которым проходит поток через один и тот же распределительный узел, имеющий не один, а несколько каналов для прохождения потока. Благодаря этому улучшается равномерность распределения жидкости, направляющейся вниз на следующий уровень колонны, несмотря на всякие нарушения, вызываемые неоднородностью конструкции, наличием градиентов по уровню жидкости и(или) возникающие вследствие негоризонтального расположения распределительной тарелки колонны. В одном из вариантов осуществления настоящего изобретения предусматривается применение переточной трубки, имеющей характерные особенности конструкции, которая может иметь круглую, прямоугольную или треугольную форму, а также наличие отличительных особенностей, характеризующих проходы, выполненные в колпачках, расположенных сверху тарелки.
Каждый конкретный путь в целом, по которому проходит поток текучей среды, характеризуется соответствующим сопротивлением, которое оказывает этот путь потоку текучей среды, и, следовательно, определяется также объемной скоростью потока газа и жидкости, движущихся по каждому из путей прохождения потока текучей среды. Таким образом, должно иметься, по меньшей мере, два разных пути, по которым внутри предлагаемого аппарата проходят потоки текучей среды, причем эти пути отличаются друг от друга по своей конфигурации, в частности по таким параметрам, определяющим конфигурацию этих путей, как, например, размерные показатели, форма, наличие какого-либо препятствия, ограничивающего поток на входе, наличие соответствующего препятствия, ограничивающего поток на выходе, или же наличие каких-либо промежуточных препятствий между входом и выходом, причем эти различия могут существовать как по отдельности, так и в комплексе друг с другом.
Краткое описание чертежей
Фиг.1 – представленный вид сбоку в разрезе распределительного узла, имеющего два канала и выполненного в соответствии с настоящим изобретением.
Фиг.2 – представленный вид сверху в разрезе сечения 2-2 распределителя, показанного на фиг.1.
Фиг.3А и 3В – показанные с противоположных сторон виды колпачка, соответствующего распределителю, представленному на фиг.1.
Фиг.4 – изометрическая проекция переточной трубки, соответствующей распределителю, представленному на фиг.1.
Фиг.5 – изометрическая проекция альтернативного варианта исполнения распределительного узла.
Фиг.6 – представленный вид сверху в разрезе сечения 6-6 распределителе, показанного на фиг.5.
Фиг.7 – представленный вид сверху в разрезе пяти колпачковых распределительных узлов, расположенных по схеме треугольной решетки на распределительной тарелке колонны.
Фиг.8А – вид сбоку распределительного узла, имеющий два канала и цилиндрическую переточную трубку со ступенчатым входом в нее сверху.
Фиг.8В – вид сверху распределительного узла, имеющий два канала и показанный на фиг.8А.
Фиг.8С – вид сбоку отдельно переточной трубки, изображенной на фиг.8А, с показом ступенчатого входа. Этот вид развернут на 90° по сравнению с видом, представленным на фиг.8А.
Фиг.9А – вид спереди сбоку, показывающий другой вариант исполнения распределительного узла с двумя каналами, смонтированными на тарелке колонны.
Фиг.9В – вид сбоку распределительного узла, показанного на фиг.9А.
Фиг.9С – вид сверху распределительного узла, показанного на фиг.9А.
Фиг.10А – вид спереди по горизонтали двух распределительных узлов, имеющих впускные проходы разного размера для паров и расположенных на тарелке.
Фиг.10В – вид сверху одного из распределительных узлов, имеющих один канал для прохождения потока и показанных на фиг.10А.
Осуществление изобретения
Настоящее изобретение предназначается для использования его в различных смешанно-фазовых, то есть имеющих как парообразную, так и жидкую фазу резервуарах с нисходящим потоком обеих указанных фаз. Данное изобретение можно будет сравнительно легко использовать, например, для осуществления перемешивания и(или) перераспределения парообразной и жидкой фаз в резервуарах, содержащих неподвижный слой частиц, к примеру, таких, как частицы катализатора и(или) абсорбента. Особо высокий положительный эффект в результате применения настоящего изобретения предполагается получить при использовании его применительно к реакторам, предназначенным для проведения гидравлической обработки, в частности, к таким реакторам, которые применяются для проведения гидрокрекинга и гидроочистки, к примеру, при десульфурации углеводородных фракций, получаемых на основе нефти. Предлагаемые в соответствии с настоящим изобретением распределительные узлы обеспечивают тщательное перемешивание вещества в жидкой и парообразной фазах с последующим равномерным распределением полученного смешанно-фазового потока по всему поперечному сечению реактора. Это способствует устранению концентрационных профилей реагента и радиальных градиентов температуры в слое катализатора. Такие профили и(или) градиенты могут образовываться вследствие проявляемой жидкостью или парами склонности к образованию локальных сквозных протоков внутри реактора. Например, в реакторе, предназначенном для проведения гидрокрекинга или гидроочистки, благодаря перемежающемуся повторному смешению обеспечивается соответствующий контакт всего объема направляющейся вниз жидкости с газообразной фазой, обогащенной водородом, в результате чего достигается термическое равновесие в пределах всего объема этой жидкости. Основное назначение предлагаемого аппарата заключается в обеспечении равномерного распределения жидкости по верху слоя катализатора, но при этом перемешивающие узлы обеспечивают также и тщательное перемешивание паров и жидкости с получением в итоге равномерной их температуры, причем данное назначение аппарата имеет особо важное значение для соответствующих промежуточных точек внутри реактора, где происходит резкое охлаждение или примешивание свежего потока исходного нефтепродукта к текучим средам, направляющимся вниз в виде потока, проходящего через реактор. Для большей ясности и удобства изложения, в данном описании речь идет, прежде всего, об использовании настоящего изобретения применительно к реакторам, предназначенным для проведения гидравлической обработки. Однако такое практическое использование изобретения не следует считать накладывающим какое-либо ограничение на объем или суть настоящего изобретения.
В общем, базовая конструкция предлагаемого аппарата обеспечивает принудительное поступление жидкости, скапливающейся на горизонтальной тарелке колонны, в виде направленного вверх потока по предусматриваемым для этой цели каналам к верхним концам многочисленных вертикальных переточных трубок, распределенных равномерным образом по поверхности тарелки. Эта жидкость затем стекает по указанным переточным трубкам вниз и попадает в пространство резервуара, находящееся ниже указанной тарелки, на чем и завершается направленный вниз участок пути прохождения потока через распределительные узлы. Поток жидкости при прохождении ее по предусматриваемым для этой цели каналам сопровождается также соответствующим потоком паров, причем пары стремятся, в данном случае, поднимая жидкость вверх, возвратить ее обратно внутрь переточной трубки.
В одном из вариантов своего осуществления настоящее изобретение представляет собой аппарат, который внешне напоминает собой колпачок барботажной ректификационной колонны, но имеет при этом принципиально новую конструкцию в той своей части, которая в данном аппарате обеспечивает прохождение паров через находящийся сверху колпачок или же кожух, прежде чем они попадут в канал, предназначенный для восходящего потока. Кроме того, предложенный аппарат характеризуется также принципиально новой конструкцией внутреннего строения каналов, предназначенных для восходящего потока, а также входа в переточную трубку, по которой пары в смеси с жидкостью поступают вниз под распределительную тарелку.
Одной из основных отличительных особенностей предложенного аппарата в целом является наличие в нем множества различных путей, отличающихся друг от друга по своей конфигурации, по которым проходят потоки текучей среды, благодаря чему обеспечиваются разные объемные скорости потоков газа и жидкости. В одном из вариантов осуществления настоящего изобретения, для некоторых из каналов, предназначенных для восходящих потоков, будет наблюдаться высокий весовой расход паров и низкий весовой расход жидкости, тогда как в других каналах, предназначенных для восходящих потоков, будет наблюдаться низкий весовой расход паров и высокий весовой расход жидкости. Этого можно добиться несколькими различными способами, к примеру, таким, как обеспечение проходов разного размера для потока газа, поступающего в различные каналы, предназначенные для восходящих потоков. Эти проходы выполняются в наружной стенке канала, предназначенного для восходящего потока, и представляют собой единственную точку, в которой пары должны будут предположительно поступать в данный канал. То есть, иными словами, весьма нежелательно, чтобы из-под нижней кромки колпачка внутрь канала поступали пары в сколь либо значительных количествах. По размерам эти проходы выполняются таким образом, чтобы обеспечивалось соответствующее препятствие, ограничивающее поступление паров внутрь канала распределителя, создавая тем самым первичное сопротивление потоку паров. Объемная скорость потока жидкости определяется, в первую очередь, тем сопротивлением, которое оказывает смешанно-фазовому потоку текучей среды конструкция пути, по которому проходит текучая среда между проходом и открытым пространством резервуара, находящимся под тарелкой колонны. Таким образом, форма, размеры и расположение указанного прохода, размер поперечного сечения и форма канала, предназначенного для восходящего потока, длина этого канала, относительная высота расположения верхнего конца указанного канала, шероховатость поверхностей, находящихся в контакте с текучей средой, а также наличие каких-либо препятствий на пути движения потока, ограничивающих свободу перемещения текучей среды по этому пути, в том числе и препятствий, находящихся внутри переточной трубки, – все это определяет собой общее сопротивление движению потока соответствующих текучих сред при прохождении их по данному пути. Варьирование перечисленных здесь выше переменных величин в сочетании с возможностью вносить соответствующие изменения в конструкцию других частей предложенного аппарата позволяют получить, практически, неограниченное число самых разнообразных вариантов конструктивного исполнения аппарата, изготавливаемого в соответствии с настоящим изобретением.
При том условии, что все остальные факторы сохраняются без каких-либо изменений, обеспечение более легкого прохождения паров внутрь канала, по которому происходит движение их потока, приводит к получению следующих двух результатов. Во-первых, при этом уменьшается перепад давлений между пространством, находящимся снаружи распределителя, и пространством, которое заключено внутри канала, предназначенного для восходящего потока. Вследствие этого обеспечивается, в свою очередь, возможность получения такого уровня жидкости внутри указанного канала, который по своему значению будет ближе к уровню жидкости, находящейся на тарелке колонны снаружи этого канала (оставаясь при этом несколько более низким по сравнению с ним). В результате повышения объемной скорости прохождения паров возникает необходимость в дополнительном увеличении высоты подъема жидкости, прежде чем она сможет начать поступать внутрь переточной трубки. По этой причине наблюдается соответствующее сокращение потока жидкости, поступающей в переточную трубку. То есть, иными словами, в результате увеличения доступной площади проходного сечения соответствующего прохода будет наблюдаться более высокая объемная скорость потока паров при более низкой объемной скорости потока жидкости, и наоборот.
Поскольку поток паров, поступающих сквозь указанный проход, увлекает вверх за собой также и жидкость, устройство такого типа обычно называют устройством с паровым приводом. В данном случае, при наличии путей с разной конфигурацией, по которым проходит текучая среда, в результате чего наблюдается соответствующая разность между объемными скоростями потоков жидкости и паров, предложенные устройства могут быть названы распределителями с асимметричным паровым приводом (AVD-распределители).
Довольно простая конструкция пути прохождения потоков, внутрь которого сначала проходят пары, поступающие через соответствующий проход, а затем направляются вверх вместе с жидкостью по вертикальному каналу, предназначенному для пропускания потоков, где поток огибает внутреннюю перегородку сливного отверстия и, наконец, направляется оттуда вниз по переточной трубке, обеспечивает реальную возможность для разработки большого разнообразия различных вариантов конструкции пути, по которому проходят потоки. Выбор наилучшего среди всех этих вариантов касается главным образом вопроса обеспечения легкости и низкой стоимости изготовления оборудования, а не вопроса получения относительно высокой его рабочей характеристики. В одном из основных вариантов осуществления настоящего изобретения в одном и том же распределительном узле может предусматриваться наличие путей для прохождения текучей среды, имеющих разную конфигурацию, за счет выполнения в этом узле двух или более отдельных каналов, по которым проходят потоки текучей среды, либо такие пути с разной конфигурацией могут предусматриваться в совершенно разных распределительных узлах. То есть, иными словами, в одном из вариантов осуществления настоящего изобретения, предлагаемый аппарат может представлять собой тарелку для сбора жидкости, несущую на себе некоторое множество распределительных узлов, при этом каждый такой распределительный узел имеет всего лишь только один вертикальный канал, по которому движется поток текучей среды, а проходы для паров, по которым они поступают внутрь каналов разных распределительных узлов, имеют одну из двух или более разных площадей поперечного сечения. В другом варианте осуществления настоящего изобретения, распределительные узлы имеют каждый по два вертикальных канала, предназначенных для пропускания потоков, или более, причем каждый из указанных каналов снабжен соответствующим проходом для пропускания паров внутрь него, и эти проходы для доступа паров внутрь каналов на одном и том же распределительном узле имеют разные площади проходного сечения. В данном описании изобретения значение термина «площадь поперечного сечения прохода» относится к общей, реально существующей открытой площади паза(-ов), перфорации(-ий) или отверстия(-ий) любой формы в вертикальной боковой стенке кожуха или колпачка, который частично образует соответствующий участок канала с восходящим потоком. Такой проход может быть также выполнен и в виде некоторого множества пазов или отверстий, которые совсем необязательно должны быть одного и того же размера, одинаковой формы и располагаться на одной и той же высоте. Указанная открытая площадь ограничивается также и в том смысле, что жидкость может частично перекрывать собой проход. При этом будет происходить частичное блокирование потока паров. Термин «вертикальный», применяемый в данном описании изобретения, относится к признаку, определяющему собой, по меньшей мере, некоторую вертикальную составную часть, которая перпендикулярна к горизонтальной тарелке для сбора жидкости. Например, что касается вертикальных каналов, предназначенных для пропускания потоков, то для них требуется иметь всего лишь одну только какую-нибудь вертикальную составную часть, то есть, иными словами, эти каналы не должны располагаться параллельно по отношению к тарелке колонны.
В одном из вариантов осуществления настоящего изобретения предусматривается использование в предлагаемом аппарате уже сложившейся практики, когда находящийся сверху колпачок устанавливается таким образом, что его днище расположено на некотором расстоянии от верхней поверхности тарелки колонны, в результате чего между ними образуется соответствующее отверстие достаточно большого размера. Предполагается, что указанное отверстие высотой, например, 2-7 см располагается при этом ниже нормального уровня жидкости, находящейся на тарелке колонны, и в обычных условиях становится, таким образом, недоступным для потока газов. Однако благодаря наличию указанного отверстия допускается прохождение потоков текучей среды с объемными скоростями потоков, превышающими нормальные их значения, в случае возникновения в процессе эксплуатации оборудования каких-либо существенных сбоев в его работе либо иных неожиданных осложнений. Особенно важное значение приобретает это обстоятельство в тех случаях, когда тарелка колонны, предназначенная для сбора на ней жидкости, установлена с достаточно хорошим уплотнением, исключающим возможность пропускания потока текучей среды в обход тарелки.
Тарелка, на которую стекает направляющаяся вниз жидкость, предпочтительно занимает собой целиком все доступное поперечное сечение реактора. Она может быть выполнена также и в виде соединенных между собой отдельных частей или секций с тем, чтобы обеспечивалась возможность размещения внутри реактора других элементов его внутреннего оборудования. Тарелка при этом предпочтительно имеет такую конструкцию и изготавливается таким образом, чтобы обеспечивалось герметичное уплотнение тарелки относительно внутренней стенки реактора, благодаря чему удалось бы избежать протечек жидкости, при которых возможно возникновение различных нарушений равномерности распределения жидкости. Кроме того, благодаря наличию надежного уплотнения тарелки колонны обеспечивается также принудительное движение потоков паров через проходы и внутренние каналы распределительных элементов. В результате можно будет ограничиться наличием в предложенном аппарате только лишь таких сливных отверстий, который имеют сравнительно низкую пропускную способность. Распределительная тарелка колонны, а также и все остальное внутреннее оборудование реактора могут при этом иметь вполне обычную конструкцию.
Альтернативные варианты конструктивного исполнения распределительного узла проиллюстрированы на прилагаемых чертежах. При этом прилагаемые чертежи предназначаются исключительно только лишь для того, чтобы более полно охарактеризовать настоящее изобретение и различные варианты его осуществления. Эти чертежи ни в коей мере не рассчитаны на то, чтобы в той или иной степени ограничивать объем или же сущность настоящего изобретения, которые подробно раскрываются в приведенном здесь его описании, либо на то, чтобы служить в качестве рабочих чертежей. Кроме того, эти чертежи не следует также считать устанавливающими какие-либо пределы для объема изобретательского замысла, который определен самой идеей настоящего изобретения. Сравнительные размеры, показанные на прилагаемых чертежах, не следует рассматривать как равные действительным размерам промышленных вариантов осуществления настоящего изобретения либо как пропорциональные этим размерам.
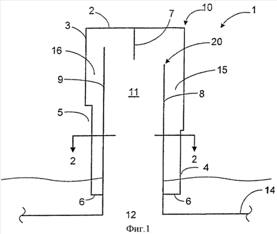
Как видно далее из прилагаемых чертежей, на фиг.1 показан представленный в разрезе вид сбоку, если смотреть в горизонтальном направлении на распределитель 1, имеющий два канала, по которому проходят соответствующие потоки. В данном случае предусматривается наличие соответствующего колпачка, или кожуха, 10, установленного на верху переточной, или переливной, трубки 20, которая располагается по центру внутри колпачка 10. Переливная трубка 20, в свою очередь, смонтирована поверх отверстия 12, предусмотренного в тарелке 14, которая предназначается для сбора направляющейся вниз жидкости. Переливная трубка 20 может быть также пропущена сквозь отверстие 12 таким образом, чтобы выступать оттуда вниз относительно тарелки, но это на чертеже не показано. В одном из вариантов осуществления настоящего изобретения, весь газ и вся жидкость, движущиеся в нижнем направлении сквозь реактор, проходят сквозь многочисленные распределители, количество которых может находиться в пределах, например, от 20 до 2200 шт. и которые соответствующим образом располагаются на тарелке колонны.
Фиг.2 представляет собой вид сверху в сечении 2-2 на распределительный узел, показанный на фиг.1, где показано, как располагается переточная трубка 20 внутри колпачка 10. Фиг.1 и 2 иллюстрируют взаимное расположение колпачка 10 и переточной трубки 20, которое определяет собой общую конфигурацию распределителя 1 в данном варианте осуществления настоящего изобретения.
Фиг.3 и 4 иллюстрируют соответственно колпачок 10 и переточную трубку 20 распределительного устройства, показанного на фиг.1. Фиг.3А и 3В показывают с противоположных сторон разные виды боковой цилиндрической стенки, или юбки, 3 колпачка 10, в которой выполнены проходы 4 и 5 соответственно изображенного на фиг.1 распределительного узла с двумя каналами для прохождения потоков. Цилиндрическая стенка 3 и верхняя пластина 2 образуют собой колпачок, или кожух, 10, которым накрывается верхний открытый конец переточной трубки, в результате чего и образуется сам распределитель 1. Колпачок 10 предпочтительно выполняется таким образом, что в нем, по существу, не имеется каких-либо других отверстий, за исключением тех, которые необходимы для установки соответствующих крепежных средств, удерживающих колпачок в требуемом положении, а также проходов 4 и 5, предназначенных для пропускания паров и жидкости внутрь. В другом варианте осуществления настоящего изобретения, который здесь не показан, любой из проходов 4 и 5 или же оба они могут быть выполнены в виде некоторого множества отверстий. Эти проходы не одинаковы между собой. Например, в варианте осуществления настоящего изобретения, представленном на фиг.1-4, предусматривается наличие паза 4 меньшего размера, рассчитанного на пропускание малого потока паров и – с противоположной стороны колпачка 10 – прохода 5 большего размера, предназначенного для пропускания большого потока паров. При этом проход 5 большего размера, предназначенный для пропускания большого потока паров с более высокой объемной скоростью, предпочтительно выполняется таким образом, чтобы его высота и ширина были больше, чем отверстия, предусматриваемые в качестве прохода 4, который предназначен для пропускания потока паров с более низкой объемной скоростью. Предпочтительно было бы также, чтобы эти проходы располагались на противоположных сторонах боковой стенки 3. При желании, колпачок может быть выполнен со скругленным верхом.
На фиг.4 представлен вид переточной трубки, предназначенной для изображенного на фиг.1 распределительного узла с двумя каналами для прохождения потоков. Рассматриваемая переточная трубка 20 содержит две лицевые стенки 8, 9, а также две торцевые стенки 11. При этом торцевые стенки 11 выполняются, по существу, таким образом, чтобы они были идентичны одна другой и имели одинаковую высоту. Верхние кромки торцевых стенок вплотную примыкают к внутренней поверхности верхней пластины 2 и удерживают колпачок 10 над переточной трубкой 20. Все четыре из указанных стенок проходят от верхней части распределительного узла вниз вплоть до уровня тарелки 14 колонны. Нижняя часть всех четырех из этих стенок предпочтительно уплотняется по отношению к горизонтально расположенной тарелке 14 с образованием при этом между ними такого уплотнения, которое является непроницаемым для текучей среды. Обе лицевые стенки 8 и 9 выполнены более короткими по сравнению с торцевыми стенками 11. При этом лицевая стенка 9 имеет большую высоту, чем лицевая стенка 8. Переточная трубка 20 может также иметь и более вытянутую прямоугольную форму с относительно узкими торцевыми стенками по сравнению с теми, которые показаны на рассматриваемом чертеже. При этом не требуется, чтобы переточная трубка имела какую-нибудь правильную геометрическую форму например, лицевые и торцевые стенки могут быть скошены под различными углами и(или) эти стенки могут быть изогнуты.
Как показано на фиг.1 и 2, лицевые стенки 8 и 9 переточной трубки располагаются напротив соответствующих проходов 4 и 5, имеющихся в боковой стенке 3 колпачка 10, и определяют собой два вертикальных канала (с восходящим потоком), или приемные камеры, соответственно 15 и 16 для текучей среды. Проход 4 меньшего размера, предназначенный для пропускания потока паров с более низкой объемной скоростью, располагается напротив более короткой лицевой стенки 8 и обеспечивает доступ текучей среды внутрь первого вертикального канала 15 (с восходящим потоком). Проход 5 большего размера, предназначенный для пропускания потока паров с более высокой объемной скоростью, располагается напротив более высокой лицевой стенки 9 и обеспечивает доступ текучей среды внутрь второго вертикального канала 16 (с восходящим потоком). Указанные вертикальные каналы (с восходящим потоком), или приемные камеры, 15 и 16 для текучей среды располагаются в пределах вытянутого по вертикали пространства, находящегося внутри колпачка 10 между лицевыми стенками соответственно 8 и 9 переточной трубки и цилиндрической боковой стенкой 3 колпачка.
Пары и жидкость, поступающие в эти каналы, направляются в виде соответствующих потоков по ним вверх к впускному отверстию переточной трубки. На фиг.2 показаны вертикальные кромки 19 торцевых стенок 11 переточной трубки, соприкасающиеся с внутренней поверхностью цилиндрической боковой стенки 3 колпачка 10. Этими вертикальными кромками 19 определяются вертикальные углы переточной трубки 20. В том случае, если колпачок 10 требуется выполнить съемным, предпочтительно, чтобы зазор в этой точке имел минимальное значение, которое необходимо для обеспечения достаточно легкой установки и снятия колпачка. Кроме того, предпочтительно также, чтобы вертикальные кромки 19 торцевых стенок 11 переточной трубки вплотную примыкали к внутренней поверхности боковой стенки 3, предотвращая тем самым возможность перетекания потока текучей среды из одной приемной камеры в другую. То есть, иными словами, текучая среда не должна иметь возможности совершать круговое движение внутри переточной трубки, а вместо этого она должна принудительно направляться вверх к впускному отверстию переточной трубки. Надежное крепление вертикальных кромок 19 торцевых стенок 11 переточной трубки к цилиндрической боковой стенке 3 с ее внутренней стороны будет способствовать обеспечению требуемой разности сопротивлений, оказываемых движению потоков текучей среды, перемещающейся в указанных двух каналах 15, 16, предназначенных для пропускания потоков. Однако при этом не требуется, чтобы колпачок был обязательно прикреплен к переточной трубке.
Как показано на фиг.1, боковая стенка 3 несимметричного колпачка 1 простирается вниз от верхней пластины 2 до нижней кромки 6, которая находится на сравнительно небольшом расстоянии от горизонтальной верхней поверхности тарелки 14 колонны. Таким образом, жидкость, находящаяся на тарелке 14, поступает в распределитель из-под днища колпачка и затем направляется в виде соответствующих потоков по каналам 15 и 16 восходящего потока, которые расположены между боковой стенкой 3 и торцевыми стенками 8, 9. Кроме того, жидкость может также поступать в указанные каналы и через проходы 4, 5. При этом жидкость втягивается вверх по каналам 15 и 16 под воздействием на нее паров, поступающих через проходы 4 и 5. При этом предполагается, что нижняя кромка 6 колпачка будет все время погружена в жидкость, находящуюся на тарелке 14 колонны. Образующаяся смесь паров и жидкости будет при этом перемещаться вверх в виде соответствующих потоков по направлению к верхней части распределительного узла, где эта смесь будет перетекать через верхние кромки лицевых стенок 8 и 9, направляясь далее внутрь переточной трубки 20. Следует отметить, что вертикальные кромки торцевых стенок 11 на фиг.1 не показаны с тем, чтобы более четко можно было проследить путь прохождения потока жидкости в момент преодоления этим потоком верхних кромок лицевых стенок и поступления его внутрь переточной трубки.
Переточная трубка 20 определяет собой одну из частей пути, по которому проходит поток текучей среды, причем указанная трубка частично образована противолежащими лицевыми стенками 8 и 9. При этом верхняя кромка лицевой стенки 9 располагается на более высоком уровне, чем соответствующая верхняя кромка лицевой стенки 8. Вследствие более высокого уровня расположения верхней кромки указанной стенки требуется обеспечить подъем жидкости на большую высоту в вертикальном канале 16 для восходящего потока, чем в соответствующем вертикальном канале 15. В связи с тем, что отверстие, находящееся сверху лицевой стенки 9 и ведущее в переточную трубку, имеет меньший размер по сравнению с аналогичным отверстием, находящимся сверху лицевой стенки 8, и которое имеет больший размер, в канале 16 создается дополнительное сопротивление движению потока жидкости относительно сопротивления, оказываемого движению потока жидкости при прохождении ее по каналу 15 с восходящим потоком. Однако вертикальный канал 16 для восходящего потока оказывает при этом меньшее сопротивление движению потока паров относительно сопротивления, создаваемого при движении потока паров по вертикальному каналу 15, потому что пары поступают в первый из указанных здесь выше каналов через проход 5, имеющий больший размер, чем соответствующий проход внутрь второго из этих каналов. Таким образом, вертикальный канал 16 с восходящим потоком можно также называть каналом с высокой объемной скоростью потока паров при низкой объемной скорости потока жидкости, а вертикальный канал 15 с восходящим потоком можно также называть каналом с низкой объемной скоростью потока паров при высокой объемной скорости потока жидкости.
Далее, смешанные потоки, каждый из которых состоит из двух фаз, перетекая через верхние кромки соответствующих лицевых стенок переточной трубки, поступают через открытый верхний конец этой трубки внутрь переточной трубки. Попадая внутрь переточной трубки 20, эти потоки предпочтительно все еще продолжают находиться в разделенном между собой состоянии в течение некоторого, весьма кратковременного периода, для чего предусматривается наличие соответствующей направляющей перегородки 7, при помощи которой эти потоки отделяются один от другого, причем эта перегородка располагается в верхней части предложенного распределительного узла. Указанная направляющая перегородка 7 в рассматриваемом здесь варианте осуществления настоящего изобретения представляет собой сплошную стенку, которая не имеет сквозных отверстий и располагается по центру внутри переточной трубки, при этом указанная перегородка простирается в нижнем направлении, по меньшей мере, до уровня ниже верхней кромки более высокой стенки 9. Направляющая перегородка 7 может оканчиваться также по высоте и на таком уровне, при котором нижняя ее кромка будет находиться на некоторой промежуточной высоте между верхними кромками лицевых стенок 8 и 9. Направляющая перегородка 7 может также простираться и ниже верхней кромки более короткой стенки 8. Кроме того, указанная направляющая перегородка может быть выполнена и таким образом, чтобы она простиралась вплоть до самого низа переточной трубки 20, причем в этом случае можно будет говорить уже о том, что такой направляющей перегородкой определяется наличие как бы двух разных переточных трубок 20. Следовательно, внутри одного и того же распределительного узла может предусматриваться наличие некоторого множества переточных трубок, которые проходят через одно и то же сквозное отверстие, выполненное в соответствующей тарелке ректификационной колонны. Кроме того, возможно также и такое исполнение конструкции распределительного узла, при которой в нем предусматривается наличие некоторого множества переточных трубок, для которых в тарелке ректификационной колонны выполняется соответствующее множество сквозных отверстий, причем каждая переточная трубка пропускается через свое сквозное отверстие. Однако такая вертикальная разделительная направляющая перегородка будет уже относиться к оборудованию, изготавливаемому по специальному заказу. Предназначается такая направляющая перегородка для того, чтобы воспрепятствовать созданию текучей средой, проходящей с одной стороны переточной трубки, каких-либо помех, препятствующих прохождению потока с другой стороны этой же переточной трубки. Применение разделительной направляющей перегородки такого типа обеспечивает возможность эффективного изменения конфигурации, по меньшей мере, одного пути, по которому проходит поток текучей среды, и вполне естественно, что при этом будет происходить также и соответствующее изменение сопротивления движению этого потока. При этом оба имеющихся потока, каждый из которых состоит из двух разных фаз, будут, в данном случае, сливаться друг с другом ниже разделительной направляющей перегородки 7, направляясь вниз по переточной трубке к отверстию 12, выполненному в распределительной тарелке 10 ректификационной колонны. Затем образовавшаяся смесь будет опадать вниз по направлению к катализатору, находящемуся под указанной тарелкой. В одном из вариантов осуществления настоящего изобретения может предусматриваться применение распределительных устройств, имеющих одну и ту же конфигурацию, в каждом их которых выполняется по два или более путей, отличающихся по своей конфигурации и предназначенных для прохождения по ним потоков, причем все эти пути сливаются вместе друг с другом в единой переточной трубке, расположенной над соответствующей тарелкой ректификационной колонны. В этом случае, разность сопротивлений, оказываемых движению потоков, а также результирующая разность объемных скоростей потоков текучей среды должны определяться в той точке, которая находится непосредственно перед тем местом, где происходит слияние указанных путей, по которым происходит движение потоков текучей среды. Далее по ходу движения потоков за этой точкой слияния указанных путей, которая находится ниже направляющей перегородки 7 или же соответствующей тарелки ректификационной колонны, совокупный комбинированный поток, исходящий из всего множества имеющихся путей прохождения потоков текучей среды, будет одинаковым для каждого из распределительных узлов.
Еще один вариант исполнения конструкции распределительного узла с двумя каналами в соответствии с настоящим изобретением представлен на фиг.5 и 6. Те из показанных на фиг.5 и 6 элементов, которые отличаются по своей конфигурации от соответствующих им элементов, показанных на фиг.1-4, будут далее обозначаться здесь с присоединением символа в виде штриха « » к соответствующему номеру позиции. На фиг.5 представлен вид, показывающий, что можно увидеть, если смотреть в направлении колпачка 10′ распределительного узла 1′. Фиг.6 – это представленный в виде сверху разрез, построенный в сечении 6-6, проведенном на фиг.5, где показано, как располагается переточная трубка 20′, находящаяся внутри колпачка 10′. В данном варианте осуществления настоящего изобретения, переточная трубка образована двумя лицевыми стенками 8′ и 9′ и двумя дугообразными частями 17 и 18 цилиндрической боковой стенки 3′, находящимися между лицевыми стенками 8′ и 9′, которые простираются вниз вплоть до верхней поверхности соответствующей тарелки, которая на этих чертежах не показана. Две остальные части боковой стенки 3′, которые находятся напротив лицевых стенок 8′ и 9′ и определяют собой вертикальные камеры 15′ и 16′, простираются вниз только лишь до нижней кромки 6′ боковой стенки 3′. В этом случае, указанная нижняя кромка 6′ тоже располагается над верхней поверхностью соответствующей тарелки ректификационной колонны на сравнительно небольшом расстоянии от этой тарелки и погружена в жидкость, которая собирается на данной тарелке в процессе эксплуатации ректификационной колонны. Нижние части лицевых стенок 8′ и 9′ и дугообразных частей 17 и 18 боковой стенки 3′ в предпочтительном исполнении данного узла уплотняются герметичным образом по отношению к горизонтально расположенной тарелке ректификационной колонны с образованием при этом уплотнения, непроницаемого для текучей среды.
Лицевые стенки 8′ и 9′ простираются, по существу, в поперечном направлении по отношению к внутреннему пространству колпачка 10′ таким образом, что они отсекают собой соответствующие хорды от круга, описываемого боковой стенкой 3′ колпачка, как это показано на фиг.6. Сравнительные размеры указанных лицевых стенок по их высоте, а также конфигурация прохода 5′, имеющего больший размер, показаны пунктирными линиями на фиг.5. Как следует из этого чертежа, более короткая лицевая стенка 8′ и более высокая лицевая стенка 9′ переточной трубки 20′ в данном случае тоже выполняются таким образом, чтобы проходы 4′ и 5′, ведущие к ним, имели разную конфигурацию, образуя при этом вертикальный канал 16′ с восходящим потоком, обеспечивающий высокую объемную скорость потока паров при низкой объемной скорости потока жидкости, и вертикальный канал 15′ с восходящим потоком, обеспечивающий низкую объемную скорость потока паров при высокой объемной скорости потока жидкости. Пути прохождения потоков жидкостей и паров через распределитель 1′ в данном случае аналогичны соответствующим путям их прохождения, рассмотренным в приведенном здесь выше описании. Вертикальные боковые кромки 19′ лицевых стенок 8′ и 9′ предпочтительно располагаются достаточно близко от внутренней поверхности боковой стенки 3′ колпачка 10′ с тем, чтобы в достаточной мере ограничивать прохождение здесь потока текучей среды. Предпочтительно также, чтобы вертикальная боковая кромка 19′ лицевой стенки, по меньшей мере, вплотную примыкала к колпачку, предотвращая тем самым возможность перетекания потока паров. То есть, иными словами, текучая среда, поступающая в колпачок по любому из проходов 4′ или 5′, не может при этом легко пройти из одного вертикального канала в другой. Надежное крепление боковой кромки 19′ лицевых стенок 8′ и 9′ к цилиндрической боковой стенке 3′ с внутренней ее стороны будет способствовать обеспечению требуемой разности сопротивлений, оказываемых движению потоков текучей среды, перемещающейся в указанных двух каналах 15′, 16′, предназначенных для пропускания потоков.
Компоновка переточной трубки, показанная на фиг.5 и 6, предполагает получение соответственно приспосабливаемой конструкции переточной трубки в том смысле, что можно будет сравнительно легко располагать лицевые стенки 8′ и 9′ такой переточной трубки на разных расстояниях от соответствующих проходов, благодаря чему обеспечивается реальная возможность получить такие каналы с восходящим потоком, которые имеют разные площади вертикального поперечного сечения и, следовательно, создают неодинаковые сопротивления движению потока текучей среды. То есть, иными словами, совсем необязательно, чтобы переточная трубка 20′ была расположена строго по центру внутри колпачка 10′. Аналогичную компоновку можно также предусмотреть, например, и для переточной трубки, имеющей трапецеидальную форму поперечного сечения. Дополнительные различия в конфигурации двух путей, по которым проходят потоки текучей среды, можно сравнительно легко получить, установив внутри переточной трубки применяемую по специальному заказу вертикальную разделительную направляющую перегородку, разобщающую эти потоки между собой.
Фиг.7 представляет собой изображенную в виде сверху деталировку, на которой показаны в общей сложности пять распределительных узлов 1, имеющих каждый по два канала и размещенных на некотором расстоянии относительно друг друга в пределах соответствующей части тарелки 14 ректификационной колонны. В действительности, такая тарелка, устанавливаемая внутри реактора указанного типа, имела бы на самом деле довольно большое число распределительных узлов, равномерно распределенных по всей поверхности тарелки 14. При этом на ней может насчитываться в общей сложности от 20 до 2200 или даже более таких узлов, фактическое количество которых зависит от размера распределительной тарелки и от размеров самих этих узлов. На рассматриваемом чертеже показаны переточные трубки, имеющие более вытянутую прямоугольную форму, которая характеризуется сравнительно узкими торцевыми стенками 11 по отношению к расположенным напротив одна другой лицевым стенкам 8 и 9.
Фиг.8А представляет собой вид сбоку, на котором показан распределитель 1″ с двумя каналами для пропускания текучей среды, имеющий цилиндрическую переточную трубку 20″ и цилиндрический колпачок 10″. Те из показанных на фиг.8А, 8В и 8С элементов, которые отличаются по своей конфигурации от соответствующих им элементов, показанных на фиг.1-6, будут далее обозначаться здесь с присоединением символа в виде двойного штриха «”» к соответствующему номеру позиции. Два вертикальных паза 5″, выполненные на передней половине колпачка 10″, образуют собой проход большего размера для потока паров, поступающего в первый канал 16″, по которому проходят потоки внутри распределителя 1″. Один вертикальный паз 4″, показанный пунктирными линиями и расположенный на задней стороне колпачка 10″, образует собой проход меньшего размера, ведущий во второй канал 15″, по которому проходят потоки внутри распределителя. Такую компоновку можно легче проследить по фиг.8В, на которой в виде сверху представлен предложенный смеситель-распределитель. На этом виде показаны две полуцилиндрические части 8″ и 9″ переточной трубки 20″, частично определяющие собой соответственно вертикальные каналы 15″ и 16″, по которым проходят потоки, каждый из которых занимает половину кольцевого пространства между переточной трубкой 20″ и накрывающим ее колпачком 10″. Эти два канала 15″ и 16″, по которым проходят потоки, изолированы относительно друг друга при помощи вертикальных разделительных стенок 25, как показано на фиг.8А и 8В. Эти разделительные стенки могут быть продолжены вверх за переточную трубку, удерживая при этом колпачок 10″ с соответствующим зазором над верхней кромкой более высокой лицевой стенки 9″ переточной трубки, как показано на фиг.8А.
На фиг.8 С представлены только лишь цилиндрическая стенка переточной трубки 20″ распределителя и часть тарелки 14″, которые показаны на фиг.8А. На этом виде по горизонтали сбоку показана та же переточная трубка, что и на фиг.8А, но в таком ее положении, в котором она повернута на 90 градусов. Это позволяет более наглядно отобразить ступенчатое входное отверстие верхнего конца переточной трубки. Первая полуцилиндрическая часть 9″ переточной трубки 20″ простирается вверх на большую высоту, чем вторая полуцилиндрическая часть 8″ переточной трубки 20″. Верхние кромки этих полуцилиндрических частей образуют собой своего рода перегородки перед входом в переточную трубку 20″ на верху вертикальных каналов 15″ и 16″, по которым проходят соответствующие потоки. Эти кромки эквивалентны по своему назначению верхним кромкам двух плоских лицевых стенок 9 и 8, которые предусматриваются в вариантах осуществления настоящего изобретения, уже рассмотренных в приведенном выше описании. Для того чтобы изолировать имеющиеся два канала, по которым проходят потоки, относительно друг друга непосредственно перед входным отверстием в переточную трубку можно, как в рассмотренных ранее вариантах осуществления настоящего изобретения, установить вертикальную направляющую перегородку, которая на данном чертеже не показана.
Компоновочная схема распределителя, представленная на фиг.8А-8С, обеспечивает получение такой конструкции, которая исключительно удобна для того, чтобы в одном и том же распределительном узле можно было предусмотреть наличие более чем двух каналов с восходящим потоком. Для того чтобы разделить кольцевое пространство на три канала, необходимо всего лишь только ввести дополнительно еще одну вертикальную разделительную стенку 25. Четыре разделительные стенки 25 позволяют получить уже четыре канала. При этом в цилиндрической боковой стенке 3″ предусматривается точно такое же количество проходов для паров, каждый из которых соответствует отдельному каналу. Таким же способом может быть осуществлено разделение на каналы также и переточных трубок, имеющих плоские стороны, к примеру, при применении таких конструкций, в которых предусматривается наличие переточной трубки, имеющей треугольное поперечное сечение, или же переточной трубки, имеющей квадратное поперечное сечение. При этом переточная трубка, имеющая треугольное поперечное сечение, хорошо подходит к колпачку, имеющему цилиндрическую боковую стенку, а переточная трубка, имеющая квадратное поперечное сечение, хорошо подходит для применения ее вместе с колпачками, имеющими либо цилиндрическую, либо квадратную боковую стенку. Переточная трубка, имеющая квадратное поперечное сечение, может быть установлена таким образом, чтобы лицевые стенки ее расположены были параллельно боковым стенкам квадратного колпачка, либо повернуты относительно них на 45 градусов таким образом, чтобы углы переточной трубки были отцентрированы относительно средних точек боковых стенок квадрата, охватываемых этими углами. Во всех этих вариантах могут также применяться вертикальные разделительные стенки и вертикальные направляющие перегородки.
На фиг.9А-9С показана другая конструкция распределителя, имеющего два канала с восходящим потоком. Те из показанных на фиг.9А, 9В и 9С элементов, которые отличаются по своей конфигурации от соответствующих элементов, показанных на фиг.1-8, будут далее обозначаться здесь с присоединением символа в виде тройного штриха «  » к соответствующему номеру позиции. Находящийся сверху колпачок, который применяется в рассмотренных ранее конструкциях, заменен в данном варианте двумя боковыми надставками, свисающими с двух противоположных сторон прямоугольной переточной трубки 20  . Такое техническое решение можно также определить как наличие либо двух прямоугольных колпачков, либо одного единого колпачка, центральная часть которого выполнена за одно целое с верхней частью торцевых стенок 11  переточной трубки. Фиг.9А представляет собой вид, наблюдаемый, если смотреть по горизонтали в направлении вертикальной передней стенки 21 колпачка 10  , в которой имеется проход 5  , предназначенный для пропускания паров с высокой объемной скоростью потока. Указанный проход выполнен в передней стенке распределителя таким образом, чтобы эта стенка полностью окружала его со всех сторон, в том числе и снизу, и такой проход уже более не является таким проходом, который выполняется в виде простого паза, идущего по направлению вверх от нижней кромки стенки. Расположение прохода 4  , предназначенного для пропускания паров с низкой объемной скоростью потока и находящегося с задней стороны данной конструкции, обозначено пунктирными линиями. Следует отметить, что, невзирая на то, пересекает ли соответствующий проход нижнюю кромку колпачка, как, к примеру, проход 4, или же нижняя кромка прохода находится на определенном расстоянии от нижней кромки колпачка, как, например, в случае прохода 5, данная особенность является еще одним отличительным признаком конфигурации, который может быть применен в любом варианте осуществления настоящего изобретения. На фиг.9В показан вид сбоку (профиль) для того же самого распределителя, где отчетливо видны расположенные одна напротив другой высокая лицевая стенка 9  и короткая лицевая стенка 8  переточной трубки 20  , которые обозначены на этом чертеже пунктирными линиями. Торцевые стенки 11  переточной трубки 20  выполнены как одно целое с соответствующими частями 22 и 23 боковых стенок колпачка 10  , которыми определяются также и наружные стороны каналов 15  и 16  , предназначенных для прохождения по ним соответствующих потоков. На фиг.9С показан вид сверху, построенный для того же самого распределителя. Можно также легко представить себе и такой вариант исполнения аналогичного распределителя, в котором соответствующие части 22 и 23 боковых стенок колпачка 10  разнесены несколько дальше в стороны относительно друг друга, благодаря чему весь прямоугольный колпачок может быть изготовлен в виде одной цельной детали, которая получается при этом настолько широкой, что может надеваться сверху на переточную трубку 20  . То есть, иными словами, в данном варианте конструкции обеспечивается плотное прилегание боковых стенок 22 и 23 к наружной поверхности торцевых стенок 11  переточной трубки.
На фиг.10А представлен вид спереди, на котором показана некоторая часть горизонтально расположенной тарелки для сбора жидкости, где на поверхности тарелки смонтированы два распределительных узла, имеющих неодинаковую конфигурацию. На фиг.10В представлен вид сверху на один из распределительных узлов, показанных на фиг.10А. Каждый из этих распределительных узлов содержит прямоугольную переточную трубку 34, смонтированную в соответствующем отверстии 36, выполненном в тарелке для сбора жидкости. Переточная трубка 34 образована двумя боковыми стенками 32, задней стенкой 31 и стенкой 38, образующей входное отверстие. Аналогично с конструкцией, представленной на фиг.9А-9С, в данном варианте соответствующая часть боковых стенок 32 переточной трубки, находящаяся над верхней поверхностью тарелки для сбора жидкости, тоже простирается в поперечном направлении вплоть до передней стенки 33, а в нижнем направлении – начинается непосредственно от верхней пластины 39, определяя тем самым канал 35 с восходящим потоком. Стенка 38 переточной трубки, образующая входное отверстие, выполнена более короткой, чем остальные стенки, и, следовательно, она не достигает верхней пластины 39. Благодаря этому обеспечивается наличие соответствующей сливной перегородки или отверстия, ведущего к верхнему концу переливной трубки 34 в верхней части канала 35 с восходящим потоком, через которое пары и жидкость проходят в переливную трубку 34. В данном варианте конструкции предусматривается применение всего лишь одного прохода 37а для паров, расположенного в прямоугольной передней стенке 33, так как здесь имеется только один канал 35 с восходящим потоком в каждом из рассматриваемых распределительных узлов. Как и в вариантах исполнения конструкции, которые были рассмотрены в данном описании ранее, этот проход также может быть выполнен в виде некоторого множества отдельных отверстий. Из приведенных чертежей следует, что стенка 33 находится впереди стенки 38, образующей входное отверстие, а ее нижняя кромка 41, как правило, находится ниже уровня жидкости, собирающейся на тарелке.
На данном чертеже показаны два распределительных узла, которые отличаются один от другого только лишь своим размером, то есть, иными словами, площадью поперечного сечения проходов 37а и 37b, благодаря чему обеспечиваются, по меньшей мере, два пути с различной конфигурацией для прохождения по ним потоков текучей среды сквозь одну и ту же тарелку с разными объемными скоростями потоков жидкости и паров. В одном из вариантов осуществления настоящего изобретения, который здесь не показан, проходы 37а и 37b имеют одинаковую площадь поперечного сечения, а различие их конфигураций обеспечивается, к примеру, за счет того, что один из проходов имеет большую высоту и меньшую ширину, чем другой проход. В еще одном из вариантов осуществления настоящего изобретения, который также здесь не показан, проходы 37а и 37b имеют одинаковые и размер, и форму, а разная их конфигурация обеспечивается, к примеру, за счет того, что располагаются они на разной высоте относительно тарелки. В другом варианте осуществления настоящего изобретения, конфигурация указанных проходов одинакова, а для того чтобы пути прохождения потоков текучей среды чем-то различались между собой, вполне достаточно будет обеспечить какое-нибудь единственное различие в конфигурации самих путей прохождения потоков. Например, это может быть различие по высоте стенки 38, образующей входное отверстие, либо наличие разных препятствий, ограничивающих движение потока в каналах 35 с восходящим потоком или же в переточной трубке 34, где происходит объединение двух путей для потоков текучей среды. Как уже отмечено было ранее в данном описании, указанные выше примеры выполнения конструкции, обеспечивающие соответствующие различия конфигураций путей прохождения потоков текучей среды, как и все прочие примеры, проиллюстрированные и рассмотренные в данном описании, могут быть использованы применительно к любому варианту осуществления настоящего изобретения. Таким образом, какое-либо одно из указанных различий в конфигурации путей прохождения потоков текучей среды может оказаться вполне достаточным для того, чтобы обеспечить разное сопротивление движению потоков текучей среды и, следовательно, разные значения объемной скорости потоков газов и жидкости, которые пропускаются через предложенный аппарат по соответствующим путям прохождения потоков текучей среды, имеющим неодинаковую конфигурацию, которые могут быть выполнены в одном и том же распределительном узле или же в разных, отдельно расположенных распределительных узлах. Как указано выше, в конфигурацию каждого пути прохождения потока, в целом, могут быть, применительно к рассматриваемым вариантам исполнения распределительных узлов, внесены многочисленные изменения, позволяющие получить, по меньшей мере, два пути прохождения потоков через предложенный аппарат, обеспечивающие разные сопротивления движению потоков текучей среды с тем, чтобы получить при этом разные значения объемной скорости потоков жидкости и паров.
Поскольку разность между двумя распределительными узлами, показанными на фиг.10А, состоит только лишь в том, что проходы 37а и 37b, выполненные в вертикальной стенке 33, имеют неодинаковую площадь проходного сечения, во всем остальном эти два распределительных узла, которые показаны в виде, изображенном на фиг.10В, будут, по всей видимости, идентичны друг другу. На этом чертеже отчетливо видно, что переточная трубка 34, а также нависающий сбоку канал 35 с восходящим потоком имеют, по существу, квадратное поперечное сечение. Следует также еще раз отметить, что нет никакой необходимости в том, чтобы какая-либо из стенок, определяющих собой вертикальные каналы для прохождения потоков или же переточную трубку, располагалась перпендикулярно по отношению к тарелке для сбора жидкости. Эти стенки имеют в своем составе какой-то отдельный вертикальный элемент, а в остальном могут быть наклонены относительно вертикали под одним и тем же или же под разными углами.
Конструкция распределителя, имеющего один канал, позволяет сравнительно легко вносить необходимые изменения в форму переточной трубки или колпачка. Например, круглый колпачок, или кожух, может быть установлен на переточной трубке, имеющей круглое, квадратное, треугольное или же соответственно какое-нибудь другое по своей форме поперечное сечение. Кроме того, следует также отметить, что независимо от того, какую форму поперечного сечения имеют переточная трубка и колпачок, нет, практически, никакой необходимости в центрировании колпачка относительно переточной трубки, на которую он надевается. Вертикальная ось переточной трубки может быть расположена со смещением к одной из кромок колпачка. Помимо этого, отдельные части одной или более стенок переточной трубки могут либо плотно прилегать к одной или нескольким соответствующим боковым стенкам колпачка, или кожуха, либо находиться с ними в одной плоскости, либо быть выполнены с ними как одно целое.
Посредством соответствующего размещения, по меньшей мере, двух комплектов распределителей, имеющих разную конфигурацию – к примеру, первого комплекта, имеющего каналы с восходящим потоком, рассчитанные на прохождение по ним потока паров с высокой объемной скоростью, и, по меньшей мере, второго комплекта, обеспечивающего, например, низкую объемную скорость потока паров, обеспечивается возможность получения еще нескольких других вариантов компоновки и дополнительных вариантов исполнения всей конструкции в целом. Во-первых, относительная доля одноканальных распределителей, имеющих каналы с восходящим потоком и проходом определенного размера для паров, к примеру, таким как проход, рассчитанный на поступление через него потока паров с высокой объемной скоростью, может быть предопределена в любом требующемся количестве. При этом не предъявляется какого-нибудь определенного требования, состоящего, например, в том, чтобы половина всех проходов относилась к проходам такого типа, которые рассчитаны на пропускание потока паров либо с высокой, либо с низкой объемной скоростью. Например, всего лишь только одна четвертая часть от общего количества распределителей может иметь проходы, рассчитанные на пропускание потока паров с высокой объемной скоростью. В альтернативном варианте, только лишь одна четвертая часть от общего количества одноканальных распределителей могла бы иметь каналы с восходящим потоком, снабженные проходами меньшего размера (рассчитанными на пропускание потока паров с низкой объемной скоростью). Остальные распределители имели бы в последнем случае такие проходы, которые рассчитаны на пропускание потока паров с высокой объемной скоростью. В дополнение ко всему этому, следует также отметить, что размерное распределение проходов может предусматривать наличие трех или более размеров проходов; то есть, иными словами, проходы могут быть большого, малого и промежуточного размера. Аналогичные изменения могут также предусматриваться и для остальной части пути прохождения потока, находящейся в направлении движения потока за проходом, вместо соответствующих изменений, вносимых в конструкцию проходов и(или) в сочетании с этими изменениями, исходя из чего задается требуемое количество соответствующих комплектов одноканальных распределителей, имеющих разную конфигурацию каналов. Аналогичным образом может варьироваться распределение путей, имеющих разную конфигурацию, по которым проходят потоки текучей среды, также и внутри многоканальных распределителей. Еще один вариант осуществления настоящего изобретения заключается в размещении как одноканальных, так и многоканальных распределителей на одной и той же тарелке для сбора жидкости. Кроме того, может предусматриваться размещение на тарелке для сбора жидкости сразу нескольких разных комплектов многоканальных распределителей, причем такое размещение этих комплектов можно осуществлять как вместе с одним или более комплектами одноканальных распределителей, так и без таких комплектов. Термином «комплект» в данном контексте обозначается некая совокупность распределительных узлов, которые имеют практически одинаковую конструкцию; например, они могут в этом случае считаться, по существу, точными копиями друг друга. В крайних случаях, комплект может представлять собой всего лишь один-единственный распределитель, находящийся на тарелке для сбора жидкости, либо включать в себя полностью все распределительные узлы, находящиеся на этой тарелке. При этом не предъявляется какого-нибудь определенного требования, состоящего в том, чтобы комплект многоканальных распределительных узлов имел соответствующие пути разной конфигурации для прохождения по ним текучей среды при том условии, что предусматривается применение на этой же тарелке еще, по меньшей мере, одного другого комплекта распределителей, в каждом из которых имеется, по меньшей мере, один отличающийся по своей конфигурации путь, по которому проходит поток текучей среды. Таким образом, настоящее изобретение охватывает собой неограниченное число возможных вариантов своего осуществления в зависимости от конфигурации путей прохождения потоков, причем эти варианты могут быть реализованы в сочетании с применением различных комплектов одноканальных и(или) многоканальных распределительных узлов.
Например, аппарат, выполненный в соответствии с настоящим изобретением, может включать в свой состав первый комплект, содержащий много одноканальных распределителей, путь прохождения потоков сквозь которые имеет первую конфигурацию, и второй комплект, содержащий всего лишь один распределительный узел, который обеспечивает наличие пути для прохождения потоков, имеющих вторую конфигурацию. В другом варианте своего исполнения, аппарат, выполненный в соответствии с настоящим изобретением, может включать в свой состав комплект одноканальных распределителей, имеющих первую конфигурацию, первый комплект многоканальных распределителей, которые имеют по два эквивалентных пути для прохождения потоков текучей среды, имеющих вторую конфигурацию, второй комплект многоканальных распределителей, имеющих по два пути для прохождения потоков текучей среды, из которых, по меньшей мере, один путь для прохождения текучей среды отличается от соответствующего пути, обеспечиваемого распределителем, входящим в первый комплект, а также третий комплект распределителей, имеющих по три пути для прохождения потоков текучей среды, из которых первый, второй или же все три пути, по которым проходят потоки текучей среды, имеют разную конфигурацию. В еще одном варианте осуществления настоящего изобретения, первый комплект многоканальных распределительных узлов, смонтированных на тарелке ректификационной колонны, имеет одинаковые пути первой конфигурации, предназначенные для прохождения по ним потоков текучей среды, а второй комплект многоканальных распределительных узлов, смонтированных на этой же тарелке, имеет одинаковые пути второй конфигурации, предназначенные для прохождения по ним потоков текучей среды.
Соответствующий цилиндрический колпачок может быть изготовлен из куска стандартной трубы диаметром 5-16 сантиметров (от 2 до 6 дюймов) и общей высотой 12-25 сантиметров (от 5 до 10 дюймов). В одном из вариантов осуществления настоящего изобретения, расстояние между верхней кромкой самой высокой стенки переточной трубки и внутренней поверхностью верха колпачка должно быть, по меньшей мере, 7 миллиметров. Расстояние между внутренней поверхностью верха колпачка и верхней кромкой второй стенки переточной трубки составляет, по меньшей мере, 8 миллиметров.
Предпочтительно, чтобы проходы в колпачке, предназначенные для пропускания потоков паров соответственно с высокой объемной скоростью и низкой объемной скоростью, отличались между собой как по своей высоте, так и по площади поперечного сечения, по меньшей мере, на 10%. В данном контексте, разность между соответствующими характеристиками для двух различных путей прохождения потоков через предложенный аппарат подсчитывается в процентном выражении по отношению к меньшей из двух величин, сопоставляемых между собой. В одном из вариантов осуществления настоящего изобретения ширина прохода для паров, имеющего более высокую пропускную способность, по меньшей мере, на 10% больше, чем ширина прохода для паров, имеющего более низкую пропускную способность. В других вариантах осуществления настоящего изобретения, ширина прохода для паров, имеющего более высокую пропускную способность, равна или же даже меньше, чем ширина прохода для паров, имеющего более низкую пропускную способность, тогда как относительные размеры этих двух проходов по высоте подбираются соответственно таким образом, чтобы площадь поперечного сечения прохода для паров, имеющего более высокую пропускную способность, была, по меньшей мере, на 10% больше, чем площадь поперечного сечения прохода для паров, имеющего более низкую пропускную способность. В еще одном варианте осуществления настоящего изобретения предусматривается наличие, по меньшей мере, двух проходов в предложенном аппарате, которые отличаются один от другого по площади своего открытого поперечного сечения, по меньшей мере, на 10%. В другом варианте осуществления настоящего изобретения предусматривается наличие, по меньшей мере, двух проходов в предложенном аппарате, которые отличаются один от другого по площади своего открытого поперечного сечения, по меньшей мере, на 25%. Здесь снова следует отметить еще раз, что в пределах объема настоящего изобретения вполне возможно обеспечение требуемой площади открытого поперечного сечения соответствующих проходов в боковой стенке колпачка за счет выполнения в ней не одного отверстия, а двух или более отверстий. Например, может быть предусмотрен проход, выполненный в виде одного паза, чтобы обеспечить сообщение с первым каналом для восходящего потока, тогда как для обеспечения сообщения со вторым каналом для восходящего потока могут быть выполнены два более высоких паза. В том случае, если в качестве прохода для паров, поступающих с более высокой объемной скоростью, предусматривается наличие большего числа отверстий, то тогда эти отверстия могут иметь такую же или даже меньшую ширину, чем отверстия, предусматриваемые для использования их в качестве прохода для паров, поступающих с более низкой объемной скоростью. Отверстия, предназначенные для использования их в качестве составляющих элементов одного и того же комбинированного прохода для паров, могут отличаться друг от друга; так, например, в качестве составляющих элементов одного и того же комбинированного прохода для паров можно использовать одновременно и паз, и круглое отверстие. Применительно к таким вариантам осуществления настоящего изобретения, в которых требуемая открытая площадь поперечного сечения прохода для паров сравнительно мала, рекомендуется в типовых случаях предусматривать наличие не соответствующих пазов, а круглых отверстий, размещенных с промежутками друг от друга в один или несколько вертикальных рядов. При применении круглых отверстий, расположенных в виде некоторого множества рядов, в каждом таком ряду может предусматриваться наличие разных количеств отверстий. При этом не предъявляется какого-нибудь определенного требования, состоящего в том, чтобы указанные множества отверстий или же рядов таких отверстий, из которых составляется комбинированный проход, располагались на одной линии относительно друг друга; например, соответствующее множество рядов таких отверстий может располагаться по вертикали в шахматном порядке относительно друг друга.
Как уже упоминалось в приведенном здесь выше описании, объемные скорости потоков паров и жидкости при прохождении по соответствующему каналу определяется тем сопротивлением, которое оказывается движению потока текучей среды, то есть, иными словами, перемещению потоков паров и жидкости из пространства резервуара, которое находится над тарелкой для сбора жидкости непосредственно снаружи относительно распределительных узлов, в то пространство резервуара, которое располагается под выходными отверстиями переточных трубок непосредственно под указанной тарелкой. Поскольку все пути, по которым проходит текучая среда, представляют собой параллельные системы, сообщающиеся с одними и теми же пространствами, суммарный перепад давлений будет одинаковым для каждого из этих путей и будет равен перепаду давлений по обе стороны от тарелки. Однако, как уже было рассмотрено ранее в приведенном здесь выше описании, для того чтобы установить соответствующие первичные значения сопротивления движению одного из видов текучей среды, можно использовать разные участки пути, по которому проходят потоки текучей среды; к примеру, варьируя площадь проходного сечения проходов, можно обеспечить соответствующее первичное сопротивление движению потока паров. Таким образом, в одном из вариантов осуществления настоящего изобретения предусматривается наличие в предложенном аппарате, по меньшей мере, двух имеющих неодинаковую конфигурацию разных путей прохождения потоков текучей среды, для которых будет наблюдаться разное сопротивление движению, по меньшей мере, для одного из потоков – потока паров и потока жидкости. Изменение относительной площади поперечных сечений проходов для паров, поступающих в разные пути прохождения текучей среды, представляет собой всего лишь только один из возможных вариантов реализации настоящего изобретения, позволяющих соответственно варьировать этот переменный показатель конструкции. Проходы могут быть одинаковыми по своему размеру, если другие элементы конструкции на пути прохождения потоков текучей среды, например высота перелива для лицевых стенок в том месте, где канал с восходящим потоком отделен от переливной трубки, обеспечивает достаточные различия.
Естественно, что для обеспечения разных конфигураций пути, по которому проходят потоки, и, следовательно, разных значений сопротивления, оказываемого движению потоков по этому пути, можно вносить соответствующие изменения более чем в один из элементов конструкции этого пути. Один из способов, позволяющих это осуществить, состоит в том, чтобы обеспечить в предложенном аппарате наличие распределительных узлов, имеющих, по меньшей мере, два разных пути прохождения через них потока текучей среды, причем каждый из этих путей характеризуется величиной соотношения Ар/Ас, где Ар – площадь поперечного сечения отверстий, образующих собой соответствующий проход, ведущий в канал с восходящим потоком, и Ac – минимальная площадь поперечного прохода по всей протяженности остальной части соответствующего пути вплоть до выхода из него под тарелку. В одном из вариантов осуществления настоящего изобретения соотношение Ар/Ас для двух путей прохождения потоков текучей среды отличается, по меньшей мере, на 10%. В другом варианте осуществления настоящего изобретения соотношение Ар/Ас для двух путей прохождения потоков текучей среды отличается, по меньшей мере, на 20%. Размеры этих площадей определяются, исходя из существующей минимальной площади поперечного сечения, где приходится проходить потоку текучей среды.
Таким образом, в результате этих различий по конфигурации и по сопротивлению, оказываемому движению потока текучей среды, наблюдаются разные объемные скорости потоков паров и(или) жидкости, движущихся в предложенном аппарате по путям с разной конфигурацией, предназначенным для перемещения по ним потоков текучей среды. В одном из вариантов осуществления настоящего изобретения предусматривается обеспечение разных объемных скоростей потоков как паров, так и жидкости при движении их через предложенный аппарат по путям с разной конфигурацией, предназначенным для перемещения по ним потоков текучей среды. В другом варианте осуществления настоящего изобретения, по меньшей мере, одна из объемных скоростей потока – т.е. потока паров или потока жидкости – отличается, по меньшей мере, на 10% при движении этих потоков по путям с разной конфигурацией, предназначенным для перемещения по ним потоков текучей среды. В еще одном варианте осуществления настоящего изобретения, по меньшей мере, одна из объемных скоростей потока – т.е. потока паров или потока жидкости – отличается, по меньшей мере, на 20% при движении этих потоков по путям с разной конфигурацией, предназначенным для перемещения по ним потоков текучей среды.
Относительные различия между соответствующими характерными особенностями двух разных путей прохождения потоков через предложенный аппарат могут варьироваться в весьма существенных пределах, согласно любому одному из конкретных вариантов осуществления настоящего изобретения. Например, характерные особенности, которыми разные пути прохождения потоков через предложенный аппарат отличаются друг от друга, количество применяемых совокупностей путей разной конфигурации, предназначенных для прохождения по ним потоков, а также соответствующие рабочие параметры или условия осуществления технологического процесса могут оказывать свое влияние на указанные относительные различия, касающиеся соответствующих характерных особенностей.
Так, например, в одном из вариантов осуществления настоящего изобретения, разность между площадями открытого поперечного сечения, по меньшей мере, для двух проходов, имеющихся в предложенном аппарате, может варьироваться в пределах от 25% до 400% для различных условий осуществления технологического процесса.
В другом варианте осуществления настоящего изобретения, разность между соотношениями Ар/Ас, по меньшей мере, для двух путей прохождения потоков через предложенный аппарат, может варьироваться в пределах от 50% до 550% для различных условий осуществления технологического процесса.
В еще одном варианте осуществления настоящего изобретения, разность между объемными скоростями потоков жидкости, по меньшей мере, для двух путей прохождения потоков через предложенный аппарат может варьироваться в пределах от 30% до 8200% для различных условий осуществления технологического процесса.
Формула изобретения
1. Устройство для равномерного распределения жидкости, направляющейся вниз в виде потока по всему поперечному сечению резервуара, внутри которого свободное движение потока паров и жидкости вниз препятствуется горизонтальной тарелкой (14, 44), которая обеспечивает принудительное прохождение паров и жидкости в виде потока через отверстия (12, 36), расположенные на расстоянии друг от друга, выполненные в тарелке (14, 44), причем расположенные на расстоянии друг от друга отверстия (12, 36), выполненные в тарелке (14, 44), накрыты сверху распределителями (1), которые обеспечивают принудительное прохождение паров по соответствующему пути, предназначенному для потока, сквозь проход (4, 5, 37а, 37b) в стенке (3, 21, 33) распределителя (1), далее по соответствующему каналу (15, 16, 35) для потока, расположенному внутри распределителя (1), и через отверстия (12, 36), а также тем, что, по меньшей мере, два пути для потока отличаются друг от друга по своей конфигурации и оказывают разное сопротивление движению, по меньшей мере, одного из следующих потоков – потока паров и потока жидкости.
2. Устройство по п.1, характеризующееся тем, что каналы (15, 16, 35) для потока имеют минимальные площади поперечного сечения Ас, используемые для пропускания потока, размер которых выбран таким образом, что соотношение Ар/Ас, где Ар – площадь поперечного сечения прохода (4, 5, 37а, 37b), используемая для пропускания потока, имеет, по меньшей мере, два разных значения для указанного аппарата.
3. Устройство по п.2, характеризующееся тем, что значения соотношения Ар/Ас, по меньшей мере, для двух путей прохождения потоков через указанный аппарат отличаются друг от друга, по меньшей мере, на 10%.
4. Устройство по п.1, характеризующееся тем, что указанный аппарат предназначен для смешивания паров и жидкости, направляющихся в виде потока вниз через резервуар, а также тем, что распределители (1) содержат:
переточную трубку (20, 34), имеющую открытый верхний первый конец и открытый нижний второй конец и обеспечивающую сообщение текучей среды с пространством резервуара, находящимся ниже тарелки, причем переточная трубка (20, 34) крепится к горизонтальной тарелке (14,44); и
кожух (10), накрывающий собой сверху первый конец переточной трубки (20, 34), причем кожух (10) содержит, по существу, закрытую верхнюю часть (2, 39) и боковую стенку (3, 21, 33), при этом в кожухе (10) имеется проход (4, 5, 37а, 37b), выполненный в боковой стенке (3, 21, 33) и сообщающийся с каналом (15, 16, 35) для потока, расположенным между боковой стенкой (3, 21, 33) и переточной трубкой (20, 34), причем канал (15, 16, 35) для потока также сообщается с первым концом переточной трубки, определяя собой путь движения потока от прохода (4, 5, 37а, 37b) в пространство резервуара, находящееся ниже тарелки, и при этом, по меньшей мере, два пути движения потока через указанный аппарат обеспечивают разные объемные скорости, по меньшей мере, для одного из следующих потоков – потока паров и потока жидкости.
5. Устройство по п.4, характеризующееся тем, что объемные скорости, по меньшей мере, одного из следующих потоков – потока паров и потока жидкости – по меньшей мере, для двух разных путей движения потоков через указанный аппарат отличаются друг от друга, по меньшей мере, на 10%.
6. Устройство по п.1 или 4, характеризующееся тем, что наличие соответствующих путей движения потока, имеющих разную конфигурацию, обеспечивается за счет применения отдельных распределителей (1) либо за счет выполнения таких путей в одном распределителе (1).
7. Устройство по п.4, характеризующееся тем, что стенка (3, 21) кожуха определяет собой первый канал (15) для потока, находящийся между стенкой (3, 21) и первой лицевой стенкой (8) переточной трубки, и второй изолированный канал (16) для потока, находящийся между стенкой (3, 21) и второй лицевой стенкой (9) переточной трубки, причем каждый канал для потока сообщается с верхним концом переточной трубки (20), а стенка (3, 21) кожуха имеет множество проходов, в том числе, по меньшей мере, первый проход (4), обеспечивающий для текучей среды сообщение с первым каналом (15) для потока, и второй проход (5), обеспечивающий для текучей среды сообщение со вторым каналом (16) для потока.
8. Устройство по п.1 или 7, характеризующееся тем, что площади поперечного сечения, по меньшей мере, двух проходов отличаются друг от друга; по меньшей мере, на 10%.
9. Устройство по п.7, характеризующееся тем, что предусматривается наличие вертикальной направляющей перегородки (7), простирающейся вниз от кожуха (10) и входящей внутрь верхнего конца переточной трубки (20).
10. Устройство по п.7 или 9, характеризующееся тем, что верхняя кромка второго прохода (5) расположена ближе к верхней части (2) кожуха (10), чем верхняя кромка первого прохода (4).
11. Устройство по п.7 или 9, характеризующееся тем, что вторая лицевая стенка (9) расположена на большей высоте над тарелкой (14), чем первая лицевая стенка (8), а площадь поперечного сечения второго прохода (5), по меньшей мере, на 10% больше, чем площадь поперечного сечения первого прохода (4).
12. Способ обеспечения равномерного распределения жидкости по площади поперечного сечения резервуара с нисходящим потоком в пространстве, находящемся под тарелкой для сбора жидкости, причем указанный способ предусматривает:
скапливание паров и жидкости внутри резервуара в пространстве над тарелкой для сбора жидкости, причем на тарелке расположено некоторое множество распределителей, каждый из которых содержит переточную трубку и кожух и которые обеспечивают для текучей среды сообщение сквозь тарелку для сбора жидкости с пространством, находящимся под тарелкой;
пропускание, по меньшей мере, первой части паров через первый проход, выполненный в кожухе, внутрь первого канала для потока, расположенного внутри распределителя;
пропускание, по меньшей мере, второй части паров через второй проход, выполненный в кожухе, внутрь второго канала для потока, расположенного внутри распределителя;
смешивание жидкости, находящейся на тарелке для сбора жидкости, с парами внутри первого и второго каналов для потока с образованием парожидкостных смесей; и
пропускание парожидкостных смесей по указанным каналам для потоков и далее через переточную трубку в объем внутреннего пространства резервуара, находящийся под тарелкой,
отличающийся тем, что, по меньшей мере, одна пара из всего количества первых и вторых проходов и из всего количества первых и вторых каналов для потоков имеет разную конфигурацию.
13. Способ по п.12, характеризующийся тем, что указанный способ представляет собой способ гидравлической обработки.
РИСУНКИ
|
|