|
|
(21), (22) Заявка: 2004106785/12, 27.09.2002
(24) Дата начала отсчета срока действия патента:
27.09.2002
(30) Конвенционный приоритет:
28.09.2001 (пп.1-35) US 09/967,502
(43) Дата публикации заявки: 27.02.2005
(46) Опубликовано: 10.02.2008
(56) Список документов, цитированных в отчете о поиске:
US 6019368 А, 01.02.2000. ЕР 0597818 А2, 18.05.1994. US 5944310 A, 31.08.1999. WO 95/25568 А1, 29.09.1995. GB 2353786 А, 07.03.2001. RU 97104354 A, 10.04.1999.
(85) Дата перевода заявки PCT на национальную фазу:
28.04.2004
(86) Заявка PCT:
US 02/31099 (27.09.2002)
(87) Публикация PCT:
WO 03/026751 (03.04.2003)
Адрес для переписки:
123007, Москва, а/я 104, пат.пов. А.Б.Соколову, рег.№ 277
|
(72) Автор(ы):
ГРАУЗЕР Аттайла (US), БОУРБОУР Ферайдун (US), КЕЛЛИ Джеймс В. (US), НЕЛСОН Трой Д. (US), ШЕПЕР Пауль К. (US), СТЭССОН Джеймс Б. (US), СВЭНСОН Рональд Р. (US)
(73) Патентообладатель(и):
Шаффл Мастер, Инк. (US)
|
(54) УСТРОЙСТВО ДЛЯ ТАСОВАНИЯ КАРТ С АВТОМАТИЧЕСКОЙ КАЛИБРОВКОЙ ПО РАЗМЕРУ КАРТ
(57) Реферат:
Изобретение относится к устройствам для тасования и сортировки карт. Устройство по первому независимому пункту формулы содержит ячейку для приема исходного набора карт, ячейку для укладывания карт в стопку, систему для перемещения карт из ячейки для приема карт в ячейку для укладывания карт в стопку, подъемное устройство с подвижной платформой для перемещения стопки карт, поверхность для сбора карт, процессор, электродвигатель для перемещения платформы в подъемном устройстве, по меньшей мере, один датчик и процессор для управления устройством. Датчик выполнен с возможностью регистрации, по меньшей мере, одного положения платформы, высоты платформы, положения карты в подъемном устройстве, высоты карты или карт в подъемном устройстве, давления, прикладываемого к карте в подъемном устройстве, наличия платформы на заранее определенной высоте, наличия платформы в заранее определенном положении, наличия карт(ы) на платформе и отсутствия карт(ы) на платформе. Устройства по остальным независимым пунктам формулы характеризуют конкретные конструктивные выполнения вышеописанного устройства. Устройство обеспечивает тасование и калибровку карт различного размера. 5 н. и 30 з.п. ф-лы, 8 ил.
Это изобретение относится к аппаратам для тасования и сортировки с целью расположения предметов в случайном порядке и, в частности, тасования игральных карт для использования в игорном бизнесе. Данное изобретение также касается способа и аппарата для обеспечения случайным образом перетасованных колод(ы) карт быстрым и эффективным образом и возможности автоматической калибровки аппарата для различного размера карт, толщины карт и их исходного расположения.
В игорном бизнесе некоторые игры требуют, чтобы игрокам, а иногда сдающим по ходу игры была предоставлена колода случайным образом перетасованных карт. Важно, чтобы карты были перетасованы тщательно и случайным образом, чтобы игроки не могли получить преимущество, зная положение отдельных карт или групп карт при окончательном расположении карт, раздаваемых по ходу игры. В то же самое время предпочтительно иметь колоду(ы), перетасованную за очень короткий период времени таким образом, чтобы время раздачи по ходу игры было минимальным.
Johnson et al., Патент США №5944310 (переуступленный компании Shuffle Master, Inc., правопреемнику настоящей заявки) описывают аппарат для обращения с картами, состоящий из: загрузочного устройства, принимающего карты для тасования; отделения для приема основной колоды карт; подающего устройства для подачи отдельных карт с загрузочного устройства в это отделение; раздающего устройства раздачи отдельных карт для карточной игры; передающего устройства для передачи самой нижней карты из основной части колоды на раздающее устройство; и датчика раздачи для регистрации наличия или отсутствия карты в раздающем устройстве. Датчик раздачи соединен с передающим устройством, чтобы обеспечить передачу карты на раздающее устройство, когда датчик раздачи зарегистрировал отсутствие карты на раздающем устройстве. Отдельные карты, поступающие с загрузочного устройства, в случайном порядке выкладываются выкладывающим устройством на различные, случайным образом выбранные положения в основной колоде для получения случайным образом перетасованной основной колоды, из которой карты сдаются по одной. Выкладывающее устройство включает в себя регулируемое в вертикальном направлении захватное приспособление для разделения основной колоды на две отдельные стопки, что позволяет вложить карту между этими стопками выкладывающим устройством. Захватное приспособление устанавливается в заданное вертикальное положение вдоль края основной колоды. После захвата верхняя часть колоды будет поднята, и при этом образуются две меньшие стопки. В этот момент возникает зазор между стопками. Данный аппарат для тасования карт продается на рынке США и за их пределами под названием “аппарат для тасования карт QUICKDRAW®”.
Аналогичным образом, Johnson et al., патент США №5683085 (также переуступленный компании Shuffle Master, Inc.), описывает аппарат для тасования или обращения с колодой карт, состоящий из отделения, в котором содержится основная часть колоды карт, загрузочное устройство для второй части колоды и механизм для разделения карт с целью создания ряда свободных положений вдоль основной колоды. Разделяющий механизм позволяет вложить карты из второй части колоды в основную часть колоды в эти положения. Разделяющий механизм захватывает карты в ряду положений вдоль основной колоды и поднимает эти карты над разделяющим механизмом, чтобы определить промежутки в основной колоде для последующего вложения карт из второй части колоды.
Патент США №5676372 описывает автоматическое устройство для тасования игральных карт, состоящее из: рамы; держателя неперетасованной колоды, удерживающего колоду неперетасованных игральных карт; принимающего устройства перетасованной колоды, удерживающего перетасованную колоду игральных карт; по меньшей мере, одну каретку выталкивающей системы, смонтированную непосредственно рядом с указанным держателем неперетасованной колоды, указанная, по меньшей мере, одна катерка выталкивающей системы и указанный держатель неперетасованной колоды, смонтированный для обеспечения относительного перемещения между указанным держателем неперетасованной колоды и указанной, по меньшей мере, одной кареткой выталкивающей системы; несколько выталкивающих систем, смонтированных на указанной, по меньшей мере, одной каретке выталкивающей системы, прилегающей к держателю неперетасованной колоды, для выталкивания игральных карт из неперетасованной колоды, причем выталкивание происходит в различных случайным образом выбранных положениях вдоль неперетасованной колоды.
Breeding et al, патенты США №6139014 и 6068258 (переуступленные компании Shuffle Master, Inc.), описывают аппарат для тасования нескольких колод игральных карт путем обработки отдельных колод. Это устройство состоит из первого вытянутого в вертикальном направлении накопителя для удержания колоды неперетасованных игральных карт, второго и третьего вытянутых в вертикальном направлении накопителей, каждый для удержания части колоды карт, причем второй и третий накопители расположены с промежутком слева и справа рядом с первым накопителем. Первый блок перемещения карт расположен над первым накопителем для перемещения карт в верхней части колоды карт в первом накопителе во второй и третий накопителя для разделения колоды неперетасованных игральных карт на две неперетасованные стопки. Второй и третий блоки перемещения карт находятся над вторым и третьим накопителями соответственно для произвольного перемещения карт, находящихся сверху стопки карт во втором и третьем накопителях, соответственно, назад в первый накопитель, таким образом, чередуя карты для создания сложенной вертикально стопки перетасованных карт в первом накопителе. В накопителях предусмотрены подъемные устройства для передачи карт на блоки перемещения карт. Аппарат для тасования карт данной конструкции предложен в настоящее время на рынке под названием “аппарат для тасования карт MD-1тм и аппарат для тасования карт MD1.1тм” в США и за их пределами.
Sines et al, патент США №6019368, описывают аппарат для тасования игральных карт, состоящий из держателя неперетасованной колоды, который удерживает подаваемый набор игральных карт. Одна или более выталкивающих систем смонтированы непосредственно рядом с держателем неперетасованной колоды для выталкивания карт из подаваемого набора в различных произвольных положениях. Предпочтительны несколько выталкивающих систем, смонтированных на передвижной каретке. Предпочтительно использование выталкивателей, чтобы способствовать удалению игральных карт из подаваемого набора. Используются устройства, препятствующие смещению карт, обеспечивающие противодействие их сдвигу, чтобы, таким образом, обеспечить более избирательное выталкивание карт из подаваемого набора. Автоматический аппарат для тасования игральных карт состоит из рамы; держателя неперетасованной колоды для удержания неперетасованного набора игральных карт в форме стопки, в которой соседние карты соприкасаются друг с другом и образуют неперетасованную колоду; приемника перетасованного набора карт для удержания перетасованного набора игральных карт; по меньшей мере, одной выталкивающей системы для выталкивания игральных карт, расположенных в различных положениях в пределах неперетасованной колоды; и управляемого привода для достижения нескольких различных относительных положений между держателем неперетасованной колоды и, по меньшей мере, одной выталкивающей системой. Аппарат для тасования карт данной конструкции в настоящее время представлен на рынке под названием “Аппарат для тасования карт Random Ejection Аппарат для тасования карттм“.
Grauzer et al., патент США №6149154 (переуступленный компании Shuffle Master, Inc.), описывают аппарат для перемещения игральных карт из первой группы карт в несколько групп, каждая из которых содержит произвольную компоновку карт, указанный аппарат состоит из: приемника карт для приема первой группы неперетасованных карт; одиночного блока принимающих отделений для карт, в общем случае прилегающих к приемнику для карт, причем указанный блок, в общем случае, прилегает к и перемещается по отношению к первой группе карт; и механизм привода, который перемещает этот блок посредством смещения первой группы неперетасованных карт; механизм для перемещения карт между приемником карт и этим блоком; и блока процессора, управляющего механизмом перемещения карт и механизмом привода, так что выбранное число карт перемещается в выбранное число отделений. Данный аппарат для тасования карт представлен в настоящее время на рынке в США и за их пределами под названием “Аппарат для тасования карт АСЕ®”.
Grauzer et al., патент США №6254096 (переуступленный компании Shuffle Master, Inc.), описывают аппарат для непрерывного тасования игральных карт, указанный аппарат состоит из: приемника карт для приема первой группы карт; одиночного блока принимающих карты отделений, в общем случае прилегающих к приемнику для карт, указанный блок обычно перемещается в вертикальном направлении, причем отделения смещаются постепенно в вертикальном направлении, и устройства для перемещения этого блока; механизма для перемещения карт между приемником карт и данным блоком; блока процессора, который управляет механизмом перемещения карт и устройством для перемещения блока, так что карты, расположенные в приемнике карт, перемещаются в выбранные отделения; второй приемник карт для приема карт из отделений; и второй механизм для перемещения карт между отделениями и вторым приемником карт для перемещения карт из отделений во второй приемник карт. Аппарат для тасования карт данной конструкции представлен на рынке в США и за их пределами под названием “Аппарат для тасования карт KINGтм“.
Johnson et al., патент США №6267248 (переуступленный компании Shuffle Master, Inc.), описывают аппарат для расположения игральных карт в нужном порядке, указанный аппарат состоит из: корпуса; датчика для регистрации игральных карт до их расположения; подающего устройства для подачи указанных игральных карт последовательно за датчиком; накопительного узла, снабженного несколькими положениями для хранения, в котором игральные карты могут быть скомпонованы в группы в нужном порядке, причем накопительный узел приспособлен для перемещения, по меньшей мере, в двух направлениях при тасовании; селективно программируемого компьютера, соединенного с указанным датчиком и с указанным накопительным узлом для накопления в указанном накопительном узле групп игральных карт в нужном порядке; подающего механизма для избирательной подачи игральных карт, расположенных в выбранных местах хранения накопительного узла; и устройства сбора для сбора скомпонованных групп игральных карт. Накопительным узлом в одном образце изобретения является загрузочное устройство карусельного типа с несколькими отделениями для хранения карт.
Рассматриваемая заявка на патент США серийный №09/967502 (также переуступленный компании Shuffle Master, Inc.) описывает устройство для формирования произвольного набора игральных карт, состоящее из верхней поверхности и нижней поверхности, и ячейки приема карт для приема исходного набора игральных карт. Предусмотрена рандомизирующая система для расположения в случайном порядке исходного набора игральных карт. Поверхность для сбора расположена в ячейке сбора карт для приема расположенных в случайном порядке игральных карт, причем поверхность для сбора принимает карты таким образом, что все карты попадают под верхнюю поверхность этого устройства. Предусмотрено подъемное устройство для подъема поверхности для сбора таким образом, чтобы, по меньшей мере, некоторые из расположенных в случайном порядке карт были подняты, по меньшей мере, на верхнюю поверхность этого устройства. Описана система для подъема сегментов колоды и вкладывания карт в зазор, образованный поднятой частью колоды.
Хотя для производства аппарата для тасования карт имеются эти и другие системы, желательны новые усовершенствования и новые конструкции. В частности, было бы желательно представить более быстрый аппарат для тасования карт периодического типа, обеспечивающий тасование произвольным образом, который является более компактным, чем имеющиеся в настоящее время конструкции аппаратов для тасования карт.
Описано устройство для создания набора игральных карт, расположенных в случайном порядке. Это устройство включает в себя верхнюю поверхность и нижнюю поверхность и ячейку приема карт для приема исходного набора игральных карт. Предусмотрена рандомизирующая система для расположения исходного набора игральных карт в случайном порядке. Поверхность для сбора карт расположена в ячейке сбора карт для приема расположенных в случайном порядке игральных карт, причем поверхность для сбора карт принимает карты таким образом, что все карты попадают под верхнюю поверхность этого устройства. Предусмотрено подъемное устройство для подъема поверхности для сбора карт таким образом, чтобы, по меньшей мере, некоторые из расположенных в случайном порядке карт были подняты, по меньшей мере, до верхней поверхности этого устройства. В этом устройстве предусмотрена автоматическая система для точной калибровки вертикального положения поверхности для сбора и определения уровня расположения отдельных карт на стопках карт, помещенных на поверхность для сбора. Для определения, по меньшей мере, положения по уровню одной карты и положений поддерживающей поверхности используются датчики для калибровки рабочих параметров подъемных захватов карт, положения платформ и положения карт на платформе. Это устройство выполняет процедуру калибровки, и данная автоматизированная процедура калибровки обеспечивает высокий уровень рабочих параметров этого устройства и снижает или позволяет устранить необходимость начальной и периодической калибровки вручную и технического обслуживания этого устройства.
Описано устройство для формирования произвольного набора игральных карт. Это устройство включает в себя верхнюю поверхность и нижнюю поверхность указанного устройства и принимающую ячейку для приема исходного набора игральных карт. Предусмотрена рандомизирующая система для расположения исходного набора игральных карт в случайном порядке. Поверхность для сбора снабжена ячейкой для сбора карт, чтобы принимать расположенные в случайном порядке игральные карты. Механизм подачи карт в одном варианте изобретения по одной передает карты из принимающей ячейки в ячейку для сбора карт. Это устройство дополнительно включает в себя подъемное приспособление для подъема и опускания поверхности для сбора в пределах ячейки для сбора карт. По меньшей мере, один поддерживающий карты элемент в пределах ячейки для сбора карт поддерживает и приподнимает случайным образом определенное число карт в пределах ячейки для сбора карт. В одном примере изобретения предусмотрены два разделенные промежутком захватных элемента для зажимания противоположных краев приподнятой группы карт. Место для вкладывания карт создается в ячейке для сбора карт под приподнятой произвольно определенной группой карт. Механизм подачи карт подает карту в место для вкладывания.
Описано также автоматическое устройство для тасования карт. Это устройство включает в себя микропроцессор с памятью для управления действием этого устройства. Предусмотрено подающее отделение для приема карт, которые необходимо расположить в случайном порядке. В одном примере изобретения нижняя поверхность подающего отделения является стационарной. В другом примере изобретения нижняя поверхность является подвижной в вертикальном направления посредством подъемного устройства. Механизм для перемещения карт перемещает карты по одной из подающего отделения в отделение для перемешивания карт. Отделение для перемешивания карт включает в себя несколько практически вертикальных опор и отверстие для пропуска карт из подающего отделения. В одном варианте изобретения отверстие представляет собой прорезь. Отделение для перемешивания карт также включает в себя передвижную нижнюю опорную поверхность и, по меньшей мере, одну стационарную захватную ручку, причем нижний край захватной ручки расположен рядом с промежутком и захватной ручкой, промежуток обеспечивает передачу карт в отделение для перемешивания непосредственно под захваченной группой карт. Захватная ручка позволяет приподнять карту или группу карт произвольно определенного размера над отверстием. В одном примере отверстие представляет собой горизонтальную прорезь.
Это устройство предпочтительно включает в себя полностью сформированную систему с автоматической калибровкой. Одной из функций системы с автоматической калибровкой является идентификация положения опорной платформы подъемного устройства относительно самого нижнего положения захвата захватывающего механизма, чтобы колоду карт можно было разделить в точном месте в колоде и чтобы определенное число карт можно было аккуратно поднять и можно было определить конкретные положения вкладывания для вставки карт в расположенную в случайном порядке колоду карт. Другой функцией системы с автоматической калибровкой по настоящему изобретению является автоматическая регулировка положения захватов для компенсации различной длины, ширины и/или толщины карт.
Другой функцией системы с автоматической калибровкой является определение числа пошаговых перемещений шаговых электродвигателей подъемного устройства, которое соответствует толщине каждой карты. Эта информация затем используется для определения точного положения подъемного устройства для указания каждого места разделения в группе карт при тасовании.
Предусмотрено подъемное устройство для подъема и опускания подвижной опорной поверхности для карт. При использовании вертикальное положение подъемного устройства выбирается произвольным образом, и опорная поверхность перемещается в выбранное положение. После этого захватная ручка захватывает, по меньшей мере, одну сторону карт, подъемное устройство опускается, приподнимая группу карт, и образуется промежуток (или место вкладывания) под захватной ручкой, причем одна карта перемещается из подающего отделения в образовавшийся промежуток, таким образом, карты располагаются в случайном порядке.
Описан метод калибровки аппарата для тасования до и во время расположения группы карт в случайном порядке. Метод включает в себя этапы размещения группы карт, которые нужно перемешать, в подающий лоток для карт, удаления калибровочной карты из подающего лотка и размещения карты в ячейке для перемешивания карт, также называемой ячейкой сбора карт. Подъемное устройство и захваты действуют, пока не будет идентифицировано точное расположение самой нижней карты, которую можно захватить. Либо до, либо после этого процесса калибровки измеряется ширина карты, и захваты регулируются для приложения достаточного усилия для подъема всей группы перемешиваемых карт.
В соответствии с изобретением карты подаются по одной из лотка для подачи карт и поступают в ячейку для сбора карт. Ячейка для сбора карт имеет подвижную нижнюю поверхность и стационарное отверстие для приема карт из подающего лотка. Метод включает в себя подъем подвижной нижней поверхности до определенной случайным образом высоты и захвата, по меньшей мере, одного края группы карт в ячейке для сбора карт в месте, непосредственно над стационарным отверстием. Метод дополнительно включает в себя этапы опускания подвижной нижней поверхности для создания промежутка в стопке карт, образованной на нижней поверхности, причем промежуток расположен непосредственно под самой нижней точкой, в которой захватываются карты, и вставки карты, вынутой из подающего лотка в этот промежуток. Описано устройство, обеспечивающее автоматическую калибровку, которое позволяет автоматически выполнять регулировку при перемешивании карт разного размера. Это устройство включает в себя подающий лоток для карт, механизм перемещения карт, который переносит карты из подающего лотка в ячейку сбора карт; подъемное устройство в пределах ячейки для сбора карт, которое поднимает и опускает группу поданных карт; устройство, позволяющее приподнимать все или часть поданных карт над подающим устройством; и микропроцессор, который выбирает положение в колоде, куда должна быть вставлена следующая карта, и дает команду устройству, позволяющему приподнять карты, и подъемному устройству создать зазор, а затем дает команду механизму для перемещения карт вставить карту.
На Фиг.1 показан вид в перспективе примера внешнего корпуса аппарата для тасования по настоящему изобретению.
На Фиг.2 показан вид сбоку в разрезе внутренних элементов аппарата для тасования карт в соответствии с указаниями по настоящему изобретению.
На Фиг.3 показан вид в перспективе механизма переноса смещенной карты в соответствии с вариантом исполнения данного изобретения.
На Фиг.4 показан вид сверху механизма переноса смещенной карты в соответствии с вариантом исполнения по настоящему изобретению.
На Фиг.5 показан вид в поперечном сечении варианта исполнения захватной системы с одиночным или сочлененным ременным приводом для перемещения элементов захвата.
На Фиг.6 показан вид в перспективе с поднятой крышкой одного варианта исполнения аппарата для тасования в соответствии с данным изобретением.
На Фиг.7 показан вид сбоку в разрезе одного варианта исполнения аппарата для тасования карт в соответствии с данным изобретением.
На Фиг.8 показан вид в перспективе второго варианта внешнего корпуса аппарата для тасования карт по настоящему изобретению.
Описанное автоматическое тасующее устройство для создания произвольным образом перемешанного набора игральных карт. Один вариант исполнения этого устройства по настоящему изобретению тасует от одной до восьми или более колод карт (стандартная колода или колода по 52 карты каждая или 52 карты плюс один или два джокера) и особенно хорошо подходит, чтобы предоставить расположенные в случайном порядке наборы карт для таких игр, как, например, игра в очко с одной колодой, покер, игра в очко с двумя колодами и игра в очко с несколькими колодами. Другое исполнение данного изобретения пригодно для тасования одной или двух колод карт.
Это устройство включает в себя верхнюю поверхность и нижнюю поверхность, ячейку для приема карт для приема исходного набора игральных карт, которые следует перетасовать, и рандомизирующую систему для расположения в случайном порядке исходного набора игральных карт. Это устройство дополнительно включает в себя ячейку для сбора карт и поверхность для сбора карт в пределах ячейки для сбора карт для приема расположенных в случайном порядке игральных карт, поверхность сбора карт для приема карт таким образом, чтобы все карты были вложены в ячейку сбора карт под верхней поверхностью этого устройства. Предусмотрено подъемное устройство для подъема и опускания поверхности для сбора карт при тасовании, и подъем перетасованной (или же упоминаемой как “расположенной в случайном порядке”) группы карт, по меньшей мере, на высоту верхней поверхности этого устройства после тасования (т.е. самая нижняя карта в перетасованной группе карт будет поднята на уровень, где ее можно легко взять рукой с этого уровня, предпочтительно с самой нижней картой, выровненной с или над плоскостью, определяющей верхнюю поверхность этого устройства). Механизм приподнимания карт, такой как пара захватов, размещенных на одной высоте с зазором, захватывает несколько или все карты на поверхности сбора карт. Подъемное устройство опускается, образуя зазор или место для вкладывания для следующей подаваемой карты. Как только тасование завершено, и карты будут подняты, их может взять обслуживающий персонал или сдающий и использовать для сдачи карт. Когда карты сданы, осуществляется расположение в случайном порядке второй группы карт. Использование двух групп карт позволяет избежать ожидания со стороны сдающего или постоянных клиентов казино между отдельными розыгрышами.
Имеется большое число используемых в комбинации особых свойств, благодаря которым данное изобретение является значительным усовершенствованием по сравнению с ранее описанными системами тасования карт и способами тасования карт. Отдельные свойства, которые составляют это усовершенствование, по отдельности или в комбинации с другими свойствами, включают в себя систему для автоматической калибровки и проверки положения и действия подъемного устройства для перемещения окончательного набора расположенных в случайном порядке карт вверх таким образом, чтобы колода была доступна для сдающего или обслуживающего персонала. В одном примере данного изобретения подъемное устройство поднимает группу карт на поверхность игорного стола. То же самое подъемное устройство удобно способствует тасованию в пределах ячейки для сбора карт и/или ячейки для перемешивания.
Ячейка для сбора карт в одном примере данного изобретения имеет несколько вертикальных опор (например, 2, 3 или четыре стенки с доступной для руки ячейкой, из которой можно взять самую нижнюю карту), и подвижной нижней поверхности. Подъемное устройство поддерживает эту подвижную нижнюю поверхность (также упоминаемую далее, как поверхность для сбора карт) и приводит к перемещению этой поверхности вперед и назад (соответственно вверх и вниз) в значительной степени в вертикальном направлении. Одной из функций перемещения второго подъемного устройства (при тасовании или расположении карт в случайном порядке) является расположение стопки карт в пределах ячейки для сбора карт таким образом, чтобы карту или карты можно было вставить в стопку в специально выбранное или произвольным образом выбранное точное положение в стопке для расположения в случайном порядке, группировки или расположения карт в нужном порядке, таком как “pack order” для проверки (в частности, после считывания масти и достоинства карт), или случайным образом расположить карты, чтобы получить перетасованный набор карт, который можно сдавать игрокам. Вкладывание карт может быть выполнено различными способами, такими как приподнимание или, наоборот, опускание части стопки и вставка одной или нескольких (и предпочтительно как раз одной) карт в зазор путем расположения стопки около положения для вкладывания карт и вставки одной или нескольких карт в стопку, или вставки клиновидного элемента или лопатки между картами в стопке, чтобы поднять часть стопки, куда можно вложить карту(ы) (как описано Breeding et al., патент США №5695189 (переуступленный компании Shuffle Master, Inc.), который приведен здесь для справки).
В предпочтительном режиме действия аппарата для тасования карт по настоящему изобретению система отбора, захвата или разделения предусмотрена для приподнимания сегментов стопки карт, находящейся в ячейке для сбора карт, за счет чего образуется промежуток в группе карт, так что можно вставить карту или карты в конкретные места относительно других карт в колоде. Вариант данной системы описан в находящейся на рассмотрении заявке на патент США, серийный номер США №09/967502, поданной 8 января 2002 г. (переуступленный компании Shuffle Master, Inc.). В соответствии с этим изобретением система отбора, захвата или приподнимания карт зафиксирована в вертикальном направлении. За счет произвольного выбора вертикального положения подвижного основания ячейки для приема карт перед отбором меняется положение промежутка, создаваемого в стопке карт путем захвата части карт и опускания другой части карт ниже участка захвата с произвольным вкладыванием карт в эти промежутки, что приводит к расположению карт случайным образом.
Смещающие ролики являются предпочтительным механизмом, предусмотренным для смещения отдельных карт из ячейки для приема карт в ячейку сбора карт, хотя струи воздуха, ремни, вкладывающие пластины, вкладывающие лопатки и тому подобное также могут использоваться для перемещения отдельных карт или небольшого числа карт (например, 1, 2, 3, 4 или 5 карт) в ячейку для приема карт. Ячейка для выравнивания стопки предусмотрена в одном примере изобретение для приема поднимаемого окончательного набора карт, поднятого из ячейки сбора карт. Эта ячейка выравнивания стопки должна быть расположена или устанавливаться над верхней частью этого устройства или начинаться на верху этого устройства. В других примерах изобретения подъемное устройство само по себе снабжено выравнивающей стопку системой, которая опускается во внутреннюю часть аппарата для тасования карт до произвольного перемешивания карт. В одном исполнении, позже описанном более подробно, платформа подающего или подъемного устройства предусматривает свою собственную ячейку для выравнивания или в сочетании с ручкой привода подъемного устройства предусматривает такую ячейку для выравнивания карт. Одиночный ременной привод предусмотрен в одном примере изобретения, чтобы привести в движение два разнесенных по вертикали элемента для отбора карт в системе отбора сегментов карт. Элементы для отбора карт расположены вертикально вдоль пути перемещения ячейки для сбора карт к ячейке для сбора карт и расположены горизонтально или напротив друг друга парами. Предусмотрен микропроцессор, который использует генератор случайных чисел для идентификации или создания предполагаемого (подразумевается случайное) распределения исходного набора карт в ячейке приема карт в конце тасования. Микропроцессор выполняет перемещение элементов в аппарате для тасования карт, включая противоположно расположенные элементы для отбора карт и подъемное устройство для выполнения размещения каждой из карт в промежутки в стопке, создаваемые аппаратом для тасования карт, и набор карт, расположенных в случайном порядке, будет быстро сформирован. Для управления шагами при калибровке используется этот же микропроцессор (в устройстве для тасования или в связанном с ним игровом устройстве), либо отдельный, или же параллельный микропроцессор. В одном примере изобретения выполняющие отбор элементы перемещаются горизонтально для захвата противоположных краев группы карт. Рассматриваются другие приподнимающие системы, такие как плоский элемент между картами над точкой разделения.
Отдельные и комбинированные элементы изобретения будут описаны подробно после представленного более общего описания изобретения. Первое общее описание изобретения представляет собой устройство для формирования произвольного набора игральных карт, включающее в себя: верхнюю поверхность и нижнюю поверхность указанного устройства; принимающую ячейку для исходного набора игральных карт; рандомизирующую систему для расположения в случайном порядке исходного набора игральных карт; поверхность для сбора карт ячейки сбора карт для приема расположенных в случайном порядке игральных карт; подъемное устройство для подъема, поверхность для сбора в пределах ячейки для сбора карт; и, по меньшей мере, один опорный элемент для карт в пределах ячейки для сбора карт, который фиксирован горизонтально по отношению к вертикальному. Опорный элемент для карт должен поддерживать и приподнимать точное, произвольным образом определенное число карт в пределах ячейки сбора карт для создания зазора или промежутка в стопке карт в пределах ячейки для сбора карт, который является точкой вставки карт. Точка или промежуток для вставки карт образуется в ячейке сбора карт непосредственно под самой нижней частью опорного элемента или элементов для карт. Каждый раз, когда опорные элементы для карт поддерживают следующую группу карт, и подъемное устройство под ячейкой для сбора карт опускается, опуская оставшуюся группу карт и образуя зазор.
Это устройство может иметь один или несколько опорных элементов для карт, состоящих из, по меньшей мере, одного вертикально расположенного элемента на, по меньшей мере, одной стороне ячейки для сбора карт. В альтернативном варианте опорные элементы для карт включают в себя, по меньшей мере, два расположенных напротив друг друга опорных элемента, гибкие или мягкие (например, полимерные, эластомерные, резиновые или покрытые резиной) захваты, которые могут перемещаться внутри вдоль горизонтальной плоскости в пределах ячейки для сбора карт для захвата и поддерживания противоположных краев, по меньшей мере, части колоды, или стопку или группу карт. Или же между картами может быть вставлен горизонтально расположенный плоский элемент, такой как вилочная пара или плоская лопатка, так что когда подъемное устройство опускается, возникает точка для вставки карт или зазор. Частью стопки можно называть все карты в пределах ячейки для сбора карт на или выше произвольным образом выбранной карты или положения в стопке в пределах ячейки для сбора карт. Предпочтительно, чтобы это устройство имело микропроцессор communicatively присоединенный к этому устройству. Микропроцессор в одном примере изобретения запрограммирован на определение расстояние, на которое опорная поверхность для карт должна переместиться по вертикали, чтобы позиционировать каждую карту в нужном порядке в пределах стопки. В одном примере изобретения карты, подаваемые в ячейку для сбора карт, могут быть размещены в любом месте в стопке, включая верхнее или нижнее положение. Такая гибкость дает преимущество, которое обеспечивает более произвольное тасование и позволяет избежать “мертвых” зон в пределах полученной стопки карт.
Это устройство по настоящему изобретению дает преимущество распознавания длины или ширины карты и регулировки горизонтального расстояния между захватными ручками, так чтобы можно было приподнимать карты различной длины или ширины. Распознавание ширины или длины зависит от выбранного конструктором положения захватов в пределах ячейки для сбора карт.
В одном примере изобретения микропроцессор дает этому устройству команду подать первую карту в ячейку для сбора карт и захвата карты по ширине, соответствующей ширине стандартной группы карт. Если датчик обнаруживает, что карта приподнята, регулировка горизонтального промежутка между захватными ручками не нужна. Если приподнятая карта не зарегистрирована, микропроцессор дает команду регулируемому опорному механизму захвата переместиться на заранее выбранное расстояние, и процесс захвата и регистрации повторяется. Когда выполнена окончательная регулировка, карты будут подняты, и их присутствие зарегистрировано. Микропроцессор затем сохраняет эту настройку расстояния для захватного механизма. В альтернативном варианте, когда процессор дает команду, захваты поднимают одну или несколько карт, но не зарегистрировано ни одной поднятой карты, включается последовательность регулировки. Весь этот процесс будет описан ниже более подробно.
Микропроцессор связан с этим устройством и предпочтительно расположен в пределах внешнего корпуса этого устройства. Микропроцессор может быть запрограммирован на опускание поверхности для сбора карт в пределах ячейки для сбора карт, после того как, по меньшей мере, один опорный элемент для карт сработал и поддержал карты, подняв группу карт в пределах ячейки для сбора карт, создав две вертикально разделенные стопки карт, одна из которых приподнята, разделенные зазором или промежутком между картами.
Распознавание наличия приподнятой и/или поддерживаемой карты(карт) в пределах ячейки для сбора карт может быть обеспечено датчиками, которые могут зарегистрировать наличие карты(карт) в пределах этой ячейки посредством физического (например, взвешивание), механического (например, давление), электрического (например, сопротивление или проводимость), оптического (например, отражение, денситометрии, считывания) или других методов регистрации. Микропроцессор может дать команду переместить одну или несколько отдельных карт в промежуток, образованный между двумя сегментами карт (верхним и нижним). Микропроцессор может быть запрограммирован на произвольно определяемое расстояние, на которое опорная поверхность для карт должна переместиться вертикально, чтобы позиционировать, по меньшей мере, одну конкретную карту. Этот метод, включая измерение толщины карты, будет описан ниже более подробно. В альтернативном варианте микропроцессор может быть запрограммирован на выбор конкретного положения карты под или над некоторой картой за счет образования промежутка. Когда опорный элемент для карт перемещается для захвата карты в пределах ячейки для сбора карт и подъемное устройство перемещает опорную поверхность для карт вниз, образуется промежуток для приема следующей карты.
Подъемное устройство действует уникальным образом, чтобы разместить карты относительно устройства отбора или захватов в пределах отделения для тасования. Это уникальное действие предлагает значительное преимущества, позволяющие избежать необходимости вмешательства людей в настройку или продолжение работы устройства для тасования карт. Среди различных и выбираемых уникальных особенностей работы устройства для тасования карт по настоящему изобретению включена следующая последовательность событий. Нет необходимости комбинировать эти события в пределах одного процесса для представления этапов изобретения, так как отдельные этапы и сочетания двух или более этапов могут быть использованы для определения процессов изобретения.
Для калибровки устройства по настоящему изобретению для тасования карт определенного размера калибровочный набор карт, включающий в себя, по меньшей мере, одну карту (обычно одну, хотя можно использовать две, три, четыре или более карт), вставляется в отделение для тасования карт до тасования. Пластина основания подъемного устройства, создающая опору отделения для тасования карт, перемещает калибровочный набор карт в положение в пределах этого отделения, приблизительно соответствующего положению в пределах захвата (необязательно на уровне или в одном положении с нижней частью захватов), и захваты перемещаются вовнутрь (в направлении противоположных краев карты) и пытаются захватить карту(ы). Если захват захватывает карту(ы), датчик определяет, была ли карта(ы) захвачены захватами, или карта(ы) осталась на поверхность для сбора карт подъемного устройства (в зависимости от положения датчиков. Если нет указания, что карта(ы) захвачены, то захваты перемещаются вовнутрь один к другому горизонтально посредством большого числа шагов (например, шаги представляют собой такое единичное перемещение, как при перемещении за счет пошагового электродвигателя, или единичное перемещение посредством любого другого привода), и процесс повторяется. Эта последовательность захвата, распознавания и перемещения повторяется, пока датчик(и) не зарегистрируют, что карта поднята над опорной пластиной и/или удерживается в захвате. Микропроцессор определяет фиксированную последовательность шагов заранее определенного размера, которые используются в этой калибровке захватов, а также положение, в котором осуществляется захват. Это определение размеров карт, положений захватов и положения подъемного устройства можно выполнить независимо и/или совместно.
Логично начать с определения положения захватов. Захваты перемещаются первоначально вовнутрь на заранее определенное расстояние, а затем повторяется тестирование. Например, при первой попытке захвата захваты могут переместиться на 10 или 15 или другое число шагов. Первоначально желательно большее число, чем один или единичный шаг для обеспечения быстрого достижения первого захвата. После регистрации первого захвата карты(карт) микропроцессор расширит захват на фиксированное число шагов (здесь могут быть использованы одиночные шаги) с расширением, осуществляемым до тех пор, пока карты не перестанут захватываться. Как только карты не будут захватываться, достаточное число шагов добавляется для перемещения захватов, гарантирующее захват и даже небольшой упругий изгиб карты захватами, так чтобы больше карт можно было удержать и чтобы карты не выскальзывали. Это может быть 1, 2, 4, 5, 8, 10, 12, 15 или любое другое число шагов, обеспечивающее надежный захват. Эта процедура определяет положение “захвата” и “выброса карт” для захвата конкретной группы карт. Микропроцессор записывает положения пошагового электродвигателя, соответствующие положениям захватов, и использует эту информацию для расположения захватов при тасовании карт.
Теперь следует установить смещение платформы (в противоположность позиционированию смещения захватов). Подъемное устройство устанавливается в основании или исходном положении, которое может быть самым нижним возможным положением подъемного устройства (высотой подъемного устройства), или в положении под опорной рамой в основании отделения для сбора карт или в некотором другом заранее определенном положении. Подъемное устройство затем поднимается посредством серии шагов (и снова, при первоначальной попытке захвата желательно использовать большее число шагов для ускорения всего процесса, хотя при распознавании более точного позиционирования/ последовательности калибровки, следует использовать меньшее число шагов, даже одиночные шаги), и захваты приводятся в действие после каждого шага, пока карта не будет взята захватом в первый раз. Число шагов перемещения каждый раз для первого срабатывания захвата предпочтительно больше, чем одиночные шаги для обеспечения того, что эта карта будет захвачена на самом нижнем краю захватов. Кроме того, это может быть 1, 2, 3, 4, 5, 8, 10, 15 и т.д. шагов (или любое промежуточное или большее число шагов). Как только калибровочная карта(ы) захвачены, это указание того, что на платформе теперь имеются поднятые карты на, по меньшей мере, нижней части захватов. Как только произошел захват, подъемное устройство затем опускается посредством меньшего числа постепенных остановочных положений (тонкая регулировка), и новое положение, оцененное, как позволяющее затем взять калибровочную карту захватами. Процесс повторяется, пока калибровочная карта не окажется непосредственно под самым нижним положением захвата. Это положение затем записывается в память. Изменение положения выполняется путем опускания подъемного устройства и опорной пластины в положение непосредственно под захватами, а затем подъема этой пластины в положение на заранее определенное число шагов ниже, чем последнее положение, в котором карта(ы) была захвачена, и распознавания того, была ли карта захвачена в новом положении. В зависимости от компоновки датчиков, пластин и карт можно просто отпустить карту, затем опустить подъемное устройство на один шаг или несколько шагов (заранее определенное число шагов), а затем попытаться повторно захватить карту и распознать, была ли она захвачена.
Как только карта опущена непосредственно под захват, вторая калибровочная карта добавляется на поверхность для сбора карт. Положение подъемного устройства регистрируется/записывается. Точность системы предусматривает при использовании изобретения следующие варианты. После того как захвачена одна карта и определено положение, в котором эта одна карта не будет захвачена при чуть более низком положении подъемного устройства (например, перемещение вниз, которое может составить от 2 до 20 шагов или больше), другая калибровочная карта или карты затем будут добавлены в отделение для тасования карт поверх калибровочной карты(карт). Затем для подъемного устройства и захватов могут быть сделаны попытки перемещения подъемного устройства одиночными шагами, пока датчик(и) не определит, что одна карта захвачена, и поднимет опорную пластину, чтобы другая карта(ы) осталась на опорной пластине. К этому положению добавляется число шагов, равное толщине карты, и это конечное положение определяется как смещение платформы и указывает положение, из которого самая нижняя карта должна быть поднята с опорной пластины.
До вкладывания первой калибровочной карты подъемное устройство поднимается в заранее определенное зарегистрированное положение в ячейке для сбора карт, и это положение или подъем записывается в память. После вкладывания первой группы карт и их расположения в случайном порядке, процедура повторяется, на этот раз либо путем измерения высоты подъемного устройства, когда верхняя карта в стопке находилась на исходной высоте подъемного устройства, или измерения новой высоты верха стопки карт, когда подъемное устройство возвращается в это записанное положение. Разность этих расстояний представляет собой толщину колоды или группы карт. По мере подачи каждой карты на поверхность для сбора карт число карт считается и записывается. Процессор использует все сведения для расчета средней толщины карт и сопоставляет число шагов электродвигателя толщине одной карты. Эта информация затем используется при позиционировании подъемного устройства для точного размещения при следующем тасовании.
В этой точке все оставшиеся карты в колоде(ах) могут быть добавлены в отделение для тасования карт (либо прямо, либо в отделение для приема карт, а затем в отделение для тасования карт). Эта система позволяет затем проверить эффективность захватов путем подъема колоды на уровень, где должны быть захвачены все карты, захваты зажимают всю колоду (один, два, три или более раз), и подъемное устройство опускается. Если ни одной карты не падает в это отделение, данная система может перейти к процедурам обычного тасования. Если захваты оставляют карту, или карта падает назад в отделение для тасования карт, захват можно отрегулировать автоматически или вручную (по сигналу оператора), чтобы предусмотреть большее усилие на карты, и процедура подъема колоды затем повторяется снова, пока не будет поднята вся колода. Весь процесс калибровки может повторяться, если имеется неисправимая ошибка в процедуре теста подъема полной колоды. Аппарат для тасования карт предпочтительно включает в себя дисплей информации о нескольких сегментах, как описано Breeding et al, патент США №6325373, озаглавленный “Метод и аппарат для автоматического снятия колоды и тасования игральных карт”, раскрытие которого представлено здесь вместе со ссылкой. Затем дисплей может указывать информацию, относящуюся к состоянию аппарата для тасования карт, например, указание “AUTO ADJUST COMPLETE” (Автоматическая регулировка завершена), и оператор может перейти к процедурам обычного тасования с или без дополнительного указания на панели дисплея.
Описанный выше процесс калибровки предпочтительно повторяется периодически для компенсации распухания и изгиба карт. В предпочтительной форме изобретения две карты подаются в это устройство и разделяются до каждого тасования, чтобы убедиться, что это устройство по-прежнему откалибровано правильным образом. Если карты не разделяются, последовательность калибровки повторяется. Это устройство по настоящему изобретению включает в себя свойство обнаружения заедания аналогично описанному Breeding et al., патент США №6325373. Однако при четвертой неудачной попытке (или другом числе неудачных попыток) обнаружить заедание автоматически включается одна или более свойств калибровки, описанных выше.
Этот элемент суммарного процесса калибровки обеспечивает, таким образом, калибровочное устройство для тасования карт до процедуры тасования относительно положения нижней карты (пластина основания подъемного устройства, захватывающего карты или опорная пластина) путем перемещения подъемного устройства вверх и вниз, последующего захвата и повторного захвата карт для определения положения, где карты не захватываются, а затем захватывается только одна карта. Другая процедура захвата – повторного захвата в рамках суммарного процесса калибровки также состоит в распознавании и калибровке аппарата для тасования карт по отношению к определенному размеру карт, помещенных в аппарат для тасования карт. На основании знания того, как много карт было вложено в отделение для тасования карт в наборе (предпочтительно 1 карта, а затем всего две карты), микропроцессор определяет и указывает положение опорной пластины подъемного устройства и соответствующее положение опорной пластины подъемного устройства по отношению к захватам, а также относительную высоту данного числа карт в наборе на опорной пластине подъемного устройства. Эта информация хранится для использования с определенной стопкой карт в процессе тасования. Когда вводятся последующие колоды, оператор может по выбору указать, что эти колоды “такие же” или достаточно похожи, и нет необходимости выполнять весь процесс, или может указать, что процесс можно начать, или аппарат может автоматически выполнить проверку одной карты, чтобы определить, окажется ли она того же самого размера, а затем будет инициирована программа тасования, если карта окажется того же размера.
Дополнительно или альтернативно, как только калибровочный набор карт был сначала захвачен, захваты сбрасывают карты и повторно захватывают карты, измеряя один или несколько следующих пунктов: а) определяется и регистрируется положение захватов относительно друг друга для использования микропроцессором (с перемещением одного или нескольких двух противоположно расположенных захватов посредством числа шагов или другого поддающегося измерению показателя степени перемещения или положения захватов), b) сила или сила натяжения между захватами (с калибровочным набором карт или только одной картой, захваченной между захватами), с) высоты верхней карты (или одиночной карты) в калибровочном наборе, когда карты изогнуты приложением силы со стороны захватов (которую можно измерить датчиками положения в отделении для тасования карт), или любой другой системой, которая определяет и/или измеряет свойство или состояние, указывающее на захват карт с усилием в диапазоне от силы, недостаточной для удержания массы калибровочного набора от соскальзывания и изгиба карт в точке, где карта может быть поднята над другими картами в калибровочном наборе. Калибровочное расстояние обычно составляет от 93-99,5% длины карт (которая измерена перемещением отбирающего устройства, обычно длина карт).
Позиционирование, повторное позиционирование и захват карт выполняются автоматически и управляются микропроцессором или дополнительным микропроцессором (может также быть сетевой центральный управляющий компьютер, но микропроцессор в этом устройстве предпочтителен). Подъемное устройство и захваты перемещаются посредством шага или микрошага микрошагового электродвигателя или другой системы управления постепенным перемещением (например, гидравлической системы, шнековой системы, системы, снабженной приводом и т.п.). Использование автоматического процесса устраняет необходимость настройки техниками отдельных аппаратов, которую следует проводить регулярно в связи с износом частей, или когда заменены карты. Как отмечено, позиционирование может быть выполнено с калибровочным набором, состоящим всего из одной карты. После выполнения автоматической калибровки или определения положения микропроцессор запоминает это положение, и тасование можно инициировать со стопкой карт, из которой были взяты калибровочные карты.
Этот протокол калибровки или предварительного тасования может быть использован в сочетании с любой системой, где используется подъемное устройство, независимо от того, используются ли захваты, устройства для вкладывания карт, толкатели и тому подобное (как описано выше), а не только конкретный аппарат, показанный на рисунках. Также для определения конкретного положения карусельных отделений в устройстве тасования карусельного типа может использоваться аналогичная калибровочная система без захватов. Карусельное устройство может вращаться, и может быть определено положение полочек в ней по отношению к другим функциональным элементам в этом устройстве. Например, устройство считывания карт, компоненты для толкания карт, элементы для удаления карт и отделения для приема карт могут быть откалиброваны по отношению друг к другу. Как это понимают специалисты в этой области, могут быть варианты, выбранные среди компонентов, последовательности шагов и типы выполненных шагов, с изменениями, отражающими существо и область применения раскрытого здесь изобретения.
Кроме того, отделение для сбора карт не обязательно должно быть расположено вертикально. Это отделение может быть наклонено под углом по отношению к вертикали для улучшения зацепления между краями карт и опорой, расположенной в пределах ячейки для сбора карт.
Как отмечено, это описание отражает подробное описание предпочтительного практического варианта изобретения с захватами. Альтернативные системы, такие как системы с толкателями или клиньями для колоды, также могут использоваться с калибровочной системой изобретения с модификациями, отражающими различные системы. Например, где калибровка в предпочтительном исполнении относится к уровню захватов по отношению к картам и опорной пластине подъемного устройства, эта система может быть транслирована для калибровки воздушных толкателей, клиновидных подъемников и лопаток или пластинчатых толкателей. Это выполняют с помощью той же процедуры, что и для определения положения карты(карт), расположенных на опорной пластине. Например, вместо повторных тестов с захватом, повторных тестов с воздушным толкателем (чтобы увидеть, когда карты выбрасывается или вкладывается под его воздействием), повторных тестов с лопаткой или плоским толкателем (чтобы увидеть, когда карта выбрасывается или вкладывается под его воздействием), или клиновидным разделителем со вставкой соответствующей карты(карт) (чтобы увидеть, когда стопка [например, одна карта или несколько карт] подняты, или когда карта может быть выброшена или вложена под его воздействием с минимальной силой).
Это устройство по настоящему изобретению также позволяет контролировать толщину карты и использует эту информацию для определения местонахождения или положения в стопке, где разделение должно происходить с большой точностью.
В другом варианте исполнения первый датчик, расположенный в отделении для тасования карт, регистрирует высоту платформы в пределах отделения для тасования карт в ее самом нижнем положения до начала процесса рандомизации, когда нет карт в отделении для тасования карт. Этот датчик также может распознавать положение платформы в любом другом заранее определенном или “исходном” положении или присваивать такую номенклатуру этому положению.
После рандомизации, когда все карты переданы в отделение для тасования карт, платформа возвращается в то же самое положение, и этот же или другой датчик, расположенный в отделении для тасования карт (также упомянутый здесь, как отделение для сбора карт), может регистрировать высоту верхней карты в стопке. Разность между двумя измерениями представляет собой толщину стопки карт. Это альтернативный метод измерения толщины стопки.
Датчики (такие как оптические датчики, звуковые датчики, физические датчики, электрические датчики и т.п., как описано выше) регистрируют карты по мере их индивидуальной подачи с подающего лотка в отделение для тасования карт. Эта информация используется микропроцессором для проверки того, что присутствует ожидаемое число карт. В одном примере изобретения, если карт не хватает или присутствуют лишние карты, на дисплее будут указана неправильная раздача, и произойдет автоматический выброс. Микропроцессор использует два измерения высоты и счет карт для расчета средней толщины карт. Это измерение толщины используется для определения того, какая должна быть высота подъемного устройства для разделения стопки между любыми двумя “целевыми” картам.
Средняя толщина карт может быть перерассчитана каждый раз, когда аппарат для тасования карт приводится в действие при включении питания, или в соответствии с графиком, например, каждые 10-30 минуты, с 20-минутным интервалом, как в одном предпочтительным варианте.
Изобретатели поняли, что толщина колоды больше, чем больше карты используется, по мере увеличения влажности воздуха, а также, когда карты изнашиваются, во влажных условиях может оказаться желательным проверять толщину карт чаще, чем каждые 20 минут. При предельных условиях непрерывного использования и высокой влажности может оказаться желательным повторно рассчитывать среднюю толщину карт после завершения каждого тасования.
Новый метод определения средней толщины карт путем измерения при тасовании раскрыт здесь как изобретение. Метод включает в себя предоставление стопки карт, предоставление устройства подачи карт, обеспечивающее относительное перемещение между устройством подачи карт и стопкой, и измерение исходного положения платформы стопки. Исходное положение, указывающее высоту платформы подъемного устройства, когда нет карт в ячейки для укладки в стопку, подачи карт в ячейку укладки карт в стопку, счет числа карт, помещенных в ячейку для укладки карт в стопку по мере их подачи, распознавание высоты самой верхней карты в стопке, когда подъемное устройство возвращается в то же самое исходное положение, и расчет средней толщины карт по полученной информации (например, высота стопки/число карт=высота/1 карты).
Средняя толщина карты предпочтительно используется для определения положения захватов для карт, используемых для взятия карт. При опускании платформы под захваты в точно определенном заранее месте образуется промежуток, что позволяет точно разместить следующую карту между двумя “целевыми” картами.
В соответствии с данным изобретением датчик расположен в точке вкладывания в группу карт в ячейке для сбора карт. Каждый раз при образовании зазора датчик проверяет, что зазор открыт, например, что нет карт, поднятых или приподнятых карт за счет статических сил. Устройство подачи карт приводится в действие, когда датчик указывает, что промежуток свободен. Этот метод позволяет избежать заедания и обеспечивает более быстрое тасование по сравнению с программированием временной задержки между захватом карт и последующим опусканием подъемного устройства и вкладыванием следующей карты.
Другое общее описание предпочтительного устройства в соответствии с изобретением представляет собой устройство для формирования произвольного набора игральных карт, включающее в себя: верхнюю поверхность и нижнюю поверхность указанного устройства; принимающую ячейку для опоры исходного набора игральных карт, которые нужно расположить в случайном порядке; рандомизирующая система для расположения в случайном порядке исходного набора игральных карт; поверхность для сбора карт в ячейке для сбора карт для приема рандомизированных игральных карт, поверхность для сбора карт, передвигаемую в вертикальном направлении. В одном примере изобретения карты поступают на поверхность для сбора карт либо позиционируются непосредственно на поверхности или позиционируются косвенным образом на карте, поддерживаемой этой поверхностью. Все карты, которые должны быть расположены в случайном порядке, в этом примере вкладываются в ячейку для сбора карт в местоположении под верхней поверхностью этого устройства. В одном примере изобретения карты подаются по одной снизу стопки, расположенной в ячейку для приема карт и в ячейке для сбора карт.
Подъемное устройство предусмотрено для подъема поверхности для сбора карт таким образом, чтобы в конце тасования, по меньшей мере, некоторые расположенные в случайном порядке карты будут подняты в положение на или над верхней поверхностью этого устройства. Подъемное устройство может обеспечивать подъем всех или части расположенных в случайном порядке карт на или над верхней поверхностью этого устройства. Может быть предусмотрена крышка для защиты или закрытия карт, пока они не будут подняты в положение подачи, из которого сдающий может снять карты вручную. Это устройство может иметь ячейку для выравнивания стопки, определенную ограничивающим набором стенок, определяющих ячейку для подачи перетасованных карт, которая ограничивает все расположенных в случайном порядке карты вдоль, по меньшей мере, двух, а предпочтительно трех краев после того, как расположенные в случайном порядке карты будут подняты.
Альтернативно сама поверхность для сбора карт, элементы, расположенные на верхней поверхности аппарата для тасования карт или элемента, перемещающиеся над верхней поверхностью аппарата для тасования карт, могут срабатывать для выравнивания карт, так что они легче вынимаются рукой(руками) сдающего. Данное изобретение также contemplates подъем перетасованной группы карт на верхнюю поверхность аппарата для тасования карт, где нет ограничивающих деталей вокруг карт. В одном примере изобретения верхняя поверхность аппарата для тасования карт находится вровень с поверхностью игорного стола, и карты подаются после тасования непосредственно на поверхность игорного стола.
Ячейка для подачи карт может быть расположена так, что ее нижняя внутренняя поверхность находится на той же самой высоте, чтоб и верхняя поверхность аппарата для тасования карт. Нижняя внутренняя поверхность может быть поднята над верхней поверхностью или расположена под верхней поверхностью аппарата для тасования карт. В одном примере изобретения нижняя внутренняя поверхность находится на той же самой высоте, что и верхняя часть внешнего корпуса аппарата для тасования. Если аппарат для тасования вмонтирован и полностью окружен поверхностью игорного стола, было бы желательно подавать карты таким образом, чтобы нижняя карта в стопке находилась на той же самой высоте, что и поверхность игорного стола.
Ячейка для приема карт может быть наклонена книзу в направлении рандомизирующей системы, чтобы способствовать перемещению игральных карт. Это устройство может иметь, по меньшей мере, один отсекающий ролик для удаления карты по одной за раз из ячейки для приема карт и для перемещения карт, по одной за раз в направлении рандомизирующих компонентов этой системы. Хотя в одном примере изобретения рандомизирующая система приподнимает карты и вставляет карты в зазор, образовавшийся под поднятыми картами, могут быть использованы другие рандомизирующие системы, такие как метод тасования с произвольным выбросом, раскрытый Sines в патенте США №5584483, раскрытие которого здесь приведено для справки. По меньшей мере, одна пара ускоряющих роликов предпочтительно принимает карты от, по меньшей мере, одного отсекающего ролика. Микропроцессор предпочтительно управляет перемещением отсекающего ролика и, по меньшей мере, одной парой ускоряющих роликов. Первая карта предпочтительно перемещается посредством отсекающего ролика, так что, как описано ниже более подробно, движение отсекающего ролика меняется (останавливается или уменьшается или прекращается нагружающий контакт с картой), так что ни одна карта, кроме первой (самой нижней), не перемещается с помощью отсекающего ролика или, по меньшей мере, одной пары ускоряющих роликов. Это может быть выполнено путем распознавания перемещения или упругого давления на первую карту, оказываемого, по меньшей мере, одной парой роликов, что приводит к тому, что отсекающий ролик расцепляется с проводным механизмом, свободно вращается и не продвигает карту вперед.
Микропроцессор, например, может быть запрограммирован на управление расцеплением отсекающего ролика от приводного механизма и прекращение продвижения вперед первой карты, перемещаемой отсекающим роликом, когда зарегистрировано, что первая карта перемещается с помощью, по меньшей мере, одной пары роликов. Предпочтительная рандомизирующая система перемещает одну карту за раз в ячейку, находящуюся над поверхностью для сбора карт. Предпочтительно иметь одну карту за один раз, позиционированную в расположенный в случайном порядке набор игральных карт над поверхностью для сбора игральных карт. Кроме того, как и первая общая деталь, ячейка для сбора карт может быть ограничена по двум противоположным сторонам двумя вертикально расположенными противоположными в горизонтальном направлении подвижными опорными элементами для карт. Предпочтительно имеется точка вкладывания, например промежуток или прорезь в ячейке для сбора карт, которая расположена под нижним краем двух подвижных опорных элементов для карт. Опорная поверхность для карт вертикально позиционируется в пределах ячейки для сбора карт, обычно под контролем и командой микропроцессора. Например, опорная поверхность для карт перемещается посредством привода или подъемного устройства, которое может перемещаться пошагово по вертикали на расстояние, не большее чем толщина игральной карты, такое как пошаговое расстояние по вертикали, не большее чем половина толщина игральной карты. В качестве электродвигателя может использоваться, например, микрошаговый электродвигатель или аналоговый электродвигатель.
Датчик может находиться в пределах ячейки для сбора карт, под верхней поверхностью этого устройства, причем это датчик, регистрирующий положение верхней карты группы карт в ячейке для сбора карт под группой приподнятых карт. В альтернативном варианте или по согласованию этот датчик регистрирует уровень поверхности для сбора карт. Кроме того, предпочтительное устройство контролирует высоту верхней карты, когда две группы карт объединяют в одну группу, и регулирует изменение толщины колоды, обусловленное разбуханием, влажностью, износом карт, изгибом карт и т.д. Микропроцессор предпочтительно находится в этом устройстве для управления вертикальным перемещением поверхности для сбора карт. Датчик может определять положение поверхности для сбора карт, чтобы помещать верхнюю карту на уровне положения нижней части, по меньшей мере, одного опорного элемента для карт, который может значительно перемещаться по горизонтали от, по меньшей мере, одной стороны ячейки для сбора карт к игральным картам в ячейке для сбора карт.
В одном примере изобретения предусмотрено такое отверстие, как прорезь в боковой стенке ячейки для сбора карт, что позволяет передавать карты из ячейки для приема карт в ячейку для сбора карт. Боковая стенка может включать в себя весьма прочную опорную деталь, соединяющую края нескольких вертикальных “L”-образных угловых опор, или другую эквивалентную деталь, позволяющую удерживать стопку карт в положении, близком к вертикальному. Микропроцессор может быть запрограммирован для определения расстояния, на которое опорная поверхность для карт должна переместиться вертикально для расположения, по меньшей мере, одной конкретной карты с учетом или нет верхней карты на нижнем краю, по меньшей мере, одного опорного элемента для карт, когда опорный элемент для карт перемещается для захвата карт в пределах ячейки для сбора карт. Как описано выше, по меньшей мере, один опорный элемент для карт может включать в себя, по меньшей мере, два такие элемента, как захватные пластины, которые перемещаются от горизонтально разнесенных стенок ячейки для сбора карт к игральным картам в ячейке для сбора карт.
Микропроцессор может быть запрограммирован на опускание поверхности для сбора карт в пределах ячейки для сбора карт, после того как, по меньшей мере, один опорный элемент для карт захватит и поднимет карты в пределах ячейки для сбора карт, образовав два вертикально разнесенных сегмента или стопки карт. Микропроцессор управляет перемещением конкретной карты в место, где часть карт поднята, а именно между двумя разделенными сегментами карт. Микропроцессор может управлять движением элементов перемещения игральной карты в пределах этого устройства. Микропроцессор произвольным образом назначает конечные положения для каждой карты в пределах исходного набора игральных карт, а затем управляет этим устройством для расположения исходного набора игральных карт в эти произвольным образом назначенные конечные положения, чтобы сформировать окончательный набор игральных карт, расположенных в случайном порядке. Каждая карта вкладывается в создаваемую стопку собранных (расположенных в случайном порядке или перетасованных) карт путем их позиционирования по отношению к другим картам, уже находящимся в стопке. Таким образом, даже если первая карта не предназначена для расположения рядом с конкретной картой, но должна находиться над этой конкретной картой, первая карта будет расположена выше (и, возможно, рядом) с этой конкретной картой, и промежуточные карты будут добавляться в назначенной последовательности между первой картой и данной конкретной картой.
В одном исполнении этого изобретения ячейка для приема карт расположена таким образом, что отдельные карты подаются снизу стопки через прорезь, образованную в ячейке для сбора карт, непосредственно под захватными элементами. В другом примере изобретения подъемное устройство для загрузки карт предусмотрено таким, что карты могут быть загружены в ячейку для прием карт на некоторой высоте относительно положения первого варианта исполнения. Это подъемное устройство затем опускает карты до вертикального положения, совмещенного с подающим механизмом.
Когда это устройство используется для тасования больших партий карт, таких как группы из восьми колод, предпочтительно предусмотреть подающее подъемное устройство для опускания всей партии карт под верхнюю поверхность аппарата для тасования карт до тасования. Механизм подачи карт из ячейки для приема карт в ячейку для сбора карт или в отделение для тасования обязательно должен быть расположен ниже в аппарате для тасования карт, в котором тасуется больше карт, чем в аппарате для тасования карт, в котором карт тасуется меньше.
Когда большое число карт следует ввести в аппарат для тасования, может быть предусмотрена ограничивающая деталь, состоящая из стопора для карт или рамы для ограничения перемещения карт иногда с трех сторон подъемного устройства. Открытая сторона или стороны позволяет сдающему загрузить стопку со стороны подъемного устройства, а не пытаться загрузить подъемное устройство сверху, когда карты упадут свободно и перевернутся.
Рандомизирующее подъемное устройство предусмотрено для перемещения перемешиваемых карт и действует по принципу подъема и опускания нижней опорной поверхности для карт из ячейки для сбора карт. Это подъемное устройство перемещается во время рандомизации и также способствует подаче группы перетасованных карт путем подъема перетасованных карт в ячейку для подачи карт. Справочные рисунки помогают оценить настоящее изобретение и возможность его применения на практике. Вытянутые вверх боковые стенки на поверхности для сбора карт, ручка подъемного устройства или удлинение ручки подъемного устройства или другой элемент, присоединенный к этой ручке, может перемещаться с подъемным устройством и использоваться для перемещения других частей аппарата для тасования карт. Например, удлинение ручки может быть использовано для подъема навешенных на петлях или сдвигающихся крышек над картами по мере подъема карт над некоторым уровнем, который превышает обычную высоту подъема подъемного устройства при тасовании.
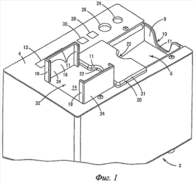
На Фиг.1 показан частичный вид в перспективе верхней поверхности 4 первого аппарата для тасования 2 в соответствии с практическим исполнением изобретения. В этом примере изобретения данное устройство позволяет расположить в случайном порядке одну или две колоды карт. Аппарат для тасования карт имеет ячейку для приема/получения карт 6, которая предпочтительно предусмотрена со стационарной нижней опорной поверхностью, которая наклонена вниз от ближней внешней стенки 9 аппарата для тасования 2. Выемка 10 предусмотрена в этой ближней внешней стенке 9 для облегчения оператору возможности поместить или вынуть карты в/из ячейки для приема/получения карт 6. Верхняя поверхность 4 аппарат для тасования карт 2 предусмотрена с а визуальным дисплеем 12 (например, светодиодный, жидкокристаллический микромонитор, полупроводниковый дисплей и т.д.) и серией кнопок, сенсорных клавиш, световых индикаторов и/или дисплеев 24 и 26. Эти элементы на верхней поверхности 4 устройства для тасования карт 2 могут указывать подачу питания (вкл./выкл.), состояние аппарата для тасования карт (заедание, процесс тасования, завершенный цикл тасования, недостаточное число карт, отсутствие карт, достаточное число карт, полная колода(ы), поврежденные или меченые карты, функции ввода для сдающего для указания числа игроков, числа карт на одни руки, доступ к фиксированному программированию для разных игр, число перетасованных колод, информация по калибровке карт и т.п.), или другие сведения, полезные для оператора или казино.
Также на Фиг.1 показана разделительная пластина 21 со скошенной кромкой 21 и две облегчающие ручной доступ выемки 22, которые облегчают оператору доступ и повторное перемещение заевших карт между ячейкой для приема карт 6 и ячейкой возврата перетасованных карт 32. Ячейка возврата перетасованных карт 32 показана с предусмотренной поверхностью подъемного устройства 14 и двумя раздельными удерживающими карты стенками 34. В предпочтительном варианте исполнения стенки 34 являются съемными. Когда аппарат для тасования карт смонтирован заподлицо и в середине поверхности игорного стола, удаление стенок 34 позволяет этому устройству поднять перетасованные группы карт на поверхность игорного стола для немедленного использования. Стенки вокруг карты 34 окружают часть поверхности подъемного устройства 14 с внутренними сторонами 16 и блокирующими выступами 18. Предпочтительно предусмотреть закругленные или скошенные края 11 на боковых стенках, которые могут соприкасаться с картами, чтобы предотвратить появление царапин, зацепление или защемление карт или царапин на руках или пальцах оператора.
На Фиг.2 показан вид сбоку в разрезе первого варианта исполнения аппарата для тасования карт 102 в соответствии с данным изобретением. Верхняя поверхность 104 показана с разделительной пластиной 120 и боковыми панелями 134 (стенки для удержания карт) ячейки возврата перетасованных карт 132. Ячейка приема/получения карт 106 находится в углублении по отношению к верхней поверхности 104 и показана с уклоном опорной поверхности 108. С передней стороны 135 наклонной поверхности 108 имеется отверстие 136 (невидимое на виде спереди) или прорезь, через которую нижнее отсекающее колесо 138 может взаимодействовать с нижней картой в наборе неперетасованных карт (не показано) в пределах ячейки приема/получения карт 106. Нижний отсекающий ролик 138 направляет карту в сторону 140 за счет фрикционного контакта в направлении первой пары прижимных роликов или смещающих роликов 142. В одном примере изобретения верхний ролик смещающих роликов 142 представляет собой отводящий ролик. Этот отводящий ролик задерживает вторую верхнюю карту для разделения в случае, когда две карты подаются одновременно. В предпочтительном варианте изобретения верхний ролик не вращается. В другом варианте изобретения верхний ролик вращается, но его вращение ограничено.
Имеются дополнительные две пары 144 146 прижимных роликов или смещающих роликов, действующих согласованно (или только одна пара, приводимая в действие) для перемещения карт, сначала перемещаемых первым набором прижимных роликов 142. В предпочтительном исполнении по настоящему изобретению действие аппарата 102 может происходить следующим образом. Когда карта (не показана) перемещается из ячейки для приема/получения неперетасованных карт 106, со временем появляется другая карта в стопке карт в пределах ячейки приема/получения карт 106. Этот аппарат сконструирован, запрограммирован и управляется таким образом, чтобы отдельные карты двигались в первом наборе прижимных роликов или смещающих роликов 142. Если более чем одна карта из ячейки для приема/получения карт выдвинулась вперед в любой момент времени (даже если это частичная последовательность, с частью одной карты, налагающейся на другую карту), аппарату будет труднее или даже невозможно направить отдельные карты в заранее определенные положения и перетасовать карты случайным образом.
Если две карты перемещаются одновременно и они расположены рядом друг с другом, это неуправляемо нарушит случайный характер работы аппарата для тасования карт. Следовательно, предпочтительно предусмотреть возможность, в силу которой, когда карта перемещается в ячейку для действия первого набора прижимных роликов или смещающих роликов 142, действие привода нижнего отсекающего ролика 138 приостанавливает эту карту и/или продвигает следующую карту до нижнего отсекающего ролика 138. Этого можно добиться с помощью множества методов, управляемых или контролируемых микропроцессором, печатной платой, программируемым искусственным интеллектом или фиксированной логикой в пределах аппарата.
Среди неограниченных примеров этих методов следующие: 1) датчик, такой, что когда заранее выбранная часть карты (например, вводимая часть, последующая часть и метки или деталь на карте) проходит считывающее устройство, такое как оптическое считывающее устройство, нижний отсекающий ролик 136 получает команду расцепления, вращается свободно или отходит от нижнего набора карт; 2) первый набор прижимных роликов или смещающих роликов 144 может иметь скорость поверхности, большую, чем скорость поверхности нижнего отсекающего ролика 138, так что зацепление карты приводит к натяжению относительно нижнего отсекающего ролика 138, и этот ролик расцепляется со свободно вращающимся зубчатым зацеплением, так что не прикладывается сил для перемещения вперед (в направлении 140) первой карты или любых других карт, выдвинутых при перемещении первой карты; 3) синхронизирующая последовательность, так что, при перемещении нижнего отсекающего ролика в течение определенного периода времени или для определенного числа оборотов (которое соответствует определенному перемещению первой карты) нижний отсекающий ролик 138 расцепляется, отходит или иным образом перестает прикладывать силу к первой карте и, таким образом, перестает прикладывать силу и к любым другим картам, выдвинутым при перемещении первой карты из ячейки приема/получения карт 106 и 4) предусмотрена ступенчатая поверхность (не показана) между отсекающим роликом 138 и смещающими роликами 146, которая соприкасается с передним краем каждой карты и приводит к удержанию карты в случае, когда более одной карты подается за один раз. В итоге карты должны подаваться по одной за раз с конечных прижимных роликов или смещающих роликов 146 в ячейку для перемешивания карт 150. Карты в ячейке для перемешивания 150 опираются на платформу подъемного устройства 156. Эта платформа 156 перемещает стопку карт, находящихся в ячейке для перемешивания, вверх и вниз, в виде группы в непосредственной близости от пары разделяющих элементов 154. Пара разделяющих элементов 154 захватывает верхнюю часть карт и удерживает эти карты, в то время как подъемное устройство опускается в достаточной мере, чтобы образовался промежуток для вкладывания карты в стопку. Это перемещение в пределах аппарата 102 в процессе выполнения последовательности тасования предлагает значительное ускорение при тасовании по сравнению с патентом США №5683085, особенно по мере увеличения числа карт ячейке для перемешивания 150. В данном аппарате не опускается вся стопка карт до самого низа ячейки для приема карт и повторно позиционируется приспособлением для отбора карт (как это требуется в патенте США №5683085), здесь карты могут быть сброшены приспособлением для отбора карт, или же подъемное устройство должно переместиться только на небольшое расстояние для перекомпоновки карт, поддерживаемых разделительным элементом 154 (захват и опора для вставки карт, пальцы, опора для фрикционного захвата, резиновые пальцы и т.д.), причем карты удерживаются на платформе подъемного устройства 156.
Для стационарной пары захватных пластин также сохраняется совмещение пластин по отношению друг к другу, и они захватывают карты более надежно, чем в устройстве, описанном в патенте США №5683085, что снижает или позволяет избежать непреднамеренного падения карты или карт, которые предполагается захватить, а не опустить. Если же карты падают, это может пагубно отразиться на случайном характере окончательного тасования. Хотя первый пример изобретения показывает пару противоположно расположенных захватных элементов, можно использовать только один захват. Например, противоположная вертикальная опорная поверхность может быть снабжена резиновой или неопреновой лентой, повышающей фрикционный контакт, что позволяет с помощью только одного захвата приподнять группу карт.
Подъемное устройство для системы со стационарными захватами затем может быть передвинуто в следующее указанное положение для разделения, которое потребует, в среднем, меньшее перемещение, чем повторная вставка всей колоды в нижнюю часть опорной ячейки для карт, а затем перемещения приспособления для отбора карт, и последующего подъема приспособления для отбора карт до точки вкладывания карты, как это требуется в патенте США №5683085.
Микропроцессор 160 управляет и контролирует действие аппарата для тасования карт 102. Микропроцессор 160 также принимает и дает отклик на информацию, предоставленную ему. Например, набор распознающих устройств 152 используется для определения точки перемещения подъемного устройства, которое позиционирует верхнюю карту в наборе карт (не показан) в пределах ячейки для перемешивания карт 150 с определенным подъемом. Распознающие устройства 152 указывают, когда самая верхняя карта на платформе 156 или сам верх платформы совмещен по уровню с датчиками 152. Эта информация предоставляется микропроцессору. Считывающая система 170 может также использоваться для предоставления информации, такой как число карт, которые были поданы из ячейки для приема/получения карт 106 в ячейку для перемешивания карт 150, так что известно число перетасованных карт и число карт, находящихся на платформе 150 в любой заданный момент. Эта информация, такая как число карты, находящихся в пределах ячейки для перемешивания карт 150, используется микропроцессором 160, как будет пояснено далее для произвольной компоновки и, таким образом, тасования карт в соответствии с программированием этой системы.
Например, программирование может быть выполнено следующим образом. Число карт в наборе карт, который предполагается использовать в этой системе, вводится в память микропроцессора. Каждая карта в наборе карт предусмотрена с конкретным номером, который связан с этой конкретной картой, упоминаемый здесь, как номер исходного положения. Это наиболее удобно сделать, присвоив номера в соответствии с положениями в пределах исходного (неперетасованного) набора карт. Если карты подаются снизу стопки в рандомизирующий аппарат, картам присваиваются номера снизу до верху. Если карты подаются сверху стопки или передней стороны стопки, поддерживаемой вдоль нижних краев, то карты нумеруются сверху донизу или с передней стороны до задней.
Генератор случайных чисел (который может являться частью микропроцессора 160, может быть отдельным компонентом или внешним по отношению к этому устройству) затем присваивает случайный номер положению каждой карта в пределах исходного набора карт, причем этот случайный номер положения является произвольно определенным конечным положением, которое каждая карта займет в произвольно соединенном наборе карт, что в конечном итоге дает перетасованный набор карт. Микропроцессор определяет каждую карту по номеру ее исходного положения. Это проще всего сделать, когда номер исходного положения прямо соответствует его фактическому положению в наборе, такому как самая нижняя карта, является КАРТОЙ 1, следующая карта является КАРТОЙ 2, следующая карта является КАРТОЙ 3, и т.д. Микропроцессор, получая произвольный номер положения, затем указывает подъемному устройству переместиться в положение, где карту можно правильным образом вложить в расположенный в случайном порядке или перетасованный набор карт. Например, набор рандомизированных положений, выбранных генератором случайных чисел для одной колоды, представлен ниже. НИП означает номер исходного положения, а НПП – номер произвольного положения.
| НИП |
НПП |
|
НИП |
НПП |
|
НИП |
НПП |
|
НИП |
НПП |
| 1 |
13 |
|
14 |
10 |
|
27 |
14 |
|
40 |
4 |
| 2 |
6 |
|
15 |
21 |
|
28 |
31 |
|
41 |
20 |
| 3 |
39 |
|
16 |
29 |
|
29 |
50 |
|
42 |
47 |
| 4 |
51 |
|
17 |
33 |
|
30 |
7 |
|
43 |
37 |
| 5 |
2 |
|
18 |
11 |
|
31 |
46 |
|
44 |
30 |
| 6 |
12 |
|
19 |
52 |
|
32 |
23 |
|
45 |
24 |
| 7 |
44 |
|
20 |
5 |
|
33 |
41 |
|
46 |
38 |
| 8 |
40 |
|
21 |
18 |
|
34 |
19 |
|
47 |
15 |
| 9 |
3 |
|
22 |
28 |
|
35 |
35 |
|
48 |
36 |
| 10 |
17 |
|
23 |
34 |
|
36 |
26 |
|
49 |
45 |
| 11 |
25 |
|
24 |
9 |
|
37 |
42 |
|
50 |
32 |
| 12 |
1 |
|
25 |
48 |
|
38 |
8 |
|
51 |
27 |
| 13 |
49 |
|
26 |
16 |
|
39 |
43 |
|
52 |
22 |
Эта последовательность шагов процедуры тасования или расположения в случайном порядке может быть описана следующим образом для приведенной выше таблицы НИП и НПП карт. Карта с НИП 1 передается с ячейки для приема карт 106 на конечные прижимные ролики или смещающие ролики 146. Конечные прижимные ролики или смещающие ролики 146 помещают КАРТУ 1 наверх платформы, которая соответствующим образом позиционирована путем распознавания датчиками 152. КАРТА с НИП 2 помещается поверх КАРТЫ 1 без необходимости захвата или подъема карт. Микропроцессор определяет НПП положение КАРТЫ 3, как расположенной и под КАРТОЙ 1, и под КАРТОЙ 2, так что подъемное устройство 156 поднимает карты до захватного элемента 154, который захватывает и КАРТУ 1, и КАРТУ 2, а затем удерживает эти две карты, в то время как подъемное устройство отводится, позволяя поместить КАРТУ 3 между платформой подъемного устройства 156 и двумя поддерживаемыми картами. Эти две карты (КАРТА 1 и КАРТА 2) затем будут помещены поверх КАРТЫ, поддерживаемой платформой 156. Четвертой карте (КАРТА 4) присвоено положение НПП 51. Подъемное устройство должно позиционировать три карты в стопке так, что все три карты были подняты над элементом для разделения карт, и четвертая карта была вставлена между тремя картами (КАРТА 1, КАРТА 2 и КАРТА 3) и платформой 156. Пятая карта (КАРТА 5) имеет НПП 2, так что аппарату просто нужно, чтобы те четыре карты были расположены под точкой вкладывания из последних двух прижимных роликов 146 путем опускания платформы 150. Позиционирование шестой карты (КАРТА 6) с НПП 12 требует, чтобы подъемное устройство подняло всю стопку карт, датчики 152 регистрируют верх стопки карт, поднимают стопку карт так, что разделители 154 захватывают только верхние две карты (НПП положения 2 и 6), незначительно опускают платформу 156, а затем КАРТА 6 с НПП 12 может быть правильным образом вложена в промежуток в составляемом наборе расположенных в случайном порядке карт. Этот тип процесса выполняется, пока все 52 карты (для игры с одной колодой) или все 104 карты (для игры с двумя колодами) не будут сложены произвольным образом в окончательный набор расположенных в случайном порядке или перетасованных карт. Аппарат может быть предназначен для больших групп карт, чем одиночные колоды из 52 карт, включая колоды из 52 карт с или без специальных карт (безличные карты или джокеры), специальные колоды, две колоды по 52 карты и две колоды по 52 карты плюс специальные карты. Большие группы карт (например, более чем 108 карт) также могут использоваться, но аппарат по первому примеру изобретения был показан, как оптимизированный для тасования одной или двух колод.
Высота подъема подъемного устройства или платформы 156 может зависеть от имеющегося в продаже типа системы. Предпочтение отдается системе с высокой степенью точности срабатывания и управления перемещением подъемного устройства как при отдельных перемещениях (например, отдельные шаги или импульсы), так и при общем перемещении подъемного устройства (шаги или повороты, выполняемые системой перемещения). Важно, чтобы подъемное устройство могло обеспечить точное и прецизионное перемещение и повторить перемещение на расстояние, не превышающее толщины одной карты. Если минимальная степень перемещения подъемного устройства превышает толщину одной карты, то точного позиционирования достичь нельзя. Предпочтительно, чтобы степень управления перемещением подъемного устройства не превышала, по меньшей мере, половины толщины одной карты. Таким образом, можно добиться точного позиционирования карт по отношению к разделительным элементам 154.
Кроме того, часто желательно стандартизировать, отрегулировать или откалибровать положение подъемного устройства (и/или карт на подъемном устройстве), по меньшей мере, один раз и часто с интервалами для обеспечения правильной работы аппарата 102. В одном примере изобретения микропроцессор 160 периодически запрашивает повторную калибровку и предоставляет сдающему предупреждение или инструкции по калибровке на экране дисплея 12. Как описано ниже, предпочтителен микрошаговый электродвигатель или другой электродвигатель, обеспечивающий прецизионное и малое контролируемое перемещение. Шаги, например, могут быть величины, меньшей, чем толщина карты, например, отдельные шаги по 0,0082 дюйма (0,0208 мм) (приблизительно меньше, чем толщина 1 карты), 0,0041 дюйма (0,0104 мм) (менее 1/2 толщины карты), 0,00206 дюйма (0,0052 мм) (менее приблизительно 1/4 толщина карты), 0,0010 дюйма (0,00254 мм) (менее приблизительно 1/8 толщина карты), 0,00050 дюйма (0,00127 мм) (менее приблизительно 1/16 толщина карты), 0,00025 дюйма (0,000635 мм) (менее приблизительно 1/32 толщина карты) 0,000125 дюйма (0,000317 мм) (менее приблизительно 1/64 толщина карты) и т.д.
Особенно предпочтительными механизмами управления подъемным устройством были бы сервосистемы или пошаговые электродвигатели и ремни с зубчатым или резьбовым приводом (по существу, более похожие цифровые системы). В продаже имеются пошаговые электродвигатели, такие как микрошаговые электродвигатели, которые могут обеспечить или могут быть легко отрегулированы для обеспечения пошагового перемещения, которое равно или меньше толщины одной карты, с целыми долями толщины карты, или с неопределенной процентной долей толщины карты. Точное соответствие между шагами и толщиной карты несущественно, особенно там, где эти шаги очень малы по сравнению с толщиной карты. Например, при толщине карты приблизительно 0,279 мм, шаги могут быть 0,2 мм, 0,15 мм, 0,1 мм, 0,08 мм, 0,075 мм, 0,05 мм, 0,04 мм, 0,01 мм, 0,001 мм или меньше, и множество значений между ними. Предпочтительно иметь меньшие значения, так как некоторые значения, такие как значение шага 0,17 мм, так как захват в разделительном элементе может расшириться и над целевым положение, которое должно быть отделено, и над следующей нижней картой в стопке, которая должна быть захвачена, без промежуточного пошагового положения. Это входит в область рассмотрения конструктора, как только принципы процесса поняты в соответствии с настоящим описанием практического исполнения изобретения. Как показано на Фиг.2, приводной ремень 164 присоединен к двум ведущим роликам 166, которые перемещают платформу подъемного устройства 156. Ремень 164 приводится в действие системой пошагового электродвигателя 170, которая обеспечивает шаг 0,00129 дюйма (0,003 мм).
На Фиг.3 показан вид в сечении в перспективе ведущих роликов или прижимных роликов 142, 144 и 146 первого примера изобретения. Это не точный набор прижимных роликов, смещающие ролики, так что ролики 142а и (не показаны), 144а и 144b, 146а и 146b не точно ориентированы линейно. Выбрав ширину прижима, который не должен быть таким плотным, чтобы прижимать карту с двух сторон в одном положении, и выбрав смещающие ролики, а не расположенные параллельно прижимные ролики, можно обеспечить быстрое перемещение карты, уменьшение повреждения карты и сокращение заедания. Это особенно желательная сторона предпочтительного практического варианта по настоящему изобретению, который показан также на Рис.4.
На Фиг.4 показан набор смещающих роликов 144а, 144b, 144с, 144d и 144е, передающих карту 200. Карта 200 показана в момент прохождения над роликами 144а и 144d и под роликами 144b, 144с и 144е. Как можно видеть, эти ролики не позволяют при соприкосновении с картой точного наложения в указанной точке на противоположные стороны карты.
На Фиг.5 показан вид в поперечном сечении одного варианта исполнения захватной системы 204, которая может быть использована в практическом применении изобретения. На Фиг.5 показаны две разнесенные опорные ручки 206 и 208, которые удерживают захватные элементы 210 и 212, включающие в себя полужесткие захватные пластины 214 и 216. Эти захватные пластины 214 и 216 могут быть гладкими, с канавкой, покрыты материалом с высоким коэффициентом трения, таким как резина или неопрен, рифленые, прямые, наклонные и т.п., обладающие различными полезными физическими свойствами и действием. Опорные ручки 206 и 208 присоединены к двигающимся по отдельности позиционирующим ручкам 218 и 220. Эти позиционирующие ручки считаются движущимися по отдельности, поэтому они физически не соединены, но одна перемещается слева направо, в то время как другая перемещается справа налево (по отношению к виду, показанному на Фиг.5), как две позиционирующие ручки перемещаются вовнутрь и наружу (практически горизонтально), чтобы захватить или сбросить карты. Однако предпочтительно они не двигаются независимо, а должны двигаться согласованно. Также желательно, чтобы они были фиксированы по отношению к вертикали. Если позиционирующие ручки двигаются совершенно независимо (горизонтально, во время захвата), когда только она ручка движется, чтобы попытаться схватить карты за один раз, первая захватывающая ручка могла бы сместить карты из положения с выравниванием по вертикали. По этой причине предпочтительно, чтобы использовались две противоположно расположенные захватные ручки. Хотя ручки могут приводить контактные пластины 214 и 216 в соприкосновение не с абсолютной точностью, они должны захватывать противоположные края карт приблизительно одновременно, без смещения каких-либо карт более чем на 5% длина карты (если они захватываются по длине) или 7% ширины (если карты захватываются по ширине). Пример одного механизма для движения позиционирующих ручек согласованно осуществляется посредством приводного ремня 226, который зацепляет противоположные стороны двух соединителей 222 и 224, которые присоединены к позиционирующим ручкам 220 и 218 соответственно. Ремень 226 захватывает эти соединителя 222 и 224 на противоположных сторонах, а именно контактный соединитель 224 на задней стороне, а контактный соединитель 222 на передней стороне. Так как ремень 226 приводится в движение роторами 228 и 230, причем оба ротора 228 и 230 вращаются в направлении 232, соединитель 222 будет перемещаться слева направо, а соединитель 224 – справа налево. При этом аналогичным образом контактные пластины 214 и 216 перемещаются вовнутрь для захвата карт. Использование таких пластин гораздо предпочтительнее, чем использование жестких, заостренных лопаточек для разделения карт, так как они могут повредить карты, не только повышая необходимость замены, но также оставляя метки на картах, что может снизить надежность.
Альтернативные конструкции включают в себя плоскую упругую или резиновую поверхность с бугорками или шишечками, которые выступают наружу от поверхности, чтобы захватить карты, когда они будут прижаты к боковой поверхности карт. Эти элементы могут быть постоянно присоединены к поверхностям приспособления для отбора карт или могут сниматься и заменяться отдельно. Бугорки и плоская поверхность могут быть изготовлены из одного и того же или различных материалов и могут быть изготовлены из относительно более твердых или более мягких, жестких или гибких материалов в соответствии с параметрами конструкции.
Аппарат может также обладать дополнительными свойствами, такими как датчик(и) для считывания карт, например, оптический датчик, нейтральная сеть распознавания, аппарат для формирования видеоизображений, считывание штрихового кода и т.д., для идентификации масти и достоинства карты; средства подачи для подачи карты последовательно за датчиком; в различных точках в пределах аппарата; ячейки для хранения, в которых карты хранятся в нужном порядке или произвольном порядке; селективно программируемый искусственный интеллект, соединенный с датчиком(ами) и указанные ячейки для хранения, для сбора в указанных ячейках для хранения групп предметов в нужном порядке; подающие системы для выборочной подачи отдельных предметов в ячейки для хранения, и ячейки для сбора упорядоченных или расположенных в случайном порядке подгрупп карт.
Датчик(и) могут иметь возможность идентифицировать наличие предмета в конкретных ячейках, перемещения или отсутствие перемещения в конкретных ячейках; достоинство и/или ранг карты, считывание карт для идентификации поддельных или фальшивых карт и обнаружения меченых карт. Это можно удобно выполнить, предусмотрев датчик с возможностью идентификации одного или более физических признаков предмета. Он включает в себя датчик, снабженный средствами идентификации особых признаков на поверхности предмета. Нужным порядком может быть конкретный порядок одной или нескольких колод карт, хранящихся в порядке их исходной упаковки, или специальный порядок, или это может быть произвольный порядок, в котором полный набор предметов подается из нескольких наборов произвольно скомпонованных предметов. Например, конкретный порядок может быть достигнут за счет подачи карт в ячейку для приема карт с датчиком, идентифицирующим масть и достоинство и имеющим заранее установленную программу назначения карт, основываясь на их масти и достоинстве, в определенное распределение на платформе подъемного устройства. Например, казино может захотеть скомпоновать карты в порядке упаковки в конце смены для проверки наличия всех карт или может захотеть раздать карты на турнир в указанном произвольном порядке. Распознавание может происходить в ячейке для приема карт, когда карты неподвижны или когда карты движутся. Масть, достоинство и положение всех карт в ячейке для приема/получения карт будут затем известны, и можно применить программу для карт без использования генератора случайных чисел, но с микропроцессором, идентифицирующим требуемое положение для карты конкретной масти и достоинства. Карты могут также считываться между смещающими роликами или между последним смещающим роликом и платформой, хотя эта последняя система будет относительно медленной, так как информация о содержании карты будет известна в самый последний момент, так что платформа не сможет соответствующим образом переместиться, пока не будет получена эта информация.
Например, нужным порядком может быть полная пачка произвольным образом скомпонованных игральных карт, рассортированных из приспособлений для хранения, где находятся несколько колод или несколько случайным образом ориентированных карт, образующих несколько пачек карт. Это может быть достигнуто путем идентификации отдельных карт оптическими считывающими устройствами, сканерами или любыми другими средствами, а затем под контролем вычислительных средств, таких как микропроцессор, размещения идентифицированной карты в определенные средства сбора для обеспечения подачи полных колод карт в нужное отделение. Генератор случайных чисел используется для размещения отдельных карт в произвольные положения для гарантии произвольной подачи от одной до восьми или более колод карт в зависимости от размера этого устройства.
С учетом одной отличительной особенности изобретения устройство приспособлен, чтобы предоставить одну или более перетасованных пачек карт, например, одну или две колоды для игры в покер или блекджек. В соответствии с другой отличительной особенностью изобретения метод расположения в случайном порядке меньших или больших групп карт выполняется с использованием этого устройства по настоящему изобретению. В соответствии с данным изобретением метод включает в себя следующие этапы: 1) размещение группы карт для рандомизации в лотке для подачи карт; 2) удаление карт по одной из лотка для подачи карт и подачи карт в ячейку для сбора карт, ячейка для сбора карт имеет подвижную нижнюю поверхность, и стационарное отверстие для приема карт из подающего лотка; 3) подъем подвижной нижней поверхности на произвольным образом определенную высоту; 4) захват, по меньшей мере, одного края группы карт в ячейке для сбора карт в месте непосредственно над стационарным отверстием; 5) опускание подвижной нижней поверхности для образования промежутка в стопке карт, сформированной на нижней поверхности, промежуток, расположенный непосредственно под самой нижней точкой, где захватываются карты; и 6) вкладывание карты, вынутой из подающего лотка в промежуток. В соответствии с методом по настоящему изобретению этапы со 2 по 6 повторяются, пока все карты, исходно находящиеся в подающем лотке, не будут переложены, чтобы создать расположенную в случайном порядке группу карт.
Как описано выше, способ и устройство по настоящему изобретению могут быть использованы для рандомизации групп карт, а также сортировки карт в определенном нужном порядке. Когда оборудование для распознавания используется для регистрации достоинства и масти карт, карты можно скомпоновать в любом заранее определенном порядке в соответствии с изобретением. Следует понимать, что рассматриваются различные варианты по настоящему изобретению, и раскрытие не предназначено для объема изобретения описанными выше примерами. Например, может оказаться полезным несколько наклонить ячейку для перемешивания карт 150, так что верхняя часть выходит за пределы ячейки для приема карт 106 больше, чем нижняя часть. Это способствует выравниванию стопки вертикально в ячейке 150 и повышает эффективность и точность процесса рандомизации или упорядочения. В одном предпочтительном варианте ячейка для приема карт 150 наклонена на от 3 до 8 градусов от вертикали.
В другом варианте изобретения аппарат для тасования карт вмонтирован в стол, так что подающий лоток или ячейка для приема карт 106 наклонены под верхней поверхностью игорного стола, и нижняя горизонтальная поверхность 156 ячейки для подачи карт или ячейка для возврата карт 132 в своем прямом положения находится вровень с подъемом поверхности игорного стола.
Хотя аппарат может находиться на верхней части стола, он предпочтительно смонтирован на скобе с опорной поверхностью, расположенной под поверхностью игорного стола, и полностью окружен верхней частью стола, что позволяет сдающему получить и вернуть карты без неподобающего приподнимания над поверхностью игорного стола. В одном варианте весь аппарат для тасования карт смонтирован в игорном столе, так что подающий лоток и ячейки возврата карт либо находятся на одном уровне, либо приблизительно на одном уровне с поверхностью игорного стола. Такое расположение должно быть особенно удобно для использования в обычных залах для покера.
Во втором примере изобретения это устройство конфигурировано для тасования больших групп карт, таких как стопка из восьми полных колод. Отдельные компоненты действуют аналогичным образом, но конкретная конфигурация предназначена для принятия стопок большей высоты.
На Фиг.6 показан вертикальный вид в перспективе другого аппарата 500 в соответствии с данным изобретением. Этот аппарат 500 показан с защелкивающейся крышкой 502 с секциями 504 и 506, которые накладываются на платформу подъемного устройства 512 и ячейку для вкладывания карт 510. Выступающая часть или язычок 507 предусмотрен для вставки в открытую ячейку 508, чтобы было легче поднять защелкивающуюся крышку 502, когда это необходимо. Открытая ячейка 508 оставляет дополнительное пространство для пальцев или инструмента, вставляемого напротив выступающей части 507, чтобы поднять ее. Это дополнительное пространство может быть предназначено только для инструмента, так чтобы снизить возможность простого открытия аппарата для тасования карт 500 игроком. В предпочтительном варианте изобретения предусмотрено удлинение ручки 514 подъемного устройства, которая закреплена на внутреннем краю 513 защелкивающейся крышки 502, здесь показанной с роликом 515 в качестве соединительного элемента, чтобы поднимать крышку 502, когда платформа подъемного устройства 512 поднимается на уровень, с которого следует снимать карты, удлинение 514 заставляет крышку 502 подняться над верхней частью 517 аппарата 500. Удлинение 514 также препятствует перемещению игральных карт по мере их подъема с платформы подъемного устройства 512, хотя могут быть использованы дополнительные элементы (не показаны) для ограничения перемещения карт, когда они подняты до уровня, где их снимают. В этом примере изобретения для выравнивания стопки поданных карт боковые панели не используются.
На Фиг.6 также показана панель дисплея 516, которая может быть любого формата визуального дисплея, в частности, такой как светодиодные панели, жидкокристаллические панели, ЭЛТ дисплеи, плазменные дисплеи, цифровые или аналоговые дисплеи, точечные дисплеи матричного типа, мультисегментные дисплеи, многоламповые дисплеи с фиксированной панелью и т.п., предоставляющие информацию наблюдателю (например, сдающему, персоналу казино и т.д.). Панель дисплея 516 может показывать любую информация, полезную для пользователей аппарата, и показывать такую информацию достаточно подробно, чтобы позволить передавать значительные объемы информации. Такая информация может включать в себя в качестве не ограничивающих примеров число карт, находящихся в аппарате, состояние любого процесса тасования или операций сдачи карт (например, число завершенных циклов тасования, информация об игроках (такое как число игроков при сдаче карт, число игроков, которым уже сданы карты, число карт у каждого игрока, положение игрока, которому были сданы карты и т.д.), секретная информация (например, идентификация заедания карт, местоположение заедания карт, расположение стопки карт, лишние карты в отсеке, недостаток карт в отсеке, несанкционированный ввод в аппарат и т.д.), подтверждающая информация (например, указание, что аппарат надлежащим образом соответствует устройству приема информации, такому как сеть или удаленный или расположенный в непосредственной близости микропроцессор), состояние включения-выключения, состояние самопроверки и любая другая информация, относящаяся к игре или работе аппарата, которая может оказаться полезной. Предпочтительно, чтобы дисплей и программа, управляющая дисплеем, обеспечивали графический дисплей, а не только буквенно-цифровой.
Кнопки 518 и 520 могут быть двухпозиционными кнопками или кнопками специальных функций (например, подъем подъемного устройства до положения подачи карт, управление последовательностью устранения заедания, запрос повторного тасования, проверка обеспечения надежности, запрос счета карт и т.д.) и т.п. Датчик 524 (например, оптический датчик, датчик давления, магнитный датчик, ультразвуковой датчик и т.д.) показан на платформе подъемного устройства 512 для регистрации наличия карт или других предметов на платформе подъемного устройства 512.
На Фиг.7 представлен вид сбоку в разрезе аппарата 600 в соответствии с отличительной особенностью данного изобретения, который можно сравнить с Фиг.2 для пояснения компонентов и некоторых изменений, возможных в пределах методики данного изобретения. Например, использование двух электродвигателей с ременным приводом 662 и 664 по сравнению с тремя, показанными на Фиг.2, позволяет укоротить аппарат 600 с электродвигателем 662, приводящим ремень 666, который приводит в движение три ролика 668, 669 и 670. Пара роликов 144 удалена из этого примера изобретения как избыточная. Ведущий ролик 166 на Фиг.2, который поднимает подъемное устройство 156, устранен за счет наличия приводного ремня подъемного устройства 672, приводимого в движение электродвигателем 674 и присоединенным шпинделем 676, который позиционирован с прямой центровкой с приводным ремнем 672 на Фиг.5 вместо двойного ременного соединения с прямым углом, показанного на Фиг.2. Кроме того, по мере того как ремень 672 перемещается достаточно далеко к дисплею карт (не показан) на платформе подъемного устройства 612, удлинение 614 давит на край 613 секции крышки 604, поднимая крышку 602. Аппарат 600 фактически предпочтительно конфигурирован с секциями 604 и 606, разделенными вдоль ячейки 680, так что они перемещаются независимо. За счет разделения секций 604 и 606 видны только считанные для подачи карты и доступ к ячейке 682, куда должны вкладываться неперетасованные приспособления для подъема секции крышки, соответствующей 606, так что нельзя легко получить доступ к неперетасованным картам.
На Фиг.7 степень движения электродвигателей 662, 664 и 674 предпочтительно значительно контролируется. Например, одним из методов обеспечения точного управления движением электродвигателя являются микрошаговые электродвигатели. Такие микрошаговые электродвигатели управляют точным перемещением, вызванным работой электродвигателя. Это особенно важно в электродвигателе 674, который приводит в движение платформу подъемного устройства 612, которая, в свою очередь, переносит карты (не показана) для разделения с последующим произвольным вкладыванием карт. При пошаговом исполнении перемещение карты можно легко контролировать с шагом меньше, чем толщина карты на один микрошаг. При таком управлении с перемещением не более 0,9 толщины карты предпочтительно перемещение карты меньше, чем 0,8 толщина карты, 0,5 толщины карты, 0,4 толщины карты, 1/3 толщины карты, 0,25 толщины карты, 0,20 толщины карты и даже перемещение меньше 0,05 толщины карты на один микрошаг, может быть обеспечена гораздо более высокая степень точности позиционирования платформы подъемного устройства 612, и вслед за этим могут быть поданы карты, что дополнительно гарантирует вложение карт именно туда, куда запросил микропроцессор. Распознающие элементы 684 могут быть позиционированы в пределах приспособления для отбора карт или захватного элемента 686 для анализа положения приспособления для отбора карт по отношению к разделенным картам, чтобы определить, правильно ли карты выровнены с приспособлением для отбора 686 и правильно разделены. Элементы 686 могут альтернативно представлять собой физически выступающие вспомогательные элементы, которые захватывают меньшие участки карт, такие как резиновые или эластомерные шишечки, пластмассовые выступы, металлические выпуклости и т.п. Датчики могут альтернативно быть размещены на других поверхностях, примыкающих к приспособлению для отбора карт 686, например, стенках 688 или 690 или других прилегающих стенках или элементах. Для повышения надежности и улучшения эксплуатационных характеристик предпочтительно использовать несколько датчиков, предпочтительно, чтобы эти датчики были разнесены относительно краев карты, и эти датчики (т.е., по меньшей мере, два датчика), которые позиционированы так, что можно регистрировать не только высоту, а также несовмещение или наклон, или изгиб карт в различных местах или положениях. Датчики могут действовать независимо от или вместе с действием микропроцессора/шагового электродвигателя/кодирующего устройства.
Микрошаговые электродвигатели также способствуют внутренним проверкам аппарата в отношении правильности положения. Например, кодирующее устройство может быть использовано для проверки точного положения подъемного устройства с точки зрения измеренного перемещения и расчета точного перемещения платформы подъемного устройства и, следовательно, карт. Кодирующее устройство позволяет оценивать положение платформы подъемного устройства посредством анализа и оценки информации, связанной, например, с числом импульсов/оборот шпинделя 676 на электродвигателе 674, которое могут быть больше 100 импульсов/оборот, больше 250 импульсов/оборот, больше 360 импульсов/оборот, больше 500 или больше 750 импульсов/оборот, и, в предпочтительных вариантах, больше 1000 импульсов/оборот, больше 1200 импульсов на один оборот, или равно или больше 1440 импульсов/оборот. Работающий микропроцессор приводит в движение электродвигатель, кодирующее устройство считывает степень перемещения управляемого электродвигателем, а затем определяет фактическое положение платформы подъемного устройства или промежуток (например, выше на четыре карты) относительно платформы подъемного устройства. Датчики не обязательно используются для определения правильного положения, исходно откалиброванного перемещения и распознавания положения на платформе, или в качестве проверки надежности.
Дополнительным усовершенствованием конструкции по отношению к устройству по Фиг.1 и Фиг.6 и 7 является устранение ступенчатой ячейки в конструкции устройства по Фиг.1. После того как карта (не показана) на Фиг.1 проходит от роликов 140 к роликам 144, но до того, как она проходит к роликам 146, карта должна быть удержана или останавливаться роликами 144. Этого можно избежать посредством конструкции роликов, показанной на Фиг.6 и 7, с перемещением карты, синхронизованным с перемещением платформы подъемного устройства и разделением карт приспособлением для отбора карт.
Устройство 500, показанное на Фиг.6, также предусмотрено с внешней кромкой 528, выступающей вокруг верхнего края верхней поверхности, который может быть использован для присоединения и опоры аппарата 500 на стол или опоры аппарата 500, таким образом, чтобы поверхность 517 была относительно параллельна поверхности стола или поверхности, на которую он опирается.
Использование устройства для тасования карт, механизм тасования которого полностью скрыт под поверхностью игорного стола, потенциально ставит вопрос надежности перед казино. В случае неисправности системы сдающий может не знать, что последовательность тасования нарушена, так как нет способов увидеть процесс тасования, и во избежание случаев, когда световые индикаторы дисплея неисправны и неправильно показывают, что последовательность тасования завершена, был предусмотрен дополнительный уровень надежности для аппарата для тасования карт по настоящему изобретению. В соответствии с данным изобретением число карт, которые должны быть перемешаны, и порядок вкладывания каждой карты в отделение для рандомизации или тасования карт, заранее определен генератором случайных чисел и микропроцессором. Путем добавления кодирующего устройства к электродвигателю или электродвигателям, управляющим подъемным устройством, и путем распознавания наличия групп поднятых карт блок микропроцессора позволяет сравнить данные, представляющие команды и результирующее перемещение для проверки того, что тасование произошло. В отсутствие этой проверки аппарат для тасования карт может послать сигнал на дисплей для указания неправильной сдачи карт на центральный компьютер для уведомления управления о неправильной сдаче, на компьютер игорного стола, если такой имеется с дисплеем выходного сигнала, для уведомления сдающего о неправильной сдаче, на скрытый центральный компьютер, который уведомляет службу охраны, в центральную систему для вызова технического обслуживания или выполнить несколько из указанных выше действий.
Такая система называется системой “с замкнутым контуром”, поскольку блок микропроцессора генерирует команды, а затем принимает сигналы системы, подтверждающие, что эти команды были правильно выполнены.
Хотя панель управления и дисплей сдающего в приведенных выше примерах по настоящему изобретению расположены на аппарате для тасования карт, данное изобретение подразумевает контролируемое пользователем дистанционное управление, такое как ножная педаль, инфракрасное дистанционное управление, ввод команд с удаленной клавиатуры в скрытый компьютер или другое устройство, инициированное сдающим посредством управления. В отличие от аппарата для тасования карт, приводимого в действие программным обеспечением с компьютера игорного стола, скрытым компьютером или системой центрального компьютера, аппарат для тасования карт по настоящему изобретению управляется оператором с использованием дистанционного оборудования, такого как описанное выше.
Хотя система рандомизации описана, как вертикально расположенная стопка карт с приспособлениями для захвата части карт и опускания остальных карт для создания двух раздельных подгрупп с целью образования точки вкладывания карты, данное изобретение предусматривает использование аппарат для тасования карт с ячейкой для сбора карт карусельного типа. Захватные пластины в этом примере изобретения захватывают часть карт, которые расположены горизонтально, и ячейка для сбора карт поворачивается, чтобы создать точку вкладывания для следующей карты. Карты выталкиваются под одной за один раз или группами в ячейку для сбора карт.
Приведенный на Фиг.8 аппарат представляет собой вид в перспективе аппарата для тасования карт 600 по настоящему изобретении, который смонтирован на опорной пластине аппарата для тасования карт 602 над игорным столом (не показан), который можно или нельзя модифицировать для размещения опорной пластины 602.
В этом примере изобретения карты загружаются в подающий лоток 606. В одном примере изобретения (не показан) нижняя поверхность подающего лотка практически горизонтальна и предусмотрена такой, что карты можно загрузить в верхнюю часть 608 аппарата для тасования карт, а затем опустить ниже поверхности игорного стола для рандомизации.
Подающее подъемное устройство может быть снабжено опорой для карт аналогично опоре, окружающей подающий лоток 612, который в предпочтительном варианте имеет две вертикальные опоры, а две боковые стенки остаются открытыми. Карты могут быть загружены в подающий лоток 606 и в опору для карт (не показана) и опущены автоматически при нажатии сдающим сверху вниз на стопку карт или по сигналу, полученному от панели управления сдающего (не показана).
В этом примере изобретения станция загрузки позиционирована около игорной поверхности (например, стола казино) и со стороны сдающего, что позволяет использовать аппарат без необходимости вытягиваться или лишнего физического перемещения со стороны сдающего. Загрузка и выгрузка больших стопок карт с верха аппарата, который смонтирован таким образом для устранения подъема, вытягивания или перехода на большое расстояние, соответствует ощущавшейся в этой сфере длительной потребности в более эргономичном удобном аппарате для тасования карт.
Подъемное устройство выгружающего лотка во втором описанном варианте также включает в себя двухсторонний вертикальный элемент 612 для поддержания группы расположенных в случайном порядке карт по мере подъема карт на верхнюю поверхность 608 аппарата для тасования карт. Следует понимать, что вертикальные опоры предпочтительно закреплены на платформе подъемного устройства, но могут также быть закреплены на раме и присоединены таким образом, чтобы подниматься при необходимости.
Описан метод обращения с картами, включая вставку карт в подающий карты лоток, подачу карт в аппарат для рандомизации карт, захват расположенных в случайном порядке карт опорой и подъем карт и опоры на верхнюю поверхность аппарата для тасования карт. Метод может включать в себя предусмотренную отводимую опору для извлечения перетасованных карт, вставку перетасованных карт в опору, в то время когда она находится под верхней поверхностью этого устройства и перемещение опоры для предоставления карт и отведение опоры и до, и после изъятия карт. Лоток для подачи карт может также быть позиционирован на подъемном устройстве, обеспечивающем опускание группы карт в аппарат до тасования. Когда используется второе подъемное устройство, предпочтительно предусмотреть отводимую опору для поддержания карт по мере их опускания для тасования.
Метод предпочтительно включает в себя обеспечение двух раздельных опор, которые поддерживают вертикально сложенные группы карт на, по меньшей мере, двух поверхностях, и, предпочтительно, на трех. Опора может представлять собой твердый закрытый с трех сторон ящичек, может состоять из трех вертикально расположенных стенок, двух параллельных пластин и двух угловых крюков для фиксации углов или любых других элементов конструкции, которые удерживают стопку выровненной вертикально, или другую подходящую опору. Этот элемент может быть зафиксирован на верхней поверхности аппарат для тасования карт, может быть зафиксирован на подъемных устройствах или может быть зафиксирован на раме аппарата для тасования карт и сконструирован для “подъема”, когда это необходимо для загрузки и выгрузки карт. Пластины крышки, например подвешенные на петлях или поворотные пластины, могут быть предусмотрены над двумя подъемньми устройствами для обеспечения дополнительной крышки (например, крышки от пыли и крышки от зрителей) над источником карт и ячейкой для сбора карт для гарантии того, что можно сократить визуальное наблюдение за процедурой тасования, и можно сократить ввод посторонних материалов. Пластины крышек должны быть достаточно легкими для этой системы, чтобы автоматически поднимать крышки или чтобы облегчить сдающему подъем крышек вручную. Сами карты могут поднимать пластины крышек, или стойка или элемент может быть позиционирован впереди на подъемном устройстве или присоединенных опорах или перемещаться совместно с подъемным устройством для надавливания на внутреннюю поверхность пластин крышки для подъема пластин до соприкосновения с картами.
Раскрытые здесь и заявленные аппарат, устройства и методы могут быть созданы и выполнены без лишних экспериментов в свете настоящего раскрытия. В то время как аппарат, устройства и методы данного изобретения описаны с точки зрения и общих описаний, и предпочтительных вариантов, для специалистов в этой области очевидно, что в аппарат, устройства и методы, описанные здесь, могут быть внесены изменения без ухода от концепции и объема данного изобретения. В частности, очевидно, что некоторые элементы, компоненты, этапы и последовательности, которые функционально связаны с предпочтительными вариантами, могут быть заменены на элементы, компоненты, этапы и последовательности, описанные и/или заявленные здесь, хотя должны быть получены те же аналогичные результаты. Все такие аналогичные замены и модификации, явные для специалистов, по-видимому, находятся в пределах области применения и существа изобретения, как это определено прилагаемой формулой изобретения.
Хотя было представлено описание предпочтительных вариантов, различные изменения, включая упомянутые выше, могут быть внесены без отклонения от существа настоящего изобретения. Следовательно, желательно ссылаться на прилагаемую формулу изобретения, а не на предшествующее описание для указания объема изобретения.
Формула изобретения
1. Устройство для тасования игральных карт, включающее в себя ячейку для приема карт для приема исходного набора карт, ячейку для укладывания карт в стопку для приема карт из ячейки для приема карт, систему для перемещения карт для перемещения карт из ячейки для приема карт в ячейку для укладывания карт в стопку, подъемное устройство в ячейке для укладывания карт в стопку с подвижной платформой для перемещения стопки карт, поверхность для сбора карт на подвижной платформе в подъемном устройстве, процессор, связанный с этим устройством, электродвигатель для перемещения платформы в подъемном устройстве, по меньшей мере, один датчик для регистрации, по меньшей мере, одного: а) положения платформы, b) высоты платформы, с) положения карты в подъемном устройстве, d) высоты карты или карт в подъемном устройстве, е) давления, прикладываемого к карте в подъемном устройстве, е) наличия платформы на заранее определенной высоте, f) наличия платформы в заранее определенном положении, g) наличия карт(ы) на платформе и h) отсутствия карт(ы) на платформе, и процессор, готовый для управления устройством для автоматической калибровки этого устройства, использующего, как указано, по меньшей мере, один датчик, чтобы обеспечить точное обращение устройства с картами.
2. Устройство по п.1, дополнительно включающее в себя подвешивающий элемент для подвешивания, по меньшей мере, одной карты в ячейке для укладывания карт в стопку, в котором подвешивающий элемент представляет собой пару захватов и в котором захваты находятся в ячейке для укладывания карт в стопку для поддержки карт.
3. Устройство по п.1, в котором устройства для вставки карт могут вставить отдельные карты в отделение для укладывания карт в стопку.
4. Устройство по п.1, в котором имеется устройство для вставки карт, которое может разделить стопку карт в отделении для укладывания карт в стопку на два сегмента.
5. Устройство по п.2, в котором захваты могут разделить стопку карт в отделении для укладывания карт в стопку на два сегмента карт.
6. Устройство по п.5, в котором программа управляет устройством для выполнения, по меньшей мере, следующих шагов: а) перемещение платформы из основного положения ниже точки для вставки карт в положение выше точки вставки карт и регистрация обоих положений платформы в микропроцессоре, b) перемещение заранее определенного числа карт из ячейки для приема карт в отделение для укладывания карт в стопку, с) перемещение, по меньшей мере, одного захвата для захвата, по меньшей мере, одной карты в отделении для укладывания карт в стопку.
7. Устройство по п.6, в котором программа управляет устройством для перемещения, по меньшей мере, одного захвата на первое расстояние для захвата карт в отделении для укладывания карт в стопку, когда эти карты находятся на платформе в первом положении для захвата, по меньшей мере, несколько перемещаются, по меньшей мере, одним захватом, находящимся на другом расстоянии по сравнению с предыдущим перемещением, причем перемещение, по меньшей мере, одного захвата продолжается, по меньшей мере, пока не будет достигнута заранее определенная степень контакта между, по меньшей мере, одним захватом и картой(ами) в отделении для укладывания карт в стопку.
8. Устройство по п.7, в котором программа управляет двумя противоположно расположенными захватами для захвата карт в отделении для укладывания карт в стопку и перемещение двух захватов продолжается, пока не будет достигнута заранее определенная степень контакта между двумя противоположно расположенными захватами и картой(ами) в отделении для удержания карт.
9. Устройство по п.7, в котором после достижения заранее определенной степени контакта выполняется другая серия шагов, при которых карта(ы) на платформе опускаются ниже первого положения для захвата, а затем поднимаются во второе положение для захвата, в котором платформа опускается ниже, чем она была в первом положения для захвата, и датчик захвата идентифицирует, была ли, по меньшей мере, одна карта захвачена во втором положении для захвата.
10. Устройство по п.9, в котором программа управляет устройством так, что платформа опускается из второго положения для захвата в первое последующее положение, в котором платформа находится ниже, чем была высота платформы во втором положении.
11. Устройство по п.10, в котором программа управляет устройством так, что после захвата карт в первом последующем положении карты, поддерживаемые захватом, будут отпущены захватом и лягут на платформу, платформа и поддерживаемые ей карты опускаются, платформа и поддерживаемые ей карты поднимается во второе последующее положение, в котором платформа расположена ниже, чем высота платформы в первом последующем положении, и захваты перемещаются для захвата карт в ячейке для укладывания карт в стопку, в то время как платформа находится во втором последующем положении.
12. Устройство для формирования произвольного набора игральных карт, включающее в себя верхнюю поверхность и нижнюю поверхность указанного устройства, ячейку для приема карт для приема исходного набора игральных карт, процессор, коммуникативно связанный с этим устройством, рандомизирующую систему для рандомизации исходного набора игральных карт, поверхность для сбора карт в ячейке для сбора карт для приема сложенных в случайном порядке игральных карт, поверхность для сбора, принимающая карты, так, что все карты будут приняты ниже верхней поверхности этого устройства, подъемное устройство для подъема поверхности для сбора карт, так что, по меньшей мере, некоторые сложенные в случайном порядке карты будут подняты, по меньшей мере, до верхней поверхности этого устройства, по меньшей мере, один датчик для регистрации по меньшей мере, одного из следующего: а) положения платформы, b) высоты платформы, с) положения карты в подъемном устройстве, d) высоты карты или карт в подъемном устройстве, е) давления, прикладываемого к карте в подъемном устройстве, е) наличия платформы на заранее определенной высоте, f) наличия платформы в заранее определенном положении, g) наличия карт(ы) на платформе и h) отсутствия карт(ы) на платформе, и процессор для управления устройством для автоматической калибровки этого устройства, использующего, как указано, по меньшей мере, один датчик, чтобы обеспечить точное обращение устройства с картами.
13. Устройство по п.12, в котором подъемное устройство поднимает все сложенные в случайном порядке карты ниже верхней поверхности этого устройства.
14. Устройство по п.12, в котором ограничивающий набор стенок ограничивает все сложенные в случайном порядке карты вдоль, по меньшей мере, двух сторон игральных карт после подъема сложенных в случайном порядке карт.
15. Устройство по п.12, в котором, по меньшей мере, один захватный ролик вынимает карты по одной за раз из ячейки для приема карт и перемещает карты по одной за раз в рандомизирующую систему.
16. Устройство по п.15, в котором процессор управляет движением захватного ролика и, по меньшей мере, пары роликов, которые помогают переместить карты между ячейкой для приема карт и отделением для сбора карт.
17. Устройство по п.12, в котором рандомизирующая система перемещает одну карту за раз в ячейку, лежащую над поверхностью для сбора карт.
18. Устройство по п.12, в котором одна карта за раз позиционируется в сложенном случайным образом наборе игральных карт над поверхностью для сбора карт.
19. Устройство по п.12, в котором рандомизирующая поверхность может перемещаться в положение в пределах отделения для сбора карт, где поверхность для сбора ограничена с двух противоположных сторон двумя подвижными элементами для захвата карт.
20. Устройство по п.12, в котором поддерживающая карты поверхность перемещается посредством органа управления, который обеспечивает пошаговое перемещение по вертикали на расстояние, меньшее толщины игральной карты.
21. Устройство по п.20, в котором поддерживающая карты поверхность перемещается посредством органа управления, который обеспечивает пошаговое перемещение по вертикали на расстояние, меньшее половины толщины игральной карты.
22. Устройство по п.20, в котором орган управления представляет собой шаговый двигатель.
23. Устройство по п.20, в котором орган управления представляет собой аналоговую модель.
24. Устройство по п.12, в котором датчик для обнаружения карт находится внутри отделения для сбора карт, ниже верхней поверхности этого устройства, причем датчик для обнаружения карт регистрирует положение карты на поверхности для сбора относительно подъема карты внутри отделения для сбора карт.
25. Устройство по п.12, в котором процессор представляет собой микропроцессор и этот микропроцессор управляет вертикальным перемещением поддерживающей карты поверхности.
26. Устройство по п.25, в котором, по меньшей мере, один захватывающий карты элемент включает в себя, по меньшей мере, два захватных элемента, которые перемещаются от противоположных сторон отделения для сбора карт к игральным картам в ячейке для сбора карт.
27. Устройство по п.26, в котором микропроцессор запрограммирован на опускание поверхности для сбора карт внутри ячейки для сбора карт после соприкосновения, по меньшей мере, одного элемента для захвата карт и поддерживаемых карт в ячейке для сбора карт, тем самым создавая два сегмента карт.
28. Устройство по п.27, в котором микропроцессор управляет перемещением отдельной карты в поддерживающей карты ячейке между двумя сегментами карт.
29. Устройство по п.12, в котором процессор включает в себя микропроцессор, который контролируемо подключен к этому устройству, причем микропроцессор управляет движением перемещающих игральную карту элементов в этом устройстве и микропроцессор произвольным образом назначает возможные положения для каждой карты в исходном наборе игральных карт, а затем управляет этим устройством для перекладывания исходного набора игральных карт в эти произвольным образом назначенные возможные положения для образования окончательного набора игральных карт.
30. Устройство для формирования произвольного набора игральных карт, включающее в себя верхнюю поверхность и нижнюю поверхность указанного устройства, процессор, коммуникативно связанный с этим устройством, принимающую ячейку для исходного набора игральных карт, рандомизирующую систему исходного набора игральных карт, поверхность для сбора карт в ячейке для сбора карт для приема игральных карт, которые сложены случайным образом, подъемное устройство для подъема поверхности для сбора внутри ячейки для сбора карт, по меньшей мере, один поддерживающий карты элемент внутри ячейки для сбора карт, который должен поддерживать заранее определенное число карт в ячейке для сбора карт, точку ввода в ячейку для сбора карт, расположенную под указанным, по меньшей мере, одним поддерживающим карты элементом, по меньшей мере, один датчик для регистрации, по меньшей мере, одного из следующего: а) положения платформы, b) высоты платформы, с) положения карты в подъемном устройстве, d) высоты карты или карт в подъемном устройстве, е) давления, прикладываемого к карте в подъемном устройстве, е) наличия платформы на заранее определенной высоте, f) наличия платформы в заранее определенном положении, g) наличия карт(ы) на платформе и h) отсутствия карт(ы) на платформе, и процессор, готовый для управления устройством для автоматической калибровки этого устройства, использующего, как указано, по меньшей мере, один датчик, чтобы обеспечить точное обращение устройства с картами.
31. Автоматическая система для тасования игральных карт, включающая в себя устройство для тасования карт, микропроцессор с памятью для управления действием, аппарат для тасования карт, коммуникативно связанный с устройством для тасования карт, загрузочное отделение для приема карт для рандомизации, механизм перемещения карт для перемещения карт по отдельности от загрузочного отделения в отделение для перемешивания карт, отделение для смешивания карт, включающее в себя множество, по существу, вертикально ориентированных опор, отверстие для прохождения карт от загрузочного отделения, подвижной нижней опорной поверхности для карт, по меньшей мере, одной стационарной захватной ручки, нижнего края, ближнего к этому отверстию, по меньшей мере, одной стационарной захватной ручки, обеспечивающей подвешивание карт над прорезью, подъемное устройство подъема и опускания подвижной поддерживающей карты поверхности, в котором положение подъемного устройства выбрано произвольным образом и поддерживающая поверхность перемещается в выбранное положение, и после того как, по меньшей мере, одна стационарная захватная ручка зафиксирует, по меньшей мере, одну сторону карт, подъемное устройство опускается, создавая пространство под, по меньшей мере, одной стационарной захватной ручкой, в котором карта перемещается от загрузочного отделения в это пространство, образуя тем самым случайным образом сложенную группу карт, по меньшей мере, один датчик для регистрации, по меньшей мере, одного из следующего: а) положения платформы, b) высоты платформы, с) положения карты в подъемном устройстве, d) высоты карты или карт в подъемном устройстве, е) давления, прикладываемого к карте в подъемном устройстве, е) наличия платформы на заранее определенной высоте, f) наличия платформы в заранее определенном положении, g) наличия карт(ы) на платформе и h) отсутствия карт(ы) на платформе, и микропроцессор для управления устройством для автоматической калибровки этого устройства, использующего, как указано, по меньшей мере, один датчик, чтобы обеспечить точное обращение устройства с картами.
32. Автоматический аппарат для тасования игральных карт, имеющий верхнюю поверхность и нижнюю поверхность, включающий в себя лоток для загрузки карт, смонтированный на верхней поверхности аппарата для тасования карт, микропроцессор, подъемное устройство для подъема и опускания стопки случайным образом сложенных карт в лоток для подачи перетасованных карт, смонтированный на верхней поверхности аппарата для тасования, в котором лоток для загрузки карт и лотки для подачи перетасованных карт расположены близко к месту подъема поверхности игорного стола, по меньшей мере, один датчик для регистрации по меньшей мере, одного из следующего: а) положения платформы, b) высоты платформы, с) положения карты в подъемном устройстве, d) высоты карты в подъемном устройстве, е) давления, прикладываемого к карте в подъемном устройстве, е) наличия платформы на заранее определенной высоте, f) наличия платформы в заранее определенном положении, g) наличия карт(ы) на платформе и h) отсутствия карт(ы) на платформе, и микропроцессор для управления устройством для автоматической калибровки этого устройства, использующего, как указано, по меньшей мере, один датчик, чтобы обеспечить точное обращение устройства с картами.
33. Устройство по п.32, в котором верхняя поверхность аппарата для тасования расположена почти встык с поверхностью игорного стола.
34. Устройство по п.33, в котором аппарат для тасования карт прикреплен посредством опорной скобы к игорному столу.
35. Устройство по п.32, в котором аппарат для тасования карт установлен в игорном столе и аппарат для тасования карт, по меньшей мере, частично окружен поверхностью игорного стола.
РИСУНКИ
|
|