|
|
(21), (22) Заявка: 2005130397/15, 26.03.2004
(24) Дата начала отсчета срока действия патента:
26.03.2004
(30) Конвенционный приоритет:
28.03.2003 EP 03007122.9
(43) Дата публикации заявки: 10.06.2006
(46) Опубликовано: 10.02.2008
(56) Список документов, цитированных в отчете о поиске:
ЕР 0628814 А, 14.12.1994. US 5872004 А, 16.02.1999. WO 9712637 А, 10.04.1997. US 4594223 А, 10.06.1986.
(85) Дата перевода заявки PCT на национальную фазу:
28.09.2005
(86) Заявка PCT:
EP 2004/003198 (26.03.2004)
(87) Публикация PCT:
WO 2004/084956 (07.10.2004)
Адрес для переписки:
129010, Москва, ул. Б. Спасская, 25, стр.3, ООО “Юридическая фирма Городисский и Партнеры”, пат.пов. Ю.Д.Кузнецову, рег.№ 595
|
(72) Автор(ы):
КАЙЗЕР Ульрих (DE)
(73) Патентообладатель(и):
КАЙЗЕР Ульрих (DE)
|
(54) ИСПЫТАТЕЛЬНОЕ ТЕЛО, В ЧАСТНОСТИ, ДЛЯ КОНТРОЛЯ ПРОНИКАЮЩИХ СВОЙСТВ СТЕРИЛИЗУЮЩЕГО СРЕДСТВА В СТЕРИЛИЗАЦИОННЫХ ПРОЦЕССАХ
(57) Реферат:
Изобретение может быть использовано для моделирования комплексных или трудно доступных для стерилизующего средства инструментов при контроле стерилизационных процессов. Испытательное тело (1) имеет предусмотренный для размещения индикатора (26) детекторный объем (24), который может быть связан через газосборное пространство (4) со стерилизационной камерой, причем газосборное пространство (4) выполнено многоступенчатым, а сечение и объем каждой ступени (12, 14, 16) уменьшаются в направлении детекторного объема (24). Технический результат – повышение чувствительности измерений, создание компактной конструкции. 9 з.п. ф-лы, 5 ил.
Изобретение относится к испытательному телу, в частности для контроля проникающих свойств стерилизующего средства, у которого предусмотренный для размещения индикатора детекторный объем может быть связан через газосборное пространство со стерилизационной камерой. Оно относится также к применению подобного испытательного тела. Подобные испытательные тела известны, например, из ЕР 0628814 А1 или ЕР 1172117 А2.
При асептических применениях, таких как операции в больницах, использование стерильных инструментов или материалов является обязательным требованием. При необходимой для этого стерилизации обычно стерилизующую среду, например пар, формальдегид, оксид этилена, пероксид водорода и/или озон, наносят из газовой фазы на поверхность стерилизуемого инструмента, чтобы обеспечить полное уничтожение имеющихся микроорганизмов. Для этой цели обычно используются стерилизаторы со стерилизационными камерами, в которые помещают стерилизуемые инструменты или материалы, как правило, в упакованном виде. Для собственно стерилизации стерилизационную камеру продувают газообразным стерилизующим средством, называемым также стерилизующий агент, причем предварительно должно быть обеспечено удаление воздушной атмосферы. Стерилизующее средство должно контактировать с поверхностями стерилизуемых инструментов или материалов, в результате чего происходит уничтожение микроорганизмов.
Поскольку полная стерилизация объектов во всех местах гарантирована только тогда, когда стерилизующее средство достигает также всех внутренних поверхностей, например пористых объектов или полых тел, в начале стерилизационного процесса следует обеспечить удаление находящегося внутри объектов и внутри стерилизационной камеры воздуха посредством подходящего способа удаления воздуха. Затем стерилизационную камеру продувают стерилизующим средством, чтобы внутри стерилизационной камеры стерилизующее средство достигло всех поверхностей инструментов. Это возможно только тогда, когда обеспечено полное проникновение стерилизующего средства ко всем поверхностям.
Проблемой у подобных стерилизационных мероприятий оказалась, однако, комплексность строения медицинских инструментов. Именно у медицинских инструментов все шире применяются приспособления, в которых используются трубки или шланги относительно большой длины и сравнительно малого свободного сечения, что затрудняет надежное смачивание стерилизующим средством всех внутренних поверхностей, если там находятся другие газы. Кроме того, может потребоваться стерилизация материалов или инструментов с комплексной внутренней поверхностью, например текстильных пакетов. В таких случаях имеющиеся, возможно, скопления остаточного воздуха или других неконденсируемых газов могут полностью или частично воспрепятствовать сплошному контакту требующей обработки поверхности. Полная стерилизация, напротив, гарантирована только тогда, когда находящийся внутри объектов воздух в начале стерилизационных мероприятий полностью удален, на фазе вакуумирования никакой воздух не проникает через неплотности и/или никакие неконденсируемые газы не заносятся в стерилизационную камеру со стерилизующим средством, с тем чтобы оно попало на все требующие обработки поверхности.
Поскольку к тому же стерильность инструментов перед их использованием нельзя проверить непосредственно, при запуске стерилизационных процессов необходимо подтверждение, а во время стерилизационного процесса необходим текущий контроль. Для этого используются детекторы, которые должны подтвердить успех стерилизации. Например, могут использоваться хемоиндикаторы, которые в случае смачивания их поверхности стерилизующим средством, например паром, изменяют свой цвет, так что можно непосредственно обнаружить, что в месте расположения хемоиндикатора действительно произошел контакт. В качестве альтернативы или дополнительно могут использоваться также биоиндикаторы, применяемые в виде полосок, суспензий или саморазвивающихся культур микроорганизмов или смесей различных культур микроорганизмов, у которых после осуществления стерилизационных мероприятий проверяют, полностью ли были инактивированы все микроорганизмы.
При использовании подобных индикаторов проверяют, произошло ли в фактическом месте использования индикатора внутри стерилизационной камеры активное смачивание поверхности индикатора стерилизующим средством. При использовании этих индикаторов, однако, непосредственное подтверждение успеха стерилизации также на сравнительно недоступных внутренних поверхностях комплексных инструментов невозможно, поскольку их нельзя разместить в критических местах. Поэтому заодно с требующими обработки объектами стерилизуют системы испытательных тел, посредством которых определяют успех стерилизации. Например, для стерилизационных мероприятий текстиля или других материалов Боуи и Дик указывали стандартный тест (Bowie, I.W., е.а., The Bowie + Dick autoclave tape test, Lancet 1, 1963, стр.585-587), при котором в бельевом пакете массой 6,6 кг по центру размещали хемоиндикаторный лист размером DIN A4. Однако этот стандартный тест из-за качества белья, истории белья и индивидуальности упаковки является невоспроизводимым и имеет иные проникающие свойства, нежели полые тела.
В качестве альтернативы могут использоваться так называемые испытательные тела или системы испытательных тел. У подобной системы испытательных тел, как она описана, например, в ЕР 0628814 А1 или EN 867-5, недоступную внутреннюю поверхность комплексных инструментов имитируют посредством подходящей модели, с помощью которой успех процессов проникновения можно проверить аналогичным образом также для комплексных инструментов.
У этих известных систем испытательных тел, называемых также устройствами испытания процесса (“Process Challenge Device” (PCD)), детектор, выполненный подходящим образом для подтверждения произошедшего контакта со стерилизующим средством, со стороны входа газа соединен с выбранным подходящим по своей длине, удерживаемым открытым на своем впускном конце шлангом. Система полых тел имитирует при этом поведение аналогично выполненных инструментов, предназначенных для стерилизации, причем, в частности, при чередующемся обмене сред по типу фракционированного вакуума и/или при конденсации пара еще имеющийся, возможно, остаточный воздух или другие неконденсируемые газы концентрируются на конце шланга и, тем самым, в зоне детектора. Шланг действует, тем самым, в качестве газосборного пространства для остаточного воздуха или других неконденсируемых газов, причем детектор связан через это газосборное пространство со стерилизационной камерой.
В случае если при использовании такой системы констатируется контакт расположенного на конце шланга детектора со стерилизующим средством, можно исходить из того, что при необходимости с учетом выбранной подходящим образом дополнительной надежности в отношении проникающих свойств в стерилизуемых инструментах даже в самых недоступных местах их внутренней поверхности произошел контакт со стерилизующим средством. Подобная шланговая модель в качестве испытательного тела, которое может размещать в качестве детектора, например, био- или хемоиндикаторы, предусмотрена также в евронорме EN 867-5 при контроле стерилизационных процессов. У еще более комплексных стерилизуемых объектов могут использоваться подходящим образом согласованные по своим размерам испытательные тела иной конструкции, как это описано, например, в евронормах EN 285, EN 1422 или EN 867-5.
Использование подобных испытательных тел позволяет также применять в определенных краевых условиях физические методы измерений. Например, из ЕР 1172117 А2 известна испытательная система для стерилизационных мероприятий с испытательным телом, у которой в качестве подтверждения произошедшего смачивания внутренней поверхности стерилизующим средством измеряют локальное изменение температуры, связанное с локальной конденсацией пара в контролируемом месте. Использованное в этой системе испытательное тело вследствие этого выполнено особенно подходящим в отношении его теплопроводящих свойств.
Однако достигаемая точность измерений этих систем является ограниченной. В частности, при моделировании сравнительно комплексных или трудно доступных для стерилизующего средства инструментов требуемая чувствительность измерений может быть достигнута, если вообще может быть достигнута, за счет использования выполненного сравнительно объемным газосборного пространства. При применении шлангового материала для образования газосборного пространства могут возникнуть теплопереходы через стенку шланга, искажающие результат, если в качестве детекторов используются термоэлектрические измерения.
В основе изобретения лежит поэтому задача создания испытательного тела описанного выше рода, с помощью которого при компактной конструкции достигалась бы особенная высокая чувствительность измерений.
Эта задача решается за счет того, что газосборное пространство выполнено многоступенчатым, причем сечение и объем каждой ступени уменьшаются в направлении детектора.
Изобретение исходит при этом из того факта, что у обычных испытательных тел высокая чувствительность измерений может быть достигнута только с соответственно длинным газосборным пространством и, тем самым, как раз исключая компактность. Далее недостаток в том, что при длинных тонких шлангах может произойти конденсация пара во время паровых стерилизационных процессов. Поэтому для компактной конструкции с использованием обычных в остальном индикаторов, таких как, например, физические методы, био- и хемоиндикаторы, газоподвод к детекторному объему должен быть выполнен с возможностью отделения остаточного воздуха или других неконденсируемых газов в стерилизующем средстве за счет использования больших объемов, а затем подвода к детектору через уменьшение сечения. Подобное усиление может быть достигнуто за счет целенаправленной концентрации остатков воздуха или газа в области притока к детекторному объему. Для этого газосборное пространство испытательного тела выполнено, по меньшей мере, двухступенчатым, при необходимости, однако, также многоступенчатым, причем ступени отличаются друг от друга в отношении своего размера, т.е., в частности, в отношении своего объема и/или сечения. Непосредственно соседняя с детекторным объемом ступень может при этом служить для имитации доступности соответственно особенно недоступных внутренних поверхностей требующего обработки инструмента. Концентрации остаточного воздуха на этой ступени и, тем самым, непосредственно по соседству с детекторным объемом способствуют при этом высокой чувствительности за счет других, направленных к стерилизационной камере ступеней газосборного пространства, которые служат конденсационной зоной для выборочной конденсации стерилизующего средства, если используются паровые стерилизационные процессы.
Для особенно высокой эффективности выборочной концентрации еще имеющегося остаточного воздуха на предусмотренных для этого ступенях газосборного пространства и, тем самым, особенно высокой точности подтверждения, сечение между соседними ступенями уменьшается предпочтительно в направлении детекторного объема, по меньшей мере, на 50%, преимущественно более чем на 75%. Таким образом, возникает путь газового потока в испытательное тело, у которого первое проточное пространство сравнительно больших объема и сечения связано с внутренним пространством стерилизационной камеры, причем объем и сечение второго проточного пространства уменьшаются в направлении детектора. В другом предпочтительном варианте осуществления изобретения объем ступени в направлении детектора поддерживают меньшим, чем объем ступени в направлении стерилизационной камеры. Расположенный перед детектором внутри испытательного тела проточный канал для газа соответствует, тем самым, расположению друг за другом со стороны газового потока одного широкого и одного узкого отрезков канала.
Для особенно высокой точности подтверждения детектор в газосборном пространстве предпочтительно выполнен таким образом, что присутствие даже незначительных количеств остаточного воздуха препятствовало бы обработке стерилизующим средством. Поскольку, в частности, в режиме работы с чередующимися средами вследствие газообмена оставшиеся количества остаточного воздуха скапливаются в конце зондового канала, детектор необходимым образом расположен в зоне у противоположного устью конца газосборного пространства.
Испытательное тело в отношении размера своих основных компонентов может быть согласовано с заданными стандартными испытательными методами или с реальными, требующими обработки объектами. Для этой цели сечение непосредственно соседней с детекторным объемом ступени газосборного пространства составляет предпочтительным образом около 1-200 мм2, причем газосборное пространство на этой ступени в другом или альтернативном предпочтительном выполнении имеет длину канала, по меньшей мере, 10 см, преимущественно 30-100 см. Ступени газосборного пространства могут иметь при этом подходящую форму сечения, в частности круглое или угловое сечение, и образованы соответственно металлической или пластиковой трубкой или емкостью, так что по сравнению со шлангами достигаются высокие прочность и стойкость.
Особенно компактная конструкция может быть достигнута за счет расположения первой ступени газосборного пространства, в основном, внутри второй ступени газосборного пространства. Вторая ступень газосборного пространства в другом предпочтительном варианте выполнена при этом в виде охватывающего первую ступень внешнего корпуса, так что непосредственно соседняя с детекторным объемом ступень газосборного пространства проходит внутри внешнего корпуса. Внешний корпус может быть выполнен при этом в виде произвольной полости, которая для связи со стерилизационной камерой со стороны газа снабжена подходящим образом расположенными сквозными отверстиями.
В альтернативном предпочтительном выполнении компактная конструкция может быть достигнута также за счет того, что первая ступень газосборного пространства предпочтительным образом обведена вокруг внешнего корпуса или введена во внешний корпус, образующий другую ступень газосборного пространства, причем первая ступень, в частности, спиралеобразно, может быть намотана на внешний корпус или во внешнем корпусе.
В остальном газосборное пространство в отношении проточной характеристики может быть согласовано в своей внутренней части с другими заданными параметрами. Для этого газосборное пространство целесообразно, по меньшей мере, на одной ступени заполнено пористым материалом, причем в качестве пористого материала может быть выбрана, в частности, целлюлозная вата, хлопок, стекловата, минеральная или металлическая вата. Пористый материал расположен при этом, в частности, предпочтительно внутри выполненной в виде внешнего корпуса ступени газосборного пространства для поддержания конвекции в газосборном пространстве на как можно более низком уровне и во избежание обратного перемешивания.
Предпочтительным образом также детектор испытательного тела сам по себе уже выполнен для особенно высокой точности подтверждения. Для этого детектор содержит индикатор, расположенный в детекторном объеме, связанном со стороны газа с зондовым каналом. Детекторный объем выдержан при этом преимущественно особенно малым и в значительной степени согласован с занимаемым собственно индикатором объемом. Детекторный объем выбран при этом менее 500 мкл, предпочтительно менее 250 мкл, так что при использовании обычного хемо- или биоиндикатора с бумагой в качестве основы, занимающего объем 100-250 мкл, почти половина детекторного объема заполнена собственно индикатором. При этом преимущественно ступени газосборного пространства и детектор выполнены из металла или пластика или металлопластикового соединения с соответственно согласованными разными толщинами стенки.
В качестве детектора может использоваться система для определения физических параметров, например датчик влажности, температуры, давления и/или ультразвуковой датчик, который находится в стерилизационной камере и который при необходимости может быть выполнен также в виде так называемого регистратора данных для беспроводной передачи снятых данных. Также могут использоваться, например, твердые тела, такие как соли, которые в присутствии стерилизующего средства физически изменяются, т.е., например, изменяют свою температуру плавления или цвет. Предпочтительным образом в качестве индикатора предусмотрен, однако, хемоиндикатор, который при контакте с используемым стерилизующим средством изменяет свой цвет, или биоиндикатор, например в виде индикаторных полосок и/или саморазвивающихся биоиндикаторов.
Испытательное тело особенно пригодно для контроля стерилизационных процессов с газообразным стерилизующим средством, например низкотемпературных паровых, формальдегидных, этиленоксидных, пероксидводородных или озоновых стерилизационных процессов. На основе специфических проточных свойств, достигнутых за счет расположения друг за другом со стороны газа нескольких ступеней газосборного пространства перед детектором и создания конденсационной зоны для специфической конденсации стерилизующего средства, испытательное тело пригодно также в особой степени для использования в способе стерилизации, при котором в качестве стерилизующего средства применяют пар. Предпочтительным образом испытательное тело используют для контроля паровых стерилизационных процессов. В принципе, для стерилизационной камеры можно использовать при этом любые варианты воздухоудаления. При этом испытательное тело во время процесса показывает, какие свойства проникновения пара имеет процесс.
Достигаемые изобретением преимущества состоят, в частности, в том, что за счет расположения друг за другом со стороны газа нескольких ступеней газосборного пространства разной величины, в частности при применении пара в качестве стерилизующего средства, создается конденсационная зона для выборочной локальной конденсации стерилизующего средства, которая приводит к локальной концентрации остаточного воздуха и/или неконденсируемых газов в зоне соседней с детекторным объемом ступени газосборного пространства. Этим, в частности, даже при чередующемся вакуумировании и новой обработке паром по типу интегрирующей системы обеспечена оценка накопленных количеств остаточного воздуха и/или неконденсируемых газов, которая гарантирует усиливающее действие при детектировании. Остаточный воздух остается, тем самым, даже при уменьшении давления в стерилизационной камере в зоне устья газосборного пространства без ухудшения этого возникающими в стерилизационной камере конвективными или иными течениями. При повторной подаче пара в стерилизационную камеру содержащийся в газосборном пространстве остаточный воздух, если таковой имеется, снова вдавливается в непосредственно соседнюю с детектором ступень и попадает там, в частности, в зону непосредственно вблизи детектора. Таким образом, даже особенно малые количества остаточного воздуха еще целенаправленно вводятся в зону подтверждения детектора, так что чувствительность подтверждения относительно имеющегося остаточного воздуха особенно высока. Смачивание имеющегося в детекторе индикатора стерилизующим средством происходит, тем самым, только тогда, когда также во всех других, сравнительно комплексных полых телах происходит надежная стерилизация.
За счет достигаемого этим усиливающего эффекта высокая чувствительность подтверждения может быть гарантирована также при компактной конструкции, причем к тому же возможно применение особенно прочных и стойких к старению материалов для газосборного пространства. Достигаемый усиливающий эффект при этом настолько высок, что при компактной конструкции можно надежно имитировать даже лишь с очень большим трудом подвергаемые проникновению инструменты, например троакары, атроскопические инструменты или многоканальные эндоскопы. За счет многоступенчатого выполнения имеются, кроме того, несколько степеней свободы для имитации реальных инструментов, так что могут хорошо моделироваться также пористые или полые конструкции.
Пример осуществления изобретения более подробно поясняется с помощью чертежей, на которых изображают:
– фиг.1: конструктивная схема испытательного тела;
– фиг.2-5: испытательное тело для контроля проникающих свойств стерилизующего средства.
Одинаковые детали обозначены на всех фигурах одинаковыми ссылочными позициями.
Испытательное тело 1 с изображенной на фиг.1 конструктивной схемой рассчитано на контроль проникающих свойств стерилизующего средства. Полученные при использовании испытательного тела 1 знания могут быть привлечены, в частности, для подтверждения или контроля стерилизационных мероприятий в процессе паровой стерилизации. При подобной паровой стерилизации стерилизуемые инструменты или материалы помещают в стерилизационную камеру (не показана). Для стерилизации из стерилизационной камеры сначала удаляют воздух. Процесс удаления воздуха может происходить посредством способов течения, циклов воздухоудаления при повышенном или пониженном давлении или их комбинаций.
Для того чтобы при подобном, основанном на фракционированном вакууме способе удаления воздуха можно было подтвердить, что у стерилизуемых инструментов и материалов все внутренние поверхности действительно были смочены стерилизующим средством и, тем самым, произошло требуемое полное проникновение, испытательное тело 1 помещают в стерилизационную камеру, например, для подтверждения стерилизационных мероприятий при их запуске или при текущем контроле во время стерилизационного процесса. Испытательное тело 1 содержит детектор 2, рассчитанный на целенаправленное подтверждение того, что смачивание стерилизующим средством действительно произошло.
Испытательное тело 1 предназначено для подходящей имитации надлежащего смачивания также сравнительно труднодоступных внутренних поверхностей инструментов или материалов. Для этого перед детектором 2 расположено газосборное пространство 4, конечное устье 6 которого поддерживается открытым, так что детектор 2, как это показано двойной стрелкой 8, связан через газосборное пространство 4 со стороны газа со стерилизационной камерой. Испытательное тело 1 выполнено при этом для особенно компактной конструкции при одновременно особенно высокой чувствительности подтверждения в отношении проникающих свойств моделируемых инструментов или объектов. Для этого газосборное пространство 4 выполнено многоступенчатым, причем в примере выполнения непосредственно соседняя с детектором 2 первая ступень 12 со стороны газа включена последовательно с другими ступенями 14, 16. Само собой, в дополнение к подобному трехступенчатому выполнению друг за другом могут быть включены также другие ступени, или может быть предусмотрено двухступенчатое выполнение.
Испытательное тело 1 рассчитано в особой степени на использование в основанном на паре способе стерилизации с использованием стерилизационной камеры с особенно высокой чувствительностью подтверждения. Для этого испытательное тело 1 вместе со стерилизуемыми инструментами или материалами помещают в стерилизационную камеру. На первом этапе обработки, на котором стерилизационную камеру вакуумируют, вакуумируют также выполненное многоступенчатым газосборное пространство 4. Затем, когда стерилизационную камеру заполняют паром в качестве стерилизующего средства, пар течет через конечное устье 6 также в третью ступень 16, а оттуда – во вторую 14 и первую 12 ступени газосборного пространства 4. Имеющийся еще, при случае, остаточный воздух, который за счет образования воздушных подушек мог бы воспрепятствовать надежной стерилизации инструментов или материалов, проникает через третью ступень 16 во вторую 14 и первую 12 ступени газосборного пространства 4 и скапливается на его противоположном конечному устью 6 конце. Таким образом, происходит концентрация остаточного воздуха в зоне детектора 2, что препятствует полному смачиванию расположенного в детекторе индикатора предусмотренным в качестве стерилизующего средства паром.
На последующих этапах способа, на которых по типу фракционирующего вакуума снова создают пониженное давление в стерилизационной камере и затем заполняют ее паром в качестве стерилизующего средства, происходит усиленное удаление остаточного воздуха из стерилизационной камеры. За счет этого происходит надежное и сплошное смачивание всех внутренних поверхностей инструментов, которое аналогичным образом приводит также к лучшему смачиванию внутренней поверхности первой ступени 12 газосборного пространства 4. В случае если происходит достаточное проникновение стерилизующего средства внутрь испытательного тела 1, можно констатировать сплошное смачивание также индикатора. Если это произошло, то стерилизационные мероприятия можно считать успешными.
За счет многоступенчатого выполнения газосборного пространства 4 посредством расположения со стороны газа второй 14 и третьей 16 ступеней перед первой ступенью 12 и за счет выбранного подходящим образом размера ступеней 12, 14, 16 испытательное тело 1 гарантирует, что вредный для процесса остаточный воздух будет целенаправленно концентрироваться в непосредственной области первой ступени 12. Эта концентрация происходит, в частности, за счет предыдущих расположенных со стороны газа ступеней 14, 16, служащих в качестве конденсационной зоны для стерилизующего средства и вызывающих выборочную локальную конденсацию стерилизующего средства непосредственно перед входным участком в первую ступень 12. Благодаря достигнутой за счет этого концентрации остаточного воздуха или других неконденсируемых газов происходит постоянное и надежное подтверждение остаточного воздуха или других неконденсируемых газов, так что испытательное тело 1 может эксплуатироваться с особенно высокой точностью подтверждения.
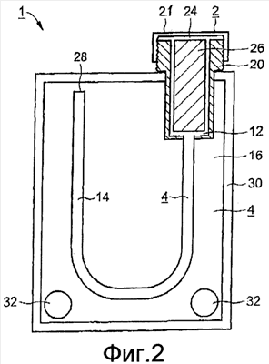
Выполненное по схеме на фиг.1 испытательное тело 1 изображено на фиг.1 в собранном виде. Его детектор 2 содержит снабженную резьбой детекторную гильзу 20, закрытую навинченной крышкой 21. Внутри детекторной гильзы 20 предусмотрен детекторный объем 24, в данном примере около 240 мкл, в который помещен сменный индикатор 26.
Индикатор 26, который в примере выполнения занимает объем около 120 мкл и заполняет детекторный объем 24, тем самым, приблизительно наполовину, может быть выполнен в виде датчика для определения физического измеряемого параметра, например температуры или давления. В примере выполнения в качестве индикатора 26 предусмотрен, однако, био- или хемоиндикатор. При выполнении в качестве биоиндикатора индикатор 26 заражен при этом на своей поверхности способными к размножению культурами, которые при надлежащем смачивании паром в качестве стерилизующего средства уничтожаются. При таком выполнении индикатор 26 используется, следовательно, таким образом, что после стерилизации производится проверка на наличие еще способных к размножению микроорганизмов. При установлении таковых делается вывод о недостаточной стерилизации.
При выполнении индикатора 26 в качестве хемоиндикатора он выполнен таким образом, что при смачивании его поверхности паром в качестве стерилизующего средства он изменяет свой цвет, так что путем оптического контроля можно сделать вывод непосредственно о сплошном смачивании. При несмачивании не происходит изменения цвета или возникает другой цвет. Первая ступень 14 газосборного пространства 4 образована, в основном, продолговатой трубкой круглого или же углового сечения предпочтительно из металла или пластика. В примере выполнения на фиг.2 непосредственно соседняя с детектором 2 первая ступень 14 имеет в качестве ширины в свету внутренний диаметр 2 мм, так что ее проходное сечение составляет около 3,2 мм2. В качестве длины канала выбрано значение около 50 см. Таким образом, первая ступень 14 имеет внутренний объем около 1,75 мл.
Детектор 2 расположен при этом на противоположном устью 28 для газа конце первой ступени 14. Первая ступень 14 выполнена в данном примере в форме буквы U и, тем самым, изогнутой и расположена в своей совокупности внутри охватывающего внутреннее пространство второй ступени 16 внешнего корпуса 30. Внешний корпус 30 может быть выполнен при этом, в основном, в виде металлической или пластиковой трубы длиной около 20 см и внутреннего диаметра 25 мм, так что объем второй ступени 16 составляет около 0,1 л. Таким образом, проходное сечение и объем ступеней 14, 16 между соседними ступенями 14, 16 заметно уменьшаются в направлении течения в сторону детектора 2.
Вторая ступень 16 со стороны газа через некоторое число выполненных во внешнем корпусе 30 входных отверстий 32 сообщена с окружающей атмосферой. Именно при трубчатом выполнении внешнего корпуса 30 также его компактная зона дна может поддерживаться открытой для образования входного отверстия 32 сравнительно большого размера. Устье 28, через которое первая ступень 14 со стороны газа связана с образующим вторую ступень 16 газосборного пространства 4 внутренним объемом внешнего корпуса 30, расположено при этом внутри внешнего корпуса 30 в положении, в котором в отношении позиционирования входных отверстий 32 приходится считаться также при газообмене лишь с незначительной интенсивностью газового потока, так что желаемой локальной концентрации остатков газа еще более способствует локальная выборочная конденсация стерилизующего средства. В примере выполнения на фиг.2, в котором входные отверстия 32 предусмотрены в нижних углах внешнего корпуса 30, на основе этих критериев позиционирование устья 28 в верхней части внутреннего объема оказывается благоприятным.
Альтернативные формы выполнения испытательного тела 1 схематично изображены на фиг.3-5. У испытательного тела 1 на фиг.3 первая ступень 14 газосборного пространства 4 также проходит внутри второй ступени 16 газосборного пространства 4. Испытательное тело 1 в этом случае выполнено, однако, для особенно высокой чувствительности подтверждения при особенно компактной конструкции. Для того чтобы благоприятную для высокой чувствительности подтверждения, сравнительно большую длину канала первой ступени 14 обеспечить также при компактной конструкции, первая ступень 14 в этой форме выполнения проходит по типу спирали внутри охватывающего вторую ступень 16 внешнего корпуса 30. В качестве входного отверстия 32 в этом случае вся зона дна внешнего корпуса 30 поддерживается открытой. В отношении названных критериев устье 28 должно быть позиционировано близко к зоне крышки внешнего корпуса 30.
У испытательного тела 1 на фиг.4 первая ступень 14 газосборного пространства 4 расположена не внутри второй ступени 16, а, напротив, за ее пределами и спиралеобразно обведена вокруг внешнего корпуса 30 второй ступени 16. При подходящей большой толщине стенки внешнего корпуса 30 первая ступень 14 в этой форме выполнения может быть также полностью интегрирована во внешнюю стенку.
В форме выполнения на фиг.5 испытательное тело 1 содержит, в основном, выполненный коробчатым внешний корпус 30 для образования газосборного пространства 4. Выполненная, в основном, U-образной первая ступень 14 в этом случае также проходит почти полностью во внутреннем пространстве второй ступени 16. У испытательного тела 1 вторая ступень 16 заполнена к тому же пористым материалом 34, в частности целлюлозной ватой, хлопком, стекловатой, минеральной или металлической ватой.
Перечень ссылочных позиций
1 – испытательное тело
2 – детектор
4 – газосборное пространство
6 – конечное устье
8 – двойная стрелка
12, 14, 16 – ступень
20 – детекторная гильза
21 – крышка
24 – детекторный объем
26 – индикатор
28 – устье
30 – внешний корпус
32 – входное отверстие
34 – пористый материал
Формула изобретения
1. Испытательное тело (1), в частности, для контроля проникающих свойств стерилизующего средства, у которого предусмотренный для размещения индикатора (26) детекторный объем (24) может быть связан через газосборное пространство (4) со стерилизационной камерой, отличающееся тем, что газосборное пространство (4) выполнено многоступенчатым, причем сечение и объем каждой ступени (12, 14, 16) уменьшаются в направлении детекторного объема (24).
2. Тело по п.1, у которого сечение каждой ступени (12, 14, 16) уменьшается в направлении детекторного объема (24), по меньшей мере, на 50%, преимущественно более чем на 75%.
3. Тело по п.1 или 2, у которого сечение непосредственно соседней с детекторным объемом (24) ступени газосборного пространства (4) составляет 1-200 мм2.
4. Тело по п.1 или 2, у которого непосредственно соседняя с детекторным объемом (24) ступень газосборного пространства (4) имеет длину канала, по меньшей мере, 10 см, преимущественно 30-100 см.
5. Тело по п.1 или 2, у которого ступень (14) газосборного пространства (4) расположена внутри другой ступени (16) газосборного пространства (4).
6. Тело по п.5, у которого другая ступень газосборного пространства (4) образована охватывающим первую ступень (14) внешним корпусом (30).
7. Тело по п.1 или 2, у которого ступень (14) газосборного пространства (4) обведена вокруг образующего другую ступень (16) газосборного пространства (4) внешнего корпуса (30).
8. Тело по п.1 или 2, у которого, по меньшей мере, одна ступень (14, 16) газосборного пространства (4) заполнена пористым материалом (34).
9. Тело по п.1 или 2, у которого детекторный объем (24) выбран менее 500 мкл.
10. Тело по п.1 или 2, у которого в качестве индикатора (26) предусмотрен хемо- или биоиндикатор.
РИСУНКИ
|
|