|
|
(21), (22) Заявка: 2005139792/14, 19.12.2005
(24) Дата начала отсчета срока действия патента:
19.12.2005
(30) Конвенционный приоритет:
20.12.2004 JP 2004-368140
(43) Дата публикации заявки: 27.06.2007
(46) Опубликовано: 10.02.2008
(56) Список документов, цитированных в отчете о поиске:
JP 02-107226 А, 19.04.1990. JP 2001-224558 A1, 21.08.2001. ЕР 1125551 А1, 22.08.2001. WO 99/55400 A1, 04.11.1999. SU 1618385 А2, 07.01.1991. RU 2231967 С2, 10.07.2004.
Адрес для переписки:
129010, Москва, ул. Б.Спасская, 25, стр.3, ООО “Юридическая фирма Городисский и Партнеры”, пат.пов. Ю.Д. Кузнецову, рег.№ 595
|
(72) Автор(ы):
КАРО Хиромити (JP), САНО Йосихико (JP), КИСИМОТО Хироси (JP), ЦУРУМИ Йосинори (JP)
(73) Патентообладатель(и):
ОМРОН ХЭЛТКЭА КО., ЛТД. (JP)
|
(54) МАНЖЕТА ДЛЯ ИЗМЕРИТЕЛЯ АРТЕРИАЛЬНОГО ДАВЛЕНИЯ, ИЗМЕРИТЕЛЬ АРТЕРИАЛЬНОГО ДАВЛЕНИЯ, УСТРОЙСТВО ДЛЯ СЖАТИЯ ЖИВОГО ТЕЛА И УСТРОЙСТВО ДЛЯ ИЗМЕРЕНИЯ ИНФОРМАЦИИ О ЖИВОМ ТЕЛЕ
(57) Реферат:
Изобретение относится к медицинской технике и используется для измерения артериального давления, содержит воздушный мешок и изогнутый упругий элемент, обернутый вокруг внешней стороны воздушного мешка. Воздушный мешок имеет обхватывающую часть на каждом боковом конце в направлении ширины. Обхватывающая часть завернута вдоль торца изогнутого упругого элемента к изогнутому упругому элементу и прикреплена к внешней периферийной поверхности изогнутого упругого элемента. Конструкция предотвращает возникновение бокового смещения. Раскрыты устройства для артериального давления и детектирования пульсовых волн. 4 н. и 8 з.п. ф-лы, 26 ил.
Область техники, к которой относится изобретение
Настоящее изобретение относится к устройству для сжатия живого тела, имеющему мешок для текучей среды, и к устройству для измерения информации о живом теле, снабженному им. В частности, настоящее изобретение относится к манжете для измерителя артериального давления и измерителю артериального давления, снабженному такой манжетой.
Описание известного уровня техники
Измеритель артериального давления, детектор пульсовых волн и другие устройства известны как устройства для измерения информации о живом теле. Измеритель артериального давления и детектор пульсовых волн обычно содержат устройство для сжатия живого тела. После наложения устройства для сжатия живого тела на участок измерения на живом теле накачивается мешок для текучей среды, содержащийся в устройстве для сжатия живого тела, чтобы сжать живое тело для измерения информации о нем.
Например, для измерения величины артериального давления манжета с мешком для текучей среды, предназначенным для сжатия артерии, находящейся в живом теле, обертывается вокруг поверхности тела, и детектируются пульсовые волны артериального давления, возникающие в артерии при накачке/спуске мешка для текучей среды, чтобы измерить величину артериального давления. В данном контексте под «манжетой» подразумевается лентообразная конструкция, имеющая эластичный баллон, который можно обертывать вокруг части живого тела, для использования при измерении артериального давления на верхней конечности, нижней конечности или т.п. посредством накачки текучей среды, такой как газ или жидкость, в эластичный баллон. Следовательно, понятие «манжета» включает в себя как мешок для текучей среды, так и элементы, предназначенные для обертывания мешка для текучей среды вокруг живого тела. В частности, манжета, обертываемая вокруг запястья или плеча и накладываемая на него, также называется кистевой манжетой или плечевой манжетой.
В последнее время измерители артериального давления часто используются не только в медицинских учреждениях, таких как больницы, но также и в домашних условиях в качестве прибора для ежедневного контроля физического состояния. Поэтому существует большая потребность в усовершенствовании условий использования измерителей артериального давления, особенно для облегчения операций их наложения. С этой целью предпринимаются попытки уменьшения размера манжеты. Для уменьшения размера манжеты необходимо уменьшить ее ширину (т.е. направление, параллельное осевому направлению участка измерения (например, запястья, плеча или т.п.), на который накладывается манжета).
При уменьшении ширины манжеты измерителя артериального давления важно гарантировать, что артерия будет сжата в достаточной степени для ее аваскуляризации. В случае использования широкой манжеты для измерителя артериального давления манжета покрывает большую длину участка измерения в осевом направлении, и это обеспечивает достаточное сжатие и аваскуляризацию артерии. Однако при уменьшении ширины манжеты длина покрытого манжетой участка измерения в осевом направлении уменьшается, что затрудняет достаточное сжатие артерии для ее аваскуляризации.
Известна, например, манжета для измерителя артериального давления, описанная в выложенной заявке на патент Японии №02-107226, и манжета для измерителя артериального давления, описанная в выложенной заявке на патент Японии №2001-224558, целью которых является предотвращение ухудшения характеристик аваскуляризации, связанного с уменьшением ширины манжеты. В каждой из манжет для измерителя артериального давления, описанных в этих публикациях, воздушный мешок, называемый мешком для текучей среды, расположенный внутри манжеты, снабжен складкой на каждом боковом конце в направлении ширины. При накачке воздушного мешка эти складки расширяются, обеспечивая более равномерное наполнение воздушного мешка по ширине. Такая конструкция позволяет сжать артерию в достаточной степени, чтобы вызвать аваскуляризацию не только в центральной части манжеты, но также и на соответствующих боковых концах и вокруг них. В результате измерение величины артериального давления будет точным, даже если манжета имеет меньшую ширину.
При наличии складки на каждом боковом конце в направлении ширины воздушного мешка высота бокового конца в направлении ширины воздушного мешка увеличивается при накачке воздушного мешка в направлении толщины. При этом может происходить боковое смещение воздушного мешка, которое будет описано ниже.
На фиг.23 представлена схема, иллюстрирующая состояние, в котором типичный кистевой измеритель артериального давления наложен на участок измерения на запястье. На фиг.24 показано схематически поперечное сечение манжеты для измерителя артериального давления, показанной на фиг.23, по линии XXIV-XXIV на фиг.23. На фиг.25 схематически показано состояние, при котором происходит боковое смещение манжеты кистевого измерителя артериального давления, показанного на фиг.23, в состоянии измерения. На фиг.26 представлен вид поперечного сечения манжеты для измерителя артериального давления и запястья, показанных на фиг.25, по линии XXVI-XXVI на фиг.25.
Как показано на фиг.23, кистевой измеритель 100 артериального давления содержит основной корпус 110 и манжету 130. При измерении величины артериального давления с помощью кистевого измерителя 100 артериального давления манжету 130 измерителя артериального давления 100 обертывают по окружности вокруг запястья 300, которое является участком измерения. Как показано на фиг.24, манжета 130 содержит чехол 140 в форме мешка, а также воздушный мешок 150 и изогнутый упругий элемент 160, расположенные внутри чехла 140. Изогнутый упругий элемент 160 выполнен упругим и изогнут таким образом, чтобы обеспечить временное прилегание манжеты к запястью. Чехол 140, воздушный мешок 150 и изогнутый упругий элемент 160 простираются в продольном направлении, которое соответствует направлению обертывания манжеты 130.
Чехол 140 выполнен в форме мешка путем наложения друг на друга внутреннего покрытия 141 из высокоэластичной ткани или подобного материала и внешнего покрытия 142 из менее эластичной ткани или подобного материала и соединения их кромок. Воздушный мешок 150 выполнен в форме мешка путем наложения друг на друга полимерного листа 151, образующего внутреннюю стенку, расположенную на запястной стороне в наложенном состоянии манжеты, и полимерного листа 152, образующего внешнюю стенку, расположенную на внешней стороне относительно внутренней стенки, и соединения их кромок методом сплавления, и он содержит внутри себя пространство 157 для накачки/спуска. Полимерный лист 151, образующий внутреннюю стенку воздушного мешка 150, имеет сложенные боковые концы, присоединенные методом сплавления к полимерному листу 152, образующему внешнюю стенку, в результате чего образуются складки на соответствующих боковых частях стенки воздушного мешка 150. К внешней поверхности внешней стенки воздушного мешка 150 присоединен с помощью соединительного элемента, такого как двусторонняя липкая лента 171, изогнутый упругий элемент 160, называемый «упругим элементом», который свернут кольцеобразно и способен изменять размер в радиальном направлении.
В описанной конструкции кистевого измерителя 100 артериального давления используются насос, клапан и т.п., показанные как блок для накачки/спуска, расположенный внутри основного корпуса 110, для повышения или понижения давления в пространстве 157 для накачки/спуска воздушного мешка 150, расположенного внутри манжеты 130, предназначенные для накачки или спуска воздушного мешка 150. Величина артериального давления вычисляется на основании информации о давлении, детектированной во время накачки/спуска воздушного мешка 150.
Если при накачанном состоянии воздушного мешка 150 приложить внешнее усилие к внешнему покрытию 142 чехла 140 в направлении, параллельном осевому направлению запястья 300, то внешняя часть манжеты 130 может сместиться в сторону в осевом направлении запястья 300, в то время как внутренняя часть манжеты 130 не подвергнется такому боковому смещению, так как она находится в контакте с запястьем 300. В результате этого часть манжеты 130 будет выпячиваться, как показано позицией 190 на фиг.25. Даже если не прилагать никакого внешнего усилия, равенство давления воздушного мешка 150 будет нарушено из-за наклонной формы поверхности запястья 300, что также может вызывать боковое смещение.
Как показано на фиг.26, описанное выше боковое смещение происходит при нарушении равенства давления воздушного мешка 150 во время накачки, что вызывает движение изогнутого упругого элемента 160, внешнего покрытия 142 и полимерного листа 152, как единого целого, в осевом направлении запястья 300. Когда изогнутый упругий элемент 160 движется в осевом направлении запястья 300, воздух в воздушном мешке 150 движется в направлении концевой части воздушного мешка 150 против направления движения изогнутого упругого элемента 160, что вызывает деформацию воздушного мешка 150, приводящую к возникновению выпячивающейся части 190, описанной выше. При возникновении этой выпячивающейся части 190 становится невозможным эффективное и равномерное прижатие воздушного мешка 150 к запястью 300, а это не позволяет обеспечить достаточную аваскуляризацию, снижая тем самым точность измерения. Кроме того, на оба конца (области А на фиг.26) соединенной части воздушного мешка 150 и изогнутого упругого элемента 160 будет действовать сила в направлении, вызывающем схождение воздушного мешка с изогнутого упругого элемента 160, что может ухудшить надежность соединенной части.
Описанное выше боковое смещение наиболее вероятно возникает, когда толщина пространства 157 для накачки/спуска больше, чем ширина воздушного мешка 150 во время накачки. Это вызывает серьезную проблему, особенно в конструкции, в которой на обоих боковых концах воздушного мешка 150 имеются складки для предотвращения ухудшения точности измерений в результате уменьшения ширины манжеты 130. Однако эта проблема не ограничена только манжетой для измерителя артериального давления, имеющей такую конструкцию. Манжета для измерителя артериального давления, не имеющая складок на боковых концах воздушного мешка, также в некоторой степени подвержена этой требующей решения проблеме.
Кроме измерителя артериального давления известен также детектор пульсовых волн, как устройство для измерения информации о живом теле, снабженное мешком для текучей среды, предназначенным для сжатия живого тела. Детектор пульсовых волн представляет собой устройство для измерения пульсовых волн посредством прижатия устройства, чувствительного к давлению, такого как полупроводниковый датчик, к поверхности живого тела, чтобы измерять пульсовые волны, возникающие на артерии, находящейся относительно близко к коже живого тела. В детекторе пульсовых волн также используется мешок для текучей среды, такой как воздушный мешок, в качестве сжимающего элемента для прижатия чувствительной к давлению поверхности микросхемы датчика к живому телу, что может вызывать проблему бокового смещения, подобную проблеме, имеющейся у манжеты для описанного выше измерителя артериального давления.
Краткое изложение сущности изобретения
В общем, в основу настоящего изобретения положена задача создания устройства для сжатия живого тела, имеющего мешок для текучей среды без вероятности бокового смещения, и устройства для измерения информации о живом теле, снабженного таким устройством для сжатия живого тела. В частности, задачей настоящего изобретения является создание манжеты для измерителя артериального давления, способной предотвратить возникновение бокового смещения манжеты и тем самым реализовать более надежный и эффективный измеритель артериального давления.
Манжета для измерителя артериального давления согласно настоящему изобретению содержит мешок для текучей среды, накачиваемый и спускаемый при поступлении и выходе текучей среды, и упругий элемент, кольцеобразно обернутый вокруг внешней стороны мешка для текучей среды и способный изменять размер в радиальном направлении. Мешок для текучей среды содержит внутреннюю стенку, расположенную на внутренней стороне при его обертывании вокруг живого тела, внешнюю стенку, расположенную на внешней стороне по отношению к внутренней стенке, и обхватывающую часть, простирающуюся от бокового конца в направлении ширины мешка для текучей среды. Обхватывающая часть закреплена неподвижно на месте на стороне основания по отношению к основной поверхности мешка для текучей среды, расположенной по другую сторону от рабочей поверхности.
В устройстве для сжатия живого тела согласно настоящему изобретению является предпочтительным, чтобы основание было выполнено из элемента в форме пластины, имеющего первую основную поверхность, обращенную к мешку для текучей среды, и вторую основную поверхность, расположенную по другую сторону от первой основной поверхности, и чтобы обхватывающая часть была завернута на боковом конце мешка для текучей среды на вторую основную поверхность основания и находилась в зацеплении на ней.
Устройство для сжатия живого тела кольцеобразно оборачивается вокруг живого тела для измерения величины артериального давления, при этом упомянутый мешок для текучей среды может быть выполнен в форме, имеющей продольное направление и направление ширины, таким образом, что упомянутый мешок для текучей среды может быть кольцеобразно обернут вокруг живого тела, упомянутое основание может быть выполнено из упругого элемента, кольцеобразно обернутого вокруг внешней стороны мешка для текучей среды и способного изменять размер в радиальном направлении, причем упомянутый мешок для текучей среды имеет внутреннюю стенку, расположенную на внутренней стороне при его обертывании вокруг живого тела, внешнюю стенку, расположенную на внешней стороне относительно внутренней стенки, и обхватывающую часть, простирающуюся от бокового конца в направлении ширины мешка для текучей среды, и упомянутая обхватывающая часть завернута на боковом конце к упругому элементу и неподвижно закреплена на месте на стороне упругого элемента по отношению к внешней поверхности упомянутой внешней стенки.
В устройстве для сжатия живого тела согласно настоящему изобретению является предпочтительным, чтобы обхватывающая часть была предусмотрена по меньшей мере на одном месте на каждом боковом конце в направлении ширины мешка для текучей среды.
В устройстве для сжатия живого тела согласно настоящему изобретению является предпочтительным, чтобы упругий элемент был выполнен из элемента в форме пластины, имеющего внутреннюю периферийную поверхность, обращенную к мешку с текучей средой, и внешнюю периферийную поверхность, расположенную по другую сторону от внутренней периферийной поверхности, и обхватывающая часть завернута на боковом конце на внешнюю периферийную поверхность упругого элемента и неподвижно закреплена на ней.
В устройстве для сжатия живого тела согласно настоящему изобретению является предпочтительным, чтобы обхватывающая часть была присоединена к внешней периферийной поверхности упругого элемента.
В устройстве для сжатия живого тела согласно настоящему изобретению обхватывающие части, предусмотренные на соответствующих боковых концах в направлении ширины мешка для текучей среды, могут перекрываться и присоединяться друг к другу на внешней периферийной поверхности.
В устройстве для сжатия живого тела согласно настоящему изобретению мешок для текучей среды может быть выполнен посредством наложения нескольких листов друга на друга, и обхватывающая часть завернута на боковом конце мешка для текучей среды к основной части и неподвижно закреплена на месте на стороне основной части по отношению к основной поверхности мешка для текучей среды, расположенной по другую сторону от рабочей поверхности.
В устройстве для сжатия живого тела согласно настоящему изобретению является предпочтительным, чтобы основание было выполнено из пластинообразного элемента, имеющего первую основную поверхность, обращенную к мешку для текучей среды, и вторую основную поверхность, расположенную по другую сторону от первой основной поверхности, и чтобы обхватывающая часть была завернута на боковом конце мешка для текучей среды на вторую основную поверхность основания и находилась в зацеплении на ней.
Устройство для измерения информации о живом теле согласно первому аспекту настоящего изобретения является видом измерителя артериального давления, который содержит любое из описанных выше устройств для сжатия живого тела. блок для накачки/спуска, предназначенный для накачки и спуска мешка для текучей среды, блок для детектирования давления, предназначенный для детектирования давления в мешке для текучей среды, и блок для вычисления величины артериального давления, предназначенный для вычисления величины артериального давления на основании информации о давлении, детектированной блоком для детектирования давления.
Устройство для измерения информации о живом теле согласно второму аспекту настоящего изобретения является видом детектора пульсовых волн, который содержит любое из описанных выше устройств для сжатия живого тела, чувствительный к давлению блок, предусмотренный на рабочей поверхности мешка для текучей среды, блок для накачки/спуска, предназначенный для накачки/спуска мешка для текучей среды, и блок для измерения пульсовых волн, предназначенный для измерения пульсовой волны на основании информации о давлении, детектированной чувствительным к давлению блоком.
Настоящее изобретение позволяет создать устройство для сжатия живого тела без вероятности описанного выше бокового смещения и устройство для измерения информации о живом теле, снабженное таким устройством для сжатия живого тела. В частности, можно создать манжету для измерителя артериального давления, способную предотвратить возникновение бокового смещения и обеспечить равномерное распределение сжимающего усилия по участку измерения. Это позволяет реализовать очень надежный и эффективный измеритель артериального давления.
Описанные выше и другие задачи, существенные признаки, аспекты и преимущества настоящего изобретения станут понятны из его подробного описания в совокупности с прилагаемыми чертежами.
Краткое описание чертежей
Фиг.1 изображает перспективный вид измерителя артериального давления согласно первому варианту осуществления настоящего изобретения;
фиг.2 изображает вид вертикального сечения, показывающий внутреннюю конструкцию манжеты для измерителя артериального давления, согласно первому варианту осуществления настоящего изобретения;
фиг.3 изображает структурную схему, иллюстрирующую конструкцию измерителя артериального давления, согласно первому варианту осуществления настоящего изобретения;
фиг.4 изображает алгоритм, иллюстрирующий процесс измерения артериального давления, согласно первому варианту осуществления настоящего изобретения;
фиг.5 изображает схематически вид поперечного сечения манжеты для измерителя артериального давления по примеру 1 на основании первого варианта осуществления настоящего изобретения по линии V-V на фиг.2;
фиг.6 изображает схематически в разобранном виде сборную структуру воздушного мешка и изогнутого упругого элемента, содержащихся в манжете для измерителя артериального давления, показанной на фиг.5;
фиг.7 изображает схематически вид в сечении в состоянии, когда манжета для измерителя артериального давления, показанного на фиг.5, наложена на запястье и воздушный мешок накачан;
фиг.8 изображает схематически вид поперечного сечения манжеты для измерителя артериального давления по примеру 2 на основании первого варианта осуществления настоящего изобретения;
фиг.9 изображает схематически вид поперечного сечения модификации манжеты для измерителя артериального давления по примеру 2 на основании первого варианта осуществления настоящего изобретения;
фиг.10 изображает схематически вид поперечного сечения другой модификации манжеты для измерителя артериального давления по примеру 2 на основании первого варианта осуществления настоящего изобретения;
фиг.11-14 изображают схематически виды поперечного сечения манжет для измерителя артериального давления по примерам 3-6 на основании первого варианта осуществления настоящего изобретения;
фиг.15 изображает схематически вид поперечного сечения модификации манжеты для измерителя артериального давления по примеру 6 на основании первого варианта осуществления настоящего изобретения;
фиг.16 изображает перспективный вид детектора пульсовых волн согласно второму варианту настоящего изобретения в состоянии наложения на живое тело;
фиг.17 изображает схематически вид поперечного сечения детектора пульсовых волн в состоянии, показанном на фиг.16;
фиг.18 изображает перспективный вид блока датчика детектора пульсовых волн согласно второму варианту настоящего изобретения;
фиг.19 изображает структурную схему, иллюстрирующую конструкцию детектора пульсовых волн согласно второму варианту настоящего изобретения;
фиг.20 изображает алгоритм, иллюстрирующий процедуру измерения пульсовых волн в детекторе пульсовых волн согласно второму варианту настоящего изобретения;
фиг.21 изображает вид поперечного сечения корпуса блока датчика детектора пульсовых волн согласно второму варианту настоящего изобретения;
фиг.22 изображает схематически в разобранном виде корпус, изображенный на фиг.21;
фиг.23 изображает схематически вид, иллюстрирующий состояние, в котором типичный кистевой измеритель артериального давления наложен на участок измерения на запястье;
фиг.24 изображает схематически вид поперечного сечения манжеты для измерителя артериального давления, показанного на фиг.23, по линии XXIV-XXIV на фиг.23;
фиг.25 изображает схематически состояние, в котором происходит боковое смещение манжеты измерителя артериального давления в состоянии измерения, показанном на фиг.23;
фиг.26 изображает схематически вид в сечении манжеты для измерителя артериального давления и запястья, показанных на фиг.25, по линии XXVI-XXVI на фиг.25.
Описание предпочтительных вариантов осуществления изобретения
В дальнейшем будут подробно описаны варианты осуществления настоящего изобретения со ссылками на прилагаемые чертежи. В представленном ниже первом варианте осуществления изобретения будет описан кистевой измеритель артериального давления в качестве примера устройства для измерения информации о живом теле. В представленном ниже втором варианте осуществления изобретения будет описан детектор пульсовых волн в качестве примера устройства для измерения информации о живом теле.
Первый вариант осуществления изобретения
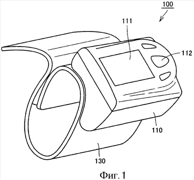
На фиг.1 показан перспективный вид измерителя артериального давления согласно первому варианту осуществления настоящего изобретения. Как видно на фиг.1, измеритель 100 артериального давления по первому варианту настоящего изобретения содержит основной корпус 110 и манжету 130. На поверхности основного корпуса 110 расположены дисплей 111 и управляющая часть 112. Манжета 130 присоединена к основному корпусу 110.
На фиг.2 представлен вид вертикального сечения, иллюстрирующий внутреннюю конструкцию манжеты для измерителя артериального давления, показанного на фиг.1. Как видно на фиг.2, манжета 130 измерителя артериального давления согласно данному варианту настоящего изобретения содержит, в основном, чехол 140 в форме мешка, выполненный из высокоэластичной ткани или подобного материала, воздушный мешок 150, называемый «мешок для текучей среды», который расположен внутри чехла 140, и изогнутый упругий элемент 160, расположенный внутри чехла 140 на внешней стороне воздушного мешка 150 при наложенном состоянии манжеты. Чехол 140, воздушный мешок 150 и изогнутый упругий элемент 160 простираются в продольном направлении, совпадающем с направлением обертывания манжеты 130.
Чехол 140 содержит внутреннее покрытие 141, расположенное на внутренней стороне в наложенном состоянии, и внешнее покрытие 142, расположенное на внешней стороне относительно внутреннего покрытия 141. Внутреннее покрытие 141 и внешнее покрытие 142 наложены друг на друга и их кромки соединены для образования формы мешка. На одном конце в продольном направлении чехла 140 имеется застежка “липучка” 165 на внутренней периферийной поверхности. На другом конце в продольном направлении чехла 140 к внешней периферийной поверхности прикреплена застежка-липучка 166, предназначенная для зацепления с застежкой-липучкой 165. Застежки-липучки 165, 166 являются элементами для неподвижного закрепления измерителя 100 артериального давления на участке измерения на запястье, когда манжета 130 наложена на запястье.
Воздушный мешок 150 выполнен в форме мешка с использованием полимерных листов. Например, в воздушном мешке 150, содержащемся в манжете 130А для измерителя артериального давления по примеру 1 на основании данного варианта осуществления изобретения, который будет описан ниже, полимерный лист 151, образующий внутреннюю стенку, расположенную на стороне запястья в состоянии, когда манжета 130А обернута вокруг запястья, и полимерный лист 152, образующий внешнюю стенку, расположенную на внешней стороне относительно внутренней стенки, наложены друг на друга и их кромки соединены методом сплавления для образования формы мешка, который содержит в себе пространство 157 для накачки/спуска (более подробное описание см. в примере 1). Поверхность на стороне запястья внутренней стенки воздушного мешка 150 служит в качестве рабочей поверхности 158 для сжатия запястья. Пространство 157 для накачки/спуска подсоединено через трубку 120 к воздушной системе 121 для измерения артериального давления основного корпуса 110, как будет описано ниже (см. фиг.3).
В качестве материала для полимерных листов, образующих воздушный мешок 150, можно использовать любой материал при условии, что он обладает высокой эластичностью и препятствует выходу воздуха из пространства 157 для накачки/спуска после соединения методом сплавления. С учетом этого требования оптимальными материалами для полимерных листов являются сополимер этиленвинилацетата (ЭВА), мягкий поливинилхлорид (ПВХ), полиуретан (ПУ), сырой каучук и т.п.
На внешней стороне воздушного мешка 150 расположен изогнутый упругий элемент 160, называемый «упругим элементом», который изогнут в виде кольца и способен упруго деформироваться в радиальном направлении. Изогнутый упругий элемент 160 присоединен к внешней поверхности внешней стенки воздушного мешка 150 с помощью соединительного элемента, такого как двусторонняя липкая лента (не показана). Изогнутый упругий элемент 160 имеет конфигурацию, позволяющую сохранять его кольцевую форму, соответствующую контуру запястья, и облегчать наложение манжеты 130 на участок измерения самим пациентом. Изогнутый упругий элемент 160 выполнен из такого полимера, как полипропилен или т.п., чтобы обеспечивать достаточное упругое усилие.
На фиг.3 показана структурная схема, иллюстрирующая конструкцию измерителя артериального давления согласно данному варианту осуществления изобретения. Как видно на фиг.3, основной корпус 110 содержит воздушную систему 121 для измерения артериального давления, предназначенную для подачи и выпуска воздуха в воздушный мешок 150 и из него через трубку 120, и колебательный контур 125, схему 126 управления насосом и схему 127 управления клапаном, связанные с воздушной системой 121, для измерения артериального давления. Эти элементы выполняют функцию блока для накачки/спуска, предназначенного для накачки/спуска воздушного мешка 150.
Основной корпус 110 также содержит ЦПУ (центральное процессорное устройство) 113 для централизованного управления и контролирования соответствующих блоков, блок памяти 114 для хранения программы, побуждающей ЦПУ 113 выполнять предписанную операцию, и различной информации, включая измеренные значения артериального давления, дисплей 111 для отображения информации, включающей в себя результат измерения артериального давления, управляющую часть 112 для ввода различных команд для измерения и блок 115 энергоснабжения для подачи электроэнергии в ЦПУ 113 по команде «включить» от управляющей части 112. ЦПУ 113 служит в качестве блока для вычисления величины артериального давления.
Воздушная система 121 для измерения артериального давления имеет датчик 122 давления, значение выходного сигнала которого изменяется в соответствии с давлением внутри воздушного мешка 150 (далее называемым «давление манжеты»), насос 123 для подачи воздуха в воздушный мешок 150 и клапан 124, который открывается и закрывается для выпуска воздуха или изоляции воздуха в воздушном мешке 150. Датчик 122 давления служит в качестве блока для детектирования давления манжеты. Колебательный контур 125 выдает в ЦПУ сигнал частоты колебаний, соответствующий значению выходного сигнала датчика 122 давления. Схема 126 управления насосом управляет насосом 123 на основании сигнала управления, поступающего из ЦПУ 113. Схема 127 управления клапаном управляет открытием/закрытием клапана 124 на основании сигнала управления из ЦПУ 113.
На фиг.4 представлен алгоритм, иллюстрирующий процесс измерения артериального давления измерителем артериального давления согласно данному варианту осуществления изобретения. Программа этого алгоритма предварительно сохраняется в памяти 114, и процесс измерения артериального давления выполняется по мере того, как ЦПУ 113 считывает эту программу из памяти 114 и исполняет ее.
Как видно на фиг.4, когда человек нажимает на кнопку «включить» на управляющей части 112, измеритель 100 артериального давления инициализируется (этап S101). Когда измеритель приходит в состояние измерения, ЦПУ 113 начинает приводить в действие насос 123, чтобы постепенно повысить давление в воздушном мешке 150 манжеты (этап S102). При постепенном повышении давления, когда давление манжеты достигает заданного уровня для измерения артериального давления, ЦПУ 113 останавливает насос 123 и постепенно открывает закрытый клапан 124 для выпуска воздуха из воздушного мешка 150 и постепенного уменьшения давления манжеты (этап S103). В данном варианте осуществления изобретения артериальное давление измеряется во время постепенного уменьшения давления манжеты.
Затем ЦПУ 113 вычисляет артериальное давление (систолическое артериальное давление, диастолическое артериальное давление) известным методом (этап S104). В частности, во время процесса постепенного снижения давления манжеты ЦПУ 113 извлекает информацию о пульсовых волнах на основании частоты колебаний, полученной из колебательного контура 125. Затем он вычисляет величину артериального давления из извлеченной информации о пульсовых волнах. Величина артериального давления, полученная на этапе S104, отображается на дисплее 111 (этап S105). Хотя метод измерения, описанный выше, основан на так называемом «методе измерения на уменьшении давления», при котором пульсовые волны детектируются во время уменьшения давления в воздушном мешке, можно, конечно, использовать и так называемый «метод измерения на повышении давления», при котором пульсовые волны детектируются во время повышения давления в воздушном мешке.
Измеритель 110 артериального давления и манжета 130 для измерителя артериального давления согласно настоящему варианту осуществления изобретения отличаются конструкцией для закрепления воздушного мешка 150, расположенного внутри манжеты 130 измерителя артериального давления. Эта конструкция для закрепления воздушного мешка 150 будет подробно описана ниже на соответствующих примерах со ссылками на чертежи.
Пример 1
На фиг.5 представлен схематически вид в сечении по линии V-V показанной на фиг.2 манжеты для измерителя артериального давления согласно примеру 1 на основании данного варианта осуществления изобретения. На фиг.6 показана схематически сборка воздушного мешка и изогнутого упругого элемента, содержащихся в данном примере манжеты для измерителя артериального давления.
Как показано на фиг.5, манжета 130А для измерителя артериального давления согласно данному примеру содержит воздушный мешок 150, называемый «мешок для текучей среды», и изогнутый упругий элемент 160, называемый «упругий элемент», предусмотренный внутри чехла 140, выполненного из внутреннего покрытия 141 и внешнего покрытия 142. Воздушный мешок 150 выполнен в форме мешка посредством наложения полимерного листа 151, образующего внутреннюю стенку, и полимерного листа 152, образующего внешнюю стенку, друг на друга и соединения их кромок методом сплавления, и содержит внутри себя пространство 157 для накачки/спуска. Поверхность на стороне запястья внутренней стенки воздушного мешка 150 служит в качестве рабочей поверхности 158 для сжатия запястья. Изогнутый упругий элемент 160 расположен на внешней стороне воздушного мешка 150, и его внутренняя периферийная поверхность присоединена через двустороннюю липкую ленту 171 к внешней поверхности внешней стенки воздушного мешка 150.
Воздушный мешок 150 имеет обхватывающую часть 152а, которая простирается наружу от каждого бокового конца в направлении ширины (направлении, параллельном осевому направлению запястья в наложенном состоянии манжеты 130А). Для образования обхватывающей части 152а, как показано на фиг.6, часть одного полимерного листа 152 из двух полимерных листов 151, 152, наложенных друг на друга, имеет ширину W2, которая больше ширины W1 другого полимерного листа 151 и больше ширины W3 изогнутого упругого элемента 160. То есть, как показано на фиг.6, обхватывающая часть 152а образована частью, которая выступает относительно полимерного листа 151 и изогнутого упругого элемента 160 после того, как два полимерных листа 151, 152 были соединены друг с другом в форме мешка методом сплавления и присоединены к внутренней периферийной поверхности изогнутого упругого элемента 160.
Как показано на фиг.5, обхватывающая часть 152а завернута назад вдоль торца изогнутого упругого элемента 160, чтобы покрыть часть внешней периферийной поверхности изогнутого упругого элемента 160, и прикреплена к внешней периферийной поверхности изогнутого упругого элемента 160 с помощью двусторонней липкой ленты 172. Более конкретно, обхватывающая часть 152а завернута на каждом боковом конце воздушного мешка 150 в сторону изогнутого упругого элемента 160 и неподвижно прикреплена к изогнутому упругому элементу 160 на его внешней периферийной поверхности на месте, которое называется «место на стороне изогнутого упругого элемента 160 по отношению к внешней поверхности внешней стенки воздушного мешка 150».
При этом в момент присоединения воздушного мешка 150 к изогнутому упругому элементу 160 изогнутый упругий элемент 160, имеющий криволинейную форму, выпрямляют, как показано на фиг.6. При полностью выпрямленном изогнутом упругом элементе воздушный мешок 150 присоединяют к внутренней стороне изогнутого упругого элемента 160, и обхватывающую часть 152а заворачивают назад. Выпрямление изогнутого упругого элемента 160 во время заворота обхватывающей части 152а таким образом может существенно повысить технологичность операции сборки.
На фиг.7 показан схематически вид в сечении, иллюстрирующий состояние, в котором манжета для измерителя артериального давления согласно настоящему примеру, имеющая описанную выше конструкцию, наложена на запястье и воздушный мешок накачан. Как показано на фиг.7, при накачанном состоянии воздушного мешка 150 его размер увеличивается в основном за счет расширения полимерного листа 151, образующего внутреннюю стенку воздушного мешка 150, так как внешняя поверхность полимерного листа 152, образующего внешнюю стенку, прикреплена к изогнутому упругому элементу 160. При этом жесткость изогнутого упругого элемента 160, а также прочность на растяжение внешнего покрытия 142 регулируют поведение воздушного мешка 150, стремящегося расширяться наружу, благодаря чему накачанный воздушный мешок 150 прижимает запястье 300 внутрь.
При накачанном состоянии воздушного мешка 150 его толщина увеличивается на заданную величину. При таком увеличении толщины возрастает риск возникновения описанного выше бокового смещения. Однако в манжете 130А для измерителя артериального давления согласно данному примеру на каждом боковом конце воздушного мешка 150 предусмотрена обхватывающая часть 152а, описанная выше, и эта обхватывающая часть 152а присоединена к внешней периферийной поверхности изогнутого упругого элемента 160. Следовательно, даже при приложении некоторого внешнего усилия к внешнему покрытию 142 чехла 140 в направлении, параллельном осевому направлению запястья 300, большая часть усилия прикладывается к самой обхватывающей части 152а и к объединенной части обхватывающей части 152а и изогнутого упругого элемента 160. Это существенно уменьшает усилие, прикладываемое к соответствующим концам объединенной части наружной поверхности внешней стенки воздушного мешка 150 и внутренней периферийной поверхности изогнутого упругого элемента 160, показанным областями А на фиг.7, и поэтому исключается вероятность бокового смещения. Кроме того, усилие, которое может вызвать схождение воздушного мешка 150 с изогнутого упругого элемента 160 в соответствующих частях, заметное в описанной выше обычной манжете 130 для измерителя артериального давления (см. фиг.26), также уменьшается, что позволяет предотвратить ухудшение надежности объединенной части. Таким образом, можно создать очень надежную манжету для измерителя артериального давления, которая исключает вероятность бокового смещения и обеспечивает сильную аваскуляризацию даже в том случае, если манжета имеет меньшую ширину.
Следует отметить, что обхватывающая часть 152а, предусмотренная в воздушном мешке 150, не имеет конкретных ограничений в отношении размера, количества, формы или в отношении полимерного листа, образующего обхватывающую часть 152а. Хотя в настоящем примере был описан случай увеличения ширины полимерного листа 152 из полимерных листов, образующих воздушный мешок, подобный эффект можно обеспечить, даже если увеличить ширину полимерного листа 151. Однако в манжете 130А для измерителя артериального давления согласно настоящему примеру является предпочтительным, чтобы обхватывающая часть 152а была предусмотрена приблизительно в центральной части в продольном направлении воздушного мешка 150. Такая конструкция препятствует возникновению смещения в направлении ширины воздушного мешка 150 и изогнутого упругого элемента 160 приблизительно в центральной части в продольном направлении воздушного мешка 150, где происходит наибольшее увеличение размера воздушного мешка 150 по толщине, и это эффективно препятствует возникновению бокового смещения.
Пример 2
На фиг.8 схематически показан вид в сечении манжеты по примеру 2 на основании данного варианта осуществления изобретения. Части, подобные частям манжеты 130А для измерителя артериального давления по примеру 1, описанному выше, имеют такие же ссылочные обозначения, и их описание не будет повторяться.
Как показано на фиг.8, воздушный мешок 150 манжеты 130В для измерителя артериального давления согласно настоящему примеру выполнен в форме мешка с использованием четырех полимерных листов 151, 152, 153 и 154. Более конкретно, два полимерных листа 151, 152 приблизительно прямоугольной формы по двум измерениям наложены друг на друга и их кромки соединены методом сплавления для образования первого мешка, содержащего в себе первое пространство 157а для накачки/спуска. Кроме того, два полимерных листа 153, 154 приблизительно прямоугольной формы по двум измерениям наложены друг на друга и их кромки соединены методом сплавления для образования второго мешка, содержащего в себе второе пространство 157b для накачки/спуска. Первый и второй мешки затем наложены друг на друга и соединены методом сплавления в заданных местах, чтобы тем самым образовать единый мешок из двух слоев, имеющий первое пространство 157а для накачки/спуска и второе пространство 157b для накачки/спуска. Из четырех полимерных листов два полимерных листа 152, 153, расположенных в той области, где первый и второй мешки соединены друг с другом, имеют отверстия, выполненные заранее в заданных местах, соответствующих друг другу. Эти отверстия образуют сообщающееся отверстие 159, через которое первое пространство 157а для накачки/спуска сообщается со вторым отверстием 157b для накачки/спуска после образования воздушного мешка 150.
Полимерный лист 151 образует внутреннюю стенку, расположенную на внутренней стороне в состоянии, когда манжета 130В для измерителя артериального давления наложена на запястье. Полимерный лист 154 образует внешнюю стенку, расположенную на внешней стороне относительно внутренней стенки в состоянии, когда манжета 130В наложена на запястье. Поверхность внутренней стенки воздушного мешка 150 на запястной стороне действует в качестве рабочей поверхности 158 для сжатия запястья. Полимерные листы 152 и 153 соединены друг с другом методом сплавления для соединения первого и второго мешков, как описано выше. Полимерные листы 152 и 153 образуют боковые стенки воздушного мешка 150 на соответствующих концах в направлении ширины, расположенных на внешней стороне относительно соответствующей сплавленной части, и составляют соединительную часть, расположенную внутри воздушного мешка 150 в более внутреннем положении, чем сплавленная часть. Каждая боковая стенка действует как складка, которая расширяется в направлении толщины при накачке воздушного мешка 150. Соединительная часть служит для направления боковых стенок, действующих как складки, чтобы они гарантированно складывались внутрь, когда воздушный мешок 150 переходит из накачанного состояния в спущенное.
Воздушный мешок 150 имеет обхватывающую часть 154а, которая простирается наружу от каждого бокового конца в направлении ширины. Для образования этой обхватывающей части 154а из четырех полимерных листов 151. 152, 153 и 154, наложенных друг на друга, часть наружного полимерного листа 154 имеет ширину, которая больше ширины других полимерных листов 151, 152, 153 и ширины изогнутого упругого элемента 160. Обхватывающая часть 154а завернута вдоль торца изогнутого упругого элемента 160, чтобы покрыть часть внешней периферийной поверхности изогнутого упругого элемента 160, и прикреплена к внешней периферийной поверхности изогнутого упругого элемента 160 с помощью двусторонней липкой ленты 172.
Такая конструкция позволяет получить очень надежную манжету для измерителя артериального давления, препятствующую боковому смещению, как и в примере 1, описанном выше, и обеспечить сильную аваскуляризацию даже в том случае, если манжета имеет меньшую ширину.
Следует отметить, что обхватывающая часть 154а, предусмотренная в воздушном мешке 150, не имеет конкретных ограничений в отношении размера, количества, формы или в отношении полимерного листа, образующего обхватывающую часть 154а. Однако в данном примере манжеты 130В для измерителя артериального давления является предпочтительным, чтобы обхватывающая часть 154а была предусмотрена приблизительно в центральной части в продольном направлении воздушного мешка 150 по той же причине, что и в манжете 130А для измерителя артериального давления по примеру 1, описанному выше.
На фиг.9 показан вид в сечении, иллюстрирующий модификацию данного примера манжеты для измерителя артериального давления. Как показано на фиг.9, в манжете 130С для измерителя артериального давления согласно данной модификации часть полимерного листа 153, расположенного вторым снаружи из четырех полимерных листов 151, 152, 153 и 154, наложенных друг на друга, имеет большую ширину, чем остальные полимерные листы 151, 152, 154 и изогнутый упругий элемент 160, чтобы образовать обхватывающую часть 153а. Обхватывающая часть 153а завернута вдоль торца изогнутого упругого элемента 160, чтобы покрыть часть его внешней периферийной поверхности, и прикреплена к внешней периферийной поверхности изогнутого упругого элемента 160 с помощью двусторонней липкой ленты 172, чтобы тем самым исключить возникновение бокового смещения.
На фиг.10 показан вид в сечении другой модификации манжеты для измерителя артериального давления согласно данному примеру. Как показано на фиг.10, в данной модификации манжеты 130D для измерителя артериального давления часть полимерного листа 154, расположенного снаружи, и часть полимерного листа 153, расположенного вторым снаружи из четырех наложенных друг на друга полимерных листов 151, 152, 153 и 154, имеют большую ширину, чем остальные полимерные листы 151, 152 и изогнутый упругий элемент 160, чтобы образовать обхватывающие части 153а и 154а. Обхватывающие части 153а и 154а завернуты вдоль торца изогнутого упругого элемента 160, чтобы покрыть часть внешней периферийной поверхности изогнутого упругого элемента 160, и прикреплены к внешней периферийной поверхности изогнутого упругого элемента 160 с помощью двухсторонней липкой ленты 172, чтобы предотвратить возникновение бокового смещения.
Как было описано выше, в случае наложения нескольких полимерных листов друг на друга для образования многослойной конструкции мешка, содержащей несколько слоев пространств для накачки/спуска, как показано на фиг.8-10, обхватывающую часть можно образовать при использовании любого из полимерных листов или более чем одного полимерного листа, для чего существует множество вариантов.
Пример 3
На фиг.11 представлен схематически вид поперечного сечения манжеты для измерителя артериального давления по примеру 3 на основании данного варианта осуществления изобретения. Части, подобные частям манжеты 130А для измерителя артериального давления по примеру 1, описанному выше, имеют такие же ссылочные обозначения, и их описание не приводится.
Как показано на фиг.11, воздушный мешок 150 манжеты 130Е для измерителя артериального давления по данному примеру сформирован в виде мешка с использованием шести полимерных листов 151, 152, 153, 154, 155 и 156. Более конкретно, два полимерных листа 151, 152 приблизительно прямоугольной формы по двум измерениям наложены друг на друга и их кромки соединены методом сплавления для образования первого мешка, содержащего в себе первое пространство 157а для накачки/спуска. Два полимерных листа 153, 154 приблизительно прямоугольной формы по двум измерениям наложены друг на друга и их кромки соединены методом сплавления для образования второго мешка, содержащего в себе второе пространство 157b для накачки/спуска. Кроме того, два полимерных листа 155, 156 приблизительно прямоугольной формы по двум измерениям наложены друг на друга и их кромки соединены методом сплавления для образования третьего мешка, содержащего в себе третье пространство 157с для накачки/спуска. Затем первый, второй и третий мешки наложены друг на друга и соединены методом сплавления в заданных местах для образования единого мешка из трех слоев, содержащего в себе первое пространство 157а для накачки/спуска, второе пространство 157b для накачки/спуска и третье пространство 157с для накачки/спуска. Из шести полимерных листов два полимерных листа 152, 153, расположенных в той области, где первый и второй мешки соединены друг с другом, имеют отверстия, выполненные заранее в заданных местах, соответствующих друг другу. Эти отверстия образуют сообщающееся отверстие 159а, через которое первое пространство 157а для накачки/спуска сообщается со вторым пространством 157b для накачки/спуска после образования воздушного мешка 150. Кроме того, из шести полимерных листов два полимерных листа 154, 155, расположенных в той области, где второй и третий мешки соединены друг с другом, имеют отверстия, выполненные заранее в заданных местах, соответствующих друг другу, которые образуют сообщающееся отверстие 159b, через которое второе пространство 157b для накачки/спуска сообщается с третьим пространством 157с для накачки/спуска после образования воздушного мешка 150.
Полимерный лист 151 образует внутреннюю стенку, расположенную на внутренней стороне, когда манжета 130Е для измерителя артериального давления наложена на запястье. Полимерный лист 156 образует внешнюю стенку, расположенную на внешней стороне относительно внутренней стенки в состоянии, когда манжета 130Е наложена на запястье. Поверхность внутренней стенки воздушного мешка 150 на запястной стороне действует как рабочая поверхность 158 для сжатия запястья. Полимерные листы 152 и 153 соединены друг с другом методом сплавления для соединения первого и второго мешков, как было описано выше. Полимерные листы 152 и 153 образуют боковые стенки воздушного мешка 150 на соответствующих концах в направлении ширины, расположенные на внешней стороне относительно соответствующей сплавленной части, и образуют соединительную часть, расположенную внутри воздушного мешка 150 в более внутреннем положении, чем сплавленная часть. Кроме того, полимерные листы 154 и 155 соединены между собой методом сплавления, чтобы соединить второй и третий мешки, как описано выше. Полимерные листы 154 и 155 образуют боковые стенки воздушного мешка 150 на соответствующих концах в направлении ширины, расположенные на внешней стороне относительно соответствующей сплавленной части и образуют соединительную часть, расположенную внутри воздушного мешка 150 в более внутреннем положении, чем сплавленная часть. Каждая боковая стенка действует как складка, которая расширяется в направлении толщины при накачке воздушного мешка 150. Соединительные части предназначены для направления боковых стенок, служащих складками, чтобы они гарантированно складывались внутрь, когда воздушный мешок 150 переходит из накачанного состояния в спущенное.
Воздушный мешок 150 имеет обхватывающую часть 153а, которая простирается наружу от каждого торца в направлении ширины. Для образования этой обхватывающей части 153а из шести наложенных друг на друга полимерных листов 151, 152, 153, 154, 155 и 156 часть полимерного листа 153, образующего пространство 157b для накачки/спуска, имеет большую ширину, чем ширина остальных полимерных листов 151, 152, 154, 155, 156 и ширина изогнутого упругого элемента 160. Обхватывающая часть 153а завернута вдоль торца изогнутого упругого элемента 160, чтобы покрыть часть внешней периферийной поверхности изогнутого упругого элемента 160, и прикреплена к внешней периферийной поверхности изогнутого упругого элемента 160 с помощью двусторонней липкой ленты 172.
Такая конструкция позволяет получить очень надежную манжету для измерителя артериального давления, препятствующую боковому смещению, и обеспечить сильную аваскуляризацию даже в том случае, если манжета имеет меньшую ширину, как и в описанном выше примере 1. В частности, так как обхватывающая часть простирается от каждого бокового конца второго мешка, расположенного в середине трех мешков, наложенных друг на друга, можно эффективно реализовать исключение бокового смещения воздушного мешка и сохранение достаточной аваскуляризации. Если обхватывающую часть выполнить как часть третьего мешка, расположенного снаружи, ограничение первого и второго мешков на каждом боковом конце в направлении ширины этой обхватывающей частью будет недостаточным, и при этом может возникать боковое смещение. Если обхватывающую часть выполнить как часть первого мешка, расположенного внутри, накачка в направлении толщины воздушного мешка 150 на каждом боковом конце в направлении ширины будет недостаточной, и при этом будет невозможно удовлетворительно сжать запястье.
Следует отметить, что обхватывающая часть 153а, предусмотренная в воздушном мешке 150, обычно не имеет ограничений в отношении размера, количества, формы или в отношении полимерного листа, образующего обхватывающую часть 153а. Однако в данном примере манжеты 130Е для измерителя артериального давления является предпочтительным, чтобы обхватывающая часть 153а была предусмотрена приблизительно в центральной части в продольном направлении воздушного мешка 150 по той же причине, что и в манжете 130А измерителя артериального давления по примеру 1, описанному выше, а также по следующей причине.
Обычно кистевой измеритель артериального давления имеет такую конфигурацию, что приблизительно центральная часть в продольном направлении воздушного мешка располагается на ладонной стороне запястья в состоянии, когда манжета обернута вокруг запястья. Под кожей ладонной стороны запястья находится сухожилие, которое относительно тверже, чем другие части запястья. Поэтому, когда обхватывающая часть 153а предусмотрена приблизительно в центральной части в продольном направлении воздушного мешка 150, как описано выше, влияние этой обхватывающей части на сжатие и аваскуляризацию артерии можно уменьшить по сравнению со случаем, когда обхватывающая часть 153а выполнена в другом месте. Это позволяет уменьшить отрицательное влияние на сжатие и аваскуляризацию, вызванные наличием обхватывающей части 153а.
Пример 4
На фиг.12 представлен вид в сечении манжеты для измерителя артериального давления по примеру 4 согласно данному варианту осуществления изобретения. Части, подобные частям манжеты 130А для измерителя артериального давления по примеру 1, описанному выше, имеют те же самые ссылочные обозначения, и их описание не повторяется.
Как показано на фиг.12, в манжете 130F для измерителя артериального давления согласно данному примеру обхватывающая часть 152а манжеты 130А измерителя артериального давления по примеру 1 простирается дальше в направлении ширины, так что, когда обхватывающая часть 152а заворачивается вдоль торца изогнутого упругого элемента 160 и располагается на внешней периферийной поверхности изогнутого упругого элемента 160, две обхватывающие части 152а, простирающиеся от соответствующих боковых концов воздушного мешка 150, перекрывают друг друга на внешней периферийной поверхности изогнутого упругого элемента 160. В отличие от манжеты 130А для измерителя артериального давления по примеру 1, в которой обхватывающая часть 152а прикреплена к изогнутому упругому элементу 160, в данном примере две обхватывающие части 152а прикреплены друг к другу посредством двусторонней липкой ленты 173. Таким образом, в поперечном сечении в направлении ширины манжеты 130F для измерителя артериального давления полимерный лист 152 окружает изогнутый упругий элемент 160. То есть две обхватывающие части завернуты на соответствующих боковых концах воздушного мешка 150 к изогнутому упругому элементу 160, и при этом они прикреплены неподвижно друг к другу на внешней периферийной поверхности изогнутого упругого элемента 160, которая расположена на стороне изогнутого упругого элемента 160 по отношению к внешней поверхности внешней стенки воздушного мешка 150.
Такая конструкция позволяет получить очень надежную манжету для измерителя артериального давления без вероятности бокового смещения и обеспечить сильную аваскуляризацию даже в том случае, если манжета имеет меньшую ширину, как и в описанном выше примере 1.
Следует отметить, что обхватывающая часть 152а, предусмотренная в воздушном мешке 150, не имеет конкретных ограничений в отношении размера, количества, формы или в отношении полимерного листа, образующего обхватывающую часть 152а. Однако в данном примере манжеты 130F для измерителя артериального давления предпочтительно, чтобы обхватывающая часть 152а была предусмотрена приблизительно в центральной части в продольном направлении воздушного мешка 150 по той же причине, что и в манжете 130А измерителя артериального давления по примеру 1, описанному выше.
Пример 5
На фиг.13 представлен вид поперечного сечения манжеты измерителя артериального давления согласно примеру 5 данного варианта осуществления изобретения. Части, подобные частям манжеты 130А для измерителя артериального давления по примеру 1, описанному выше, имеют те же самые ссылочные обозначения, и их описание не повторяется.
Как показано на фиг.13, в манжете 130G для измерителя артериального давления согласно данному примеру обхватывающая часть 152а, предусмотренная на каждом боковом конце воздушного мешка 150, не прикреплена к внешней периферийной поверхности изогнутого упругого элемента 160 с помощью двусторонней липкой ленты, а прижата и закреплена посредством пластины 182. Более конкретно, как показано на фиг.13, обхватывающая часть 152а завернута назад вдоль торца изогнутого упругого элемента 160 и расположена на внешней периферийной поверхности изогнутого упругого элемента 160. Пластина 182, которая прикреплена к внешней периферийной поверхности изогнутого упругого элемента 160 винтом 181, используется для размещения обхватывающей части 152а между пластиной 182 и внешней периферийной поверхностью изогнутого упругого элемента 160 и для зажатия и закрепления обхватывающей части 152а между ними. Таким образом, две обхватывающие части 152 завернуты на соответствующих боковых концах воздушного мешка 150 к изогнутому упругому элементу 160 и неподвижно прикреплены к нему на его внешней периферийной поверхности, которая расположена на стороне изогнутого упругого элемента 160 по отношению к внешней поверхности внешней стенки воздушного мешка 150.
Такая конструкция также позволяет получить очень надежную манжету для измерителя артериального давления без вероятности бокового смещения и обеспечить сильную аваскуляризацию даже в том случае, если манжета имеет меньшую ширину, как и в описанном выше примере 1.
Следует отметить, что обхватывающая часть 152а, предусмотренная в воздушном мешке 150, обычно не имеет ограничений в отношении размера, количества, формы или в отношении полимерного листа, образующего обхватывающую часть 152а. Однако в данном примере манжеты 130G для измерителя артериального давления предпочтительно, чтобы обхватывающая часть 152а была предусмотрена приблизительно в центральной части в продольном направлении воздушного мешка 150 по той же причине, что и в манжете 130А измерителя артериального давления по описанному выше примеру 1.
Пример 6
На фиг.14 представлен вид поперечного сечения манжеты измерителя артериального давления согласно примеру 6 данного варианта осуществления изобретения. Части, подобные частям манжеты 130А для измерителя артериального давления по примеру 1, описанному выше, имеют те же самые ссылочные обозначения, и их описание не повторяется.
Как показано на фиг.14, в манжете 130Н для измерителя артериального давления согласно данному примеру обхватывающая часть 152а, предусмотренная на каждом боковом конце воздушного мешка 150, не прикреплена к внешней периферийной поверхности изогнутого упругого элемента 160 с помощью двусторонней липкой ленты, а закреплена посредством крючка 161, установленного на внешней периферийной поверхности изогнутого упругого элемента 160. Более конкретно, как показано на фиг.14, каждая обхватывающая часть 152а имеет отверстие в заданном месте, завернута вдоль торца изогнутого упругого элемента 160 и размещена на внешней периферийной поверхности изогнутого упругого элемента 160. Отверстия, предусмотренные на соответствующих обхватывающих частях 152а, зацепляются на соответствующие крючки 161. предусмотренные на внешней периферийной поверхности изогнутого упругого элемента 160, чтобы прикрепить обхватывающие части 152а к изогнутому упругому элементу 160. То есть две обхватывающие части 152а завернуты на соответствующих боковых концах воздушного мешка 150 к изогнутому упругому элементу 160 и неподвижно прикреплены к нему на его внешней периферийной поверхности, которая расположена на стороне изогнутого упругого элемента 160 по отношению к внешней поверхности внешней стенки воздушного мешка 150.
Такая конструкция также позволяет получить очень надежную манжету для измерителя артериального давления без вероятности бокового смещения и обеспечить сильную аваскуляризацию даже в том случае, если манжета имеет меньшую ширину, как в описанном выше примере 1.
Следует отметить, что обхватывающая часть 152а, предусмотренная в воздушном мешке 150, обычно не имеет ограничений в отношении размера, количества, формы или в отношении полимерного листа, образующего обхватывающую часть 152а. Однако в данном примере манжеты 130Н для измерителя артериального давления предпочтительно, чтобы обхватывающая часть 152а была предусмотрена приблизительно в центральной части в продольном направлении воздушного мешка 150 по той же причине, что и в манжете 130А измерителя артериального давления по описанному выше примеру 1.
На фиг.15 представлен вид поперечного сечения, показывающий модификацию манжеты для измерителя артериального давления согласно данному примеру. Как показано на фиг.15, в данной модификации манжеты 130I измерителя артериального давления два крючка 161, предусмотренных на внешней периферийной поверхности изогнутого упругого элемента 160 в описанном выше примере манжеты 130Н измерителя артериального давления, заменены общим крючком 162, и отверстия, предусмотренные на соответствующих обхватывающих частях 152а, зацепляются на крючок 162, чтобы прикрепить обхватывающие части 152а к изогнутому упругому элементу 160 и тем самым предотвратить возникновение бокового смещения.
В описанном выше первом варианте осуществления изобретения пояснялся случай, когда несколько полимерных листов наложены друг на друга и соединены методом сплавления для образования воздушного мешка. Однако воздушный мешок не обязательно формировать с использованием нескольких полимерных листов, его можно выполнить из одного листа цилиндрической формы. Настоящее изобретение также применимо и в этом случае.
Кроме того, в первом варианте осуществления изобретения был описан случай, в котором используется двусторонняя липкая лента для присоединения изогнутого упругого элемента к воздушному мешку. Однако эти элементы не обязательно должны соединяться клеем или т.п., их можно соединить другим способом или оставить совершенно не связанными друг с другом.
Кроме того, в первом варианте осуществления изобретения был описан случай, в котором настоящее изобретение применяется в манжете для кистевого измерителя артериального давления, предполагающего использование запястья в качестве участка измерения. Однако настоящее изобретение можно использовать в манжете для любого типа измерителя артериального давления, включая измеритель артериального давления, накладываемый на плечо или на палец.
Второй вариант осуществления изобретения
На фиг.16 представлен перспективный вид детектора пульсовых волн согласно второму варианту осуществления настоящего изобретения, иллюстрирующий состояние наложения на живое тело. На фиг.17 представлен вид поперечного сечения детектора пульсовых волн в состоянии, показанном на фиг.16. На фиг.18 представлен перспективный вид блока датчика детектора пульсовых волн согласно данному варианту осуществления изобретения.
Как показано на фиг.16 и 17, детектор 200 пульсовых волн согласно данному варианту осуществления настоящего изобретения содержит блок 230 датчика, имеющий полупроводниковую микросхему 236, на которой расположены в виде матрицы полупроводниковые датчики давления, называемый «чувствительным к давлению блоком», платформу 220 и крепежные ленты 221, 222, служащие в качестве средства для фиксации положения живого тела, и ПК (персональный компьютер) 280 (см. фиг.19).
Блок 230 датчика состоит из корпуса 231, содержащего полупроводниковую микросхему 236, и основания 232, на котором скользяще установлен корпус 231. Воздушный мешок 250, называемый «мешок для текучей среды» и выполняющий функцию сжимающего элемента, расположен внутри корпуса 231, а полупроводниковая микросхема 236, описанная выше, прикреплена к нижней поверхности воздушного мешка 250. Как показано на фиг.18, на нижней поверхности корпуса 231 предусмотрено отверстие, через которое опускается полупроводниковая микросхема 236 при накачке воздушного мешка 250, благодаря чему полупроводниковые датчики давления прижимаются к поверхности запястья 300 в момент измерения. Следует отметить, что полупроводниковая микросхема 236 покрыта защитным колпаком 238 для защиты от повреждений, как показано на фиг.18.
Как видно на фиг.16 и 17, платформа 220 представляет собой элемент в форме коробки, имеющий вогнутую часть 220а на верхней поверхности, на которую может опираться часть руки человека от локтя до запястья и в которой находится нагнетательный насос 202, насос 203 отрицательного давления и клапан 204, называемые вместе «блок 214 для накачки/спуска» (см. фиг.19). Внутри платформы 220 также расположена схема 205 управления для управления блоком 214 для накачки/спуска.
На фронтальной поверхности платформы 220 предусмотрен терминал для ввода/вывода данных, а схема 205 управления, расположенная внутри платформы 220, подсоединена к ПК 280 с возможностью обмена данными через коммуникационный кабель, например шину USB (универсальную последовательную шину). Кроме того, блок 230 датчика и платформа 220 соединены между собой сигнальной шиной 218 и воздушной трубкой 219 (см. фиг.18). Крепежные ленты 221, 222, обладающие эластичностью, соединяют блок 230 датчика с платформой 220.
В детекторе 200 пульсовых волн, имеющем конструкцию, показанную на фиг.16 и 17, рука от локтя до запястья опирается на вогнутую часть 220а платформы 220, а крепежные ленты 221, 222 используются для закрепления блока 230 датчика на запястной части руки, чтобы тем самым наложить детектор пульсовых волн 200 на живое тело. Затем накачивают воздушный мешок 250, содержащийся в блоке 230 датчика, чтобы прижать полупроводниковую микросхему 236, закрепленную на нижней поверхности воздушного мешка 250, к месту на запястье, соответствующему лучевой артерии 353, для детектирования пульсовых волн.
На фиг.19 представлена структурная схема, иллюстрирующая конструкцию детектора пульсовых волн согласно данному варианту осуществления изобретения. Как показано на фиг.19, блок 230 датчика содержит полупроводниковую микросхему 236, имеющую множество полупроводниковых датчиков давления, образованных из диафрагм и мостовой схемы для измерения сопротивлений, предназначенных для определения пульсового давления, мультиплексор 207 в качестве блока для извлечения сигнала для выполнения временного мультиплексирования множества сигналов напряжения, выданных полупроводниковыми датчиками давления и их выборочного извлечения, и воздушный мешок 250, который накачивается и регулируется для прижатия полупроводниковых датчиков давления к запястью.
Платформа 220 содержит нагнетательный насос 202 для повышения внутреннего давления воздушного мешка 250, насос 203 с отрицательным давлением для уменьшения давления, клапан 204 для выборочного подсоединения либо нагнетательного насоса 202, либо насоса 203 с отрицательным давлением к воздушной трубке 219, схему 205 управления для управления операциями нагнетательного насоса 202, насоса 203 с отрицательным давлением и клапана 204, и А/Ц преобразователь 208, называемой «блок для А/Ц преобразования», предназначенный для преобразования выходного сигнала, полученного из блока 230 датчика, в цифровые данные. Нагнетательный насос 202, насос 203 с отрицательным давлением и клапан 204 выполняют функцию блока для накачки/спуска, предназначенного для накачки/спуска воздушного мешка 250, называемого «мешок для текучей среды».
ПК 280 имеет ЦПУ 209, называемое «процессорный блок», для выполнения различных видов обработки, включая вычисления для централизованного управления детектором 200 пульсовых волн, ПЗУ (постоянное запоминающее устройство) 210 и ОЗУ (оперативное запоминающее устройство) 211 для хранения данных и программ для управления детектором 200 пульсовых волн, управляющую часть 212, выполненную с возможностью ввода различной информации, и дисплей 213, выполненный в форме ЖКД (жидкокристаллического дисплея) или т.п., для вывода различной информации, такой как результат измерения пульсовых волн. Следует отметить, что ЦПУ 209 также выполняет функцию блока для измерения пульсовых волн, предназначенного для измерения пульсовых волн на основании информации о давлении, детектированной полупроводниковым датчиком давления, называемым «чувствительный к давлению блок».
На фиг.20 представлен алгоритм, иллюстрирующий процесс измерения пульсовых волн в детекторе пульсовых волн согласно данному варианту осуществления изобретения. Программа этого алгоритма и данные, к которым необходимо обращаться во время выполнения программы, заранее сохраняются в ПЗУ 210 или ОЗУ 211, и процесс измерения пульсовых волн выполняется в процессе того, как ЦПУ 209 считывает и исполняет программу, обращаясь при этом к соответствующим данным.
Сначала, когда пользователь включает питание (не показано), ЦПУ 209 предписывает схеме 205 управления привести в действие насос 203 с отрицательным давлением. Схема 205 управления переключает клапан 204 в сторону насоса 203 с отрицательным давлением на основании команды приведения в действие насоса 203 с отрицательным давлением (этап S201).
Насос 203 с отрицательным давлением, когда он приведен в действие, снижает внутреннее давление воздушного мешка 250 до величины, которая достаточно ниже атмосферного давления, через клапан 204, и при этом полупроводниковая микросхема 236 движется вверх в блоке 230 датчика. Это препятствует случайному выпячиванию полупроводниковой микросхемы 236, которое могло бы вызвать сбой в работе или отказ.
После этого, когда пользователь накладывает блок 230 датчика на запястье, как показано, например, на фиг.16, и нажимает на кнопку «пуск» (не показана), определяется, переместилась ли полупроводниковая микросхема 236, т.е. соскользнул ли корпус 231 блока 230 датчика по направляющей канавке вниз, чтобы расположиться на поверхности запястья (этап S202). Внутри корпуса блока 230 датчика имеется микропереключатель (не показан) для обнаружения этого скользящего движения, и ЦПУ 209 определяет, переместилась ли полупроводниковая микросхема 236 на основании сигнала обнаружения от этого микропереключателя.
Если не обнаружено, что микросхема переместилась («НЕТ» на этапе S202), то процесс этапа S201 повторяется. Если же обнаружено, что микросхема переместилась («ДА» на этапе S202), то ЦПУ 209 предписывает схеме 205 управления привести в действие нагнетательный насос 202. В ответ на эту команду схема 205 управления переключает клапан 204 в сторону нагнетательного насоса 202 для приведения его в действие (этап S203). При этом внутреннее давление воздушного мешка 250 увеличивается, полупроводниковая микросхема 236 движется вниз к запястью и прижимается к поверхности запястья.
Когда полупроводниковая микросхема 236 прижимается к поверхности запястья, информация о давлении извлекается из сигнала напряжения от полупроводникового датчика давления через мультиплексор 207 и затем преобразуется в цифровую информацию в А/Ц преобразователе 208, и подается в ЦПУ 209. ЦПУ 209 использует цифровую информацию для построения тонограммы и отображает ее на дисплее 213 (этап S204).
Затем для определения пульсовых волн на основании информации о давлении, поступившей из полупроводникового датчика давления, ЦПУ 209 вычисляет величину изменения в уровне прижатия воздушного мешка 250 и сравнивает вычисленную величину изменения с заданной величиной изменения, по которой можно детектировать пульсовые волны (этап S205). Если в результате такого сравнения вычисленная величина изменения отвечает заданной величине изменения, то определяется, что условие давления в воздушном мешке для определения пульсовых волн удовлетворено («ДА» на этапе S206). В противном случае процессы этапов S205 и S206 повторяются до тех пор, пока не будет удовлетворено условие давления в воздушном мешке.
Когда условие давления в воздушном мешке удовлетворено («ДА» на этапе S206), нагнетательный насос 202 регулируется таким образом, чтобы уровень прижатия воздушного мешка 250 к полупроводниковым датчикам давления стал оптимальным для детектирования пульсовых волн (этап S207).
После установки воздушного мешка 250 на оптимальное давление выходная информация о давлении из полупроводникового датчика давления, т.е. данные формы сигнала пульсовой волны лучевой артерии, передается через мультиплексор 207 и А/Ц преобразователь 208 в ЦПУ 209 (этап S208).
ЦПУ 209 принимает данные формы сигнала и детектирует пульсовые волны на основании принимаемых данных формы сигнала. Процесс передачи данных пульсовой волны на этапе S208 повторяется до тех пор, пока не будет определено, что данные формы сигнала получены и заданное условие для завершения детектирования пульсовых волн удовлетворено. Процесс детектирования пульсовых волн на основании принятых данных формы сигнала выполняется по известному методу, и его подробное описание не приводится.
Если заданное условие для завершения определения пульсовых волн удовлетворено («ДА» на этапе S209), ЦПУ 209 управляет клапаном 204 и приводит в действие насос 203 с отрицательным давлением (этап S210). При этом прекращается прижатие полупроводниковой микросхемы 236 к запястью и завершается последовательность процессов детектирования пульсовых волн.
ЦПУ 209 выдает детектированную информацию о пульсовых волнах через дисплей 213 или т.п. Кроме того, информацию о пульсовых волнах можно использовать для вычисления индекса аугментации (ИА) для его выдачи.
На фиг.21 представлен вид в сечении корпуса блока датчика детектора пульсовых волн согласно данному варианту осуществления изобретения. На фиг.22 показан схематически в разобранном виде корпус, изображенный на фиг.21. Как видно на фиг.21 и 22, корпус 231 блока 230 датчика детектора 200 пульсовых волн согласно данному варианту осуществления изобретения имеет нижний корпус 231а и верхний корпус 231b. Нижний корпус 231а имеет основание 239 в форме пластины, и воздушный мешок 250 прикреплен к этому основанию 239. Воздушный мешок 250 имеет нижнюю стенку 251, включающую в себя рабочую поверхность 258 для сжатия запястья, и верхнюю стенку 252, противоположную нижней стенке 251, а также содержит в себе пространство 257 для накачки/спуска. На рабочей поверхности 258 воздушного мешка 250 для сжатия запястья штифтом 244 прикреплено опорное основание 237. Полупроводниковая микросхема 236 прикреплена к нижней поверхности опорного основания 237 и покрыта защитным колпаком 238.
На соответствующих боковых концах воздушного мешка 250 предусмотрены обхватывающие части 252а. Каждая обхватывающая часть 252а завернута вдоль торца основания 239 нижнего корпуса 231а и простирается на вторую основную поверхность (верхнюю поверхность) основания 239, которая расположена по другую сторону от первой основной поверхности (нижней поверхности) основания 239, обращенной к воздушному мешку 250. Отверстие 252а1 предусмотрено в заданном месте на обхватывающей части 252а, и отверстие 252а1 зацепляется на крючок 239а, установленный на верхней поверхности основания 239. Кроме того, пластина 240 прикреплена сверху к верхней поверхности основания 239, на которую завернута обхватывающая часть 252а. Пластина 240 прикреплена к основанию 239 посредством винта 242, в результате чего обхватывающая часть 252а прижата и неподвижно соединена с верхней поверхностью основания 239. Следует отметить, что пластина 240 имеет отверстие 240а, через которое проходит крючок 239а.
В описанном выше детекторе пульсовых волн также можно реализовать конструкцию, снабженную воздушным мешком, без вероятности возникновения бокового смещения, как и в случае измерителя артериального давления согласно первому варианту осуществления изобретения. Следовательно, можно создать детектор пульсовых волн, который исключает возникновение бокового смещения и может прочно прижимать чувствительную к давлению поверхность к живому телу, когда накачивается воздушный мешок и полупроводниковый датчик движется вниз заданным образом, чтобы прижаться к живому телу для измерения пульсовых волн. Соответственно, можно получить очень надежный и точный детектор пульсовых волн.
Как в первом, так и во втором вариантах осуществления настоящего изобретения, описанных выше, пояснялся случай, когда обхватывающая часть завернута и неподвижно закреплена на второй основной поверхности основания (внешней периферийной поверхности изогнутого упругого элемента в случае манжеты для измерителя артериального давления). Однако такая конструкция не является ограничительной. Например, обхватывающую часть можно прикрепить к другому элементу, а не только к основанию, или ее можно прикрепить к торцу основания, если основание имеет достаточную величину по толщине. В любом случае задачу настоящего изобретения – предотвращение бокового смещения – можно реализовать, если обхватывающая часть завернута к стороне основания, обращенной к области контакта между воздушным мешком и основанием, и если обхватывающая часть неподвижно прикреплена к любому месту в области на стороне основания, обращенной к соответствующей части области контакта.
Несмотря на то что настоящее изобретение было подробно описано и проиллюстрировано выше, понятно, что это описание является всего лишь примерной иллюстрацией, которую не следует рассматривать как ограничение, так как объем притязаний настоящего изобретения ограничен только прилагаемой формулой изобретения.
Формула изобретения
1. Устройство для сжатия живого тела, содержащее мешок для текучей среды, накачиваемый и спускаемый при поступлении и выходе текучей среды и имеющий рабочую поверхность, сжимающую поверхность живого тела, и основание, расположенное вдоль основной поверхности мешка для текучей среды, расположенной по другую сторону от рабочей поверхности, причем упомянутый мешок для текучей среды имеет обхватывающую часть, простирающуюся от бокового конца мешка для текучей среды, упомянутая обхватывающая часть завернута на боковом конце мешка для текучей среды к основанию и закреплена неподвижно на стороне основания по отношению к основной поверхности мешка для текучей среды, расположенной по другую сторону от рабочей поверхности.
2. Устройство по п.1, в котором основание выполнено из элемента в форме пластины, имеющего первую основную поверхность, обращенную к мешку для текучей среды, и вторую основную поверхность, расположенную по другую сторону от первой основной поверхности, и упомянутая обхватывающая часть завернута на боковом конце мешка для текучей среды на вторую основную поверхность основания и неподвижно закреплена на второй основной поверхности.
3. Устройство по п.1, кольцеобразно обернутое вокруг живого тела для измерения величины артериального давления, в котором упомянутый мешок для текучей среды имеет продольное направление и направление ширины, таким образом, что упомянутый мешок для текучей среды имеет возможность кольцеобразного обертывания вокруг живого тела, упомянутое основание выполнено из упругого элемента, имеющего возможность кольцеобразного обертывания вокруг внешней стороны мешка для текучей среды и изменения размера в радиальном направлении, причем упомянутый мешок для текучей среды имеет внутреннюю стенку, расположенную на внутренней стороне при его обертывании вокруг живого тела, внешнюю стенку, расположенную на внешней стороне относительно внутренней стенки, и обхватывающую часть, простирающуюся от бокового конца в направлении ширины мешка для текучей среды, и упомянутая обхватывающая часть завернута на боковом конце к упругому элементу и неподвижно закреплена на месте на стороне упругого элемента со стороны внешней поверхности упомянутой внешней стенки.
4. Устройство по п.3, в котором упомянутая обхватывающая часть предусмотрена по меньшей мере в одном месте на каждом боковом конце в направлении ширины мешка для текучей среды.
5. Устройство по п.3, котором упомянутый упругий элемент выполнен из элемента в форме пластины, имеющего внутреннюю периферийную поверхность, обращенную к мешку для текучей среды, и внешнюю периферийную поверхность, противоположную упомянутой внутренней периферийной поверхности, и упомянутая обхватывающая часть завернута на боковом конце на внешнюю периферийную поверхность упругого элемента и неподвижно закреплена на ней.
6. Устройство по п.5 в котором упомянутая обхватывающая часть прикреплена к внешней периферийной поверхности упругого элемента.
7. Устройство по п.5, в котором упомянутые обхватывающие части, предусмотренные на соответствующих боковых концах в направлении ширины мешка для текучей среды, перекрываются и прикреплены друг к другу на внешней периферийной поверхности.
8. Устройство по п.3, в котором упомянутый мешок для текучей среды образован посредством наложения друг на друга нескольких листов и соединения их кромок для образования пространства, а упомянутая обхватывающая часть образована путем удлинения наружу кромки по меньшей мере одного из листов.
9. Устройство по п.3 в котором упомянутая обхватывающая часть расположена в центральной части в продольном направлении мешка для текучей среды.
10. Устройство для измерения артериального давления, содержащее устройство для сжатия живого тела по п.3, блок для накачки/спуска, предназначенный для накачки и спуска упомянутого мешка для текучей среды, блок для детектирования давления, предназначенный для детектирования давления в мешке для текучей среды, и блок для вычисления величины артериального давления, предназначенный для вычисления величины артериального давления на основании информации о давлении, детектированной блоком для детектирования давления.
11. Устройство для измерения артериального давления, содержащее устройство для сжатия живого тела по п.1, блок для накачки/спуска, предназначенный для накачки и спуска упомянутого мешка для текучей среды, блок для детектирования давления, предназначенный для детектирования давления в мешке для текучей среды, и блок для вычисления величины артериального давления, предназначенный для вычисления величины артериального давления на основании информации о давлении, детектированной блоком для детектирования давления.
12. Устройство для детектирования пульсовых волн, содержащее устройство для сжатия живого тела по п.1, чувствительный к давлению блок, предусмотренный на рабочей поверхности мешка для текучей среды, блок для накачки/спуска, предназначенный для накачки и спуска упомянутого мешка для текучей среды, и блок для измерения пульсовой волны, предназначенный для измерения пульсовой волны на основании информации о давлении, детектированной чувствительным к давлению блоком.
РИСУНКИ
|
|