|
| На основании пункта 3 статьи 13 Патентного закона Российской Федерации от 23 сентября 1992 г. № 3517-I патентообладатель обязуется передать исключительное право на изобретение (уступить патент) на условиях, соответствующих установившейся практике, лицу, первому изъявившему такое желание и уведомившему об этом патентообладателя и федеральный орган исполнительной власти по интеллектуальной собственности, – гражданину РФ или российскому юридическому лицу. |
|
(21), (22) Заявка: 2006127764/14, 31.07.2006
(24) Дата начала отсчета срока действия патента:
31.07.2006
(43) Дата публикации заявки: 27.12.2006
(46) Опубликовано: 10.02.2008
(56) Список документов, цитированных в отчете о поиске:
US 5540231 А, 30.07.1996. US 5792061 А, 11.08.1998. FR 1045001 А, 23.11.1953. US 1998903 А, 23.04.1935. DE 871189 А, 19.03.1953. SU 1656155 A1, 15.06.1991. US 2004/0131482 A1, 08.07.2004.
Адрес для переписки:
614000, г.Пермь, ул. Осинская, 2а-12, Т.М. Зиньковской
|
(72) Автор(ы):
Зиньковская Татьяна Михайловна (RU)
(73) Патентообладатель(и):
Зиньковская Татьяна Михайловна (RU)
|
(54) СПОСОБ ИЗМЕРЕНИЯ ДАВЛЕНИЯ КРОВИ
(57) Реферат:
Изобретение относится к медицине и может быть использовано при измерении давления крови. Способ измерения давления крови включает наложение на конечность пережимающей манжеты, нагнетание воздуха в манжету вручную и дальнейшее прослушивание ударов пульса при выпуске воздуха из манжеты. Нагнетание воздуха обеспечивается поступательными давящими усилиями ладони при помощи упругого нагнетателя воздуха и приспособления для его сжатия. Техническим результатом изобретения является удобство измерения давления крови и снижение утомляемости. 1 ил.
Изобретение относится к медицинской промышленности и может быть использовано при измерении давления крови.
Известен способ измерения давления крови при помощи устройств, содержащее манжету, манометр, нагнетатель воздуха, механизм выпуска воздуха, приспособление для сжатия нагнетателя воздуха и трубки, соединяющие манжету с манометром и нагнетателем воздуха (см. KZ 10724 А, А61В 5/022, 15.10.2001 (3 листа)).
К недостаткам данного способа относится то, что оно требует при измерении давления крови многократных сжимающих усилий кисти рук. Указанный способ является наиболее близким по технической сущности к предлагаемому техническому решению.
Техническим результатом изобретения является удобство при измерении давления крови.
Технический результат достигается за счет того, что при измерении давления крови, включающем наложение на плечо или конечность пережимающей манжеты, нагнетание воздуха в манжету вручную при помощи упругого нагнетателя воздуха и приспособления для его сжатия и дальнейшее прослушивание ударов пульса при выпуске воздуха из манжеты, нагнетание воздуха обеспечивается поступательными давящими усилиями ладони или ноги.
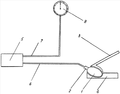
На чертеже показано устройство для измерения давления крови, содержащее нагнетатель воздуха 1 в виде груши с механизмом выпуска воздуха 2, приспособлением для сжатия, состоящим из элементов 3, 4, подвижно соединенных между собой со стороны механизма выпуска воздуха 2, манжету 5 с трубками 6 и 7 и манометр 8. Измерение давления крови производится аускультативным способом по Короткову, сущность которого сводится к наложению на плечо или конечность пережимающей манжеты 5, нагнетанию воздуха под давлением при помощи упругого нагнетателя воздуха 1 по трубке 6 в манжету 5 и дальнейшему прослушиванию ударов пульса при выпуске воздуха из манжеты 5 при помощи механизма выпуска 2.
В начале измерения элемент 3 приспособления для сжатия нагнетателя воздуха отводится против часовой стрелки в крайнее левое положение. В приспособление вставляется нагнетатель воздуха 1 в виде груши, после чего элемент 3 возвращается в исходное состояние. При помощи трубки 7 воздух из манжеты 5 подается в манометр 8, которым и измеряется давление крови.
Нагнетание воздуха под давлением обеспечивается поступательными давящими усилиями ладони в случае настольного исполнения приспособления для сжатия упругого нагнетателя воздуха и давящими усилиями ноги при его напольном исполнении. Преимущества предлагаемого устройства:
1. Сжимающие усилия кисти рук заменены на поступательные давящие движения ладони или ноги, что является особенно важным при массовых медицинских осмотрах.
2. Становится возможным самостоятельное измерение давления крови людьми без кисти рук, достаточно лишь двух пальцев руки для выпуска воздуха (расширение эксплуатационных возможностей).
3. Снижается утомляемость медицинских работников, повышается их производительность.
4. Исчезают болезненные ощущения в кисти руки после многократного измерения давления.
Предлагаемый способ измерения давления крови является новым признаком, дающим основание считать его соответствующим критерию «новизна». Предлагаемое техническое решение для специалиста явным образом не следует из уровня техники, имеет промышленное применение.
Формула изобретения
Способ измерения давления крови, включающий наложение на конечность пережимающей манжеты, нагнетание воздуха в манжету вручную при помощи упругого нагнетателя воздуха и приспособления для его сжатия и дальнейшее прослушивание ударов пульса при выпуске воздуха из манжеты, отличающийся тем, что нагнетание воздуха обеспечивается поступательными давящими усилиями ладони.
РИСУНКИ
|
|