|
|
(21), (22) Заявка: 2006111126/11, 05.04.2006
(24) Дата начала отсчета срока действия патента:
05.04.2006
(46) Опубликовано: 10.02.2008
(56) Список документов, цитированных в отчете о поиске:
RU 2166243 С2, 10.05.2001. SU 133704 А1, 01.01.1960. WO 9729628 А1, 21.08.1997. US 2005130724 А1, 16.06.2005. JP 2005237276 А, 08.09.2005.
Адрес для переписки:
610007, г.Киров, ул. Ленина, 166а, Государственное учреждение Зональный научно-исследовательский институт сельского хозяйства Северо-Востока им. Н.В. Рудницкого
|
(72) Автор(ы):
Бурков Александр Иванович (RU), Симонов Максим Васильевич (RU), Корякин Василий Алексеевич (RU)
(73) Патентообладатель(и):
Государственное учреждение Зональный научно-исследовательский институт сельского хозяйства Северо-Востока им. Н.В. Рудницкого (RU)
|
(54) ВЫТИРАЮЩЕЕ УСТРОЙСТВО
(57) Реферат:
Изобретение относится к сельскохозяйственному машиностроению, а именно к устройствам для вытирания и очистки семян многолетних трав и других культур. Устройство содержит цилиндрический барабан с горизонтальной осью вращения и закрепленными на его боковой поверхности бичами, охватывающую барабан деку, загрузочный бункер с транспортирующим устройством и устройство выброса. Дека имеет начальный и конечный участки. Начальный участок выполнен в виде сплошной энтгранерной поверхности. Конечный участок включает сплошную энтгранерную и сменную перфорированную поверхности. Достигается повышение степени вытирания семян при низком уровне травмирования. 1 з.п. ф-лы, 1 ил.
Изобретение относится к сельскохозяйственному машиностроению, а именно к устройствам для вытирания и очистки семян многолетних трав и других культур.
Известно терочное устройство, содержащее терочный цилиндрический кожух с загрузочной и выгрузной горловинами, внутри которого размещены дека со сплошной терочной поверхностью и барабан с рабочими элементами, например бичами (А.с. СССР №1639473, кл. А 01/7/06, 11/04, 1997. Бюл. №13).
Недостатком устройства является высокое травмирование семян, которое происходит вследствие воздействия бичей на выделенные из оболочек семена и вызвано отсутствием в конструкции деки перфорированной поверхности, позволяющей выводить их из рабочей зоны.
Задача сепарации свободных семян решена в перетирающем устройстве, содержащем цилиндрический барабан с горизонтальной осью вращения и закрепленными по спирали на его боковой поверхности бичами, охватывающую барабан прутковую решетчатую деку, загрузочный бункер с транспортирующим устройством и устройство выброса (Патент РФ 2166243, кл. А01Р 11/02, 2001. Бюл. №13). По технической сущности и совокупности существующих признаков данное устройство наиболее близко заявляемому и принято за прототип.
Недостатком прототипа является низкая вследствие применения прутковой решетчатой деки степень вытирания семян.
Задачей изобретения является повышение степени вытирания семян при низком уровне травмирования.
Поставленная задача решена с помощью предлагаемого вытирающего устройства, содержащего цилиндрический барабан с горизонтальной осью вращения и закрепленными на его боковой поверхности бичами, охватывающую барабан деку, загрузочный бункер с транспортирующим устройством и устройство выброса, причем дека имеет начальный и конечный участки. Кроме того, начальный участок выполнен в виде сплошной энтгранерной поверхности, а конечный включает сплошную энтгранерную и семенную перфорированные поверхности, последняя из которых размещена в нижней части деки.
Повышение степени вытирания семян достигается за счет интенсивного перетирания обрабатываемого материала при его движении по энтгранерным начальному и конечному участкам деки, а низкий уровень их травмирования – за счет выделения из обрабатываемого материала свободных от оболочек семян при его движении по нижней перфорированной поверхности конечного участка деки.
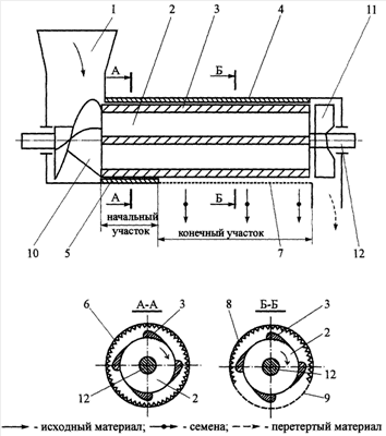
На чертеже изображена схема вытирающего устройства.
Устройство содержит загрузочный бункер 1, барабан 2 с закрепленными на его боковой поверхности бичами 3, деку 4, состоящую из начального участка 5, выполненного в виде сплошной энтгранерной поверхности 6, и конечного 7, включающего энтгранерную поверхность 8 и расположенную в нижней его части сменную перфорированную поверхность 9, транспортирующее устройство 10, устройство выброса 11. Транспортирующее устройство 10 выполнено в виде шнека, сопряженного основанием с барабаном 2, а устройство выброса 11 – в виде крыльчатки и установлены вместе с барабаном 2 на вращающемся валу 12, ось которого совпадает с их геометрическими осями.
Устройство работает следующим образом.
Обрабатываемый материал (например, клеверную пыжину) засыпают в загрузочный бункер 1, откуда он транспортирующим устройством 10 направляется в рабочую зону, образованную вращающимся барабаном 2 и декой 4. При вращении барабана 2 бичи 3 протаскивают ворох по деке 4, а транспортирующее устройство 10 обеспечивает его осевое перемещение. Возникающие при этом нормальное давление в сжатом слое материала и силы трения обуславливают его перетирание. Трудноперетираемые компоненты вороха интенсивно обрабатываются при его движении по начальному участку 5 деки 4, улучшая тем самым условия для вытирания семян при движении материала по конечному ее участку 7. Вытертые семена через отверстия перфорированной поверхности 9 выводятся из рабочей зоны, что уменьшает возможность их травмирования. Остатки перетертого материала (отходы) устройством 11 выброса выводятся наружу.
Перфорированная поверхность с целью снижения травмирования и повышения степени вытирания семян различных культур и сортов подбирается и устанавливается с отверстиями, соответствующими размерам семян.
Применение деки 4, начальный участок которой выполнен в виде сплошной энтгранерной поверхности, а конечный имеет сплошную энтгранерную и сменную перфорированную поверхности, последняя из которых размещена в нижней части деки, позволяет повысить степень вытирания семян при низком уровне травмирования.
Формула изобретения
1. Вытирающее устройство, содержащее цилиндрический барабан с горизонтальной осью вращения и закрепленными на его боковой поверхности бичами, охватывающую барабан деку, загрузочный бункер с транспортирующим устройством и устройство выброса, отличающееся тем, что дека имеет начальный и конечный участки, причем начальный участок выполнен в виде сплошной энтгранерной поверхности, а конечный участок включает сплошную энтгранерную и сменную перфорированную поверхности.
2. Вытирающее устройство по п.1, отличающееся тем, что сменная перфорированная поверхность размещена в нижней части деки.
РИСУНКИ
MM4A – Досрочное прекращение действия патента СССР или патента Российской Федерации на изобретение из-за неуплаты в установленный срок пошлины за поддержание патента в силе
Дата прекращения действия патента: 06.04.2008
Извещение опубликовано: 20.05.2010 БИ: 14/2010
|
|