|
|
(21), (22) Заявка: 2006120497/09, 13.06.2006
(24) Дата начала отсчета срока действия патента:
13.06.2006
(46) Опубликовано: 27.01.2008
(56) Список документов, цитированных в отчете о поиске:
RU 2262215 C1, 10.10.2005. RU 2248681 C2, 20.03.2005. US 4933533 A, 12.06.1990. GB 2372927, 04.09.2002. FR 2671258, 03.07.1992.
Адрес для переписки:
420029, Республика Татарстан, г.Казань, ул. Сибирский тракт, 27, ООО Научно-производственное предприятие “РЕЗТЕХКОМПЛЕКТ”
|
(72) Автор(ы):
Галяутдинов Артур Рафаэлевич (RU), Галяутдинов Рафаэль Тагирович (RU), Кашапов Наиль Фаикович (RU)
(73) Патентообладатель(и):
ООО Научно-производственное предприятие “РЕЗТЕХКОМПЛЕКТ” (RU)
|
(54) ВЫСОКООТРАЖАЮЩЕЕ ЗЕРКАЛО С ОБОГРЕВОМ
(57) Реферат:
Изобретение относится к конструкции высокоотражающих зеркал с обогревом, применяемых в качестве декоративных фасадных стекол зданий, автомобильных зеркал, обеспечивающих безопасность эксплуатации транспортных средств, а также в качестве зеркальных нагревательных панелей для обогрева помещений. Устройство содержит стеклянную подложку, отражающий токопроводящий слой из нержавеющей стали геометрической толщиной от 20 до 1000 нм, электропроводящие контакты, двухслойное покрытие из оксидов, причем верхний слой выполнен из оксида титана, расположенные на внешней стороне подложки, отличающееся тем, что прилегающий к слою из нержавеющей стали слой выполнен из оксида кремния геометрической толщиной 60-70 нм, а геометрическая толщина слоя оксида титана имеет величину 50-60 нм. Техническим результатом является увеличение коэффициента отражения зеркала с обогревом до 85% в видимой области спектра 0,4-0,7 мкм при стабильном электрическом сопротивлении нагревательного элемента. 1 ил.
Изобретение относится к конструкции высокоотражающих зеркал с обогревом, применяемых в качестве декоративных фасадных стекол зданий, автомобильных зеркал, обеспечивающих безопасность эксплуатации транспортных средств, а также в качестве зеркальных нагревательных панелей для обогрева помещений.
Обогрев внешнего автомобильного зеркала актуален для территорий с влажным и холодным климатом, поскольку является эффективным и универсальным средством, позволяющим удалять с поверхности зеркала не только капли воды, но и иней, снег и лед, а также препятствует обмерзанию зеркала при движении автомобиля в холодное время года.
Известно зеркало с обогревом, содержащее непроводящую подложку с отражающим слоем, нанесенным на ее тыльной стороне, причем отражающий слой выполнен из чистого хрома и оксида хрома, соотношение хрома и оксида хрома выбрано так, чтобы сопротивление слоя рассеивало приложенную внешним источником электрическую энергию требуемым образом, см. патент FR 2695789, МПК Н05В 3/84, 1994.
Недостатками известного зеркала являются: невысокий коэффициент отражения, который в области спектра 0,4-0,7 мкм не превышает 50%, необходимость соблюдения заданной пропорции содержания чистого хрома и оксида хрома.
Известно зеркало с обогревом, содержащее стеклянную подложку с отражающим проводящим слоем из нержавеющей стали на ее тыльной стороне, отражающий слой выполнен в вакуумной камере магнетронным напылением нержавеющей стали, см. патент RU 2248681, МПК Н05В 3/84, 2003.
Недостатком представленного зеркала является недостаточно высокий коэффициент отражения, составляющий 50-65% в области спектра 0,4-0,7 мкм.
Наиболее близким по технической сущности является зеркало с обогревом, содержащее стеклянную подложку, отражающий слой и электрические контакты, расположенные на внешней стороне подложки, причем отражающий слой, одновременно являющийся токопроводящим, выполнен из нержавеющей стали и на ее поверхности расположено двухслойное покрытие, которое выполнено из оксида алюминия и оксида титана, см. патент RU 2262215, МПК Н05В 3/84, 2004.
Недостатком известного зеркала является недостаточно высокий коэффициент отражения, составляющий 70-80% в области спектра 0,4-0,7 мкм.
Технической задачей изобретения является создание высокоотражающего зеркала с обогревом с большим значением коэффициента отражения.
Техническая задача решается созданием высокоотражающего зеркала с обогревом, содержащим стеклянную подложку, отражающий токопроводящий слой из нержавеющей стали геометрической толщиной от 20 до 1000 нм, электропроводящие контакты, двухслойное покрытие из оксидов, причем верхний слой выполнен из оксида титана, расположенные на внешней стороне подложки, отличающееся тем, что прилегающий к слою из нержавеющей стали слой выполнен из оксида кремния геометрической толщиной 60-70 нм, а геометрическая толщина слоя оксида титана имеет величину 50-60 нм.
Решение технической задачи позволяет увеличить коэффициент отражения зеркала с обогревом до 85%.
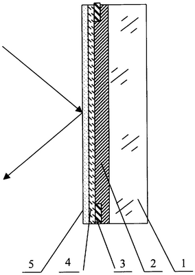
На чертеже схематически представлено в разрезе заявляемое зеркало. Оно состоит из стеклянной подложки 1, отражающего токопроводящего слоя из нержавеющей стали 2, двух электрических контактов 3, слоя из оксида кремния 4 геометрической толщиной 60-70 нм, слоя из оксида титана 5 геометрической толщиной 50-60 нм.
Заявляемое высокоотражающее зеркало с обогревом нагревается за 3-7 секунд до 20°С, обеспечивая быстрое удаление влаги с поверхности зеркала, его коэффициент отражения составляет 83-85% в видимой области спектра 0,4÷0,7 мкм.
Изготовление высокоотражающего зеркала с обогревом ведут в вакуумной камере магнетронным распылением. Стеклянную подложку предварительно обезжиривают и помещают в вакуумную камеру, в которой создают давление Рост=6,6·10-3 Па. Затем осуществляют напуск аргона до давления Р=0,26 Па. Подложку закрывают заслонкой и зажигают разряд на магнетроне с мишенью из нержавеющей стали. В течение 5 минут горения разряда происходит удаление оксидной пленки с поверхности мишени, а при удалении заслонки происходит напыление отражающего токопроводящего слоя на подложку. Напыление нержавеющей стали проводят до достижения слоем омического сопротивления в диапазоне от 5 до 70 Ом. Закрепляют электропроводящие контакты. Затем напыляют слой оксида кремния. Для напыления слоя оксида кремния зажигают разряд на магнетроне с кремниевой мишенью в атмосфере смеси газов аргона и кислорода. Напыление проводят до достижения слоем толщины 60-70 нм, а затем напыляют слой оксида титана. Для напыления слоя оксида титана зажигают разряд на магнетроне с титановой мишенью в атмосфере смеси газов аргона и кислорода. Напыление проводят до достижения слоем толщины 50-60 нм.
Толщину напыления оксида кремния и титана контролируют методом спектрофотометрического контроля, когда по экстремумам отраженного света напыляют требуемую геометрическую толщину покрытия.
Электрическое сопротивление слоя нержавеющей стали имеет величину от 5 до 70 Ом в зависимости от толщины слоя и размеров зеркала, и, следовательно, при источнике напряжением 12 В рассеиваемая мощность на зеркале составит от 2 до 30 Вт. Это позволяет свести к минимуму потери энергии и обеспечить максимальную равномерность нагрева. Все слои наносят на стеклянную подложку путем магнетронного распыления в вакууме. Заявляемое высокоотражающее зеркало с обогревом нагревается за 3 секунды до 20°С, обеспечивая быстрое удаление влаги с поверхности зеркала.
Заявляемое высокоотражающее зеркало с обогревом имеет коэффициент отражения R до 85% в видимой области спектра 0,4-0,7 мкм.
Данное изобретение иллюстрируется следующими примерами конкретного исполнения:
Пример 1. Высокоотражающее зеркало размером 100×190 мм, имеющее толщину слоя нержавеющей стали 20 нм, толщину слоя оксида кремния 60 нм, толщину слоя оксида титана 52 нм, подключенное к источнику тока напряжением 12 В, рассеивает около 2 Вт, коэффициент отражения такого зеркала составляет 81% в видимой области спектра 0,4÷0,7 мкм.
Пример 2. Высокоотражающее зеркало размером 100×360 мм, имеющее толщину слоя нержавеющей стали 300 нм, толщину слоя оксида кремния 65 нм, толщину слоя оксида титана 55 нм, подключенное к источнику тока напряжением 12 В, рассеивает около 16 Вт, коэффициент отражения такого зеркала составляет 84% в видимой области спектра 0,4÷0,7 мкм.
Пример 3. Высокоотражающее зеркало размером 100×640 мм, имеющее толщину слоя нержавеющей стали 1000 нм, толщину слоя оксида кремния 70 нм, толщину слоя оксида титана 60 нм, подключенное к источнику тока напряжением 12 В, рассеивает около 30 Вт, коэффициент отражения такого зеркала составляет 83% в видимой области спектра 0,4÷0,7 мкм.
Коэффициент отражения высокоотражающего зеркала составляет более 80% в видимой области спектра 0,4÷0,7 мкм при стабильном электрическом сопротивлении нагревательного элемента. Рассеиваемая мощность на зеркале составляет от 2 до 30 Вт при источнике напряжением 12 В.
Заявляемое техническое решение просто в изготовлении и удобно при использовании его в качестве декоративных фасадных стекол зданий и на транспортных средствах. Решение технической задачи позволяет обеспечить высокую отражательную способность высокоотражающего зеркала до 85% против 70-80% у прототипа.
Заявляемое техническое решение с указанными характеристиками можно также использовать в качестве зеркальных нагревательных панелей для обогрева помещений.
Формула изобретения
Высокоотражающее зеркало с обогревом, содержащее стеклянную подложку, отражающий токопроводящий слой из нержавеющей стали геометрической толщиной от 20 нм до 1000 нм, электропроводящие контакты, двухслойное покрытие из оксидов, причем верхний слой выполнен из оксида титана, расположенные на внешней стороне подложки, отличающееся тем, что прилегающий к слою из нержавеющей стали слой выполнен из оксида кремния геометрической толщиной 60-70 нм, а геометрическая толщина слоя оксида титана имеет величину 50-60 нм.
РИСУНКИ
MM4A – Досрочное прекращение действия патента СССР или патента Российской Федерации на изобретение из-за неуплаты в установленный срок пошлины за поддержание патента в силе
Дата прекращения действия патента: 14.06.2008
Извещение опубликовано: 20.06.2010 БИ: 17/2010
|
|