|
|
(21), (22) Заявка: 2004133032/09, 20.03.2003
(24) Дата начала отсчета срока действия патента:
20.03.2003
(30) Конвенционный приоритет:
10.04.2002 EP 02076410.6
(43) Дата публикации заявки: 20.04.2005
(46) Опубликовано: 27.01.2008
(56) Список документов, цитированных в отчете о поиске:
RU 2161868 C1, 10.01.2001. RU 2124272 C1, 27.12.1998. US 5621855 A, 15.04.1997. ЕР 0797324 A1, 24.09.1997. US 5701346 А, 23.12.1997.
(85) Дата перевода заявки PCT на национальную фазу:
10.11.2004
(86) Заявка PCT:
IB 03/01152 (20.03.2003)
(87) Публикация PCT:
WO 03/085643 (16.10.2003)
Адрес для переписки:
129010, Москва, ул. Б. Спасская, 25, стр.3, ООО “Юридическая фирма Городисский и Партнеры”, пат.пов. Ю.Д.Кузнецову, рег.№ 595
|
(72) Автор(ы):
ААРТС Рональдус М. (NL), ИРВАН Рой (NL)
(73) Патентообладатель(и):
КОНИНКЛЕЙКЕ ФИЛИПС ЭЛЕКТРОНИКС Н.В. (NL)
|
(54) КОДИРОВАНИЕ СТЕРЕОФОНИЧЕСКИХ СИГНАЛОВ
(57) Реферат:
Изобретение относится к кодированию многоканальных сигналов, более конкретно к кодированию полифонических звуковых сигналов, таких как стереофонические сигналы. Описан способ кодирования многоканального сигнала, такого как стереофонический звуковой сигнал, включающего в себя по меньшей мере первый компонент сигнала (L) и второй компонент сигнала (R). Способ содержит этапы преобразования по меньшей мере первого и второго компонентов сигнала посредством заранее заданного преобразования в главный сигнал (у), включающий в себя большую часть энергии сигнала, и по меньшей мере один остаточный сигнал (r), включающий в себя меньше энергии, чем главный сигнал, причем это заранее заданное преобразование параметризовано по меньшей мере одним параметром преобразования; и представления многоканального сигнала по меньшей мере посредством главного сигнала и параметра преобразования. Дополнительно описаны соответствующее устройство для кодирования многоканальных сигналов и соответствующий способ и устройство для декодирования такого сигнала. Технический результат – кодирование стереофонического сигнала с эффективным расходом битов для заданного качества звучания. 7 н. и 7 з.п. ф-лы, 13 ил.
Область техники, к которой относится изобретение
Данное изобретение относится к кодированию многоканальных сигналов, включающих в себя по меньшей мере первый и второй компоненты сигнала. Более конкретно, изобретение относится к кодированию полифонических звуковых сигналов, таких как стереофонические сигналы.
Предшествующий уровень техники
Стереофонические звуковые сигналы содержат левый (L) и правый (R) компоненты сигнала, которые могут исходить от источника стереофонического сигнала, например, от разделенных микрофонов. Кодирование звуковых сигналов нацелено на уменьшение расхода битов (количества битов, приходящегося на секунду потока данных) стереофонического сигнала, например, для того, чтобы позволить осуществлять эффективную передачу звуковых сигналов через сеть связи, такую как Интернет, через модем и аналоговые телефонные линии, каналы мобильной связи или другие беспроводные сети и т.д. и сохранять стереофонический звуковой сигнал на плате для установки интегральной схемы или другом запоминающем носителе с ограниченной емкостью памяти.
Патент США №4589127 раскрывает передатчик для стереофонических сигналов, который генерирует суммарный и разностный сигналы стереофонических сигналов L и R. Суммарный и разностный сигналы впоследствии используются в схеме модуляции, что приводит к модулированному сигналу, содержащему информацию как суммы, так и разности.
Однако вышеупомянутый способ известного уровня техники не ориентирован на проблему кодирования стереофонического сигнала с эффективным расходом битов, то есть с низким расходом битов для заданного качества звучания.
Сущность изобретения
Вышеупомянутые и другие проблемы решаются посредством способа кодирования многоканального сигнала, включающего в себя по меньшей мере первый компонент сигнала и второй компонент сигнала, причем этот способ содержит этапы
– преобразования по меньшей мере первого и второго компонентов сигнала посредством заранее заданного преобразования в главный сигнал, включающий в себя основную часть энергии сигнала, и по меньшей мере один остаточный сигнал, включающий в себя меньше энергии, чем главный сигнал, причем заранее заданное преобразование параметризовано по меньшей мере одним параметром преобразования; и
– представления многоканального сигнала по меньшей мере посредством главного сигнала и параметра преобразования.
Следовательно, посредством преобразования многоканального сигнала в главный сигнал, который включает в себя основную часть энергии, и остаточный сигнал, который включает в себя только малую часть энергии сигнала, многоканальный сигнал может быть представлен посредством главного сигнала, параметра преобразования и, в необязательном порядке, малого остаточного сигнала, что улучшает эффективность кодирования для многоканального сигнала. С точки зрения эффективности, многоканальный сигнал может быть кодирован с расходом битов, который только слегка выше, чем расход битов единственного канала, например, монофонического канала. Результирующий кодированный сигнал может быть сохранен и/или передан к приемнику.
Когда способ дополнительно включает в себя этап адаптивного определения параметра преобразования на основе по меньшей мере первого и второго компонентов сигнала, оптимальный параметр трансформации можно непрерывно отслеживать, что обеспечивает то, что преобразование остается оптимальным, даже если характеристики входного сигнала изменяются, например, в случае звукового сигнала из-за перемещающегося источника звука или изменений в акустических свойствах окружающей среды.
Когда заданным преобразованием является поворот и параметр преобразования соответствует углу поворота, простое преобразование обеспечивается на основе только одного параметра, угла поворота. Посредством адаптации угла таким образом, что компоненты сигнала, например, компоненты L и R стереофонического сигнала, поворачиваются в сигнал главного компонента и остаточный сигнал, эффективное кодирование обеспечивается при поддержании высокого качества сигнала.
В предпочтительном варианте осуществления изобретения этап представления многоканального сигнала по меньшей мере посредством главного сигнала и параметра преобразования дополнительно содержит этап представления многоканального сигнала главным сигналом, параметром преобразования и остаточным сигналом, что дополнительно улучшает качество кодированного сигнала, так как не выбрасывается никакая информация сигнала. Поскольку остаточный сигнал является малым по сравнению с главным сигналом, распределение расхода битов может осуществляться между этими сигналами. Кроме того, поскольку распределение расхода битов может варьироваться, обеспечен механизм постепенного снижения качества, например, посредством адаптивного увеличения или снижения расхода битов, учитываемого для остаточного сигнала.
Следовательно, в дополнительном предпочтительном варианте, этап представления многоканального сигнала главным сигналом, параметром преобразования и остаточным сигналом, дополнительно содержит этапы
– кодирования главного сигнала с первым расходом битов; и
– кодирования остаточного сигнала со вторым расходом битов, меньшим, чем первый расход битов.
В другом предпочтительном варианте способ дополнительно содержит этап оценивания остаточного сигнала на основе главного сигнала с использованием фильтра с предсказанием, соответствующего множеству параметров фильтра; при этом этап представления многоканального сигнала по меньшей мере посредством главного сигнала и параметра преобразования содержит этап представления многоканального сигнала посредством главного сигнала, параметра преобразования и множества параметров фильтра.
Этот вариант осуществления изобретения основан на понимании того, что для многих многоканальных сигналов, например, в случае звуковых сигналов для музыкальных и речевых сигналов, остаточный сигнал может быть оценен как фильтрованная версия главного сигнала. Следовательно, при определении множества параметров адаптивного фильтра, который моделирует остаточный сигнал, параметры фильтра могут быть кодированы вместе с главным сигналом и параметром преобразования. Следовательно, передача остаточного сигнала исключается без потери информации, включенной в этот сигнал, что обеспечивает эффективное кодирование, которое сохраняет высокий уровень качества.
Преимущество изобретения состоит в том, что оно обеспечивает эффективный расход битов, то есть схему кодирования, которая использует низкий расход битов для заданного качества звучания. Схема кодирования согласно изобретению может использоваться для уменьшения расхода битов без значительного снижения качества звучания, для поддержания расхода битов при улучшении качества звучания или для комбинации вышеупомянутых аспектов.
Изобретение дополнительно относится к способу декодирования информации многоканального сигнала, причем этот способ включает в себя этапы
– приема главного сигнала и параметра преобразования, причем главный сигнал соответствует результату заранее заданного преобразования по меньшей мере первого и второго компонентов многоканального исходного сигнала, причем заранее заданное преобразование параметризовано по меньшей мере упомянутым параметром преобразования; и
– генерирования первого и второго компонентов декодированного сигнала посредством обратного преобразования принятого главного сигнала и по меньшей мере одного остаточного сигнала.
Данное изобретение может быть реализовано различными способами, включая способы, описанные выше и далее, устройства для кодирования и декодирования многоканальных сигналов, соответственно, сигнал передачи данных и другие средства, причем каждое из них дает одну или несколько выгод и преимуществ, описанных в сочетании с первым упомянутым способом, и каждое из которых имеет один или несколько предпочтительных вариантов осуществления, соответствующих предпочтительным вариантам осуществления, описанным в сочетании с первым упомянутым способом и раскрытым в зависимых пунктах формулы изобретения.
Отметим, что признание способов, описанных выше и далее, могут быть реализованы в программном обеспечении и осуществлены в системе обработки данных или другом средстве обработки, вызванном посредством выполнения машиноисполняемых команд. Этими командами может быть средство программного кода, загруженное в память, такую как ОЗУ, с запоминающего носителя или от другого компьютера через компьютерную сеть. Альтернативно, описываемые признаки могут быть реализованы схемами с фиксированным монтажом вместо программного обеспечения или в комбинации с программным обеспечением.
Изобретение дополнительно относится к устройству для кодирования многоканального сигнала, включающего в себя по меньшей мере первый компонент сигнала и второй компонент сигнала, причем это устройство содержит
– первое средство обработки, выполненное с возможностью преобразования по меньшей мере первого и второго компонентов сигнала посредством заранее заданного преобразования в главный сигнал, включающий в себя основную часть энергии сигнала и по меньшей мере один остаточный сигнал, включающий в себя меньше энергии, чем главный сигнал, причем заранее заданное преобразование параметризовано по меньшей мере одним параметром преобразования; и
– второе средство обработки, выполненное с возможностью представления многоканального сигнала посредством по меньшей мере главного сигнала и параметра преобразования.
Изобретение дополнительно относится к устройству для декодирования информации многоканального сигнала, причем это устройство содержит
– средство приема для приема главного сигнала и параметра преобразования, причем главный сигнал соответствует результату заранее заданного преобразования первого и второго многоканального исходного сигнала, причем заранее заданное преобразование параметризовано по меньшей мере упомянутым параметром преобразования; и
– средство обработки для генерирования первого и второго многоканального сигнала путем обратного преобразования принятых главного сигнала и остаточного сигнала.
Вышеупомянутые устройства могут быть частью любого электронного оборудования, включая компьютеры, такие как стационарные и портативные персональные компьютеры (ПК), стационарное и портативное оборудование радиосвязи и другие карманные или портативные устройства, такие как мобильные телефоны, пейджеры, аудиопроигрыватели, мультимедийные проигрыватели, средства связи, т.е. электронные органайзеры, интеллектуальные телефоны, персональные цифровые информационные устройства (PDA), карманные компьютеры и т.п.
Термин «средство обработки» содержит программируемые микропроцессоры общего или специального назначения, процессоры цифровых сигналов (DSP), специализированные интегральные схемы (ASIC), программируемые логические матрицы (PLA), вентильные матрицы, программируемые в условиях эксплуатации (FPGA), электронные схемы специального назначения и т.д., или комбинацию вышеперечисленного. Вышеупомянутые первое и второе средства обработки могут быть отдельными средствами обработки или они могут содержаться в одном средстве обработки.
Термин «средство приема» включает в себя схемы и/или устройства, подходящие для обеспечения передачи данных, например, через проводной или беспроводной канал передачи данных. Примеры таких средств приема включают в себя сетевой интерфейс, сетевую плату, радиоприемник, приемник для других соответствующих электромагнитных сигналов, таких как инфракрасный свет, например, через порт Ассоциации передачи данных в инфракрасном диапазоне (IrDA), радиосвязь, например, приемопередатчики Bluetooth, и т.п. Дополнительные примеры такого средства приема включают в себя кабельный модем, телефонный модем, адаптер цифровой сети с интегрированными услугами (ISDN), адаптер цифровой абонентской линии (DSL), спутниковый приемопередатчик, адаптер сети Ethernet и т.п.
Термин «средство приема» дополнительно содержит другие вводные схемы/устройства для приема сигналов передачи данных, например, сигналов передачи данных, хранимых на машиночитаемом носителе. Примеры такого средства приема включают в себя дисковод флоппи-диска, дисковод компакт-диска (CD-ROM), дисковод универсального цифрового диска (DVD) или любой другой подходящий дисковод, адаптер платы памяти, адаптер смарт-карты и т.д.
Изобретение дополнительно относится к сигналу передачи данных, включающему в себя информацию многоканального сигнала, причем этот сигнал передачи данных генерируется способом, описанным выше и далее. Сигнал может быть воплощен как сигнал передачи данных на несущей, например, как сигнал передачи данных, передаваемый средством связи, как описано выше и далее.
Изобретение дополнительно относится к машиночитаемому носителю, содержащему запись данных, показывающую информацию многоканального сигнала, сгенерированную способом, описанным выше и далее. Термин «машиночитаемый носитель» содержит магнитную ленту, оптический диск, цифровой универсальный диск (DVD), компакт-диск (CD или CD-ROM), минидиск, жесткий диск, флоппи-диск, память на сегнетоэлектриках, электрически стираемое программируемое ПЗУ (EEPROM), флэш-память, электрически программируемое ПЗУ, постоянное запоминающее устройство (ПЗУ), статическое ОЗУ (SRAM), динамическое ОЗУ (DRAM), синхронное динамическое ОЗУ (SDRAM), ферромагнитную память, оптическую память, приборы с зарядовой связью, смарт-карты, плату Международной ассоциации производителей плат памяти для ПК (PCMCIA) и т.д.
Изобретение дополнительно относится к устройству для передачи многоканального сигнала, включающего в себя по меньшей мере первый компонент сигнала и второй компонент сигнала, причем это устройство содержит устройство для кодирования многоканального сигнала, как описано выше и далее.
Перечень фигур чертежей
Эти и другие аспекты изобретения будут явствовать и объясняться со ссылкой на варианты осуществления и со ссылкой на чертежи, в которых:
фиг.1 – схематичный вид системы для передачи стереофонических сигналов согласно варианту осуществления изобретения;
фиг.2 – схематичный вид устройства для кодирования стереофонического сигнала согласно первому варианту осуществления изобретения;
фиг.3 – иллюстрирующие определения преобразования сигнала согласно варианту осуществления изобретения;
фиг.4 – схематичный вид устройства для декодирования стереофонического сигнала согласно первому варианту осуществления изобретения:
фиг.5 – схематичный вид устройства для кодирования стереофонического сигнала согласно второму варианту осуществления изобретения;
фиг.6 – схематичный вид устройства для декодирования стереофонического сигнала согласно второму варианту осуществления изобретения;
фиг.7а-с – схематичные виды примеров схемы фильтра для использования в варианте осуществления изобретения;
фиг.8 – схематичный вид устройства для кодирования стереофонического сигнала согласно третьему варианту осуществления изобретения;
фиг.9 – схематичный вид устройства для кодирования стереофонического сигнала согласно четвертому варианту осуществления изобретения;
фиг.10 – схематичный вид устройства для декодирования стереофонического сигнала согласно четвертому варианту осуществления изобретения;
фиг.11 – схематичный вид устройства для кодирования многоканального сигнала согласно пятому варианту осуществления изобретения;
фиг.12 – схематичный вид устройства для кодирования многоканального сигнала согласно шестому варианту осуществления изобретения;
фиг.13 – схематичный вид схемы вычитания для использования с вариантом осуществления изобретения.
Описание вариантов осуществления изобретения
Фиг.1 показывает схематичный вид системы для передачи стереофонических сигналов согласно варианту осуществления изобретения. Эта система содержит кодирующее устройство 101 для генерирования кодированного стереофонического сигнала и декодирующее устройство 105 для декодирования принятого кодированного сигнала в компоненты L и R стереофонического сигнала. Каждое из кодирующего устройства 101 и декодирующего устройства 105 может быть любым электронным оборудованием или частью такого оборудования. Здесь термин «электронное оборудование» содержит компьютеры, такие как стационарные и портативные ПК, стационарное и портативное оборудование радиосвязи и другие карманные или портативные устройства, такие как мобильные телефоны, пейджеры, аудиопроигрыватели, мультимедийные проигрыватели, средства связи, т.е. электронные органайзеры, интеллектуальные телефоны, персональные цифровые информационные устройства (PDA), карманные компьютеры и т.п. Отметим, что кодирующее устройство 101 и декодирующее устройство могут быть скомбинированы в одном электронном оборудовании, где стереофонические сигналы хранятся на машиночитаемом носителе для дальнейшего воспроизведения.
Кодирующее устройство 101 содержит кодер 102 для кодирования стереофонического сигнала согласно изобретению, причем этот стереофонический сигнал включает в себя компонент L сигнала и компонент R сигнала. Кодер принимает компоненты L и R сигнала и генерирует кодированный сигнал Т. Стереофонический сигнал L и R может происходить из набора микрофонов, например, через дополнительное электронное оборудование, такое как оборудование микширования и т.д. Эти сигналы могут быть далее приняты в качестве выхода от другого стереопроигрывателя, через эфир в качестве радиосигнала или посредством любых других подходящих средств. Предпочтительные варианты такого кодера согласно изобретению будут описаны ниже. Согласно одному варианту осуществления, кодер 102 подключен к передатчику 103 для передачи кодированного сигнала Т через канал 109 связи к декодирующему устройству 105. Передатчик 103 может содержать схемы, подходящие для обеспечения передачи данных, например, через проводной или беспроводной канал 109 передачи данных. Примеры такого передатчика включают в себя сетевой интерфейс, сетевую плату, радиопередатчик, передатчик для других подходящих электромагнитных сигналов, такой как светодиод для передачи инфракрасного света, например, через порт IrDA, радиосвязь, например, через приемопередатчик Bluetooth и т.п. Дополнительные примеры подходящих передатчиков включают в себя кабельный модем, телефонный модем, адаптер цифровой сети с интегрированными услугами (ISDN), адаптер цифровой абонентской линии (DSL), спутниковый приемопередатчик, адаптер сети Ethernet и т.п. Соответственно, каналом 109 связи может быть любой подходящий проводной или беспроводной канал передачи данных, например, основанный на пакетах сети связи, такой как Интернет или другая сеть на основе протокола TCP/IP, канал связи ближнего действия, такой как инфракрасный канал связи, соединение Bluetooth или другой основанный на радиосвязи канал связи. Дополнительные примеры канала связи включают в себя компьютерные сети и сети беспроводной связи, такие как сеть сотовой цифровой пакетной передачи данных (CDPD), сеть глобальной системы мобильной связи (GSM), сеть множественного доступа с кодовым разделением каналов (СОМА), сеть множественного доступа с временным разделением каналов (TDMA), сеть с общей службой пакетной радиопередачи (GPRS), сеть третьего поколения, такая как сеть универсальной системы мобильных телекоммуникаций (UMTS) и т.п. Альтернативно или дополнительно, кодирующее устройство может содержать один или несколько интерфейсов (I/F) 104 для передачи кодированного стереофонического сигнала Т к декодирующему устройству 105.
Примеры таких интерфейсов включают в себя дисковод для хранения данных на машиночитаемом носителе 110, например, дисковод для флоппи-дисков, дисковод считывания/записи компакт-дисков (CD-ROM), дисковод DVD и т.д. Другие примеры включают в себя гнездо для платы памяти, устройство считывания/устройство записи на магнитную карту, интерфейс для доступа к смарт-карте и т.д. Соответственно, декодирующее устройство 105 содержит соответствующий приемник 108 для приема сигнала, переданного передатчиком и/или другим интерфейсом (I/F) 106, для приема кодированного стереофонического сигнала, переданного через интерфейс 104 и машиночитаемый носитель 110. Декодирующее устройство дополнительно содержит декодер 107, который принимает принятый сигнал Т и декодирует его в соответствующие стереофонические компоненты L’ и R’. Предпочтительные варианты осуществления такого декодера согласно изобретению будут описаны ниже. Декодированные сигналы L’ и R’ могут впоследствии подаваться в стереопроигрыватель для воспроизведения через набор громкоговорителей, головных телефонов и т.п.
Фиг.2 показывает схематичный вид устройства 102 для кодирования стереофонического сигнала согласно первому варианту осуществления изобретения. Это устройство содержит схемы (R) 201 для выполнения поворота стереофонического сигнала в пространстве L-R на угол , приводящего к повернутым компонентам сигнала у и r согласно преобразованию

где wL=cos и wR=sin будут называться весовыми множителями.
Согласно изобретению угол определяется таким образом, что он соответствует направлению высокой вариации сигнала. Направление максимальной вариации сигнала, т.е. главный компонент, может быть вычислено посредством анализа главного компонента таким образом, что повернутый компонент у соответствует сигналу главного компонента, который включает в себя основную часть энергии сигнала, и r является остаточным сигналом. Соответственно, устройство по фиг.2 содержит схемы (РСА) 200, которые определяют угол или, альтернативно, весовые множители wL и wR.
Со ссылкой на фиг.3, согласно предпочтительному варианту, вышеупомянутые весовые множители wL и wR определяются согласно следующему алгоритму:
Первоначально, входящие стереофонические сигналы L и R выпрямляются и фильтруются фильтром нижних частот, что приводит к сигналам огибающей p(k) для L и q(k) для R, соответственно, где p(k) и q(k) соответствующим образом дискретизированы и индекс выборки обозначен k. Таким образом, вектор х(k)=(р(k),q(k)) обозначает вектор входящего сигнала. Альтернативно, сигналы L и R могут использоваться непосредственно, т.е. без фильтрации, или могут использоваться другие фильтрованные версии L и R, например, фильтрованные фильтром верхних частот сигналы L и R. На фиг.3 некоторое число точек сигнала проиллюстрировано как окружности. В качестве примера указаны точка x(k) сигнала и ее соответствующие компоненты p(k) и q(k). Согласно изобретению сигналы поворачиваются в направлении главного компонента векторов сигнала. В примере по фиг.3 это соответствует направлению y, где является углом между направлением у и направлением р. Весовой вектор w=(wL,wR) указывает направление главного компонента, и повернутые компоненты x(k) обозначены через y(k) и r(k), соответственно.
Главный компонент может быть определен посредством любого подходящего способа, известного в данной области техники. В особенно предпочтительном варианте осуществления используется итеративный способ, использующий правило Oja (см., например, S.Haykin: “Neural Networks”, Prentice Hall, N.J., 1999). Согласно этому варианту осуществления весовой вектор w итеративно вычисляется согласно следующему уравнению

где w(k)=(wL(k),wR(k)) соответствует оценке в момент времени k. Вышеприведенная итерация может, например, инициироваться множеством малых случайных весов w(0) или любым другим подходящим образом. Вышеприведенный вычисленный весовой вектор может использоваться для вычисления повернутого сигнала согласно у(k)=wT(k)x(k). Альтернативно, итерация по уравнению (2) может быть выполнена на основе блока, например, для блока N выборок, где N зависит от конкретной реализации, например, N=512, 1024, 2048 и т.д. В этом варианте осуществления вычисленный весовой вектор w(N) для блока может использоваться в преобразовании всех выборок этого блока согласно у(k)=wT(N)x(k).
Множитель в уравнении (2) соответствует временной шкале алгоритма отслеживания. Если =0, то весовые множители и, таким образом, угол , остаются постоянными, тогда как они резко изменяются для больших . В качестве примера, для размера блока 2048 выборок, может быть выбрано порядка 10-3 для частоты дискретизации 44,1 кГц.
Преимуществом вышеприведенного итеративного алгоритма является то, что он является линейным, т.е. он не требует вычисления каких-либо тригонометрических функций, квадратных корней и т.п. Дополнительным преимуществом является то, что вышеприведенная итерация дает нормированный весовой вектор w, так как член – w(k-1)у(k-1) в уравнении (2) соответствует члену снижения веса, ограничивающему большие веса, тогда как член + x(k-1) направляет весовой вектор в направлении главного компонента. Дополнительно отметим, что в данном варианте осуществления, поскольку x(k) является сигналом огибающей, wL,wR [0,1], т.е. весовой вектор w лежит в первом квадранте на фиг.3, что гарантирует то, что положительно. Дополнительным преимуществом этого варианта осуществления является то, что достаточно передать одно из wL и wR, так как другой множитель может быть определен согласно . Альтернативно, может быть передан угол .
Опять со ссылкой на фиг.2, схема 200 выдает заданный угол или, альтернативно, один или оба весовых множителя wL и wR. Информация об угле подается в схему 201 поворота, которая генерирует повернутые компоненты сигнала y и r. Понятно, что схемы 200 и 201 могут быть скомбинированы в единую схему, выполняющую итеративное вычисление по уравнению (2) и вычисление у и r согласно уравнению (1).
Устройство дополнительно содержит кодеры (Е) 202, выполняющие надлежащее кодирование сигналов y и r, соответственно. Например, эти сигналы могут быть кодированы согласно стандарту MPEG, например, уровню 3 MPEG I (MP3), согласно синусоидальному кодированию (SSC), или схемам кодирования звука, основывающимся на схеме поддиапазона, параметрической схеме или схеме преобразования, или любых других подходящих схемах или их комбинациях. Понятно, что кодеры 202 могут быть одного и того же типа или разных типов, например, один кодер MP3 и один кодер SSC и т.д. Результирующие кодированные сигналы уе и rе, соответственно, подаются в схему 204 объединения (С) вместе с информацией об угле . Схема 204 объединения выполняет кадрирование, распределение расхода битов и кодирование без потерь, приводящее к комбинированному сигналу Т, подлежащему передаче. В одном варианте осуществления, угол или, альтернативно, wL и/или wR могут передаваться как часть заголовка, передаваемого перед кадром сигнала, блока сигнала и т.п. Согласно изобретению, поскольку угол преобразования отслеживается таким образом, что сигнал главного компонента включает в себя основную часть энергии сигнала, расходы битов, распределенные сигналам y и r, могут быть выбраны так, чтобы они отличались, что оптимизирует эффективность кодирования.
Например, стереофонические сигналы L и R могут быть выражены как L=M+S и R=M-S, где М соответствует среднему или центральному сигналу и S соответствует стереофоническому или боковому сигналу. В случае выполнения акустической записи стационарного источника звука, например оратора, записываемого двумя микрофонами, сигналы L и R в сущности равны, если оратор расположен в точности между микрофонами и если предположить, что отсутствуют акустические искажения, такие как отражения и т.д. Следовательно, в этом случае S в сущности равно нулю или по меньшей мере мало, и схема кодирования согласно изобретению в сущности дает y, соответствующий L+R, и r, соответствующий L-R, равный нулю или являющийся малым; это соответствует =45 градусов. Если оратор не расположен точно между микрофонами, т.е. имеется асимметрия, но, по-прежнему, в предположении, что отсутствуют отражения или другие искажения, то повернутый сигнал у согласно изобретению по-прежнему соответствует оратору и остаточный сигнал r в сущности равен нулю. Однако в этом случае угол отличается от 45 градусов. Если источник звука перемещается, например, слева направо, то способ согласно изобретению все же дает сигнал главного компонента y, соответствующий источнику, и малый остаточный сигнал r, в идеале равный r=0. В этом случае изменяется от 0 (полностью левый) до 90 градусов (полностью правый).
Вышеприведенные примеры иллюстрируют преимущество отслеживания угла . В вышеприведенных ситуациях может быть достаточным передавать сигнал главного компонента y и угол , для того, чтобы позволить декодеру воссоздать исходные сигналы R и L без значительной потери в качестве. В общем, поскольку остаточный сигнал r является малым по сравнению с главным сигналом, распределение битов или эффективность кодирования может варьироваться между у и r. Следовательно, преимуществом изобретения является то, что оно позволяет осуществлять эффективное кодирование стереофонических сигналов.
Фиг.4 показывает схематичный вид устройства 107 для декодирования стереофонического сигнала согласно первому варианту осуществления изобретения. Это устройство принимает кодированный стереофонический сигнал Т, например, исходящий от кодера согласно варианту, описанному в сочетании с фиг.2. Устройство содержит схему (С-1) 404 для извлечения кодированных сигналов yе и rе и информацию об угле из комбинированного сигнала Т, т.е. схема 404 выполняет обратную операцию схемы 204 объединения по фиг.2. Извлеченные сигналы уе и rе подаются в соответствующие декодеры (Е-1) 402, выполняющие декодирование звука, соответствующее кодированию, выполняемому кодерами 202 по фиг.2, что приводит к декодированному сигналу y’ главного компонента и к декодированному остаточному сигналу r’. Сигналы y’, r’ и информация об угле подаются в схему 401 поворота (R-1), которая поворачивает сигналы y’, r’ обратно в направлении первоначальных компонентов L и R, что приводит к принятым сигналам L’ и R’.
Фиг.5 показывает схематичный вид устройства для кодирования стереофонического сигнала согласно второму варианту осуществления изобретения. Это устройство содержит схемы (R) 201, выполняющие поворот стереофонических сигналов L и R на угол , что приводит к повернутым компонентам y и r сигнала, как описано в сочетании с фиг.2. Устройство дополнительно содержит схемы (РСА) 200 для определения угла поворота, как описано в сочетании с фиг.2 и 3. Согласно этому варианту осуществления изобретения устанавливается, что остаточный сигнал r может быть оценен как фильтрованная версия главного сигнала y. Как описано в сочетании с фиг.2, при выполнении акустической записи источника звука, записываемого двумя микрофонами в отсутствие акустических искажений, например, из-за отражений и т.д., главный сигнал у соответствует источнику звука и остаточный сигнал по существу равен нулю. Однако в более реалистической ситуации искажения присутствуют, например, из-за отражений сигнала от стен комнаты и от головы и «тела» оратора и т.д. Эти эффекты влияют на остаточный сигнал r. Следовательно, при оценке остаточного сигнала фильтром этот фильтр фактически моделирует акустику комнаты и т.д. Для классического оркестра ситуация похожая, хотя в случае современной поп-музыки ситуация может слегка отличаться. В этом случае инженер по звуку обычно микширует множественные каналы в два канала, часто используя искусственную реверберацию, средства спецэффектов и т.д. В этом случае фильтр моделирует акустические эффекты, введенные процессом микширования.
Все еще со ссылкой на фиг.5, устройство содержит адаптивный фильтр (F) 501, принимающий главный сигнал у как входной сигнал и генерирующий фильтрованный сигнал . Параметры Fp фильтра адаптивного фильтра выбираются таким образом, что фильтрованный сигнал аппроксимирует остаточный сигнал r, например, посредством управления адаптивным фильтром 501 сигналом е ошибки, указывающим разницу между r и , генерируемую схемой 502 вычитания. Результирующие параметры Fp фильтра подаются в схему 204 объединения (С) предпочтительно после надлежащего кодирования кодером (К) 503, например кодером, обеспечивающим кодирование по Хаффману (Huffman), или любую другую подходящую схему кодирования. Фильтром 501 может быть любой фильтр, известный в данной области техники. Примеры таких фильтров включают в себя фильтр с импульсной характеристикой конечной длительности (КИХ-фильтр) или фильтр с импульсной характеристикой бесконечной длительности (БИХ-фильтр), адаптированный или неперестраиваемый, с частотами отсечки и величинами, фиксированными или рекурсивно отслеживаемыми, и т.п. Фильтр может быть любого порядка, предпочтительно меньшего, чем 10. Типом фильтра может быть фильтр Баттерворта, Чебышева или любой другой подходящий тип фильтра. Устройство дополнительно содержит кодер 202 для кодирования главного сигнала, как описано в сочетании с фиг.2, что приводит к кодированному главному сигналу yе, который подается в схему 204 объединения вместе с параметрами Fp фильтра и информацией об угле . Как описано в сочетании с фиг.2, схема 204 объединения выполняет кадрирование, распределение расхода битов и кодирование без потерь, что приводит к подлежащему передаче суммарному сигналу Т, который включает в себя кодированный главный сигнал уе, параметры Fp фильтра и информацию об угле . Согласно этому варианту осуществления изобретения расход битов, подлежащий выделению параметрам Fp фильтра, может быть значительно меньшим расхода битов, необходимого для главного сигнала у, например, в одном варианте осуществления расход битов для Fp может быть, в среднем, меньше, чем 10% расхода битов для y. Следовательно, преимуществом изобретения является то, что оно снижает расход битов, необходимый для передачи стереофонического сигнала. Общий расход битов согласно изобретению лишь слегка выше, чем для единственного монофонического канала. Отметим, однако, что это отношение может варьироваться во время записи. Например, отношение может стать меньше, например, в ситуации с малыми искажениями и стационарным источником, но также больше, например, если сигналы L и R на мгновение становятся независимыми.
Фиг.6 показывает схематичный вид устройства 107 для декодирования стереофонического сигнала согласно второму варианту осуществления изобретения. Это устройство принимает кодированный стереофонический сигнал Т, например, исходящий от кодера согласно варианту, описанному в сочетании с фиг.5. Это устройство содержит схему (С-1) 404 для извлечения кодированного сигнала yе, параметров Fp фильтра и информации об угле из комбинированного сигнала Т, т.е. схема 404 выполняет обратную операцию схемы 204 объединения по фиг.5. Извлеченный сигнал yе подается в декодер (Е-1) 402 для выполнения декодирования звука, соответствующего кодированию, выполняемому кодером 202 фиг.5, что приводит к декодированному сигналу y’ главного компонента. Предпочтительно, параметры фильтра декодируются декодером (Ê-1) 602, соответствующим кодированию параметров фильтра кодером 503 по фиг.5. Сигнал y’ подается в фильтр (F) 601 вместе с принятыми параметрами фильтра Fp. Фильтр 601 генерирует соответствующий оцененный остаточный сигнал ‘. Принятый сигнал y’ главного компонента, оцененный остаточный сигнал ‘ и принятая информация об угле подаются в схему 401 поворота (R-1), которая поворачивает сигналы y’, ‘ обратно в направлении первоначальных компонентов L и R, что приводит к принятым сигналам L’ и R’.
В варианте осуществления, описанном в сочетании с фиг.5 и 6, фильтрами 501 и 601 может быть стандартный адаптивный фильтр во временной области (см., например, “Adaptive Filter Theory”, S.Haykin, Prentice Hall, 2001), например, адаптивный фильтр, известный из области подавления эхо-сигналов от неподвижных предметов. Другие примеры фильтров включают в себя неперенастраиваемый КИХ-фильтр или БИХ-фильтр с фиксированными или адаптивными частотой отсечки и АЧХ. Альтернативно, в одном варианте осуществления, фильтр может основываться на психоакустической модели системы аудитории, например, как известно из кодирования MPEG, что уменьшает количество параметров фильтра. Согласно еще одному варианту осуществления фильтр дополнительно упрощен, например, путем использования фильтра 10-го порядка, использующего 5 биквадратных фильтров и блок искусственной реверберации. В этом варианте осуществления, на стороны кодирования фильтр приспособлен и время реверберации определено. Эти параметры изменяются медленно, что уменьшает необходимый расход битов для их передачи.
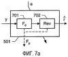
Фиг.7а-с показывают схематичные виды примеров схемы фильтра для использования в варианте осуществления изобретения.
В примере по фиг.7а фильтр 501 содержит комбинацию фильтра 701 и фильтра 702 реверберации (Rev). Например, фильтром 701 может быть стандартный адаптивный фильтр во временной области, неперенастраиваемый КИХ-фильтр или БИХ-фильтр с фиксированной или адаптивной частотой отсечки и АЧХ, и т.д., например, фильтр верхних частот. Согласно этому варианту осуществления как параметры фильтра 701, так и параметры фильтра 702 реверберации, такие как время реверберации, обозначенное Т60, передаются к декодеру как параметры Fp фильтра.
В примере по фиг.7b, в дополнение к фильтрам 701 и 702, добавлены две 703-704 схемы управления. Схема 703 управления добавлена для того, чтобы гарантировать то, что средняя мощность остаточного сигнала r и средняя мощность выходного сигнала ревербератора 702 приблизительно одинаковы, например, посредством умножения выходного сигнала ревербератора 702 на параметр 1. Вторая схема управления 704 умножает масштабированный выходной сигнал ревербератора на 2. Множитель 2 может быть выбран в диапазоне между -3 дБ и +6 дБ, и он определяется таким образом, что взаимная корреляция между r и настолько высока, насколько это возможно, т.е. что сигналы r и настолько подобны, насколько это возможно. Следовательно, устройство фильтра по фиг.7b дополнительно содержит схему 705 для определения взаимной корреляции . Устройство фильтра дополнительно содержит умножитель 706 для генерации произведения = 1· 2, которое является выходным сигналом как часть параметров фильтра Fp. Следовательно, 1 является коэффициентом усиления, управление которым осуществляется автоматически, например, посредством сравнения абсолютного среднего r и , и 2 является другим коэффициентом усиления, управление которым осуществляется автоматически, например, посредством использования коэффициента взаимной корреляции. Первый коэффициент усиления предназначен для того, чтобы убедиться в том, что энергия r сохранена, т.е. что энергия предсказанного сигнала ‘ в приемнике соответствует энергии r. Второй коэффициент усиления предназначен для того, чтобы убедиться в том, что r и ‘ хорошо скоррелированы.
В одном варианте осуществления, ревербератор 702 и фильтр 701 могут быть фиксированы, т.е. не адаптированы согласно параметрам Fp фильтра. Кроме того, 2 может быть фиксированным, что оставляет медленно изменяющийся параметр 1 как единственный адаптивный параметр, который нуждается в настройке и передаче. Следовательно, обеспечено особенно простое устройство фильтра. Преимуществом этого варианта осуществления является то, что он требует только около половины от исходного стереофонического расхода битов для передачи стереофонического сигнала. Отметим, что могут использоваться дополнительные вариации вышеприведенного варианта осуществления. Например, в одном варианте осуществления фильтр 701 может быть исключен.
Кроме того, альтернативно или дополнительно к корреляции , другие меры корреляции могут использоваться для обеспечения высокой степени подобия между исходным сигналом и сигналом после кодирования-декодирования. Например, в одном варианте осуществления два коррелятора могут использоваться вместо коррелятора 705. Один коррелятор может вычислять взаимную корреляцию LR входных сигналов L и R. Кроме того, второй коррелятор может вычислять взаимную корреляцию ‘LR результирующих выходных сигналов L’ и R’ кодера-декодера, т.е. согласно этому варианту осуществления кодер дополнительно содержит схему декодера для определения сигналов L’ и R’. Этот вариант осуществления использует разность  = LR– ‘LR для управления 2 таким образом, что  минимально. Это проиллюстрировано на фиг.7с, где коррелятор фиг.7b заменен на схему 707, которая принимает сигналы L и R, а также L’ и R’ как входные сигналы и генерирует в качестве выходного сигнала сигнал, служащий показателем разности  . Выходной сигнал  схемы 707 управляет схемой 704 для масштабирования оцененного остатка таким образом, что  минимизировано. В одном варианте осуществления входные сигналы для схемы 707 являются фильтрованными фильтром верхних частот, например, при 250 Гц, так что нижние частоты имеют уменьшающийся вклад в  . Как и в варианте осуществления по фиг.7b, преимуществом этого варианта осуществления является то, что корреляция между результирующим стереофоническим изображением и исходным стереофоническим изображением перед кодированием-декодированием очень высока.
Фиг.8 показывает схематичный вид устройства для кодирования стереофонического сигнала согласно третьему варианту осуществления изобретения. Это устройство является вариацией варианта осуществления, описанного в сочетании с фиг.5, и оно содержит схемы (R) 201 для выполнения поворота стереофонических сигналов L и R, схемы (РСА) 200 для определения угла поворота, адаптивный фильтр (F) 501, схему вычитания 502, кодер (Е) 202, кодер 503 и схему 204 объединения (С), как описано в сочетании с фиг.5. Согласно этому варианту осуществления сигнал у главного компонента не подается непосредственно в фильтр 503. Вместо этого устройство дополнительно содержит декодер 402, как описано в сочетании с фиг.6. Декодер 402 принимает кодированный сигнал yе главного компонента, сгенерированный кодером 202, и генерирует декодированный главный сигнал у’, который подается в фильтр 501. Преимуществом этого варианта осуществления является то, что он уменьшает эффект ошибок кодирования, вводимых кодированием и декодированием сигнала y. Эти ошибки кодирования приводят к тому, что декодированный сигнал y’ слегка отличается от первоначального сигнала у из-за того факта, что декодер 402 на практике не является совершенным обращением кодера 202, т.е. Е Е-1 1. Следовательно, посредством применения кодирования и декодирования сигнала у в декодере, входной сигнал у’ в фильтр 501 соответствует входному сигналу y’, поданному в фильтр 601 в приемнике, что улучшает результат предсказания остаточного сигнала ‘ в приемнике. Следовательно, кодер согласно этому варианту осуществления может использоваться в сочетании с декодером согласно варианту осуществления по фиг.6.
Фиг.9 показывает схематичный вид устройства для кодирования стереофонического сигнала согласно четвертому варианту осуществления изобретения. Это устройство является вариацией варианта осуществления, описанного в сочетании с фиг.5, и оно содержит схемы (R) 201 для выполнения поворота стереофонических сигналов L и R, схемы (РСА) 200 для определения угла поворота, адаптивный фильтр 501, схему 502 вычитания, кодер (Е) 202, кодер 503 и схему 204 объединения (С), как описано в сочетании с фиг.5. Согласно этому варианту осуществления сигнал главного компонента y не подается непосредственно в фильтр 501. Вместо этого, устройство дополнительно содержит схему 901 умножения, умножающую остаточный сигнал r, принятый от схемы 201, на константу , и схему 902 сложения для сложения масштабированного остаточного сигнала с сигналом у главного компонента, что приводит к сигналу y+ r, который подается в фильтр 501. Здесь у является малой положительной величиной, например, порядка 10-2. В одном варианте осуществления, константа адаптивно отслеживается. Преимуществом этого варианта осуществления является то, что частоты, которые в сущности не присутствуют в спектре сигнала у, но присутствуют в спектре r, могут использоваться в моделировании остаточного сигнала фильтром 501, что улучшает качество кодированного сигнала. Согласно этому варианту осуществления сигнал y+ r подается в кодер 202, который генерирует декодированный главный сигнал yе, подлежащий передаче к приемнику. Кроме того, согласно этому варианту осуществления константа у подается в сумматор 204 и передается к приемнику.
Фиг.10 показывает схематичный вид устройства для декодирования стереофонического сигнала согласно четвертому варианту осуществления изобретения, т.е. подходящего для декодирования сигнала, принятого от кодера согласно фиг.9. Это устройство содержит схему (С-1) 404 для извлечения принятой информации из комбинированного сигнала Т, декодер (Е-1) 402, декодер 602, фильтр (F) 601 и схему 401 поворота (е-1), как описано в сочетании с фиг.6. Согласно этому варианту осуществления схема 404 дополнительно извлекает константу из комбинированного сигнала Т, и устройство дополнительно содержит схему 1001 умножения для умножения предсказанного остаточного сигнала генерируемого фильтром 601, на принятую константу . Устройство дополнительно содержит схему 1002 для вычитания результирующего масштабированного предсказанного остаточного сигнала из декодированного главного сигнала y’.
Фиг.11 показывает схематичный вид устройства для кодирования многоканального сигнала согласно пятому варианту осуществления изобретения. Это устройство принимает многоканальный сигнал х=(x1,…,xn), содержащий n каналов. Устройство содержит анализатор (РСА) 1100 главного компонента для выполнения анализа главного компонента сигнала х, приводящего к весовому вектору w=(w1,…,wn), для преобразования входного сигнала х в сигнал главного компонента у и n-1 остаточных сигналов r1, r2,…,rn-1. Устройство дополнительно содержит схему 1101 преобразования (R), принимающую входной сигнал х и определенный весовой вектор w и генерирующую сигналы y и r1,…,rn-1 согласно вышеприведенному преобразованию. Преобразованные сигналы кодируются соответствующими кодерами (Е) 202 и 1102 и объединяются схемой 204 объединения (С) сумматора вместе с весовым вектором w, как описано в сочетании с фиг.2. Согласно этому варианту кодер 1102 адаптирован для кодирования остаточных сигналов r1,…,rn-1. Например, кодер 1102 может содержать n-1 параллельных кодеров, причем каждый из них кодирует один из остаточных сигналов, как описано в сочетании с кодером 202.
Фиг.12 показывает схематичный вид устройства для кодирования многоканального сигнала согласно шестому варианту осуществления изобретения. В дополнение к преобразованию многоканального сигнала, как описано в сочетании с фиг.11, согласно этому варианту осуществления сигнал главного компонента подается в множество адаптивных фильтров (F) 501, причем каждый из них предсказывает один из остаточных сигналов r1,…,rn-1, как описано в сочетании с фиг.5, что приводит к соответствующим параметрам фильтров Fp1,…,Fp(n-1), которые подаются в соответствующие кодеры (К) 503 и, впоследствии, в схему 204 объединения (С). В соответствующем декодере (не показан), соответствующие фильтры используются для генерации оценок ‘1,…, ‘n-1 остаточных сигналов, основанных на параметрах фильтров, как описано в сочетании с фиг.6.
Понятно, что согласно одному варианту осуществления, только подмножество остаточных сигналов, например, r1,…,rk, k
Фиг.13 показывает схематичный вид схемы вычитания для использования с вариантом осуществления изобретения. В вышеприведенных вариантах осуществления по фиг.5, 8, 9 и 12, параметры фильтра определяются путем сравнения целевого сигнала с оцененным сигналом, т.е. посредством сигнала ошибки е, служащего показателем разности между r и , сгенерированной схемой вычитания 502. Понятно, что схема вычитания может генерировать различные меры разности между r и , например, разность может быть определена во временной области или в частотной области. Со ссылкой на фиг.13 схема 502 может содержать схемы 1301 для преобразования сигналов r и , соответственно, в частотную область, например, путем выполнения быстрого преобразования Фурье (FFT). Результирующие частотные компоненты могут быть дополнительно обработаны соответствующими схемами 1304. Например, различные частоты могут быть взвешены различным образом, предпочтительно согласно свойствам системы аудитории, в результате чего разности в слышимом диапазоне частот получают больший вес. Другие примеры дополнительной обработки схемами 1304 включают в себя усреднение по заранее заданным частотным компонентам, вычисление величины комплексных частотных компонентов, кластеризацию частотных компонентов и т.п. Например, в предпочтительном варианте осуществления кластеризация выполняется перед вычитанием в частотной области. Эта кластеризация может быть выполнена с использованием блока фильтров, например, с линейным или логарифмическим поддиапазонами рабочих частот. Альтернативно, кластеризация может быть выполнена с использованием так называемого эквивалентного прямоугольного диапазона рабочих частот (ERB) (см., например, “An introduction to the Psychology of Hearing”, Brian Moore, Academic Press, London, 1997). Способ эквивалентных прямоугольных диапазонов рабочих частот кластеризует диапазоны рабочих частот, которые соответствуют фильтрам аудиторий, например, так называемые критические диапазоны частот. Согласно этому варианту осуществления соответствующая величина ERB как функция центральной частоты, f (в кГц), может быть вычислена согласно ERB=24,7 (4,37 f+1). Все еще со ссылкой на фиг.13, схема 502 дополнительно содержит схему вычитания 1303 для вычитания обработанных частотных компонентов. Альтернативно, преобразованные сигналы, генерируемые схемами 1301, непосредственно подаются в схему вычитания 1304 без дополнительной обработки. Разностный сигнал, генерируемый схемой вычитания 1304, подается в схему преобразования 1302 для преобразования сигнала ошибки обратно во временную область, например, посредством осуществления обратного быстрого преобразования Фурье (IFFT). Альтернативно, разностный сигнал в частотной области может использоваться непосредственно.
Понятно, что специалист может адаптировать вышеприведенные варианты осуществления, например, посредством добавления и удаления признаков или посредством комбинирования признаков вышеприведенных вариантов осуществления. Например, понятно, что признаки, введенные в вариантах осуществления по фиг.8 и 9, могут быть также включены в вариант осуществления по фиг.12. В качестве другого примера, сигнал е ошибки, описывающий качество оцененного остаточного сигнала в варианте осуществления по фиг.5, может сравниваться с пороговой ошибкой, служащей показателем максимально допустимой ошибки. Если ошибка не допустима, то сигнал ошибки может после соответствующего кодирования быть передан вместе с сигналом Т подобно способам, используемым в области техники, соответствующей линейному кодированию с предсказанием (LPC).
Отметим далее, что изобретение не ограничено стереофоническими сигналами, но также может применяться к другим многоканальным входным сигналам, имеющим два или несколько входных каналов. Примеры таких многоканальных сигналов включают в себя сигналы, принятые от цифрового универсального диска (DVD) или звукового компакт-диска и т.д. В этом более общем случае, сигнал y главного компонента и один или несколько остаточных сигналов r могут по-прежнему генерироваться согласно изобретению. Число переданных остаточных сигналов зависит от числа каналов и желательного расхода битов, так как остатки более высокого порядка могут быть опущены без значительного ухудшения качества сигнала.
В общем, преимуществом изобретения является то, что распределение расхода битов может адаптивно варьироваться, что позволяет осуществить постепенное ухудшение качества. Например, если на какое-то время канал связи только позволяет осуществлять передачу с уменьшенным расходом битов, например, из-за увеличенного сетевого графика, шума и т.п., то расход битов передаваемого сигнала может быть уменьшена без значительного ухудшения воспринимаемого качества сигнала. Например, в случае стационарного источника звука, обсуждаемого выше, расход битов может быть уменьшен со множителем, приблизительно равным двум, без значительного ухудшения качества сигнала, соответствующего передаче одного канала вместо двух.
Отметим, что вышеприведенные устройства могут быть реализованы как программируемые микропроцессоры общего или специального назначения, процессоры цифровых сигналов (DSP), специализированные интегральные схемы (ASIC), программируемые логические матрицы (PLA), вентильные матрицы, программируемые в условиях эксплуатации (FPGA), электронные схемы специального назначения и т.д., или комбинация вышеперечисленного.
Следует отметить, что вышеупомянутые варианты иллюстрируют, а не ограничивают изобретение и что специалисты в данной области техники смогут сконструировать много альтернативных вариантов не выходя за рамки объема, определяемого прилагаемой формулой изобретения. В формуле изобретения любые знаки ссылки, помещенные между круглыми скобками, не должны истолковываться как ограничивающие данный пункт формулы изобретения. Слово «содержащий» не исключает присутствие других элементов или этапов, чем те, которые включены в пункт формулы изобретения. Изобретение может быть реализовано посредством аппаратного обеспечения, содержащего несколько отличающихся элементов, и посредством подходящим образом запрограммированного компьютера. В пункте, соответствующем устройству, в котором перечислены несколько средств, несколько из этих средств могут быть воплощены посредством одного и того же элемента аппаратного обеспечения. Простой факт, что определенные признаки изложены во взаимно отличающихся зависимых пунктах формулы изобретения, не указывает на то, что комбинация этих признаков не может использоваться для достижения преимущества.
Формула изобретения
1. Способ кодирования многоканального сигнала, включающего в себя, по меньшей мере, первый компонент сигнала и второй компонент сигнала, причем этот способ содержит этапы, на которых
выполняют преобразование поворота в канальном пространстве в отношении упомянутых, по меньшей мере, первого и второго компонентов сигнала на угол преобразования поворота для генерации главного сигнала у и, по меньшей мере, одного остаточного сигнала r, при этом угол преобразования поворота задается параметром, который, на основе упомянутых, по меньшей мере, первого и второго компонентов сигнала, адаптивно определяют и в последствии отслеживают во времени таким образом, чтобы главный сигнал у включал в себя основную часть энергии сигнала и упомянутый остаточный сигнал r включал в себя меньше энергии, чем главный сигнал у; и
кодируют многоканальный сигнал посредством объединения, по меньшей мере, главного сигнала у и параметра, задающего угол преобразования поворота.
2. Способ по п.1, в котором главный сигнал соответствует главному компоненту упомянутых, по меньшей мере, первого и второго компонентов сигнала.
3. Способ по п.1, в котором на этапе кодирования объединяют главный сигнал у, параметр, задающий угол преобразования поворота, и упомянутый остаточный сигнал.
4. Способ по п.3, в котором этап кодирования дополнительно содержит этапы, на которых
кодируют главный сигнал с первым расходом битов; и
кодируют упомянутый остаточный сигнал r со вторым расходом битов, меньшим, чем первый расход битов.
5. Способ по п.1, дополнительно содержащий этап оценки упомянутого остаточного сигнала r на основе главного сигнала у с использованием фильтра с предсказанием, соответствующего множеству параметров фильтра, при этом на этапе кодирования объединяют главный сигнал у, параметра, задающий угол преобразования поворота, и упомянутое множество параметров фильтра.
6. Способ по п.1, в котором многоканальный сигнал содержит стереофонический сигнал, включающий в себя левый и правый компоненты сигнала.
7. Способ декодирования информации многоканального сигнала, содержащий этапы, на которых
принимают комбинированный сигнал Т, в котором, по меньшей мере, главный сигнал у объединен с параметром, задающим угол преобразования поворота, при этом главный сигнал у сгенерирован первым преобразованием поворота в канальном пространстве на угол преобразования поворота в отношении составляющих многоканальный сигнал, по меньшей мере, первого и второго компонентов сигнала, причем угол преобразования поворота выбран так, что главный сигнал у включает в себя основную часть энергии сигнала;
извлекают, по меньше мере, главный сигнала у и угол преобразования поворота из комбинированного сигнала Т; и
декодируют многоканальный сигнал посредством генерации упомянутых, по меньшей мере, первого и второго компонентов сигнала путем выполнения второго преобразования поворота в упомянутом канальном пространстве в отношении, по меньшей мере, главного сигнала у на угол преобразования поворота в направлении, противоположном направлению первого преобразования поворота.
8. Способ по п.7, в котором в принятом комбинированном сигнале Т главный сигнал у объединен с параметром, задающим угол преобразования поворота, и по меньшей мере, одним остаточным сигналом r, при этом второе преобразование поворота выполняют в отношении главного сигнала у и упомянутого остаточного сигнала r.
9. Способ по п.7, в котором в принятом комбинированном сигнале Т главный сигнал объединен с параметром, задающим угол преобразования поворота, и множеством параметров фильтра, при этом способ дополнительно содержит этап, на котором предсказывают, по меньшей мере, остаточный сигнал r на основе главного сигнала с использованием фильтра с предсказанием, соответствующего принятому множеству параметров фильтра, причем второе преобразование поворота выполняют в отношении главного сигнала у и упомянутого остаточного сигнала r.
10. Устройство для кодирования многоканального сигнала, включающего в себя, по меньшей мере, первый компонент сигнала и второй компонент сигнала, содержащее средства обработки, выполненные с возможностью выполнения преобразования поворота в канальном пространстве в отношении упомянутых, по меньшей мере, первого и второго компонентов сигнала на угол преобразования поворота для генерации главного сигнала у и, по меньшей мере, одного остаточного сигнала r, при этом угол преобразования поворота задается параметром, который, на основе упомянутых, по меньшей мере, первого и второго компонентов сигнала, адаптивно определяется и впоследствии отслеживается во времени таким образом, чтобы главный сигнал у включал в себя основную часть энергии сигнала и упомянутый остаточный сигнал r включал в себя меньше энергии, чем главный сигнала у; и
кодирования многоканального сигнала посредством объединения, по меньшей мере, главного сигнала у и параметра, задающего угол преобразования поворота.
11. Устройство для декодирования информации многоканального сигнала, содержащее
средство приема для приема комбинированного сигнала Т, в котором, по меньшей мере, главный сигнал у объединен с параметром, задающим угол преобразования поворота, при этом главный сигнал у сгенерирован первым преобразованием поворота в канальном пространстве на угол преобразования поворота в отношении составляющих многоканальный сигнал, по меньшей мере, первого и второго компонентов сигнала, причем угол преобразования поворота выбран так, что главный сигнал у включает в себя основную часть энергии сигнала; и
средство обработки для извлечения, по меньшей мере, главного сигнала у и угла преобразования поворота из комбинированного сигнала Т и декодирования многоканального сигнала посредством генерации упомянутых, по меньшей мере, первого и второго компонентов сигнала путем выполнения второго преобразования поворота в упомянутом канальном пространстве в отношении, по меньшей мере, главного сигнала у на угол преобразования поворота в направлении, противоположном направлению первого преобразования поворота.
12. Сигнал передачи данных, включающий в себя информацию многоканального сигнала, кодированную объединением, по меньшей мере, главного сигнала у и параметра, задающего угол преобразования поворота, при этом главный сигнал у сгенерирован преобразованием поворота в канальном пространстве на угол преобразования поворота в отношении составляющих многоканальный сигнал, по меньшей мере, первого и второго компонентов сигнала, причем угол преобразования поворота выбран так, что главный сигнала у включает в себя основную часть энергии сигнала.
13. Машиночитаемый носитель, содержащий запись данных, указывающую на информацию многоканального сигнала, кодированную способом кодирования многоканального сигнала, включающего в себя первый компонент сигнала и второй компонент сигнала, причем этот способ содержит этапы, на которых
выполняют преобразование поворота в канальном пространстве в отношении упомянутых, по меньшей мере, первого и второго компонентов сигнала на угол преобразования поворота для генерации главного сигнала у и, по меньшей мере, одного остаточного сигнала r, при этом угол преобразования поворота задается параметром, который, на основе упомянутых, по меньшей мере, первого и второго компонентов сигнала, адаптивно определяют и впоследствии отслеживается во времени таким образом, чтобы главный сигнал у включал в себя основную часть энергии сигнала и упомянутый остаточный сигнал r включал в себя меньше энергии, чем главный сигнал у; и
кодируют многоканальный сигнал посредством объединения, по меньшей мере, главного сигнала у и параметра, задающего угол преобразования поворота.
14. Устройство для передачи многоканального сигнала, включающего в себя, по меньшей мере, первый компонент сигнала и второй компонент сигнала, причем это устройство содержит устройство для кодирования многоканального сигнала, включающее в себя средства обработки, выполненные с возможностью
выполнения преобразования поворота в канальном пространстве в отношении упомянутых, по меньшей мере, первого и второго компонентов сигнала на угол преобразования поворота для генерации главного сигнала у и, по меньшей мере, одного остаточного сигнала r, при этом угол преобразования поворота задается параметром, который, на основе упомянутых, по меньшей мере, первого и второго компонентов сигнала, адаптивно определяется и впоследствии отслеживается во времени таким образом, чтобы главный сигнал у включал в себя основную часть энергии сигнала и упомянутый остаточный сигнал r включал в себя меньше энергии, чем главный сигнал у; и
кодирования многоканального сигнала посредством объединения, по меньшей мере, главного сигнала у и параметра, задающего угол преобразования поворота.
РИСУНКИ
,>
|
|