|
|
(21), (22) Заявка: 2005113233/09, 03.10.2003
(24) Дата начала отсчета срока действия патента:
03.10.2003
(30) Конвенционный приоритет:
09.10.2002 (пп.1-9, 18-21) GB 0223498.7 17.02.2003 (пп.10-17) GB 0303626.6
(43) Дата публикации заявки: 20.09.2005
(46) Опубликовано: 27.01.2008
(56) Список документов, цитированных в отчете о поиске:
RU 2127963 C1, 20.03.1999. US 5365516 A, 15.11.1994. US 6370383 B1, 09.04.2002. US 5255307 A, 19.10.1993.
(85) Дата перевода заявки PCT на национальную фазу:
11.05.2005
(86) Заявка PCT:
IB 03/04387 (03.10.2003)
(87) Публикация PCT:
WO 2004/034721 (22.04.2004)
Адрес для переписки:
129010, Москва, ул. Б. Спасская, 25, стр.3, ООО “Юридическая фирма Городисский и Партнеры”, пат.пов. Ю.Д.Кузнецову, рег.№ 595
|
(72) Автор(ы):
КРАУФВЕЛИН Себастиан (FI), КОЛЛ Ян (FI), ВАРОНЕН Томи (FI)
(73) Патентообладатель(и):
НОКИА КОРПОРЕЙШН (FI)
|
(54) ОБЕСПЕЧЕНИЕ ИНФОРМАЦИИ, ОТНОСЯЩЕЙСЯ К МОБИЛЬНОЙ СТАНЦИИ
(57) Реферат:
Изобретение относится к системам мобильной связи. Технический результат состоит в обеспечении пользователей информацией о местоположении абонента. Для этого в способ принимают запрос на уведомление о нахождении объекта в узле службы определения местоположения, предусмотренном во взаимосвязи с системой связи, причем запрос на уведомление содержит информацию, связанную с идентификацией мобильной станции и области нахождения, представляющей интерес. Затем активизируют контроль за событием, указывающим на смену в состоянии присутствия мобильной станции по отношению к упомянутой области, представляющей интерес. В ответ на обнаружение упомянутого события передают уведомление. 2 н. и 19 з.п. ф-лы, 15 ил.
Область техники
Настоящее изобретение относится к обеспечению информации, относящейся к мобильной станции, адаптированной для услуг беспроводной связи в системе связи, в частности к сигнализации об информации, которая генерируется на основе географического местоположения мобильной станции в ответ на предварительно определенное событие, такое как вход в некоторую географическую область или выход из этой области.
Предшествующий уровень техники
Известны системы связи, обеспечивающие пользователей возможностью беспроводной связи. Типовым примером таких систем является система сотовой или мобильной связи. Система сотовой связи представляет собой систему, которая основана на использовании узлов радиодоступа и/или областей обслуживания беспроводной связью. Узлы доступа часто называют ячейками. Характерной особенностью сотовых систем является то, что они обеспечивают мобильность для пользователей системы связи. Поэтому они часто называются системами мобильной связи.
Примерами систем сотовой связи, не накладывающими каких-либо ограничений, являются системы стандарта GSM (Глобальная система мобильной связи) или основанных на GSM стандартов, таких как GPRS (Общие услуги пакетной связи), AMPS (Американская мобильная телефонная система), DAMPS (Цифровая AMPS), WCDMA (широкополосный множественный доступ с кодовым разделением каналов), TDMA/CDMA (множественный доступ с временным разделением каналов/множественный доступ с кодовым разделением каналов), такие как UMTS (Универсальная мобильная телекоммуникационная система), IMT 2000, i-Phone и т.д.
В сотовой системе базовая приемопередающая станция (BTS) обеспечивает оборудование беспроводной связи, которое обслуживает мобильные станции (MS) или подобное беспроводное пользовательское устройство (UE) через радиоинтерфейс в зоне покрытия сотовой ячейки. Поскольку примерный размер и форма сотовой ячейки известны, можно связать сотовую ячейку с географической областью. Размер и форма сотовых ячеек могут меняться от ячейки к ячейке. Различные сотовые ячейки могут также группироваться вместе для формирования более крупной зоны обслуживания. Базовая станция может обеспечить более одной сотовой ячейки.
Каждая из сотовых ячеек может управляться соответствующим устройством управления. Например, в сети радиодоступа WCDMA базовая станция (которая может упоминаться как узел В) соединена с сетевым контроллером радиосвязи (RNC) и управляется им. В сети радиосвязи стандарта GSM базовая станция может быть соединена с контроллером базовой станции (BSC) подсистемы базовой станции (BSS) и может управляться им. Узел BSC/RNC может быть соединен с центром коммутации мобильной связи (MSC) и может управляться им. Могут также быть предусмотрены другие узлы управления, такие как обслуживающий узел поддержки GPRS (SGSN). Центры коммутации MSC сотовой сети в типовом случае взаимосвязаны, и может иметься один или более шлюзовых узлов, соединяющих сотовую сеть, например, с коммутируемой телефонной сетью общего пользования (PTSN) и другими телекоммуникационными сетями, например, с Интернет и/или другими сетями с коммутацией пакетов.
Сотовое сетевое устройство и/или мобильная станция могут использоваться для обеспечения информации местоположения мобильной станции и, следовательно, ее пользователя. В одном применении сотовые ячейки или подобные географически ограниченные области обслуживания и связанные с ними узлы управления содействуют системе сотовой связи в выработке, по меньшей мере, приближенной оценки информации местоположения, касающейся текущего географического местоположения конкретной мобильной станции. Если местоположение сотовой ячейки известно, то из него можно определить географическую область, в которой находится конкретная мобильная станция, осуществляющая связь в упомянутой сотовой ячейке. Эта информация может быть также обеспечена, если мобильная станция расположена в зоне покрытия посещаемой или «чужой» сети. Посещаемая сеть может иметь возможность передачи информации местоположения мобильной станции назад к исходной (домашней) сети, например, для поддержки услуг определения местоположения или для целей маршрутизации вызова и начисления платы.
Мобильная станция сама также может быть оснащена соответствующим оборудованием для обеспечения информации, на которой может быть основано определение местоположения мобильной станции. Мобильная станция может передавать информацию через базовую станцию на соответствующий сетевой элемент, который может использовать эту информацию предварительно определенным образом.
Более точная информация местоположения может быть получена на основе различных методов оценки местоположения, например, на основе измерений разности расстояний (RD) или посредством внешней службы по предоставлению информации местоположения, например, спутниковой системы, такой как GPS (Глобальная система определения местоположения) или Galileo. Измерения могут выполняться в мобильной станции или посредством нескольких базовых станций.
Информация местоположения в типовом случае обеспечивается с помощью функциональных средств службы определения местоположения, связанных с системой связи. Функциональные средства службы определения местоположения могут быть обеспечены отдельным сетевым элементом, таким как сервер определения местоположения, получающий информацию местоположения из одного или более источников. Если узел службы получает только указание текущей сотовой ячейки (например, идентификатор (ИД) сотовой ячейки), и не выполняются никакие дополнительные вычисления и/или аппроксимации, то это приведет к точности определения местоположения на уровне одной ячейки, т.е. это будет показывать, что мобильная станция находится (или, по меньшей мере, находилась) в зоне покрытия определенной ячейки.
Спецификация 3GTS 23.032 v4.0.0 консорциума 3GPP, озаглавленная «Универсальное описание географической области», представляет возможность определения/представления географических областей. Определение основывается на форме и одной или нескольких точках местоположений. Эта концепция может упоминаться под обозначением DEGA (Определенные географические области). На основе этой концепции мобильная станция измеряет свое местоположение. Станция адаптирована для сравнения полученного местоположения с определенной географической областью. Если определено, что мобильная станция вошла в определенную область или покинула ее, то мобильная станция посылает уведомление об этом в сеть.
Информация, требуемая для определения области, сохраняется в мобильной станции. Информация DEGA может транслироваться через базовые станции к мобильным станциям. Информация DEGA может также заранее сохраняться в модуле идентификации абонента (SIM)/UMTS SIM (SIM/USIM) мобильной станции. Информация DEGA в типовом случае состоит из одной или нескольких географических точек и форм, как определено спецификацией 3GTS 23.032. Информация DEGA может также включать в себя уникальное имя, идентификационный номер или другой идентификатор для рассматриваемой определяемой области.
Для приложения, основанного на определении местоположения, может представлять интерес, когда конкретный абонент входит в географическую область или покидает географическую область. Возможны различные виды услуг, если будет иметь место такой механизм. Для различных коммерческих и некоммерческих услуг и подобных приложений может оказаться полезным иметь информацию о том, находится ли мобильная станция в пределах конкретно определенной географической области. В некоторых применениях может быть полезным для сетевого элемента иметь возможность выполнить операцию по получению информации местоположения, только если мобильная станция обнаружена как находящаяся в выбранной части системы связи. Например, различным организациям или даже индивидуальным лицам может оказаться желательным послать информацию и/или предоставить услуги мобильной станции только в конкретной определенной географической области и/или абоненту определенного типа в конкретной географической области. Более детальные примеры этого включают основанные на определении местоположения услуги рассылки рекламных материалов и контроль родителями местонахождения детей. Может быть достаточным, если сторона, запрашивающая информацию, получает подтверждение о том, находится ли мобильная станция в пределах определенной области или нет. Также было бы полезным, если бы информация местоположения могла быть обеспечена таким образом, чтобы не приводить к избыточной нагрузке на ресурсы сети связи.
Изобретателям неизвестны решения, которые можно было бы реализовать на основе существующих стандартов и в которых не нужны были бы специализированные решения, использующие некоторые типы схем опроса и/или эвристики. Все предложенные решения основываются на механизмах опроса, и/или они вводят требования новых аспектов архитектуры для коммуникационных стандартов. Более ранние предложения использовали механизмы опроса и эвристику для уменьшения интервалов опроса, по мере того как абонент приближается к области, представляющей интерес. В последнее время консорциумом 3GPP было предложено решение, основанное на применении пользовательского устройства (UE). Однако это решение требует модификации и/или введения приложения, исполняющегося в модуле идентификации абонента (SIM) мобильной станции и информационного обмена с использованием службы коротких сообщений (SMS). Это предложение также требует введения новой архитектуры в услугу определения местоположения (LCS). Изобретателями было найдено, что известные решения, основанные на опросе и эвристике, могут быть слишком громоздкими (как с точки зрения вычислений, так и с точки зрения обусловленной этим нагрузки каналов сигнализации), особенно в случаях, когда не требуется ничего, кроме информации о том, находится ли конкретная мобильная станция в пределах определенной области или нет.
Сущность изобретения
Целью вариантов осуществления настоящего изобретения является преодоление одного или ряда недостатков, свойственных решениям, известным из уровня техники.
В соответствии с одним аспектом настоящего изобретения предусмотрен способ обеспечения информации, относящейся к мобильной станции, предназначенной для осуществления связи посредством системы связи, заключающийся в том, что
принимают запрос на уведомление о событии области в узле службы определения местоположения, обеспеченном во взаимосвязи с системой связи, причем запрос на уведомление о событии области содержит информацию, связанную с идентификацией мобильной станции и с областью, представляющей интерес;
активизируют контроль за событием, указывающим на смену состояния присутствия мобильной станции относительно упомянутой области, представляющей интерес; и
передают уведомление в ответ на обнаружение такого события.
В соответствии с одним аспектом настоящего изобретения в системе связи предусмотрена структура, содержащая
мобильные станции, предназначенные для беспроводной связи с базовыми станциями в системе связи;
узел службы определения местоположения, предназначенный для приема запроса на уведомление о событии области, содержащего информацию, связанную с идентификацией мобильной станции и с областью, представляющей интерес;
средство контроля, предназначенное для контроля, в ответ на прием упомянутого запроса, за событием, указывающим на смену состояния присутствия мобильной станции относительно упомянутой области, представляющей интерес, и для передачи уведомления в ответ на обнаружение такого события.
В соответствии с одним аспектом настоящего изобретения обеспечивается запрос на уведомление о событии области для использования в системе связи, причем мобильная станция адаптирована для беспроводной связи с базовыми станциями системы связи, запрос предназначен для активизации контроля за событием, указывающим на смену в состоянии присутствия целевой мобильной станции относительно области, представляющей интерес, и содержит информацию, связанную с идентификацией целевой мобильной станции и области, представляющей интерес.
В более конкретной форме контроль активизируется в мобильной станции.
Контроль может основываться на идентификации, по меньшей мере, одной сотовой ячейки системы связи, выбранной на основе упомянутой информации об области, представляющей интерес, на, по меньшей мере, одной области местоположения, основанной на упомянутой информации об области, представляющей интерес, на, по меньшей мере, одной области маршрутизации, определенной на основе упомянутой информации об области, представляющей интерес, и/или на, по меньшей мере, одной области обслуживания, определенной на основе упомянутой информации об области, представляющей интерес.
Область, представляющая интерес, может быть определена посредством формы области.
Запрос может содержать дополнительную информацию, относящуюся к событию, подлежащему уведомлению, и дополнительную информацию, определяющую, следует ли уведомлять о входе в область или о выходе из области, представляющей интерес.
Запрос на уведомления о событиях области может быть отменен.
Варианты осуществления изобретения могут обеспечивать систему и способ, посредством которых можно обеспечить информацию, касающуюся статуса присутствия мобильной станции по отношению к географической области, представляющей интерес.
Краткое описание чертежей
Настоящее изобретение поясняется ниже на примере со ссылками на чертежи, на которых представлено следующее:
Фиг.1 – некоторые из элементов системы сотовой связи, в которой могут быть реализованы варианты осуществления настоящего изобретения;
Фиг.2 – определенная область, покрываемая ячейками;
Фиг.3 – блок-схема, иллюстрирующая функционирование в соответствии с одним вариантом осуществления;
Фиг.4 – диаграмма сигнализации, иллюстрирующая функционирование в соответствии с одним вариантом осуществления настоящего изобретения;
Фиг.5-12 – возможные сообщения, передаваемые на различных этапах, показанных на фиг. 4;
Фиг.13 и 14 – диаграммы сигнализации, иллюстрирующие функционирование в соответствии с вариантами осуществления, которые являются альтернативными варианту, показанному на фиг. 4;
Фиг.15 – диаграмма сигнализации, иллюстрирующая отмену активизированной процедуры контроля.
Описание предпочтительных вариантов осуществления изобретения
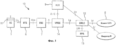
Описание приводится ниже сначала со ссылками на фиг.1 и 2. Фиг.1 показывает часть наземной сети мобильной связи общего пользования (PLMN) 10, в которой могут быть использованы варианты осуществления настоящего изобретения. На фиг.2 схематично показана область, покрываемая множеством узлов 20-23 доступа, то есть сотовые ячейки системы сотовой связи, показанной на фиг.1.
Каждая сотовая ячейка содержит связанную с ней базовую станцию 6. В системах связи 3-го поколения базовая станция может упоминаться как узел В. Термин «базовая станция», как он используется в настоящем описании, охватывает все элементы, которые передают и/или принимают сигналы от мобильных станций 1 или тому подобного через радиоинтерфейс. Аналогичным образом беспроводная станция или мобильные станции могут передавать сигналы к соответствующей базовой станции и принимать сигналы от соответствующей базовой станции посредством осуществления беспроводной связи с базовыми станциями.
Как показано на фиг.2, базовая станция может обеспечивать радиопокрытие различной формы, например область всенаправленного покрытия или секторный луч, как это обеспечивается направленной или секторной антенной. Секторная базовая станция может использовать, например, три направленные антенны с шириной луча 120°, при этом обеспечиваются три области радиопокрытия, или четыре направленные антенны с шириной луча 90°, обеспечивающие четыре области радиопокрытия, и т.д., или любые комбинации различных значений ширины луча, обеспечивающие радиопокрытие. Понятно, что размер и форма сотовых ячеек или других узлов доступа в типовом случае не являются настолько регулярными, как показано на фиг.2, а будут зависеть от условий в области и применения системы связи.
Мобильные станции могут перемещаться в пределах сотовой ячейки, а также из одной области покрытия ячейки в другую область покрытия ячейки. Местоположение мобильной станции может, таким образом, изменяться во времени, так как мобильная станция может свободно перемещаться в пределах области обслуживания системы связи.
Пользовательское устройство, такое как мобильная станция 1, может быть снабжено соответствующим оконечным устройством 11 для обеспечения информации местоположения, таким как процессорный блок.
Ниже некоторые элементы сетевой системы PLMN описаны более детально перед объяснением основного принципа настоящего изобретения. Мобильные станции или пользовательское устройство 1 предназначено для осуществления связи через радиоинтерфейс с соответствующей базовой станцией 6. Каждая базовая станция управляется соответствующим контроллером. На фиг.1 это обеспечивается с помощью контроллера базовой станции (BSC) 7. Системы третьего поколения (3G) ссылаются на сетевой контроллер радиосвязи (RNC), обеспечивающий сходную функциональность. На контроллер 7 и базовую станцию 6 могут иногда даваться ссылки в таких терминах, как сетевая подсистема радиосвязи (RNS) или наземная сеть радиодоступа UMTS (UTRAN) 10. Сетевая подсистема 10 радиосвязи может быть соединена с узлом контроллера, таким как центр коммутации мобильной связи (MSC) или обслуживающий узел поддержки GPRS (SGSN) 14. Центр коммутации MSC 14 обеспечивает различные функции управления, такие как отслеживание местоположения мобильной станции для целей маршрутизации вызова, и выполняет функции защиты и контроля доступа. Каждый абонент в типовом случае регистрируется в соответствующем функциональном средстве регистрации, таком как регистр исходного местоположения (HLR) 9 или домашний абонентский сервер (HSS). Центр коммутации MSC или подобное функциональное средство может осуществлять информационный обмен с узлом регистрации через соответствующее интерфейсное средство. В некоторых применениях MSC и HLR являются единым узлом. Центр MSC 14 может быть соединен с другими узлами, такими как шлюз (для ясности не показан). Узлы сети PLMN хорошо известны специалистам в данной области техники и поэтому детально не описываются.
Система PLMN может быть соединена с различными другими сетями связи, такими как другая сеть PLMN, коммутируемая телефонная сеть общего пользования (PTSN) или сети передачи данных, такие как Интернет. Это обозначено оператором В на фиг.1. Различные сети могут быть взаимосвязаны друг с другом через подходящие интерфейсы и/или шлюзы. Они также известны и не составляют существенную часть изобретения и поэтому для ясности не показаны.
Географическое местоположение базовых станций известно. Местоположение базовых станций может быть определено, например, в координатах Х и Y или в значениях широты и долготы. Также можно определить местоположение мобильной станции в вертикальном направлении. Например, координата Z может быть использована при обеспечении информации местоположения.
На фиг.1 показан узел 12 службы определения местоположения (LCS), обеспечивающий услуги определения местоположения для различных приложений или клиентов 8. В обобщенных терминах узел LCS может быть определен как функция или узел, имеющий возможность обеспечивать информацию, касающуюся географического местоположения мобильной станции. Как показано на фиг.1, узел 12 содержит шлюзовой центр определения местоположения мобильных станций (GMLC), предусмотренный на стороне базовой сети системы 10 связи. Понятно, что элементы иные, чем показанный узел GMLC, могут обеспечивать активный элемент службы LCS. Также понятно, что система связи может содержать более одного элемента службы определения местоположения (например, ряд серверов определения местоположения). Каждый из элементов службы определения местоположения может иметь отдельный адрес или отличающийся идентификатор, так что другие элементы системы могут осуществлять с ним связь. Понятно, что функциональные элементы службы определения местоположения могут быть реализованы где-угодно в системе связи, и что действительная реализация службы определения местоположения может распределяться между различными элементами системы. Кроме того, более одной службы определения местоположения может быть связано с системой связи, например, если два конкурирующих провайдера услуг имеют собственное устройство службы определения местоположения. Более детальное описание возможного выполнения сервера определения местоположения можно найти, например, в технической спецификации Европейского Института стандартов по телекоммуникациям (ETSI) «Службы определения местоположения», 3GРР спецификации 3GTS 23.171 или 23.271. Эти документы включены в настоящее описание посредством ссылки.
Узел 12 службы определения местоположения, показанный на фиг.1, выполнен с возможностью приема предварительно определенной информации, относящейся к местоположению мобильных станций, из сети радиодоступа через центр MSC и/или узел SGSN 14. Сервер 12 определения местоположения может быть выполнен с возможностью обработки информации, принимаемой от сетевой стороны, и/или некоторых других предварительно определенных параметров, и/или выполнения процессорным средством соответствующих вычислений для определения и выдачи информации на основе географического местоположения мобильных станций.
Узел 12 сервера определения местоположения может обеспечивать информацию определения местоположения клиенту 8. Клиент 8 является логическим функциональным узлом, который формирует запрос в узел GMLC 12 на получение информации, которая относится к одной или более мобильным станциям сотовой системы. Клиент 8 службы LCS может быть узлом, который является внешним относительно сети PLMN. Клиент может также быть внутренним клиентом (ILCS), т.е. находиться в любом узле (включая мобильную станцию) в сети PLMN. Клиент имеет право получать, по меньшей мере, некоторую часть информации, относящейся к местоположению (или предыстории местоположения) мобильной станции 1.
Узел 12 сервера определения местоположения отвечает на запрос местоположения от надлежащим образом авторизованного клиента 8 службы определения местоположения информацией, касающейся мобильных стаций, если аутентификация и другие требования удовлетворены. Сервер 12 определения местоположения может, таким образом, обеспечивать клиента 8, по запросу, текущим или самым последним географическим местоположением (если имеется) мобильных станций в пределах определенной области или, если процедура определения местоположения безуспешна, указанием ошибки и, дополнительно, указанием причины неудачи определения.
Конкретные требования и характеристики клиента 8 службы определения местоположения предпочтительным образом известны серверу 12 на основе его абонентского профиля клиента службы определения местоположения. Конкретные относящиеся к клиенту ограничения могут также быть детализированы в абонентском профиле клиента. Сервер 12 определения местоположения может также обеспечить возможность сетевому оператору начислять плату клиенту 8 за функцию определения местоположения, предоставляемую сетевым оператором.
Узел 12 сервера определения местоположения может состоять из ряда компонентов службы определения местоположения и каналов-носителей, необходимых для обслуживания клиентов 8 службы определения местоположения. Узел 12 сервера определения местоположения может обеспечивать платформу поддержки услуг, основанных на определении местоположения, параллельно с другими услугами связи, такими как речевая связь, передача данных, передача сообщений, другие услуги связи, пользовательские приложения и дополнительные услуги.
На фиг.1 также показан регистр 13 профиля конфиденциальности (PPR) для хранения конфиденциальной информации целевого мобильного пользовательского устройства. Регистр PPR может также использоваться для функций, таких как выполнение проверок конфиденциальности и посылка результатов проверок конфиденциальности в другие сетевые элементы, например, на интерфейс Lpp. Регистр RPP может быть образован посредством самостоятельного сетевого узла, или функции регистра PPR могут быть встроены в исходный узел GMLC (шлюзовой центр определения местоположения мобильных станций) для целевой мобильной станции.
Варианты осуществления настоящего изобретения направлены на обеспечение решения, в котором может контролироваться статус присутствия абонента в пределах области 5, представляющей интерес. На фиг.2 для наглядности показана область 5 прямоугольной формы. Однако понятно, что область, представляющая интерес, может иметь любую подходящую форму, такую как эллиптическая, многоугольная или круговая. Область также может быть определена, например, как область в пределах определенного радиуса или расстояния от некоторой точки (например, местоположения базовой станции или какого-либо другого местоположения), с помощью имени области (например, название города, деревни или организации на территории предварительно определенной области), координат или широты и долготы и т.д. Определение области также может включать в себя параметр высоты.
Ниже более детально описана возможность использования уже существующих механизмов таким образом, чтобы запуск события, связанного с областью, мог быть обеспечен в рамках существующей архитектурной среды, такой как структура, определенная в спецификациях LCS консорциума 3GPP, без добавления к сети какой-либо существенной нагрузки за счет сигнализации.
В соответствии с фиг.3, клиент 8, такой как клиент службы, основанной на определении местоположения, посылает запрос на определение местоположения в сеть 10 мобильной связи. Запрос указывает географическую область, представляющую интерес, и целевого абонента. Определение географической области может быть основано на одной или нескольких географических точках и формах, например, как определено в упомянутой спецификации 3GTS23.032. Запрос может также включать в себя указание того, заинтересовано ли клиентское приложение в определении того, когда абонент покидает область или входит в область.
Географическая область 5 может быть преобразована в список идентификаторов (ИД) сотовых ячеек. На фиг.2 область 5 показана как перекрываемая ячейками 20-23. Поэтому ИД этих ячеек должны быть включены в список.
Понятно, что также могут быть использованы другие возможности для определения области. Например, область может быть определена на основе идентификации группы ячеек (CGI), идентификации области обслуживания (SAI), кодов областей определения местоположения (LAC), области маршрутизации (RAC) и т.д.
В соответствии с возможным вариантом, узел GMLC 12 или другой соответствующий узел, имеющий возможность обеспечения функции отображения, отображает определенную область на ячейки, принадлежащие определенной области. Отображение может быть выполнено, например, с использованием существующих списков координат базовых станций и их оцениваемых дальностей или посредством любых других соответствующих критериев. Можно определить, что отображаются только такие ячейки, которые полностью находятся в пределах определенной области. Также может быть определено, что достаточным является, когда предварительно определенная часть области покрытия ячейки находится в пределах определенной области.
Отображение может быть выполнено в любом подходящем узле. На фиг.4, 13 и 14 показаны три альтернативы для возможного отображающего узла и связанная с этим сигнализация.
Список ячеек затем может быть послан к мобильной станции 1 для регистрации «указания активизации события области». Когда ИД ячейки обновляется, по мере того как абонент перемещается, мобильная станция 1 будет проверять новый ИД ячейки, сравнивая его со списком. Если найдено соответствие, то мобильная станция 1 посылает сообщение назад в сеть. Согласно фиг.1 сообщение должно пройти от мобильной станции 1 в узел GMLC 12.
Затем сеть сигнализирует клиентскому приложению 8, что терминал вошел в область/вышел из области, представляющей интерес. Ответ может просто информировать, что мобильная станция теперь находится в этой области или вне этой области.
Диаграмма сигнализации, представленная на фиг.4, иллюстрирует более детально возможный вариант осуществления. Функционирование основывается на использовании существующей архитектуры службы определения местоположения (LCS). Более конкретно, на фиг.4 показана процедура запроса задержанного определения местоположения, в которой сообщение об определении местоположения возвращается в сеть мобильным пользовательским устройством (UE) только после возникновения события области. Событие области возникает, когда определенное пользовательское устройство выходит из предварительно определенной географической области или входит в предварительно определенную географическую область. Область может быть определена посредством соответствующей схемы, например, посредством одной или нескольких ячеек, области маршрутизации (RA) или формы области определения местоположения или GAD.
На этапе 1 клиент 8 службы LCS посылает запрос «обеспечить определение местоположения абонента» (PSL), более конкретно, сообщение задержанного определения местоположения, на узел GLMC 12. Этот запрос на активизируемую передачу сообщения содержит идентификацию целевого пользовательского устройства, форму, соответствующую требованиям TS 23.032, и указание «события области». Запрос на задержанное определение местоположения может также содержать больше конкретных детальных данных, относящихся к событию, активизирующему передачу сообщения. Этапы 2-4 могут выполняться, например, в соответствии с технической спецификацией TS 23.271 для обычного сообщения о местоположении мобильного терминала (MT-LR).
На этапе 5 узел GMLC посылает к узлу VMSC/SGSN модифицированное МАР-сообщение «обеспечить определение местоположения абонента». Это сообщение содержит идентификацию целевого абонента, например, IMSI (международный идентификатор мобильного абонента) для целевого абонента или MSISDN, форму и указатель активизации события области. Пример возможной структуры сообщения показан на фиг. 5.
Для преобразования географической области, определенной формой, узел VMSC/SGSN может послать к контроллеру BSC модифицированное BSSMAP-LE-сообщение «запрос выполнения определения местоположения», содержащее форму области, обеспеченную на предыдущем этапе, см. этап 6. Указание формы представлено самым нижним элементом в примерной структуре сообщения, показанной на фиг.6.
Элемент информации типа определения местоположения может иметь форму, как показано на фиг.7. Код информации местоположения может быть представлен следующим образом:
00000000 текущее географическое местоположение
00000001 информация поддержки определения местоположения для целевой мобильной станции MS
00000010 ключи дешифрования для транслируемых данных поддержки определения местоположения для целевой MS
00000100 список CGI, LAC в границах формы, представленной в запросе
все другие значения зарезервированы.
На этапе 7 BSSMAP-LE-сообщение «запрос выполнения определения местоположения», посланное узлом VMSC/SGSN, направляется контроллером BSC к узлу SMLC. Узел SMLC может затем осуществить преобразование формы в список CGI, LAC и послать BSSMAP-LE-сообщение «ответ выполнения определения местоположения» контроллеру BSC, как показано на этапе 8. Содержимое возможного ответного сообщения подробно показано на фиг.8.
На этапе 9 контроллер BSC получает ответ от узла SMLC и посылает ответ назад к центру MSC. Центр MSC может затем послать на пользовательское устройство UE новое DTAP-сообщение «применение события области LCS», содержащее список CGI, SAI, RAC или LAC и т.д., и указание события области, как показано на этапе 10. Пример DTAP-сообщения детально показан на фиг.9.
Если DTAP-сообщение «применение события области LCS» успешно принято пользовательским устройством, то оно сохраняет список CGI и другую возможную информацию в своей памяти и активизирует контроль на этапе 11. Если соответственно указано в DTAP- сообщении «применение события области LCS», некоторый текст может быть отображен абоненту с помощью дисплея пользовательского устройства. Пользователь затем может принять или отклонить запрос на задержанное определение местоположения.
Дополнительно сеть может определить время, когда указание активации события области должно быть отменено, если событие не возникло.
Сообщение также может включать в себя адрес узла GMLC, так что когда событие происходит, ответ может быть маршрутизирован в корректный узел GMLC, даже если пользовательское устройство переместилось в область, обслуживаемую другим центром MSC.
В ответ на DTAP-сообщение «применение события области LCS» пользовательское устройство может послать на этапе 12 один из следующих ответов назад в узел VMSC/SGSN:
а) Запрос успешно установлен и ожидает события указания активизации.
b) Указание активизации уже удовлетворено.
с) Максимальное число разрешенных запросов задержанного определения местоположения достигнуто.
d) Запрос не может быть установлен – запрос, отклоненный пользователем.
е) Запрос не может быть установлен – запрос, отклоненный контролирующим узлом (МЕ).
Центр MSC принимает на этапе 13 DTAP-сообщение «применение события области LCS» от пользовательского устройства UE и включает результат в ответ на запрос «обеспечить определение местоположения абонента» (PSL). Возможный ответ показан на фиг.10.
Если запрос задержанного определения местоположения был успешно зарегистрирован в пользовательском устройстве UE, этот результат возвращается на этапе 14 к клиенту службы LCS, в противном случае возвращается сообщение ошибки.
Когда пользовательское устройство (UE) выполняет передачу обслуживания с одной ячейки на другую, контролирующий узел (МЕ) на этапе 15 будет проверять детальные характеристики новой обслуживающей ячейки, включая ИД ячейки. Если пользовательское устройство включает в себя функцию контроля, то функциональные средства контроля события области пользовательского устройства (UE) могут сравнивать ИД текущей ячейки или т.п. с одним или более ИД целевых ячеек в списке, принятом из сети.
Когда возникает событие, в зависимости от требования LDR, может генерироваться один из двух следующих ответов:
а) ответ службы LCS о событии области, указывающий на положительное совпадение с целевыми ячейками, т.е. абонент входит в область, или
b) ответ службы LCS о событии области, указывающий на отрицательное совпадение с целевыми ячейками, т.е. абонент выходит из области.
Обнаруженное изменение в ИД ячейки или ИД группы ячеек, коде области местоположения (LAC) или коде области маршрутизации может активизировать более точное определение местоположения, если таковое поддерживается пользовательским устройством UE. Вычисленное местоположение сравнивается с формой, переданной на этапе 10.
Приложение контроля события области может затем отмениться и DTAP-сообщение «отчет о событии области LCS» на этапе 16 посылается узлу VMSC/SGSN. Отчет может включать в себя первоначальное указание LDR, адрес GMLC, время возникновения события и ИД текущей обслуживающей ячейки. Информация, относящаяся к событию ячейки или статусу пользовательского устройства UE, может дополнительно включаться в этот отчет. Пример отчета о событии ячейки показан на фиг.11.
Когда узел VMSC/SGSN получает DTAP-сообщение «отчет о событии области LCS», он может генерировать МАР-сообщение «отчет о местоположении абонента» и послать его в узел GMLC, как показано в DTAP-сообщении. Возможный вариант этого отчета показан на фиг.12.
На этапе 18 узел GMLC подтверждает прием МАР-сообщения «отчет о местоположении абонента». Проверка конфиденциальности на этапе 19 может быть выполнена согласно TS 23.271 для обычного MT-LR. Затем узел GMLC посылает отчет о местоположении клиенту службы LCS на этапе 20, указывая, входит ли абонент в область, представляющую интерес, или выходит из этой области.
Фиг.13 и 14 соответствуют процедуре, представленной на фиг.4, за исключением того, что касается элемента, где осуществляется отображение. На фиг.4 отображение ИД ячеек выполняется в обслуживающем центре определения местоположения мобильных станций (SMLC), см. этап 8. Однако это может оказаться не подходящим во всех случаях. Например, если запрос, посылаемый в центр SMLC, направляется в такой центр SMLC, связанный с контроллером RNC/BSC, где в текущий момент находится пользовательское устройство UE, то этот центр SMLC необязательно должен иметь информацию для ячеек, представляющих интерес. Это объясняется тем, что центру SMLC нужно иметь только информацию об области, которую он обслуживает. Область, вводимая запрашивающим приложением, может располагаться в некоторой другой части сети, и это может быть скрыто от центра SMLC.
На фиг.13 отображение выполняется в узле GMLC, см. этап 5. Использование узла GMLC для отображения позволяет избежать вышеупомянутой проблемы, связанной с центром SMLC, и поэтому в настоящее время данное решение является предпочтительным. В этом случае запрос «обеспечить определение местоположения абонента» (PSL) требует модификации, чтобы включать в себя списки идентификаций.
На фиг.14 отображение выполняется в посещаемом центре коммутации мобильных станций (VMSC)/SGSN, см. этап 6.
В остальном функционирование согласно фиг.13 и 14 аналогично тому, как представлено на фиг.4, и поэтому не будет повторно описываться.
На фиг.15 иллюстрируется процедура отмены запроса на задержанное определение местоположения, где отчет об определении местоположения возвращается пользовательским устройством в сеть вслед за возникновением некоторого события области. На этапе 1 клиент службы LCS запрашивает отмену ранее направленного запроса на задержанное определение местоположения. Отмена может также быть инициирована самим центром GMLC по некоторым причинам, например, вследствие истечения времени настроенного на конкретную реализацию таймера в центре GMLC, или изменения настроек конфиденциальности пользовательского устройства, сохраненных в регистре PPR GMLC, вследствие чего запрос на задержанное определение местоположения больше не разрешен. Тип события, связанного с отменой, должен быть указан в процедуре отмены. Отмена может также инициироваться с пользовательского устройства, например, вследствие истечения времени настроенного на конкретную реализацию таймера в пользовательском устройстве UE, или истечения времени таймера, сигнал которого принимается из сети.
На следующем этапе центр GMLC может послать сообщение “SRIforLCS” в регистр HLR абонента для получения текущего центра VMSC, поскольку он мог измениться с момента регистрации основанного на области указания активизации в пользовательском устройстве UE. Этапы 3 и 4 могут выполняться в соответствии со спецификацией TS 23.271 для обычного MT-LR. Центр GMLC может указать запрос на отмену в сообщении «обеспечить определение местоположения абонента», направляемом к VMSC/SGSN, см. этап 5.
Затем на этапе 6 центр MSC может послать к пользовательскому устройству UE DTAP-сообщение “применить событие области LCS”, содержащее ИД запроса и указание, что соответствующий запрос задержанного определения местоположения отменен. Пользовательское устройство UE деактивирует контроль и очищает соответствующий список CGI, LAC и формы, см. этап 7. Пользовательское устройство на этапе 8 может ответить указанием на то, что запрос на задержанное определение местоположения успешно отменен. Затем центр VMSC на этапе 9 может послать подтверждение к узлу GMLC, указывающее, что запрос на задержанное определение местоположения успешно отменен. Узел GMLC может затем очистить все данные, относящиеся к отмененному запросу на задержанное определение местоположения, и послать на этапе 10 подтверждение клиенту службы LCS, если процедура отмены была инициирована клиентом службы LCS, как указано на этапе 1.
В соответствии с вариантом осуществления изобретения, после приема запроса, мобильная станция 1 может проверить, находится ли она в определенной географической области или нет, и послать результат в качестве немедленного ответа (т.е. в области или вне области).
Существующая архитектура может быть использована для обеспечения основанного на событии сообщения об области местонахождения. Функциональные средства контроля, требуемые на стороне мобильной станции, могут быть реализованы в самом терминале. Альтернативно, требуемые функциональные возможности могут быть обеспечены с помощью дополнительного устройства, связанного с мобильной станцией. Это может представлять собой приложение, исполняемое в контроллере мобильной станции, или сервер, с которым мобильная станция может осуществлять связь. Может быть предпочтительным, если приложение не исполняется в блоке SIM (модуль идентификации абонента) мобильной станции. Это может обеспечить решения, которые не зависят от сетевых операторов.
Процедура определения местоположения может быть выполнена процессорным блоком 11 мобильной станции.
Если пользовательское устройство UE поддерживает некоторую более точную технологию позиционирования, то к пользовательскому устройству UE может быть передано указание формы, использованной в запросе, вместе с указаниями ячеек, области маршрутизации и областей определения местоположения. В этом случае указания ячеек, области маршрутизации или области определения местоположения запускают действительное определение местоположения. Вычисленное местоположение сравнивается с переданной формой теми же способами, как и для обычных ячеек, области маршрутизации или области определения местоположения.
Дополнительно, если положение пользовательского устройства UE вычисляется по некоторой иной причине, результаты могут сравниваться с переданной формой.
Мобильный терминал осуществляет смену ячеек довольно часто в режиме ожидания (дежурном режиме) и в режиме соединения при обычном функционировании, и это может вызвать значительную и избыточную нагрузку сигнализации для услуги, связанной с событием области. Для минимизации такой нагрузки предусматриваются два усовершенствования вариантов осуществления изобретения.
Одно усовершенствование состоит в том, что когда активизация срабатывает, контекст очищается при возникновении события. Иными словами, этот тип активизации не является постоянным, а имеет свойство одноразовости. В результате, как только одиночное сообщение о событии области возвращено мобильным терминалом, клиенту службы определения местоположения потребовалось бы инициировать следующий запрос события области, чтобы принять дополнительную информацию активизации.
Второе усовершенствование состоит в стандартизации правил сообщения о событиях области для мобильного устройства или SIM-карты. Следует отметить, что уже имеются стандартизованные правила относительно того, каким образом мобильная станция осуществляет смену ячеек в различных состояниях, и какие пороговые значения она применяет. Даже при этом мобильная станция осуществляет смену ячеек довольно часто, так что дополнительные правила, описанные ниже, могут быть предпочтительно использованы для предотвращения слишком частой смены областей посылки сообщений.
Возможные правила, которые могут быть применены в комбинации или отдельно, включают следующее:
1. Мобильная станция не должна посылать сообщение о событии области любого типа более часто, чем однократно в течение заданного периода времени.
2. Мобильная станция посылает сообщение о выходе из области, только если мобильная станция покидает область после того, как она находилась в целевой области в течение предварительно определенного времени, например, 1-2 минут.
3. В случае непрерывного сообщения о событиях области мобильная станция не должна повторно посылать сообщение о прибытии в область или сообщение об уходе из области для ячейки, принадлежащей той же самой области обслуживания, более часто, чем один раз в течение предварительно определенного интервала времени, например, каждые 10-15 минут, за 24 часа.
4. Мобильная станция посылает сообщение о прибытии в область (AAR) после того, как она находилась в соответствующей ячейке или использовала ее в течение предварительно определенного времени, например, 2 минут.
5. Мобильная станция может только послать сообщение о выходе из области, если она ранее послала сообщение AAR для той же самой области, и только после того, как она находилась в соответствующей ячейке (или использовала ее) в течение предварительно определенного времени, например, 1-2 минут.
Интервалы времени, как описано выше, могут быть определены клиентом службы LCS, который указывает интервал времени как параметр в своем запросе на услугу определения местоположения, посылаемом в узел GMLC. Интервалы времени, описанные выше, могут также быть определены сетевым оператором как настройка общего системного параметра, которая должна быть включена в соответствующую сигнализацию между GMLC, MSC/SGSN и мобильной станцией или SIM-картой.
Мобильная станция обычно может иметь возможность принимать ИД ячеек от различных ячеек, которые являются смежными с обслуживающей ячейкой. В соответствии с дальнейшим усовершенствованием изобретения мобильная станция адаптируется для распознавания, принадлежит ли одна или более смежных ячеек к предварительно определенной области, и запуска контроля смены ячеек. Определение области обслуживания может выполнять указание того, что мобильная станция может модифицировать свои критерии смены ячеек в такой ситуации. Согласно одной альтернативе этого усовершенствования, ячейки, которые принадлежат определенной области, делаются более «устойчивыми», чем нормальные ячейки, так что мобильная станция «предпочитает» такие ячейки. Во второй альтернативе данного усовершенствования ячейки области обслуживания имеют более высокий порог, так что мобильная станция «предпочитает» другие ячейки в областях границ ячеек. В этом случае предпочтительная область более ограничена и лучше определена, чем «нормальная» область обслуживания. Такое усовершенствование должно вводиться оператором с осторожностью, так как оно может повлиять на нормальное планирование сети радиосвязи и управление мобильными станциями.
В еще одном усовершенствовании настоящего изобретения сеть может послать указание в узел GMLC, когда абонент услуги события области входит в сеть PLMN, так что эта сеть PLMN может подгрузить определения областей, списки ячеек и т.д., которые она применяла для этого абонента, в новую сеть PLMN. Когда терминал осуществляет роуминг, он будет обнаруживать, когда он входит в новую сеть PLMN, и поэтому будет выполнять обычное обновление местоположения. Регистр VLR или узел SGSN в посещаемой сети PLMN затем пошлет обновленные данные местоположения в регистр HLR в исходной сети PLMN абонента, как это хорошо известно. В соответствии с данным усовершенствованием абонент, совершающий роуминг, подписывается на услугу определения местоположения в целом или на конкретную услугу события области, которая применима в посещаемой сети PLMN. Терминал, SIM-карта, регистр VLR или узел SGSN посылают указание активизации к посещаемому узлу GMLC (V-GMLC) в посещаемой сети PLMN (V-PLMN), указывающее, что терминал такого абонента вошел в сеть V-PLMN. Узел V-GMLC проверяет, имеются ли какие-либо события области, которые применимы для этого абонента, и узел V-GMLC запрашивает у VMSC/SGSN соответствующие списки ячеек для посылки к мобильной станции. В этом случае, если клиент службы LCS (или сам абонент) определяет новую область в посещаемой сети, узел V-GMLC может загрузить соответствующий список ячеек в мобильную станцию. В случае, когда используется решение с SIM-комплектом, узел V-GMLC посылает списки ячеек в исходную сеть PLMN, и исходная сеть PLMN обновляет списки ячеек в мобильной станции.
Мобильная станция может быть в текущий момент соединена с сетью иной, чем запрашиваемая целевая область. Текущая обслуживающая сеть может не иметь возможности отображать запрашиваемую географическую область другой сети на список ячеек, LA и RA. Усовершенствование настоящего изобретения обеспечивает решение для данной ситуации, согласно которому узел GMLC посылает запрос, когда мобильная станция находится в целевой сети PLMN. Узел GMLC может принять адрес целевой сети PLMN или код страны/имя от клиента службы LCS. Другая альтернатива может заключаться в том, что узел GMLC может сам отыскать соответствующую сеть PLMN географической области. Возможными местами, куда может быть послан запрос, являются регистр HLR, центр MSC/регистр VLR, узел SGSN, SIM-карта или мобильная станция. Когда мобильная станция входит в целевую сеть PLMN, регистр HLR, центр MSC/регистр VLR, узел SGSN, SIM-карта или мобильная станция могут послать к узлу GMLC ответ о том, что мобильная станция теперь вошла в целевую сеть PLMN.
В другом решении после получения информации о целевой сети PLMN исходный узел GMLC может послать запрос на событие области к целевому узлу GMLC/SMLC, который преобразует географическую область в список ячеек, LA и RA. Затем H-GMLC направляет эту принятую информацию к мобильной станции, на SIM-карту или в посещаемый центр MSC/ узел SGSN. В этой альтернативе ячейки должны быть в формате глобальной идентификации ячеек (CGI), или информация области (ячейки, LA, RA) должна содержать информацию, что они относятся к конкретной сети PLMN. Таким путем ИД ячеек, идентификаторы LA или RA из целевой сети PLMN не смешиваются с ИД ячеек, идентификаторами LA или RA в посещаемой сети.
Ниже описано еще одно усовершенствование изобретения, причем указанное усовершенствование может быть рассмотрено как верификация или проверка корректности ответа от терминала.
Невозможно на 100% быть уверенным, что абонент находится в целевой области, так как операторы настраивают свои сети на ежедневной основе. Это означает, что ИД ячейки может уже не соответствовать целевой географической области, поскольку оператор осуществил изменение в сети радиосвязи после регистрации указания активизации в терминале и перед тем, как указание активизации сработало. С использованием усовершенствования, описанного ниже, провайдер услуг может обнаружить изменения в конфигурации сети радиосвязи, которые влияют на качество услуг в области, чтобы быть уверенным, что терминал действительно находится в желательной географической области.
Поэтому данное усовершенствование предусматривает, что прежде чем будет передан ответ, указывающий, что абонент вошел в предварительно определенную географическую область или вышел из нее, ИД ячейки, возвращенный терминалом, проверяется узлом преобразования (например, узлом SMSC, MSC/SGSN, GMLC), чтобы гарантировать, что ячейка все еще находится в целевой географической области. Это может быть реализовано путем сравнения текущих ИД ячеек целевой географической области, сохраненных в сети, с ИД ячейки, возвращенным в ответе терминала.
Если ИД ячейки по-прежнему связан с целевой областью, то клиенту службы LCS посылается обычный ответ. В противном случае сеть может либо повторно выдать запрос задержанного определения местоположения к терминалу с обновленным списком ячеек, или клиенту услуги LCS может быть возвращено сообщение об ошибке. В случае сообщения об ошибке клиент службы LCS может повторно выдать исходный запрос на определение местоположения, и обновленная информация ИД ячеек может быть предоставлена для терминала.
Другой аспект данного усовершенствования состоит в том, что клиент службы LCS или сеть, например, узел GMLC может отменить или обновить предварительно заданное определение области во всех мобильных станциях, подписанных на эту область обслуживания, если сеть обнаруживает случай ошибки, описанный выше. Отмена или обновление определения области может обычно делаться в фоновом режиме, если мобильная станция установила другое соединение с сетью. Альтернативно узел GMLC может запросить центр MSC/узел SGSN установить выделенное соединение сигнализации (DTAP) для этой цели.
Узел GMLC может также послать, отменить или обновить определение области в мобильной станции или на SMI-карте мобильной станции путем запроса центра SMS о посылке SMS-сообщения к мобильным станциям.
В качестве примера, определенная географическая область, например торговый центр, может быть связана, например, с идентификатором ячейки cell-ID_1. Ввиду внесенных оператором изменений, идентификатор cell-ID_1 был перераспределен еще куда-то в сети, и торговый центр стал связанным с идентификатором ячейки cell-ID_8. Поэтому необходимо обновить данные для мобильной станции, чтобы возвращать ответные сообщения, связанные с идентификатором ячейки cell-ID_8, и любая информация, возвращенная как связанная с cell-ID_1, будет нерелевантной, поскольку она теперь не связывается с торговым центром.
В дополнение к позиционированию на основе идентификатора ячейки, определение местоположения может базироваться на любом подходящем способе, таком как MO-LR (запрос определения местоположения, инициированный мобильной станцией), основанном на мобильной станции E-OTD (улучшенный метод наблюдаемой разности времен), GPS (Глобальная система определения местоположения) или DGPS (дифференциальная GPS) и т.д. Точное определение местоположения мобильной станции может оцениваться или вычисляться с использованием существующих методов определения местоположения.
В предпочтительной форме в мобильном пользовательском устройстве 1 предусмотрен механизм для регистрации «указателя активизации события области». Однако активизация события, связанного с областью, может также обеспечиваться на сетевой стороне. Таким образом, хотя выше описано решение, в котором сообщение запроса передается сети радиодоступа и дополнительно мобильной станции, сообщение может не передаваться мобильной станции, а запрос принимается и обрабатывается, и запрошенная ответная информация генерируется элементами сети. Основанное на сети решение может быть реализовано, например, таким образом, что событие контролируется и регистрируется посредством контроллера BSC.
Дополнительно к указанному выше, сообщение запроса может содержать различную другую информацию.
Как показано на фиг.2, возможно, что ячейки не обеспечивают полного покрытия определенной области 5. Требования полноты для покрытия могут быть определены в соответствии с приложением, например, так, что улучшенное покрытие требуется в областях с высокой плотностью населения, например, в городах, по сравнению с сельскими районами. Разумеется, также может случиться, что ячейки будут перекрываться. В таком случае может быть достаточным, если пользовательское устройство выходит из одной из ячеек или входит в одну из ячеек.
В соответствии с предпочтительным вариантом осуществления, мобильная станция 1 оснащена блоком 11 определения местоположения. Следует иметь в виду, что мобильная станция может принимать информацию о местоположении из другого источника, например, от узла SMLC, который реализован в системе на сетевой стороне.
Также понятно, что хотя в приведенных выше примерах варианты осуществления изобретения описаны в контексте систем WCDMA, UMTS и/или GPRS, варианты осуществления настоящего изобретения также применимы к любой другой системе связи, которая работает с пакетными данными, не пакетными данными, речевой связью и т.д.
Также следует отметить, что хотя выше описаны приведенные для примера варианты осуществления изобретения, имеются различные варианты и модификации, которые могут быть осуществлены в раскрытых решениях, без отклонения от объема настоящего изобретения, как раскрыто в пунктах формулы изобретения.
Формула изобретения
1. Способ обеспечения пользователей информацией, относящейся к мобильной станции, предназначенной для осуществления связи в системе связи, заключающийся в том, что
принимают запрос на уведомление о событии, касающемся области местонахождения мобильной станции, в узле службы определения местоположения, предусмотренном во взаимосвязи с системой связи, причем запрос на уведомление о событии, касающемся области местонахождения мобильной станции, содержит информацию, связанную с идентификацией мобильной станции и области, представляющей интерес;
активизируют контроль за событием, указывающим на смену в состоянии присутствия мобильной станции по отношению к упомянутой области, представляющей интерес; и
передают уведомление в ответ на обнаружение упомянутого события.
2. Способ по п.1, в котором контроль активизируют в мобильной станции.
3. Способ по п.1, в котором контроль основан на идентификации, по меньшей мере, одной ячейки системы связи, выбранной на основе упомянутой информации об области, представляющей интерес.
4. Способ по п.1, в котором контроль основан, по меньшей мере, на одной области местонахождения, определенной на основе упомянутой информации об области, представляющей интерес.
5. Способ по п.1, в котором контроль основан, по меньшей мере, на одной области маршрутизации, определенной на основе упомянутой информации об области, представляющей интерес.
6. Способ по п.1, в котором контроль основан, по меньшей мере, на одной области обслуживания, определенной на основе упомянутой информации об области, представляющей интерес.
7. Способ по п.1, в котором область, представляющую интерес, определяют посредством формы области.
8. Способ по п.1, в котором запрос содержит дополнительную информацию относительно события, подлежащего уведомлению, и дополнительную информацию, определяющую, следует ли уведомлять о входе в область, представляющую интерес, или о выходе из этой области.
9. Способ по п.1, включающий в себя отмену запроса на уведомления о событиях области.
10. Способ по п.9, в котором запрос отменяют после этапа передачи уведомления.
11. Способ по п.1, в котором передачу уведомления осуществляют в ответ на обнаружение события в течение предварительно определенного периода времени.
12. Способ по п.1, в котором последующая передача ограничена в пределах предварительно определенного периода времени.
13. Способ по п.12 в котором клиент службы определения местоположения (LCS) задает предварительно определенный период времени так, чтобы последующая передача была ограничена.
14. Способ по п.12, в котором сетевой оператор задает предварительно определенный период времени так, чтобы последующая передача была ограничена.
15. Способ по п.1, в котором область, представляющая интерес, принимается во внимание при выборе ячейки.
16. Способ по п.1, в котором этап приема запроса на уведомление о событии области осуществляют в ответ на обновление данных местоположения.
17. Способ по п.1, дополнительно включающий в себя этап подтверждения местоположения мобильной станции в ответ на передачу местоположения, чтобы гарантировать, что местоположение соответствует области, представляющей интерес.
18. Система связи, содержащая
мобильные станции, предназначенные для беспроводной связи с базовыми станциями в системе связи;
узел службы определения местоположения, предназначенный для приема запроса на уведомление о событии области, содержащего информацию, связанную с идентификацией мобильной станции и области, представляющей интерес;
средство контроля, предназначенное для контроля, в ответ на прием упомянутого запроса, за событием, указывающим на смену состояния присутствия мобильной станции относительно упомянутой области, представляющей интерес, и для передачи уведомления в ответ на обнаружение такого события.
19. Система по п.18, в которой средство контроля обеспечено во взаимосвязи с целевой мобильной станцией.
20. Система по п.18, в которой средство контроля основано на идентификаторе области, связанном с работой системы связи.
21. Система по п.18, в которой область, представляющая интерес, определяется посредством ее формы.
РИСУНКИ
|
|