|
|
(21), (22) Заявка: 2004127442/09, 12.02.2003
(24) Дата начала отсчета срока действия патента:
12.02.2003
(30) Конвенционный приоритет:
14.02.2002 US 10/076,848
(43) Дата публикации заявки: 20.04.2005
(46) Опубликовано: 27.01.2008
(56) Список документов, цитированных в отчете о поиске:
GB 2281676 А, 08.03.1995. RU 2154348 С2, 10.08.2000. GB 2290196 А, 13.12.1995. WO 0167674, 13.09.2001.
(85) Дата перевода заявки PCT на национальную фазу:
14.09.2004
(86) Заявка PCT:
US 03/04386 (12.02.2003)
(87) Публикация PCT:
WO 03/069944 (21.08.2003)
Адрес для переписки:
129010, Москва, ул. Б. Спасская, 25, стр.3, ООО “Юридическая фирма Городисский и Партнеры”, пат.пов. Ю.Д.Кузнецову, рег.№ 595
|
(72) Автор(ы):
КРОКЕТТ Дуглас М. (US), РОУЗЕН Эрик К. (US), МАДЖЕНТИ Марк (US)
(73) Патентообладатель(и):
КВЭЛКОММ ИНКОРПОРЕЙТЕД (US)
|
(54) УСТРОЙСТВО СВЯЗИ ДЛЯ ПРИСОЕДИНЕНИЯ АБОНЕНТА К ГРУППОВОМУ ВЫЗОВУ В СЕТИ ГРУППОВОЙ СВЯЗИ
(57) Реферат:
Изобретение относится к системам связи абонента с множеством абонентов. Предложены способ и устройство присоединения абонента к телефонному вызову в сети групповой связи, обеспечивающие прием указания от абонента, желающего инициировать групповой вызов, и передачу в сервер запроса на добавление абонента к групповому вызову в случае наличия выполняемого группового вызова, которые также обеспечивают прием из сервера ответа, указывающего наличие выполняемого группового вызова, предупреждение абонента о добавлении его к групповому вызову и прием из сервера медиаданных после восстановления канала графика. Техническим результатом является обеспечение существенного сокращения общего времени выхода из неактивного состояния и времени задержки за счет обмена служебными сигналами группового вызова даже в том случае, когда подвижные станции являются неактивными и отсутствует какой-либо активный канал графика. 4 н. и 20 з.п. ф-лы, 18 ил.
ОБЛАСТЬ ТЕХНИКИ, к которой относится изобретение
Настоящее изобретение относится к системам связи абонента с множеством абонентов. В частности, настоящее изобретение относится к способу и к устройству добавления абонента, желающего инициировать групповой вызов, к групповому вызову в случае наличия выполняемого группового вызова.
Уровень техники
На протяжении многих лет существовали различные формы предоставления категории услуг беспроводной связи, предназначенной для обеспечения быстрой, эффективной связи одного абонента с другим абонентом или одного абонента с множеством абонентов (групповой связи). В общем случае, это обслуживание являлось полудуплексным, при котором абонент перед началом разговора нажимает кнопку “нажми и говори”, НиГ (PTT), находящуюся на его телефоне/радиотелефоне. Нажатие кнопки либо приводит к переключению его радиостанции, что имеет место в некоторых вариантах осуществления, либо указывает наличие запроса абонента о предоставлении ему “права на телефонный разговор” (“floor”), что имеет место в небольшой системе, в которой связь осуществляют через какой-либо сервер. Если говорящему абоненту предоставлено право или разрешение на телефонный разговор, то абонент затем обычно говорит в течение нескольких секунд, после чего он отпускает свою кнопку НиГ, и запрос о предоставлении права на телефонный разговор может поступить от других говорящих абонентов. Связь обычно осуществляют между одним говорящим абонентом и группой слушающих абонентов, но может быть осуществлена индивидуальная связь одного абонента с другим абонентом. Такое обслуживание традиционно использовалось в тех областях применения, в которых необходимо обеспечить связь одного человека, именуемого “диспетчером”, с группой людей, например с обслуживающим персоналом, работающим в полевых условиях, или с водителями такси, и именно отсюда происходит наименование этого вида услуг как “диспетчерская связь”.
Был предложен аналогичный тип услуг в сети Интернет, которые обычно известны как “интерактивный обмен речевыми сообщениями” (“речевой чат”) (“voice chat”). Эти услуги обычно реализуют в виде прикладных программ для персонального компьютера, которые обеспечивают передачу кадров вокодера в виде пакетов протокола сети Интернет (IP), то есть услугу передачи речевых данных по протоколу сети Интернет (VoIP), в центральный сервер группового интерактивного обмена речевыми сообщениями (“группового чата”) или, возможно, от одного клиента другому клиенту при одноранговом обслуживании.
Главной отличительной особенностью этих услуг является то, что связь, которую обычно инициируют просто путем нажатия кнопки НиГ, минуя обычную последовательность операций набора номера и телефонного вызова, является быстрой и непосредственной. При этом типе обслуживания связь обычно является очень кратковременной, с наличием отдельных “резких всплесков” речевой активности, продолжительность которых обычно составляет порядка нескольких секунд, при этом длительность “разговоров” может быть равной одной минуте или менее.
Временная задержка между моментом выдачи абонентом запроса о предоставлении права на телефонный разговор и моментом получения им из сервера подтверждения того, что ему предоставлено право на телефонный разговор и он может начать говорить или что ему отказано в этом праве, которая известна как время задержки функции НиГ, является важным параметром для систем полудуплексной групповой связи. Как упомянуто выше, системы диспетчерской связи предоставляют приоритет кратковременным, быстрым разговорам, что приводит к более низкой эффективности обслуживания в том случае, если время задержки функции НиГ становится большим.
Существующие инфраструктуры групповой связи предоставляют ограниченные возможности для существенного сокращения времени задержки функции НиГ, то есть фактическое время задержки функции НиГ не может быть уменьшено таким образом, чтобы оно было меньшим, чем время, необходимое для восстановления каналов трафика при отсутствии активности во время сеансов пакетной передачи данных. Кроме того, каналы трафика между говорящим абонентом и слушающими абонентами создают последовательно, поскольку единственным имеющимся в распоряжении механизмом активизации неактивной группы является ожидание восстановления канала трафика говорящего абонента для передачи сигнала в сервер. В настоящее время не существует какого-либо иного способа передачи служебных данных абонента, исходящих из мобильного устройства, чем по каналу трафика, что является ограничением, требующим восстановления каналов трафика до того, как может быть установлена какая-либо связь между клиентами и сервером.
Следовательно, существует потребность в создании средства, обеспечивающего уменьшение как времени задержки функции НиГ, воспринимаемого говорящим абонентом, так и общего времени, требуемого для восстановления каналов трафика для участвующих подвижных станций, без негативного воздействия на пропускную способность системы, на срок службы аккумулятора клиентского устройства или на иные ресурсы.
В модели диспетчерской связи связь между оконечными точками осуществляют в рамках виртуальных групп, в которых осуществляют широковещательную передачу голоса одного “говорящего абонента” одному или большему количеству “слушающих абонентов”. Один из вариантов связи этого типа обычно называют диспетчерским вызовом или просто вызовом. Вызов представляет собой реализацию группы, определяющей характеристики вызова и, в сущности, перечень участников с некоторой связанной с ним информацией, которой является, например, наименование группы или идентификатор группы. Перечень участников представляет собой перечень, состоящий из одного или большего количества абонентов, приглашенных к участию в вызове.
Существует необходимость в создании такой модели диспетчерской связи, которая обеспечивает поддержку как модели дискуссионных групп, так и специализированной модели обслуживания групповых вызовов. В модели дискуссионных групп группы являются заданными, и сведения о них могут быть запомнены в сервере диспетчеризации. Однако в специализированной модели группы могут быть заданы и/или изменены в реальном масштабе времени.
СУЩНОСТЬ ИЗОБРЕТЕНИЯ
В раскрытых вариантах осуществления изобретения предложен новый и усовершенствованный способ добавления абонента к групповому вызову в сети групповой связи, который используют в устройстве связи и который заключается в том, что осуществляют прием указания от абонента, желающего инициировать групповой вызов, и осуществляют передачу в сервер запроса на добавление абонента к групповому вызову в случае наличия выполняемого группового вызова.
Согласно другому техническому решению в настоящем изобретении предложен считываемый посредством компьютера носитель информации в устройстве связи, реализующий способ добавления абонента к групповому вызову в сети групповой связи, при этом способ содержит упомянутые операции.
Согласно еще одному техническому решению в настоящем изобретении предложено устройство связи, обеспечивающее добавление абонента к групповому вызову в сети групповой связи, которое содержит средство приема указания от абонента, желающего инициировать групповой вызов, и средство передачи в сервер запроса на добавление абонента к групповому вызову в случае наличия выполняемого группового вызова.
Согласно еще одному техническому решению в настоящем изобретении предложено устройство связи, обеспечивающее добавление абонента к групповому вызову в сети групповой связи, которое содержит приемник, передатчик и процессор, соединенный с возможностью поддержки связи с приемником и передатчиком, при этом процессор выполнен с возможностью осуществления приема указания от абонента, желающего инициировать групповой вызов, и осуществления передачи в сервер запроса на добавление абонента к групповому вызову в случае наличия выполняемого группового вызова. Согласно одному из предложенных технических решений устройство связи представляет собой устройство типа “нажми и говори” (НиГ).
КРАТКОЕ ОПИСАНИЕ ЧЕРТЕЖЕЙ
Отличительные признаки и преимущества настоящего изобретения станут более очевидными из приведенного ниже подробного описания при его рассмотрении совместно с чертежами, на которых одинаковыми номерами позиций на разных чертежах обозначены соответственно одинаковые узлы и на которых изображено следующее:
на фиг.1 показана система групповой связи;
на фиг.2 показано то, каким образом несколько прикладных программ взаимодействуют друг с другом;
на фиг.3 показан пример процесса регистрации абонента согласно одному из вариантов осуществления изобретения;
на фиг.4 показан пример процесса установления внутрирегионального телефонного соединения, осуществляемого локально, согласно одному из вариантов осуществления изобретения;
на фиг.5 показан пример процесса установления внутрирегионального телефонного соединения из удаленного местоположения согласно одному из вариантов осуществления изобретения;
на фиг.6 показан пример процесса установления межрегионального телефонного соединения, осуществляемого локально, согласно одному из вариантов осуществления изобретения;
на фиг.7 показан пример процесса установления межрегионального телефонного соединения из удаленного местоположения согласно одному из вариантов осуществления изобретения;
на фиг.8 показан пример процесса выхода из группового вызова согласно одному из вариантов осуществления изобретения;
на фиг.9 показан пример процесса завершения группового вызова согласно одному из вариантов осуществления изобретения;
на фиг.10 показан пример процесса передачи предупреждения о групповом вызове согласно одному из вариантов осуществления изобретения;
на фиг.11 показан пример процесса присоединения к групповому вызову с опозданием согласно одному из вариантов осуществления изобретения;
на фиг.12 показан пример процесса предоставления говорящему абоненту преимущественного права согласно одному из вариантов осуществления изобретения;
на фиг.13 показан пример процесса добавления новых участников к активному групповому вызову согласно одному из вариантов осуществления изобретения;
на фиг.14 показан пример процесса удаления участников из группового вызова согласно одному из вариантов осуществления изобретения;
на фиг.15 показан пример процесса удаления регистрации абонента согласно одному из вариантов осуществления изобретения;
на фиг.16 показано то, каким образом несколько устройств связи взаимодействуют с администратором связи согласно одному из вариантов осуществления изобретения;
на фиг.17 показана буферизация медиаданных со стороны администратора связи согласно одному из вариантов осуществления изобретения,
на фиг.18 показана буферизация медиаданных со стороны клиента согласно одному из вариантов осуществления изобретения.
ПОДРОБНОЕ ОПИСАНИЕ ИЗОБРЕТЕНИЯ
Перед тем как будет приведено подробное объяснение одного из вариантов осуществления настоящего изобретения, следует понимать, что область применения изобретения не ограничена подробностями конструктивного исполнения и компоновки компонентов, изложенными в приведенном ниже описании или проиллюстрированными на чертежах. Изобретение может быть реализовано в иных вариантах его осуществления и выполнено различными способами. Также понятно, что используемая здесь фразеология и терминология служат в описательных целях и их не следует расценивать как ограничивающие.
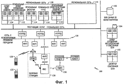
На фиг.1 показан пример функциональной блок-схемы системы 100 групповой связи. Система 100 групповой связи также также известна как система типа “нажми и говори”, НиГ (PTT), система сетевого широковещательного обслуживания, СШО (NBS), система диспетчерской связи или система связи “одного абонента с множеством абонентов”. В одном из вариантов осуществления изобретения система 100 групповой связи содержит такие компоненты сервера прикладных программ, как, например, диспетчеры, серверы определения местоположения, комплексы устройств управления медиаданными, УУМД (MCU), серверы регистрации сведений об использовании и клиентские устройства, работающие по протоколу сети Интернет (IP) (устройства беспроводной и/или проводной связи, способные поддерживать связь по протоколу сети Интернет (IP)). Компоненты сервера прикладных программ могут быть размещены либо в виде централизованной схемы размещения, либо в виде районированной схемы размещения, исходя из функциональных возможностей компонента. Централизованная схема размещения может содержать диспетчера 102 собственной сети, ДСС (HD), сервер 104 определения местоположения в собственной сети, СОМСС (HLS), и базу 106 данных об абонентах/группах. Эти компоненты могут быть расположены централизованно в сети поставщика услуг, и доступ к ним может быть осуществлен из региональных схем размещения. Централизованные компоненты могут быть использованы при определении местоположения абонентов, пользующихся роумингом, и при инициировании межрегиональных групповых вызовов. Районированная схема 108, 110 размещения может содержать региональный сервер 112 определения местоположения, РСОП (RLS), регионального диспетчера 114, РД (RD), комплекс 116 регионального устройства управления медиаданными, УУМД (MCU), и региональный сервер 118 регистрации сведений об использовании, СРСИ (ULS).
Районированные схемы размещения могут быть распределенными по сети поставщика услуг, что обеспечивает минимизацию задержек в сети, связанных с установлением телефонного соединения, для удовлетворения требований в отношении незамедлительного ответа. Распределение нагрузки телефонного вызова по нескольким районированным системам также обеспечивает возможность разработки адекватных наращиваемых схем для поддержки большого количества абонентов. Районированные компоненты сервера прикладных программ обеспечивают регистрацию абонентов, установление внутрирегионального телефонного соединения и управление им, а также инициирование и передачу предупреждений для абонентов, зарегистрированных в данном регионе.
Устройства 120, 122 групповой связи (клиенты), который могут быть размещены в телефонной трубке стандарта множественного доступа с кодовым разделением 2000 года, МДКР-2000 (cdma2000), например, выдают запрос на получение разрешения на сеанс пакетной передачи данных с использованием стандартной возможности выбора услуги передачи данных и используют этот сеанс связи для регистрации их IP-адреса посредством сервера прикладных программ и инициирования группового вызова. В одном из вариантов осуществления изобретения компоненты 108, 110 сервера прикладных программ соединены с узлами обслуживания пакетной передачи данных, УОППД (PDSNs), имеющимися в сети поставщика услуг. После выдачи запроса на получение разрешения на сеанс пакетной передачи данных от инфраструктуры беспроводной связи клиенты 120 и 122 получают возможность соединения с компонентами 108, 110 сервера прикладных программ по протоколу сети Интернет (IP) через узлы УОППД.
После включения питания клиенты 120, 122 могут выдать запрос на сеанс пакетной передачи данных с использованием предоставляемой услуги передачи данных. В качестве части операции установления сеанса пакетной передачи данных клиенту присваивают IP-адрес. В этот момент времени клиент также получает адрес сервера 124 службы имен доменов (DNS). Клиент 120, 122 выдает запрос в сервер 124 службы имен доменов (DNS), например, с использованием операции поиска служебных записей, СЛЗ (SRV), для того, чтобы найти адрес РСОП 112. После определения местоположения РСОП 112 клиент 120, 122 может выполнить регистрацию, уведомляя сервер прикладных программ путем передачи информации о его местоположении, например, IP-адреса. Регистрация может быть осуществлена с использованием протокола сети Интернет (IP), например протокола инициирования сеанса связи (SIP) по протоколу передачи дейтаграмм пользователя (UDP). IP-адрес клиента 120, 122 может быть использован для установления связи с клиентом при приглашении абонента принять участие в групповом вызове.
В одном из вариантов осуществления изобретения после завершения регистрации клиент может выполнить другой поиск записи СЛЗ службы имен доменов (DNS) для того, чтобы найти адрес регионального диспетчера 114. Клиент устанавливает связь с региональным диспетчером всякий раз, когда абонент выдает запрос на то, чтобы начать телефонный вызов, или посылает предупреждение. Средством взаимодействия между региональным диспетчером 114 и клиентом 120, 124 может являться протокол передачи служебных сигналов по протоколу передачи дейтаграмм пользователя (UDP).
После установления группового вызова клиент 120, 114 и комплекс 116 УУМД производят обмен информационными сообщениями и сообщениями о телефонном вызове. В одном из вариантов осуществления изобретения передача информации между участниками телефонного вызова и комплексом 116 УУМД может быть осуществлена с использованием протокола передачи в реальном времени (RTP) по протоколу передачи дейтаграмм пользователя (UDP). Сообщения о вызове могут быть также реализованы посредством протокола обмена сигналами по протоколу передачи дейтаграмм пользователя (UDP). Описание этих протоколов и обеспечиваемых ими функциональных возможностей приведено ниже.
КОМПОНЕНТЫ
В состав системы 100 групповой связи могут входить оконечные точки протокола сети Интернет (IP), содержащие клиентское программное обеспечение, а также районированные и централизованные серверные компоненты, которые необходимы для предоставления услуг групповой связи. Более подробное описание клиентов групповой связи и компонент сервера прикладных программ приведено в последующих разделах.
КЛИЕНТЫ
Клиент 120, 122 групповой связи может работать в любой оконечной точке протокола сети Интернет (IP), имеющей доступ к соответствующему вокодеру (к соответствующим вокодерам). Оконечные точки протокола сети Интернет (IP) могут содержать прикладные программы, выполняемые в системе беспроводной связи, например в системе стандарта МДКР-2000 (cdma2000), базовую инструментальную платформу для разработки прикладных программ, например двоичную среду выполнения программ для беспроводной связи (BREW), и персональные компьютеры.
Клиент может содержать прикладную программу, которая может быть разработана с использованием двоичной среды выполнения программ для беспроводной связи (BREW), и средства взаимодействия с программным обеспечением модема подвижной станции, ПОМПС (MSM), которое может быть загружено в клиентское устройство, содержащее двоичную среду выполнения программ для беспроводной связи (BREW). Двоичная среда выполнения программ для беспроводной связи (BREW) представляет собой инструментальную платформу, предоставляющую разработчикам возможность создания прикладных программ, способных работать в клиентских устройствах связи. Двоичная среда выполнения программ для беспроводной связи (BREW) обеспечивает наличие изолирующего уровня для разработчика прикладных программ, позволяя осуществлять разработку прикладных программ без установления непосредственной связи с программным обеспечением ПОМПС (MSM) и с программным обеспечением производителя комплексного оборудования, ПКО (OEM). Это позволяет быстро осуществлять разработку прикладных программ и их эволюционное развитие независимо от ПОМПС и/или от программного обеспечения производителя комплексного оборудования (OEM). Это также обеспечивает возможность загрузки прикладных программ в любое устройство, содержащее двоичную среду выполнения программ для беспроводной связи (BREW). Как показано на фиг.2, клиентская прикладная программа 202 групповой связи может выполняться параллельно с другими прикладными программами 204, 206, 208, 210. Наряду с тем, что эти услуги могут быть предоставлены напрямую через средства взаимодействия, предоставляемые программным обеспечением 212 производителя комплексного оборудования (ПКО) и ПОМПС 214, двоичная среда выполнения программ для беспроводной связи (BREW) обеспечивает изоляцию от изменений, сделанных прикладной программой на этих уровнях. Это позволяет осуществлять эволюционное развитие программного обеспечения 212 производителя комплексного оборудования (ПКО) и ПОМПС 214 отдельно от информационных приложений 202, 204, 206, 208, 210.
Для обеспечения эффективного функционирования клиента в персональном компьютере персональный компьютер может содержать средство доступа к совместимому вокодеру, средство доступа к звуковым драйверам и средство связи с серверами прикладных программ по протоколу сети Интернет (IP).
СЕРВЕР ОПРЕДЕЛЕНИЯ МЕСТОПОЛОЖЕНИЯ
В одном из вариантов осуществления изобретения сервер определения местоположения, СОМ (LS), может принимать и/или сохранять информацию о местоположении абонента, например IP-адрес сетевого уровня, физическое местоположение абонента, например долготу и широту, и/или идентификатор зоны пакетной передачи, то есть способом радиосвязи по прямым каналам связи общего пользования осуществляют широковещательную передачу системного идентификатора, указывающего область действия УОППД, обеспечивающего обслуживание пакетной передачи данных для этого сектора. В одном из вариантов осуществления изобретения СОМ может содержать компонент, обеспечивающий обработку регистрации клиентов и передачу информации о местоположении абонента в другие прикладные программы, например программу мгновенного обмена сообщениями с использованием интерфейса на основе протокола инициирования сеанса связи (SIP).
СОМ может содержать два функциональных элемента: региональный сервер 112 определения местоположения (РСОП) и сервер определения местоположения в собственной сети (СОМСС) 104. РСОП 112 может быть размещен в каждом из регионов, а СОМСС 104 может являться централизованным. Подробное описание этих узлов и их функций приведено ниже.
РЕГИОНАЛЬНЫЙ СЕРВЕР ОПРЕДЕЛЕНИЯ МЕСТОПОЛОЖЕНИЯ
РСОП 112 может осуществлять обработку и хранение данных о регистрации клиентов, расположенных в пределах его региона. В одном из вариантов осуществления изобретения РСОП 112 представляет собой стандартный СОМ на основе протокола инициирования сеанса связи (SIP) с соответствующим запоминающим устройством для хранения информации о местоположении абонента. В качестве части операции обслуживания регистрационных данных РСОП 112 может проверить дату истечения срока действия, а именно поля “истечение срока действия”, для каждых данных о регистрации. РСОП обеспечивает гарантированное удаление записей с истекшим сроком действия, а сведения об удаленных записях передают как региональному диспетчеру (РД), так и в СОМСС.
Как описано выше, клиенты могут выполнять регистрацию по протоколу сети Интернет (IP) для уведомления сервера прикладных программ об их местоположении. Клиенты могут сохранять свои регистрации в течение срока их пригодности для услуги групповой связи. Клиенты могут выполнить перерегистрацию в случае изменения IP-адреса клиента и перед истечением срока регистрации.
При регистрации или перерегистрации клиента РСОП 112 может уведомить об этом соответствующего ему РД 114. Это позволяет РД 114 осуществлять предварительную загрузку данных об абоненте при подготовке к выдаче запросов на установление телефонного соединения, что, следовательно, приводит к сокращению времени установления телефонного соединения. РД 114 может осуществлять кэширование информации о местоположении абонента, что устраняет необходимость в установлении связи РД 114 с РСОП для извлечения информации о местоположении абонента во время процедуры установления телефонного соединения.
В том случае, если информация о местоположении абонента обновлена или удалена из РСОП 112, РСОП 112 может уведомить об этом РД 114. Это обеспечивает синхронизацию РСОП 112 и РД 114 по отношению к самой свежей информации об абонентах, зарегистрированных в данном регионе.
РСОП 112 может также периодически обновлять СОМСС 104 посредством информации о местоположении зарегистрированных абонентов. В том случае, если РСОП 112 представляет на рассмотрение в СОМСС 104 сведения о регистрации абонента, уже имеющего действующую регистрацию в другом регионе, СОМСС может разрешить конфликтную ситуацию.
СЕРВЕР ОПРЕДЕЛЕНИЯ МЕСТОПОЛОЖЕНИЯ В СОБСТВЕННОЙ СЕТИ
СОМСС 104 может осуществлять обработку запросов на получение информации о местоположении абонентов. В одном из вариантов осуществления изобретения СОМСС 104 обеспечивает средство взаимодействия на основе протокола инициирования сеанса связи (SIP), предоставляющее возможность другим прикладным программам, например прикладной программе мгновенного обмена сообщениями, выдать запрос на получение информации о местоположении конкретного абонента.
В том случае, если СОМСС 104 представляет собой централизованный компонент, с которым РСОП поддерживают связь, СОМСС может принимать решения в отношении множества регистраций в различных регионах для абонентов, пользующихся роумингом. СОМСС 104 может осуществлять прием информации о регистрации из каждого РСОП. Если СОМСС 104 получает сведения о множестве регистраций одного и того же абонента, то СОМСС 104 может сохранить сведения о самой последней регистрации и выдать запрос на удаление устаревших сведений о регистрации (регистрациях) абонента из серверов РСОП. Это, в свою очередь, может инициировать удаление помещенной в кэш информации об этом абоненте из РД 114, соответствующего тому РСОП, который содержит устаревшие сведения о регистрации.
ДИСПЕТЧЕР
Диспетчер может облегчить процедуру установления телефонного соединения, определяя местонахождение абонентов и предоставляя для групповых вызовов комплекс 116 устройств управления медиаданными (УУМД). Диспетчер представляет собой серверный компонент, который является ключевым для соответствия требованию наличия “прямого доступа”. Для обеспечения кратчайшего времени установления телефонного соединения диспетчер может содержать два функциональных элемента, имеющих аналогичную структуру и функциональные возможности, но различные стратегии размещения. Этими двумя элементами являются региональный диспетчер 114 (РД) и диспетчер 102 собственной сети (ДСС), подробное описание которых приведено в последующих разделах.
РЕГИОНАЛЬНЫЙ ДИСПЕТЧЕР
РД 114 может представлять собой исходную точку связи для запросов на установление телефонного соединения и запросов на передачу предупреждений. РД 114 может осуществлять предварительную загрузку информации об абоненте в момент приема им из РСОП 112 указания о том, что абонент является зарегистрированным. Вместе с информацией об абоненте РД 114 может кэшировать информацию о групповых вызовах, выполняемых в системе. Во время установления телефонного соединения РД 114 может использовать помещенную в кэш информацию об абонентах и группах для минимизации времени установления соединения, то есть поиски по базе данных могут не потребоваться.
В одном из вариантов осуществления изобретения информация о группах, которую РД запоминает в кэше, содержит перечень участников группы и адрес комплекса 116 УУМД, в котором выполняется группа. РД 114 может сохранить перечень участников и адрес УУМД в течение продолжительности телефонного вызова. Это помогает РД 114 быстро определить, содержит ли поступающий запрос на телефонное соединение определение группы, идентичной той группе, для которой соответствующее телефонное соединение уже действует в системе, что позволяет РД быстро реагировать на запросы на установление телефонного соединения и в ответ на них уверенно удовлетворять или отклонять запрос “о предоставлении права на телефонный разговор”.
РД 114 может удовлетворить или отклонить запрос о контроле за предоставлением права на телефонный разговор. РД 114 может принять решение о том, следует ли ему выдать в комплекс 116 УУМД запрос о добавлении абонента к телефонному вызову как участника, “присоединившегося с опозданием”, или инициировать новый телефонный вызов с соответствующим перечнем участников.
При обработке запроса на установление телефонного соединения РД 114 может использовать помещенную в кэш информацию об абоненте для извлечения информации о местоположении абонентов, указанных в запросе на установление телефонного соединения. Если местоположение абонента не может быть определено, то РД 114 может выдать в ДСС 102 запрос на определение местоположения абонента. В одном из вариантов осуществления изобретения в том случае, если определено местоположение, по меньшей мере, одного или большего количества абонентов-адресатов, РД 114 приступает к процедуре установления телефонного соединения. После того как местоположение абонентов-адресатов определено, РД 114 может принять решение о том, какому УУМД следует предоставить телефонный вызов. Это определение может быть выполнено на основании IP-адресов абонентов, входящих в состав группы, в том числе инициатора вызова.
Обработку запросов на передачу предупреждений РД 114 может осуществлять аналогично обработке запросов на телефонное соединение. В одном из вариантов осуществления изобретения выполнение обработки запроса на передачу предупреждений предоставляют локальному комплексу 116 УУМД вне зависимости от местоположения абонентов-адресатов.
В одном из вариантов осуществления изобретения может быть осуществлена периодическая запись информации, хранящейся в кэше РД, на надежное запоминающее устройства, что обеспечивает возможность ее восстановления в случае сбоя в работе. После восстановления после сбоя в работе РД информация об абоненте и о группе, записанная на надежное запоминающее устройство, может быть перезагружена в кэш и РД возобновляет операцию проверки достоверности помещенной в кэш информации вместе с обработкой поступающих запросов на установление телефонного соединения.
В одном из вариантов осуществления изобретения РД 114 загружает данные об абоненте в локальный кэш после каждого уведомления о регистрации абонентов, поступившего из РСОП 112. За счет устранения необходимости выполнения нескольких операций поиска по базе данных во время установления телефонного соединения РД 114 значительно сокращает количество времени, требуемого для проверки достоверности и ответа на запросы на установление телефонного соединения или запросы на передачу предупреждений.
РД 114 может осуществлять доступ к базе 106 данных об абонентах/группах во время процедуры установления телефонного соединения для представления адресов заранее заданной группы при их наличии в запросе, в развернутом виде как перечней отдельных абонентов и, в случае необходимости, преобразования альтернативных идентификаторов абонентов или групп, например, номеров телефонов, идентификаторов конференц-связи, в канонический адрес (канонические адреса).
ДИСПЕТЧЕР СОБСТВЕННОЙ СЕТИ
Диспетчер 102 собственной сети (ДСС) может отслеживать информацию о местоположении зарегистрированных абонентов. ДСС может содержать информацию о местоположении абонентов, которые произвели регистрацию посредством РСОП 112.
Как описано выше, каждый РСОП 112 может посылать в соответствующий ему РД 114 уведомление при каждом факте регистрации, перерегистрации, отказа от регистрации или при истечении срока регистрации абонентов. РД 114 может использовать эту информацию для загрузки или вывода информации об абоненте, хранящейся в его локальном кэше. Каждый РД 114 может осуществлять обновление ДСС 102 посредством информации о местоположении абонента. Так как ДСС 102 получает обновления из РД 114, то ДСС 102 может содействовать при поиске абонентов, разбросанных по различным географическим регионам. РД 114 может выдать запрос на получение помощи от ДСС 102 в том случае, когда он получает запрос об абоненте, не зарегистрированном в текущий момент времени в регионе, то есть сведения о котором отсутствуют в информации об абонентах, хранящейся в кэше РД.
СЕРВЕР СЛУЖБЫ ИМЕН ДОМЕНОВ (DNS)
В одном из вариантов осуществления изобретения в системе 100 групповой связи может быть использован сервер 124 службы имен доменов (DNS) поставщика услуг для предоставления клиентам информации о местоположении для РСОП 112 и РД 114. Эта информация может быть скомпонована по каждой районированной схеме размещения и подвергнута периодическому обновлению для обеспечения ее правильности.
В одном из вариантов осуществления изобретения каждый клиент узнает адрес сервера службы имен доменов (DNS) посредством согласования протокола управления протоколом сети Интернет (IPCP) во время установления сеанса связи по протоколу двухточечного соединения (PPP), когда он просит о предоставлении сеанса пакетной передачи данных. Уведомление о сервере 124 службы имен доменов (DNS) может быть осуществлено этим способом для каждого из регионов. Это позволяет клиенту перемещаться из одного региона в другой регион и поддерживать связь с сервером 124 службы имен доменов (DNS) в том регионе, в котором находится клиент. Сервер 124 службы имен доменов (DNS) размещен в каждом из регионов таким образом, что он связан с каждым УОППД. В одном из вариантов осуществления изобретения обновление сервера 124 службы имен доменов (DNS) может быть осуществлено каждым РД 124 и РСОП, обслуживающим УОППД, с которым связан сервер 124 службы имен доменов (DNS).
В одном из вариантов осуществления изобретения алгоритм, используемый для определения местоположения соответствующего РД 114 и РСОП 112, основан на объединении адресации службы имен доменов (DNS) и протокола инициирования сеанса связи (SIP). Поиск по записи службы имен доменов (DNS) (СЛЗ) может быть выполнен на основании части “<домен>” универсального идентификатора ресурса (URI) протокола инициирования сеанса связи (SIP), под которым регистрируется клиент. Запрос на получение записи СЛЗ может содержать протокол или услугу, которые пытается найти сторона, выдавшая запрос. Например, в случае попытки определить местоположение РСОП 112 клиент может выдать запрос на предоставление “услуги регистрации” при поиске записи СЛЗ службы имен доменов (DNS). Ответ службы имен доменов (DNS) может содержать сведения об одной или большем количестве действующих сетей и адреса портов сервера, предоставляющего запрошенную услугу. Сервер 124 службы имен доменов (DNS) может быть использован для выравнивания нагрузки между серверами, предоставляющими ту же самую услугу, позволяя серверу 124 службы имен доменов (DNS) осуществлять обслуживание в порядке круговой очереди между множеством серверов при возврате ответов на запросы клиентов.
БАЗА ДАННЫХ ОБ АБОНЕНТАХ/ГРУППАХ
В одном из вариантов осуществления изобретения база 106 данных об абонентах/группах представляет собой центральное хранилище информации об абонентах и о группе. Для каждого абонента база данных может содержать такую информацию, как, например, адрес абонента, ранг преимущественного права, информацию о подтверждении подлинности абонента, информация о возможностях связи с абонентом и флаг законного перехвата, который указывает, находится ли абонент под наблюдением. База данных может также содержать описания заранее заданных групп, которые для услуг диспетчеризации на основе модели дискуссионных групп представляют собой перечни абонентов и соответствующее наименование группы. Каждая группа может быть однозначно определена, например, посредством адреса группы. Клиент может использовать адрес группы для идентификации группы в запросе на установление группового телефонного соединения. РД 14 может использовать адрес группы для извлечения соответствующего перечня участников из базы 106 данных об абонентах/группах при получении им запроса на установление группового телефонного соединения с указанной в нем заранее заданной группой.
КОМПЛЕКС УСТРОЙСТВА УПРАВЛЕНИЯ МЕДИАДАННЫМИ
Комплекс устройства управления медиаданными (УУМД) может содержать хост-узлы управления медиаданными (ХУМД) и устройство управления медиаданными (УУМД). ХУМД может служить в качестве хост-узла и осуществлять управление множеством процессов, выполняемых УУМД. Каждое УУМД может осуществлять управление передачей служебных сигналов в реальном масштабе времени и обработку медиаданных для одиночного телефонного вызова. Функции, выполняемые УУМД для телефонного вызова, могут содержать следующие функции:
– обработку данных о распределении телефонных вызовов, поступающих из РД 114,
– передачу информации о загрузке и о состоянии в ХУМД,
– передачу клиентам информации об инициировании телефонного вызова,
– обработку передачи служебных сигналов телефонного вызова, поступающих от клиентов, например запросов устройств типа НиГ,
– обеспечение надежной доставки клиентам сообщений о вызове,
– копирование и распределение медиаданных для телефонных вызовов “от одного абонента к многим абонентам”,
– обеспечение преобразования медиаданных с использованием надлежащего транскодера для “смешанных” вокодерных телефонных вызовов “от одного абонента к многим абонентам”,
– текущий контроль активности телефонного вызова и инициирование завершения телефонного вызова исходя из отсутствия активности в информационном потоке,
– создание информации об использовании для сервера 118 регистрации сведений об использовании (СРСИ)
– направление медиаданных и служебной информации в надлежащую в точку законного перехвата по запросу.
УУМД может осуществлять обработку запросов на передачу предупреждений, поступивших из РД 114, передачу предупреждающих уведомлений клиенту и ожидать поступления от клиентов сообщений о подтверждении приема. После получения сообщений о подтверждении приема от клиентов-адресатов УУМД высвобождает любые ресурсы, выделенные для обработки запросов на передачу предупреждений. В этот момент времени УУМД может осуществлять обработку других данных о распределении телефонных вызовов или запросов на передачу предупреждений.
Сервер регистрации сведений об использовании
СРСИ 118 может существовать в каждом регионе и может быть совмещен с комплексом 116 УУМД. СРСИ 118 может осуществлять сбор данных о фактах использования, поступающих из комплекса 116 УУМД, для каждого обработанного телефонного вызова или предупреждения, форматировать их с преобразованием в запись данных об использовании (ЗДИ) и затем осуществлять запоминание этих ЗДИ в виде последовательности файлов ЗДИ. ЗДИ для телефонных вызовов могут содержать информацию об отдельных телефонных вызовах, в том числе перечень участников и итоги использования связи участником. ЗДИ для предупреждений может содержать информацию, указывающую отправителя предупреждения и абонентов-адресатов, которым было передано предупреждение. Файлы ЗДИ могут быть собраны поставщиком услуг для анализа начисления оплаты и могут быть удалены по истечении заданного промежутка времени.
СРСИ 118 может производить запись одиночной ЗДИ для каждого факта телефонного вызова в конце каждого телефонного звонка. СРСИ 118 может также производить запись одиночной ЗДИ при обработке каждого запроса на передачу предупреждений. ЗДИ, записанные посредством СРСИ 118, могут содержать следующую информацию:
– идентификатор факта телефонного вызова или идентификатор факта передачи предупреждения,
– идентификатор УУМД, который также означает местоположение телефонного вызова. В начале телефонного вызова может быть выбрано соответствующее УУМД исходя из зарегистрированных местоположений всех предполагаемых участников. УУМД может находиться в том же самом регионе, что и инициатор вызова, или в ином регионе,
– время начала телефонного вызова или передачи предупреждения,
– время окончания телефонного вызова или передачи предупреждения,
– имя и/или идентификатор абонента, являющегося инициатором вызова,
– IP-адрес абонента, являющегося инициатором вызова,
– для каждого участника: имя абонента, адрес абонента, IP-адрес абонента, совокупное время участия, которое может быть нулевым для предупреждений, и общее количество секунд, в течение которых участнику было предоставлено право на телефонный разговор, которое может быть нулевым для предупреждений.
В одном из вариантов осуществления изобретения для каждого телефонного вызова создают одну ЗДИ, которая может отображать общую совокупность фрагментов разговора в течение телефонного вызова. В том случае, если в ЗДИ требуется регистрация событий на основании каждого фрагмента разговора, это может быть реализовано за счет требований, предъявляемых к дополнительной нагрузке при обработке, к вводу-выводу файлов и к объему пространства на диске.
Система 100 групповой связи выполняет несколько различных функций для управления услугами групповой связи. Функции, относящиеся к действиям абонентов, содержат функции регистрации, инициирования телефонного вызова, завершения телефонного вызова, передачи предупреждений, присоединения с опозданием, арбитража говорящего абонента, добавления абонентов, удаления участников, отказа от регистрации, адресации и подтверждения подлинности абонента. Функции, относящиеся к подготовке и функционированию системы, содержат функции администрирования и инициализации, обеспечения наращиваемости и надежности. Подробное описание этих функций приведено в последующих разделах.
Регистрация
В системе беспроводной связи, например в системе множественного доступа с кодовым разделением (МДКР), регистрация представляет собой процесс, посредством которого подвижная станция делает свое местоположение известным для инфраструктуры системы беспроводной связи. Эта информация о местоположении может содержать сведения о географической области, в которой находится подвижная станция и идентификатор базовой станции, обслуживающей подвижную станцию, который может быть использован для содействия эффективному использованию каналов поискового вызова и доступа.
В одном из вариантов осуществления изобретения информация о местоположении абонента представляет собой IP-адрес клиента, вне зависимости от того, поддерживает ли клиент связь посредством услуг беспроводной или проводной связи. Примером протокола сети Интернет (IP), который позволяет прикладным программам протокола сети Интернет (IP) определить местоположение клиентов по их IP-адресу, является протокол инициирования сеанса связи (SIP). Помимо других функций, протокол инициирования сеанса связи (SIP) предоставляет клиентам способы регистрации их IP-адреса и иной информации о местоположении в серверном компоненте протокола инициирования сеанса связи (SIP). Кроме того, протокол инициирования сеанса связи (SIP) предоставляет для прикладных программ протокола сети Интернет (IP), заинтересованных в “обнаружении” клиентов, способы выдачи в тот же самый серверный компонент протокола инициирования сеанса связи (SIP) запросов на получение информации о местоположении, например, IP-адреса клиента.
Операция регистрации может содержать операцию обмена информацией между клиентом протокола сети Интернет (IP) и серверным компонентом протокола инициирования сеанса связи (SIP) для уведомления и сохранения информации о его местоположении, которой является, например, IP-адрес. Серверным компонентом протокола инициирования сеанса связи (SIP), обеспечивающим эти функциональные возможности, является сервер определения местоположения. Способом, посредством которого клиент уведомляет сервер определения местоположения о своем местоположении или об изменении своего местоположения, является способ регистрации по протоколу инициирования сеанса связи (SIP REGISTER).
В одном из вариантов осуществления изобретения клиенты регистрируют информацию о своем местоположении в региональном сервере обнаружения местоположения. Другие прикладные программы на основе протокола сети Интернет (IP), например, мгновенного обмена сообщениями, могут извлечь выгоду из наличия сведений об IP-адресе каждого клиента, имеющихся в сервере определения местоположения. Регистрацию может выполнять внешняя служба или клиент. На фиг.3 показан пример последовательности операций, выполняемых при телефонном вызове, для реализации функции регистрации.
После операции 302 включения питания клиент может выдать запрос на сеанс пакетной передачи данных и начать процесс регистрации его IP-адреса в РСОП 112. Для осуществления регистрации клиент может выполнить операцию 304 поиска записи СЛЗ службы имен доменов (DNS) для определения адреса РСОП. После того как при выполнении операции 306 найден адрес РСОП, клиент может зарегистрировать информацию о его местоположении, например, с использованием регистрационного сообщения 308 протокола инициирования сеанса связи (SIP). При операции 310 РСОП может подтвердить подлинность абонента и выдать клиенту ответ при операции 312. При операции 314 РСОП может уведомить регионального диспетчера о том, что абонент зарегистрирован, а региональный диспетчер может использовать эту информацию для предварительной загрузки соответствующей записи данных об абоненте, что способствует сокращению времени отклика во время установления телефонного соединения. В этот момент клиенту может быть передано приглашение принять участие в групповом вызове. В одном из вариантов осуществления изобретения может потребоваться, чтобы клиенты выполнили регистрацию для того, чтобы они могли осуществлять прием группового вызова, вне зависимости от типа имеющихся у них возможностей передачи данных, то есть по беспроводной или по проводной линии связи.
Сведения о регистрациях могут содержать соответствующее им поле “истечения срока действия”, которое указывает, как долго информацию о регистрации клиента можно считать действующей. Для гарантии того, что клиент всегда доступен по протоколу сети Интернет (IP), клиент может быть осведомлен об истечении срока его регистрации и выполнить перерегистрацию до истечения срока действия. Регистрация может также стать недействующей или устаревшей вследствие других обстоятельств, например в случае изменения IP-адреса клиента или разъединения канала связи, обеспечивающего передачу данных между клиентом и сервером определения местоположения. Клиенты могут быть осведомлены о состоянии их способности к поддержанию связи, обеспечивающей передачу данных, и о том, произошло ли изменение их IP-адреса.
После завершения первичной регистрации клиент может разрешить выполнение пассивного сеанса пакетной передачи данных, что может привести к освобождению выделенного канала трафика. Клиент может осуществлять текущий контроль своего сеанса пакетной передачи данных для гарантии того, что он остается действующим в течение длительных промежутков времени, в течение которых он находится в неактивном состоянии и которые могут оказать воздействие на то, что сеанс связи является действующим, в том числе при перемещении в область с иным идентификатором зоны пакетной передачи, при наличии затухания или в случае потери связи при обслуживании, а также при приеме и/или при передаче телефонного вызова через коммутируемую телефонную сеть общего пользования, КТСОП (PSTN). Может произойти изменение IP-адреса клиента, и клиенту может потребоваться восстановить способность к поддержанию обмена данными с инфраструктурой. При восстановления клиентом сеанса пакетной передачи своих данных он получает новый IP-адрес. Сведения о новом IP-адресе должны быть переданы в сервер определения местоположения для гарантии того, что информация о местоположении клиента остается правильной. Это может быть осуществлено путем выполнения перерегистрации.
Для клиента, поддерживающего связь с сервером определения местоположения по проводной линии связи через устройство сетевой защиты (брандмауэр), может потребоваться сохранение прохода через устройство сетевой защиты путем периодического “тестового опроса” сервера определения местоположения. Это осуществляют путем выполнения операций перерегистрации.
Инициирование группового вызова
После завершения регистрации абонент может делать телефонные вызовы или осуществлять их прием. Перед инициированием первого телефонного вызова после включения питания клиент может выполнить операцию поиска записи СЛЗ службы имен доменов (DNS) для того, чтобы найти местоположение регионального диспетчера. Это может быть выполнено в виде части процесса инициализации.
“Группа” связана с инициатором вызова, то есть с абонентом, который инициировал изначальное создание группы, и с перечнем участников, содержащим абонента-адресата или абонентов-адресатов. Перечень участников может содержать одного абонента или большее количество абонентов, одну или большее количество заранее заданных групп, либо вышеупомянутых абонентов и групп в совокупности. В том случае, если перечень участников содержит только одного абонента, то телефонный вызов, инициированный с использованием этого перечня участников, обычно именуют персональным вызовом. Если же перечень участников содержит какие-либо заранее заданные группы, то региональный диспетчер может преобразовать заранее заданные группы в развернутый перечень, состоящий из одного или большего количества абонентов-адресатов, например, путем замены идентификатора заранее заданной группы из исходного перечня участников соответствующим перечнем участников заранее заданной группы. После преобразования заранее заданных групп в развернутый вид результирующий перечень участников может содержать только имена абонентов-адресатов. В этот момент региональный диспетчер предпринимает попытку определить местоположение абонентов-адресатов из перечня участников, например, путем просмотра кэша регионального диспетчера, содержащего информацию об абонентах. Если в кэше регионального диспетчера имеются сведения об абонентах-адресатах, то участники группы могут быть зарегистрированы в том же самом регионе, что и региональный диспетчер. Этот тип группового вызова именуют “внутрирегиональным” телефонным вызовом. При наличии абонентов, местоположение которых региональный диспетчер не смог определить, региональный диспетчер может попросить диспетчера собственной сети помочь определить местоположения абонентов. Телефонный вызов, который соответствует группе, содержащей участников из двух или большего количества регионов, именуют “межрегиональным” телефонным вызовом.
После того как региональный диспетчер определил, является ли телефонный вызов внутрирегиональным или межрегиональным, он может начать процесс определения того, какое именно устройство управления медиаданными (УУМД) может служить в качестве хост-узла для телефонного вызова. Для внутрирегиональных телефонных вызовов региональный диспетчер может выделить для телефонного вызова УУМД, расположенное в том же самом регионе, что и региональный диспетчер, в том случае, если в этом регионе имеются ресурсы УУМД. Результирующий телефонный вызов с использованием процедуры установления телефонного соединения этого типа именуют телефонным вызовом “с локальным хост-узлом” или местным телефонным вызовом. Для межрегиональных телефонных вызовов региональный диспетчер может стоять перед выбором: следует ли для телефонного вызова выделить УУМД, расположенный в том же самом регионе, либо УУМД, расположенный в удаленном регионе или в иной стране. Региональный диспетчер может принять это решение на основании информации о местоположении абонентов, находя оптимальный путь прохождения пакетов протокола сети Интернет (IP), содержащих медиаданные и служебные сигналы. Если большинство абонентов находится в конкретном регионе, то обслуживание телефонного вызова может быть поручено этому региону. Если же абоненты равномерно рассредоточены по регионам, то обслуживание телефонного вызова может быть поручено одному из тех регионов, в которых находятся абоненты-адресаты. Если для межрегионального телефонного вызова выделено УУМД, находящееся в ином регионе, чем тот регион, в котором расположен региональный диспетчер, то телефонный вызов именуют телефонным вызовом “с удаленным хост-узлом” или дистанционным телефонным вызовом. Региональный диспетчер может иметь сведения о топологии сети и/или о способности к поддержанию связи между УУМД и обслуживаемыми ими УОППД и может использовать эти сведения для принятия лучшего решения о распределении телефонных вызовов.
Внутрирегиональные телефонные вызовы
Система групповой связи 100 может быть развернута таким образом, чтобы большинство телефонных вызовов были внутрирегиональными. Внутрирегиональные телефонные вызовы могут устранить необходимость в наличии связи между региональным диспетчером 114 и диспетчером 102 собственной сети во время установления телефонного соединения. Также может быть устранена необходимость в наличии связи между регионами в том случае, когда абоненты-адресаты находятся в том же самом регионе, а обслуживание телефонного вызова осуществляют посредством локального хост-узла, что имеет место для большинства внутрирегиональных телефонных вызовов. В последующих разделах приведено описание последовательностей операций, выполняемых при телефонном вызове, оценок временных соотношений и схем обмена сообщениями для внутрирегиональных телефонных вызовов.
Инициирование местного телефонного вызова
На фиг.4 показан пример последовательности обмена сообщениями для инициирования локального группового вызова. При операции 402 абонент может осуществить выбор одного или большего количества абонентов-адресатов, одной или большего количества заранее заданных групп либо вышеупомянутых абонентов и групп в совокупности и может нажать кнопку “нажми и говори”, НиГ. При операции 404 клиент может послать региональному диспетчеру запрос на установление группового телефонного соединения вне зависимости от того, имеет ли подвижная станция выделенный канал трафика или нет, что будет более подробно описано ниже. После того как запрос послан, в том случае, если сеанс пакетной передачи данных подвижной станции является пассивным, клиент может инициировать процесс восстановления выделенных каналов трафика и подготовки сеанса пакетной передачи данных для обеспечения активности медиаданных. В течение некоторого промежутка времени клиент может производить буферизацию введенных речевых данных, полученных от инициатора вызова.
При получении запроса региональным диспетчером он может преобразовать заранее заданные группы, которые могут быть указаны в запросе, в развернутые перечни участников, которыми являются абоненты-адресаты. Затем при выполнении операции 406 региональный диспетчер может извлечь информацию о местоположении абонентов-адресатов. В этот момент региональный диспетчер может также определить, выполняется ли уже в системе групповой вызов. На фиг.4 показан сценарий, в котором групповой вызов еще не выполняется. Сценарий присоединения к телефонному вызову с опозданием, описание которого приведено ниже, поясняет тот вариант, в котором групповой вызов уже выполняется.
После того как региональный диспетчер определяет местоположение, по меньшей мере, одного из абонентов-адресатов, может быть выполнена операция 408, при которой региональный диспетчер посылает клиенту обратный ответ, указывающий, что происходит установление группового телефонного соединения. В этот момент может быть выполнена операция 410, при которой клиент оптимистично выдает инициатору вызова просьбу начать разговор и начинает буферизацию своих медиаданных, выполняя операцию 412.
Региональный диспетчер может использовать сведения о местоположении абонентов-адресатов для определения региона, в который может быть распределен телефонный вызов. Если определено, что абоненты-адресаты находятся в том же самом регионе, что и региональный диспетчер, как показано на фиг.4, то региональный диспетчер может выделить для телефонного вызова региональное УУМД. При выполнении операции 414 УУМД может разослать всей группе уведомления, в которых сообщается о начале телефонного вызова. Для абонентов-адресатов операция передачи уведомления может инициировать их сеансы пакетной передачи данных для выхода из неактивного состояния и восстановления их каналов трафика.
После получения клиентом уведомления о телефонном вызове, поступившего из УУМД, и восстановления канала трафика подвижной станции клиент может выполнить операцию 416 направления буферизованных медиаданных в УУМД. При операции 418 УУМД может выполнить буферизацию медиаданных полученного от инициатора вызова. В одном из вариантов осуществления изобретения УУМД может осуществлять буферизацию медиаданных до тех пор, пока не будет достигнуто или превышено “пороговое количество ответов от адресатов”. Пороговое количество ответов от адресатов указывает количество ответов абонентов-адресатов, требуемое для того, чтобы приступить к передаче медиаданных. Вышеупомянутое пороговое значение может представлять собой реконфигурируемый параметр. После того как достигнуто пороговое значение, выполняют операцию 420, при которой УУМД копирует и направляет медиаданные тем абонентам-адресатам, которые при операции 422 ответили на уведомление о телефонном вызове.
ОБМЕН СООБЩЕНИЯМИ ПОСРЕДСТВОМ КОРОТКОГО ПАКЕТА ДАННЫХ
Термин “мгновенный отклик” относится к времени отклика, которое требуется серверу прикладных программ для ответа на запрос НиГ (PTT) или на запрос на установление телефонного соединения. При ответах на любой запрос НиГ (PTT), в том числе на запросы на установление группового телефонного соединения, необходимо обеспечить согласованные ответы на запрос в течение заранее заданного промежутка времени, например за одну секунду или менее. Во многих случаях, когда абонент выдает запрос на установление группового соединения, сеанс пакетной передачи данных абонента является пассивным и не существует какого-либо выделенного канала трафика. Восстановление выделенных каналов трафика может занять значительное время. Поэтому связь с сервером прикладных программ может быть обеспечена каким-либо иным средством.
Для гарантии того, что система групповой связи удовлетворяет требованиям “мгновенного отклика”, может быть осуществлена передача малых IP-дейтаграмм в любой момент времени или в любом направлении, то есть исходящих из подвижной станции или в получаемых подвижной станцией вне зависимости от состояния сеанса пакетной передачи данных. В одном из вариантов осуществления изобретения передача IP-дейтаграмм может быть осуществлена в виде сообщения, представляющего собой короткий пакет данных, КПД (SDB). В тех ситуациях, когда сеанс пакетной передачи данных является пассивным, передачу сообщения КПД осуществляют по служебным каналам. В том случае, когда существует возможность связи по выделенному каналу трафика, передачу сообщения КПД осуществляют по каналу трафика.
Со ссылкой на фиг.4, передача запроса 404 на установление группового телефонного соединения может быть осуществлена посредством сообщения КПД. Передача ответа 408 об установлении группового телефонного соединения из сервера прикладных программ также может быть осуществлена в сообщении КПД. Передача запроса на установление телефонного соединения и ответных сообщений посредством сообщений КПД может обеспечить возможность достижения цели, состоящей в том, чтобы система 100 групповой связи удовлетворяла требованиям “мгновенного отклика”.
Для завершения процедуры установления группового телефонного соединения УУМД может разослать уведомления о телефонном вызове абонентам, входящим в состав перечня участников, в том числе инициатору вызова. Передача этих уведомлений о телефонном вызове может быть осуществлена по выделенным каналам трафика. В большинстве случаев сеансы пакетной передачи данных участников группы являются пассивными, то есть какие-либо выделенные каналы трафика не устанавливают. Это означает, что УУМД, вероятно, потребуется производить повторную передачу сообщения с уведомлением о телефонном вызове по графику настойчивой достоверной передачи до тех пор, пока не будут восстановлены каналы трафика всех участников и участники не подтвердят получение сообщения, или до тех пор, пока не истечет время, заданное таймером достоверности. Настойчивая передача уведомления о телефонном вызове обеспечивает поддержание минимального объема буферов медиаданных у клиента и в УУМД. Клиент может осуществить передачу буферизованных медиаданных сразу же после восстановления канала трафика и приема им уведомления о телефонном вызове, содержащего информацию о возможностях установления связи с УУМД. УУМД может осуществлять копирование и передачу буферизованных медиаданных сразу же после достижения или превышения порогового значения количества абонентов-адресатов. Это означает следующее: чем быстрее абоненты-адресаты произведут прием уведомления о телефонном вызове и ответят на него, тем быстрее может быть достигнуто это пороговое значение и, следовательно, тем быстрее УУМД может прекратить буферизацию и начать передачу медиаданных.
Передача уведомления о телефонном вызове инициатору вызова также может быть осуществлена посредством КПД. Это обеспечивает два преимущества. Во-первых, поскольку уведомление о телефонном вызове содержит информацию о возможностях установления связи с УУМД, то клиент группового вызова может начать передачу буферизованных медиаданных в УУМД сразу же после восстановления канала трафика подвижной станции, что может снизить требования, предъявляемые к объему оперативного запоминающего устройства (ОЗУ) в подвижной станции для хранения буферизованных медиаданных. Во-вторых, в том случае, если инициатор вызова принимает решение прервать телефонный вызов или разъединить телефонное соединение, на которое ему предоставлено право, что может произойти до восстановления канала трафика в момент поступления уведомления о телефонном вызове, переданного посредством КПД, клиент может уведомить об этом УУМД, посылая эту информацию. Передача уведомления о телефонном вызове инициатору вызова посредством КПД действует таким образом, что приводит к увеличению нагрузки на каналы связи общего пользования и к тому, что от УУМД требуется выполнение специальной обработки сообщения с уведомлением о телефонном вызове, поступившего от инициатора вызова.
ИНИЦИИРОВАНИЕ ДИСТАНЦИОННОГО ТЕЛЕФОННОГО ВЫЗОВА
Обслуживание внутрирегиональных телефонных вызовов может быть осуществлено локальным хост-узлом в том случае, если все участники находятся в пределах одного и того же региона. Региональный диспетчер может поручить обслуживание внутрирегионального телефонного вызова удаленному региону вследствие перегрузки или недоступности локальных ресурсов. В подобных случаях может наблюдаться дополнительное время задержки и могут возникать ошибки при передаче медиаданных и служебных сигналов, что обусловлено наличием более длинных каналов связи между УОППД абонента и удаленным УУМД. На фиг.5 показан пример процедуры установления телефонного соединения для дистанционного внутрирегионального телефонного вызова.
Процедура инициирования внутрирегионального телефонного вызова в удаленном хост-узле является аналогичной сценарию установления телефонного соединения, описанному со ссылкой на фиг.4, за исключением выполняемой региональным диспетчером операции выделения УУМД для телефонного вызова. После того как региональным диспетчером извлечены сведения о местоположении участников группы, он может определить то УУМД, которое может быть выделено для телефонного вызова. Региональный диспетчер может принять это решение на основании информации о местоположении абонентов, о загрузке и о доступности устройств УУМД. При внутрирегиональном телефонном вызове абоненты могут находиться в одном и том же регионе, поэтому региональный диспетчер может осуществить проверку загрузки и доступности комплекса УУМД в местном регионе. Если региональный диспетчер получает указание, свидетельствующее о том, что локальный комплекс УУМД перегружен или в нем временно наблюдаются эксплуатационные отказы, то он может выделить для телефонного вызова удаленное УУМД. В одном из вариантов осуществления изобретения устройства УУМД могут представлять собой идентичные копии с одинаковыми функциональными возможностями, за исключением конфигурации телефонного вызова, поэтому удаленное УУМД может осуществлять обработку телефонного вызова аналогично локальному УУМД.
МЕЖРЕГИОНАЛЬНЫЕ ТЕЛЕФОННЫЕ ВЫЗОВЫ
Система 100 группового вызова может быть выполнена таким образом, что предоставляет абоненту возможность устанавливать связь с любым другим абонентом вне зависимости от их физического местоположения или близости друг к другу. Система групповой 100 связи может быть размещена таким образом, чтобы ограничивает количество межрегиональных телефонных вызовов, поскольку межрегиональные телефонные вызовы требуют наличия связи между региональным диспетчером и диспетчером собственной сети во время установления телефонного соединения. Для телефонного вызова может быть выделено УУМД, расположенное в удаленном регионе по отношению к одному или к большему количеству участников телефонного вызова. В последующих разделах приведено описание примеров последовательностей операций, выполняемых при телефонном вызове, оценок временных соотношений и схем обмена сообщениями для межрегиональных телефонных вызовов.
ИНИЦИИРОВАНИЕ МЕСТНОГО ТЕЛЕФОННОГО ВЫЗОВА
На фиг.6 показан пример последовательности обмена сообщениями для инициирования группового вызова с локальным хост-узлом. Процедура установления телефонного соединения для локального межрегионального телефонного вызова аналогична процедуре установления телефонного соединения для локального внутрирегионального телефонного вызова, описанной со ссылкой на фиг.4, за исключением того процесса, в котором региональный диспетчер извлекает информацию о местоположении абонентов-адресатов. В одном из вариантов осуществления изобретения региональный диспетчер предпринимает попытку определить местоположение абонентов-адресатов в своем кэше. Если некоторые абоненты не найдены в кэше, то региональный диспетчер может выдать запрос на получение помощи от диспетчера собственной сети для определения местоположения абонентов. Диспетчер собственной сети может содержать информацию о местоположении абонента для тех абонентов, которые выполнили регистрацию по протоколу сети Интернет (IP) с использованием регионального сервера обнаружения местоположения. Как описано выше, региональный сервер обнаружения местоположения может уведомлять соответствующего ему регионального диспетчера о каждом факте регистрации абонентов. Каждый региональный диспетчер может уведомлять диспетчера собственной сети о фактах регистрации абонентов. Это позволяет диспетчеру собственной сети оказывать помощь региональным диспетчерам в обнаружении абонентов, разбросанных по различным географическим регионам.
ИНИЦИИРОВАНИЕ ДИСТАНЦИОННОГО ТЕЛЕФОННОГО ВЫЗОВА
На фиг.7 показан пример процедуры установления дистанционного межрегионального телефонного вызова. Сценарий инициирования межрегионального телефонного вызова в удаленном хост-узле аналогичен сценарию установления телефонного соединения, описанному со ссылкой на фиг.4, за исключением выполняемой региональным диспетчером операции выделения УУМД для телефонного вызова. После того как региональным диспетчером (РД) 114 извлечены сведения о местоположении участников группы, он может определить то УУМД, которое может быть выделено для телефонного вызова. РД 114 может принять это решение на основании информации о местоположении абонентов, о загрузке и о доступности устройств УУМД. Используя сведения о местоположении участников группы, РД предпринимает попытку найти оптимальный тракт прохождения пакетов протокола сети Интернет (IP), содержащих медиаданные и служебные сигналы, по сети поставщика услуг для большинства участников. Если большинство абонентов находится в конкретном регионе, то обслуживание телефонного вызова может быть поручено этому региону, а если абоненты равномерно рассредоточены по регионам, то обслуживание телефонного вызова может быть поручено одному из тех регионов, в которых находятся абоненты-адресаты.
ЗАВЕРШЕНИЕ ГРУППОВОГО ВЫЗОВА
Групповой вызов может быть закончен по двум причинам: либо все участники выдали запрос на выход из телефонного вызова, либо все участники прекратили говорить в течение заранее заданного промежутка времени, именуемого “временем паузы”. Каждый участник может выбрать вариант завершения участия в телефонном вызове до запланированного окончания телефонного вызова. Если все участники прекращают участие в телефонном вызове, то УУМД может завершить телефонный вызов и высвободить все выделенные ему ресурсы. Если участие в телефонном вызове прекращают все, кроме одного участника, то УУМД может уведомить об этом участника, именуемого “одиночным абонентом”. Одиночный абонент имеет следующие варианты выбора: либо немедленно прекратить участие в телефонном вызове, либо ожидать истечения промежутка времени, заданного таймером времени паузы, в результате чего может быть инициировано разъединение телефонного соединения посредством УУМД.
УУМД может завершить телефонный вызов по истечении промежутка времени, заданного таймером времени паузы. УУМД может отследить каждый всплеск речевой активности и установить таймер после окончания всплеска речевой активности. Этот таймер именуют таймером времени паузы, и он может отслеживать длительность периода молчания при телефонном вызове, то есть отсутствия разговора или активности в информационном потоке в медиаданных. Если период молчания в телефонном вызове сохраняется в течение длительности времени паузы, которая может быть установлена поставщиком услуг, УУМД может предположить, что участники больше не заинтересованы в продолжении телефонного разговора, и, следовательно, завершает телефонный вызов.
ЗАВЕРШЕНИЕ ТЕЛЕФОННОГО ВЫЗОВА, ИНИЦИИРОВАННОЕ АБОНЕНТОМ
На фиг.8 показан пример сценария, в котором абонент предпочел завершить участие в групповом вызове. В этом сценарии изображена последовательность обмена сообщениями, посредством которой завершают участие абонента. Когда при операции 802 абонент выбирает вариант завершения участия в групповом вызове, клиент при выполнении операции 804 может послать в УУМД запрос на удаление пользователя из телефонного вызова. При операции 806 УУМД может удалить абонента из телефонного вызова и, выполняя операцию 808, уведомить клиента о том, что абонент был удален (операция 810).
ЗАВЕРШЕНИЕ ТЕЛЕФОННОГО ВЫЗОВА, ИНИЦИИРОВАННОЕ СЕРВЕРОМ
На фиг.9 показан пример последовательности обмена сообщениями, которая имеет место в том случае, когда истекает время, заданное таймером времени паузы, и УУМД завершает групповой вызов. По истечении промежутка времени, заданного таймером 902 времени паузы, УУМД, выполняя операцию 904, может послать участникам уведомление о завершении телефонного вызова. Каждый клиент, получающий уведомление о завершении телефонного вызова, может выполнить операцию 906, при которой он посылает ответ о подтверждении приема. После получения сообщений о подтверждении приема УУМД может выполнить операцию 908, при которой он уведомляет РД о том, что телефонный вызов завершен и можно высвободить ресурсы, выделенные для этого телефонного вызова.
ПЕРЕДАЧА ПРЕДУПРЕЖДЕНИЯ
Для уведомления абонентов-адресатов о том, что другой абонент, инициатор передачи предупреждения, выразил желание о том, чтобы они приняли участие в групповом вызове, может быть использован алгоритм передачи предупреждений. Алгоритм передачи предупреждений может содержать текстовое сообщение, которое позволяет инициатору вызова указать тему телефонного вызова, желательное время телефонного вызова или любые иные текстовые сообщения по желанию абонента. На фиг.10 показан пример последовательности обмена сообщениями, которая имеет место в том случае, когда абонент посылает предупреждение.
При операции 1002 инициатор вызова может выбрать одного или большее количество абонентов-адресатов, одну или большее количество заранее заданных групп либо вышеупомянутых абонентов и групп в совокупности и может указать, что предупреждение может быть послано. При операции 1004 клиент может послать РД запрос на рассылку предупреждения абонентам-адресатам, указанным в запросе. Когда при операции 1006 РД получает запрос, он может преобразовать заранее заданные группы, указанные в запросе, в развернутые перечни участников, которыми являются абоненты-адресаты, и РД может извлечь информацию о местоположении абонентов-адресатов. После того как РД определил местоположение, по меньшей мере, одного из абонентов-адресатов, РД может послать клиенту обратный ответ 1008. При выполнении операции 1010 РД может распределить запрос на передачу предупреждений в УУМД, которое осуществляет широковещательную передачу сообщений 1012 с предупреждением абонентам-адресатам.
Как указано на фиг.10, запросы на передачу предупреждений могут быть переданы посредством короткого пакета данных (КПД). Передача предупреждений посредством сообщений КПД позволяет вовлеченным сторонам по-прежнему выполнять пассивные сеансы пакетной передачи данных. Уведомление о предупреждении содержит информацию, необходимую для того, чтобы абоненты-адресаты могли устанавливать групповые телефонные соединения с инициатором вызова и с остальными абонентами-адресатами, например, путем выбора уведомления о предупреждении и нажатия кнопки НиГ. Когда это происходит, установление группового телефонного соединения выполняют аналогично сценарию установления телефонного соединения, описанному выше со ссылкой на фиг.4.
ПРИСОЕДИНЕНИЕ С ОПОЗДАНИЕМ
Запрос на установление группового телефонного соединения считают присоединением с опозданием в том случае, если определено, что перечень участников, который может быть указан в запросе на установление телефонного соединения, является идентичным тому перечню участников, который соответствует телефонному вызову, уже выполняемому в системе. Эта ситуация может возникать в одном из двух случаев. В первом случае абонент может создать перечень участников, идентичный тому перечню, которому уже соответствует имеющийся телефонный вызов, например, путем выбора того же самого абонента (абонентов) и/или группы (групп) и нажатия кнопки НиГ. Во втором случае абонент может выбрать телефонный вызов, все еще выполняемый в системе, из журнала предыдущих телефонных вызовов и нажать кнопку НиГ. В любом случае РД может обнаружить, что телефонный вызов, на инициирование которого абонент выдал запрос, уже выполняется, и расценивает абонента как присоединившегося с опозданием.
На фиг.11 показан пример варианта присоединения с опозданием, в котором абонент может осуществить выбор телефонного вызова из журнала предыдущих телефонных вызовов. При операции 1102 абонент может осуществить выбрать телефонный вызов из журнала предыдущих телефонных вызовов и нажать кнопку НиГ. При операции 1104 клиент может послать РД запрос на инициирование группового вызова. При операции 1106 РД может определить, что телефонный вызов уже выполняется, и послать клиенту ответ 1108 о том, что операция добавления абонента к выполняемому телефонному вызову находится в процессе выполнения. Если телефонный вызов уже выполняется, то абоненту не может быть предоставлено право на телефонный разговор, поскольку участник текущего телефонного вызова уже может сохранять за собой право на телефонный разговор к тому моменту времени, в который абонент, присоединившийся с опозданием, готов осуществить прием медиаданных, то есть сеанс пакетной передачи данных выведен из неактивного состояния. При операции 1110 РД может выдать в УУМД, являющееся хост-узлом для телефонного вызова, запрос на добавление абонента, присоединившегося с опозданием, к группе. УУМД добавляет абонента и выполняет операцию 1112, при которой оно посылает абоненту уведомление, содержащее информацию о возможностях установления связи с УУМД. После восстановления канала трафика абонента, присоединившегося с опозданием, может быть осуществлена передача потока медиаданных телефонного вызова абоненту. В этот момент времени абонент, присоединившийся с опозданием, может предпринять попытку выдать запрос на преимущественное право ведения разговора.
Сценарий присоединения с опозданием аналогичен сценарию инициирования нового группового вызова, описанного выше со ссылкой на фиг.4. Различие состоит в том, что абоненту, присоединившемуся с опозданием, отказывают в праве на телефонный разговор в ответ на первоначальный запрос на установление группового телефонного соединения.
АРБИТРАЖ ГОВОРЯЩЕГО АБОНЕНТА
В одном из вариантов осуществления изобретения каждому абоненту группового вызова присваивают ранг преимущественного права говорящего абонента, который определяет то, какой уровень прав имеет абонент при выдаче запроса о предоставлении приоритетного права на то, чтобы воспользоваться “правом на телефонный разговор” и начать говорить. После того как групповое телефонное соединение установлено, УУМД может нести ответственность за контроль над правом на телефонный разговор и определять, действительно ли участнику, выдавшему запрос о предоставлении права на телефонный разговор, может быть выдано разрешение на разговор. УУМД может выполнять арбитраж говорящего абонента в том случае, когда два или более участников телефонного вызова являются конкурентами за контроль над правом на телефонный разговор для конкретной группы.
На фиг.12 показан пример событий, которые могут произойти во время процесса арбитража. Арбитражная схема, используемая в этом сценарии, позволяет предоставлять преимущественное право абоненту Б при выдаче абонентом А запроса о предоставлении права на телефонный разговор. Абонент Б контролирует право на телефонный разговор, то есть абонент Б говорит в тот момент, когда абонент А, выполняя операцию 1202, выдает запрос о предоставлении разрешения на разговор путем нажатия кнопки НиГ. Клиент может выполнить операцию 1204, при которой он посылает в УУМД сообщение с запросом о предоставлении разрешения на разговор. При операции 1206 УУМД может выполнить арбитраж говорящего абонента и определить, что действие преимущественного права абонента Б может быть приостановлено, а право на телефонный разговор предоставлено абоненту А. Для обеспечения прерывания информационного потока в медиаданных, то есть абонент Б может прекратить разговор перед передачей медиаданных абонента А, выполняют операцию 1208, при которой УУМД сначала посылает клиенту сообщение для абонента Б, указывающее, что преимущественное право на телефонный разговор было предоставлено другому абоненту, а затем при операции 1210 посылает ответ, предоставляющий право на телефонный разговор абоненту А.
ДОБАВЛЕНИЕ АБОНЕНТОВ К АКТИВНОМУ ГРУППОВОМУ ВЫЗОВУ
Система 100 групповой связи позволяет участнику группового вызова добавлять новых абонентов к групповому вызову в ходе его выполнения. Это осуществляют следующим образом: участник телефонного вызова выбирает одного или большее количество абонентов-адресатов, одну или большее количество заранее заданных групп либо вышеупомянутых абонентов и групп в совокупности и указывает, что участник хотел бы добавить абонентов-адресатов к групповому вызову, в котором находится участник в данный момент времени. На фиг.13 показаны события, происходящие при добавлении новых адресатов к выполняемому групповому вызову. При операции 1302 участник телефонного вызова может осуществить выбор одного или большего количества абонентов-адресатов, одной или большего количества групп либо вышеупомянутых абонентов и групп в совокупности, которые следует добавить к телефонному вызову. При операции 1304 клиент может послать РД сообщение с запросом на добавление указанных абонентов-адресатов к выполняемому групповому вызову, который может быть указан в запросе. При получении РД запроса он может преобразовать заранее заданные группы, указанные в запросе, в развернутые перечни участников, которыми являются абоненты-адресаты. Затем при выполнении операции 1306 РД может извлечь информацию о местоположении абонентов-адресатов. После того как РД определил местоположение, по меньшей мере, одного из абонентов-адресатов, РД при выполнении операции 1308 может послать клиенту обратный ответ, указывающий, что происходит добавление адресатов к телефонному вызову. При выполнении операции 1310 РД может послать в УУМД запрос на добавление указанных абонентов к телефонному вызову. При выполнении операции 1312 УУМД может разослать уведомления о телефонном вызове новым адресатам, которые могут инициировать процесс вывода их сеансов пакетной передачи данных из неактивного состояния. Передача уведомлений может быть осуществлена по графику достоверной передачи для обеспечения гарантированного получения сообщений адресатами. После восстановления каналов трафика адресатов может быть выполнена операция 1314, при которой адресаты посылают в УУМД сообщения о подтверждении приема. При операции 1316 дополнительные адресаты могут быть вовлечены в процесс передачи медиаданных и служебных сигналов, выполняемый при телефонном вызове.
УДАЛЕНИЕ УЧАСТНИКОВ ИЗ АКТИВНОГО ГРУППОВОГО ВЫЗОВА
Система 100 групповой связи предоставляет участнику группового вызова возможность удаления участников из активной группы. В одном из вариантов осуществления изобретения это может быть осуществлено путем выбора участником телефонного вызова одного или большего количества участников-адресатов и указания того, что их следует удалить из группового вызова. На фиг.14 показан пример событий, которые могут произойти при удалении участников из выполняемого группового вызова. При операции 1402 участник группового вызова может осуществить выбор одного или большее количество участников-адресатов, которые следует удалить из телефонного вызова. При операции 1404 клиент может послать РД сообщение с запросом на удаление адресатов, которые могут быть указаны в сообщении, из группового вызова. При получении РД запроса он может выполнить операцию 1406 извлечения информации о местоположении адресата и может выполнить операцию 1408 передачи клиенту обратного ответа, указывающего что происходит удаление адресатов. При операции 1410 РД может послать в УУМД запрос на удаление адресатов из телефонного вызова. При операции 1412 УУМД может послать адресатам, которые могут быть указаны в запросе на удаление, сообщения о том, что происходит их удаление из телефонного вызова. При операции 1414 адресаты могут послать в УУМД сообщения о подтверждении приема.
ОТКАЗ ОТ РЕГИСТРАЦИИ
В том случае, когда абонент больше не желает поддерживать связь с сервером прикладных программ или любым иным IP-приложением, использующим IP-адрес абонента для установления связи с абонентом, может быть выполнена функция отказа от регистрации. Функция отказа от регистрации удаляет IP-адрес абонента и другую информацию о возможностях связи с ним из РСОП и высвобождает любые ресурсы, выделенные от лица абонента. На фиг.15 показано то, каким образом осуществляют удаление регистрации абонента из РСОП в результате выключения питания подвижной станции согласно одному из вариантов осуществления изобретения. При операции 1502 клиент может получить указание о выключении питания той подвижной станции, где находится клиент. В качестве части процесса выключения может быть выполнена операция 1504, при которой клиент посылает в РСОП сообщение, указывающее, что информация о местоположении абонента должна быть удалена. РСОП может выполнить операцию 1506 подтверждения подлинности запроса для гарантии того, что он поступил из надлежащего источника. После успешного подтверждения подлинности при операции 1508 РСОП может уведомить клиента об успехе, а при операции 1510 он может уведомить РД об удалении абонента. РД может удалить записи данных абонента из своего кэша и может высвободить ресурсы, которые, возможно, были выделены абоненту. В случае неудачного исхода процедуры отказа от регистрации информация о местоположении абонента может быть, в конечном счете, удалена из РСОП по истечении промежутка времени, соответствующего полю “истечение срока действия”.
В одном из вариантов осуществления изобретения система 100 групповой связи обеспечивает поддержку как модели дискуссионных групп, так и специализированной модели. В модели дискуссионных групп группы являются заранее заданными и сведения о них могут быть запомнены в сервере диспетчеризации. Заранее заданные группы могут быть общедоступными, при этом подразумевают, что группа имеет открытый перечень участников, то есть любой абонент диспетчерской связи является потенциальным участником. В модели дискуссионных групп телефонный вызов начинают в тот момент, когда первый человек решил присоединиться к дискуссионной группе, и продолжают выполнение телефонного вызова с использованием ресурсов сервера, выделенных для телефонного вызова, вне зависимости от активности разговора в течение заранее заданного количества времени, которое может быть установлено поставщиком услуг. В частности, абоненты выдают запросы на присоединение к этим видам телефонных вызовов и на выход из них. Как описано ниже, во время периодов отсутствия активности разговора каждый телефонный вызов переводят в неактивное состояние группы до тех пор, пока абонент не выдаст запрос о предоставлении разрешения вести разговор.
В специализированной модели группы могут быть заданы в реальном масштабе времени и иметь соответствующий им закрытый перечень участников. В закрытом перечне участников может быть указано то, каким именно абонентам разрешено участвовать в группе, что может быть не разрешено абонентам, не указанным в закрытом перечне участников, и он может существовать только в течение продолжительности телефонного вызова. Определения специализированных групп не обязательно следует запоминать в каком-либо месте; они могут быть использованы для установления телефонного соединения и уничтожены после завершения телефонного вызова.
Специализированная группа (создаваемая для каждого отдельного случая) может быть сформирована в тот момент, когда абонент – инициатор вызова – выбирает одного или большее количество абонентов-адресатов и осуществляет генерацию запроса, посылаемого в сервер для инициирования телефонного вызова. Абонентам-адресатам может быть передано уведомление о том, что они включены в состав группы и могут автоматически присоединиться к соответствующему телефонному вызову, то есть от абонента может не потребоваться выполнение каких-либо действий. Когда специализированный телефонный вызов становится неактивным, серверы прикладных программ могут “разорвать” телефонное соединение вызов и высвободить выделенные ему ресурсы, в том числе определение группы, используемое для инициирования телефонного вызова.
При работе системы 100 групповой связи в режиме модели дискуссионных групп группа пользователей устройств связи, известных по отдельности как участники сети, поддерживает связь друг с другом с использованием устройства связи, предоставленного каждому участнику сети. Термин “сеть” обозначает группу тех пользователей устройств связи, которым разрешено поддерживать связь друг с другом.
В одном из вариантов осуществления изобретения центральная база данных может содержать информацию, идентифицирующую участников каждой конкретной сети. В одной и той же системе связи может функционировать более одной сети. Например, первая сеть может быть определена таким образом, что содержит десять участников, а вторая сеть может быть определена таким образом, что содержит двадцать участников. Десять участников первой сети могут поддерживать связь друг с другом, но не могут поддерживать связь с участниками второй сети. В другом варианте осуществления изобретения участники различных сетей способны осуществлять текущий контроль связи между участниками более одной сети, но могут быть способны осуществлять передачу информации только участникам в пределах их собственной сети.
Сеть может функционировать в существующей системе связи, для чего не требуется существенных изменений в существующей инфраструктуре. Следовательно, контроллер и абоненты в сети могут функционировать в любой системе, способной осуществлять передачу и прием информации в виде пакетов с использованием протокола сети Интернет (IP), например в системе множественного доступа с кодовым разделением каналов (МДКР), в системе множественного доступа с временным разделением каналов (МДВР), в глобальной системе мобильной связи (GSM), в таких системах спутниковой связи, как, например, система “Глобалстар” (“Globalstar “) или система “Индиум” (“Indium “), либо во множестве других систем.
Участники сети могут осуществить поддерживать связь друг с другом с использованием предоставленного им устройства связи, которые показаны на чертеже как устройства 120 и 122 связи (УС). УС 120 и 122 могут представлять собой беспроводные или проводные устройства связи, например телефонные аппараты беспроводной наземной связи, телефонные аппараты проводной линии связи, способные работать в режиме “нажми и говори”, телефонные аппараты спутниковой связи, снабженные функцией “нажми и говори”, беспроводные видеокамеры, неподвижные камеры, звуковые устройства, такие как, например, устройства записи или воспроизведения музыки, портативные или настольные компьютеры, устройства поискового вызова (пейджеры), либо любую совокупность этих устройств. Например, УС 120 может содержать телефонный аппарат беспроводной наземной связи, снабженный видеокамерой и устройством визуального отображения. Кроме того, каждое УС может быть способным осуществлять передачу и прием информации либо в защищенном режиме, либо в незащищенном (“прозрачном”) режиме. Во всем приведенном ниже описании ссылка на отдельное УС означает ссылку на телефон беспроводной связи с функцией “нажми и говори”. Однако следует понимать, что при этом подразумевают следующее: ссылка на УС, по существу, не является ограничивающей и может охватывать собой иные устройства связи, способные осуществлять передачу и прием информации в виде пакетов в соответствии с протоколом сети Интернет (IP).
В системе 100 групповой связи наличие приоритетного права на передачу обычно позволяет отдельному пользователю осуществлять передачу информацию другим участникам сети в установленный срок. Предоставление или отказ в предоставлении приоритетного права на передачу участнику сети, выдающему запрос на его предоставление, зависит от того, предоставлено ли в момент получения запроса приоритетное право на передачу другому участнику сети или нет. Процесс удовлетворения или отклонения запросов на передачу известен как арбитраж. При определении того, следует ли участнику сети, выдающему запрос, предоставить приоритетное право на передачу, арбитражные схемы могут производить оценку таких факторов, как, например, уровни приоритета, присвоенные каждому УС, количество неудачных попыток получения приоритетного права на передачу, длительность промежутка времени, в течение которого участник сети сохранял за собой приоритетное право на передачу, или иных факторов.
Для того чтобы стать участником системы 100, каждое из УС 120 и 122 может быть способно выдавать запрос на получение разрешения на приоритетное право на передачу от контроллера или от УУМД 116. УУМД 116 может осуществлять управление функционированием групп в реальном масштабе времени и административное управление группами. УУМД представляет собой компьютерное устройство любого типа, содержащее, по меньшей мере, один процессор и запоминающее устройство. УУМД 116 может осуществлять дистанционное управление через поставщика услуг системы связи, участников или обоих из них, при этом предполагают, что санкционирование доступа осуществляет поставщик услуг. УУМД 116 может получать определения групп через внешний интерфейс администрирования. Участники группы могут выдать запрос на выполнение административных действий через своего поставщика услуг или осуществлять административное управление сетевыми функциями через заданные системы, например, через средство управления защитой, СУЗ (SM), управление которым осуществляет участник и которое согласовано с интерфейсом администрирования УУМД. УУМД 116 может подтвердить подлинность стороны, предпринимающей попытку установления или изменения сети.
СУЗ может осуществлять управление распределением ключей, выполнять проверку подлинности абонента и связанные с этим задачи для обеспечения защиты сетей. Одна система групповой связи может взаимодействовать с одним или с большим количеством СУЗ. СУЗ может не быть вовлечено в управление сетью в реальном масштабе времени, в том числе в процесс активации сети или арбитража НиГ. СУЗ может быть способным выполнять административные функции, совместимые с интерфейсом УУМД, для автоматизации административных функций. СУЗ также может быть способным действовать в качестве оконечной точки для данных с целью участия в сети, осуществлять широковещательную передачу сетевые ключей или просто осуществлять текущий контроль потока информационного обмена в сети.
В одном из вариантов осуществления изобретения средство, выдающее запрос на получение разрешения от УУМД на приоритетное право на передачу, содержит клавишу или переключатель “нажми и говори”, НиГ. В том случае, когда абонент в системе 100 желает передать информацию другим участникам, абонент может нажать переключатель “нажми и говори “, расположенный в его или ее УС, посылая запрос на получение контроля над правом на телефонный разговор для получения приоритетного права на передачу от УУМД 116. Если в данный момент времени приоритетное право на передачу не предоставлено никакому другому участнику сети, то приоритетное право на передачу может быть предоставлено абоненту, выдавшему запрос, и абонент может быть уведомлен об этом посредством звукового, визуального или осязаемого предупреждения посредством УС. После того как абоненту, выдавшему запрос, предоставлено приоритетное право на передачу, может быть осуществлена передача информации от этого абонента другому участнику.
В одном из вариантов осуществления изобретения настоящего изобретения каждый участник сети беспроводной связи устанавливает прямой канал связи и обратный канал связи с одной или с большим количеством базовых станций 126 или, в альтернативном варианте, со шлюзом спутниковой связи, в зависимости от обстоятельств. Речевая информация и/или данные могут быть преобразованы с использованием УС в пакеты данных, которые, например, являются пригодными для конкретной распределенной сети 128, через которую может быть осуществлена связь с другими абонентами. В одном из вариантов осуществления изобретения распределенной сетью 128 является сеть Интернет.
В одном из вариантов осуществления изобретения в каждой системе связи, то есть в системе наземной связи и в системе спутниковой связи, для широковещательной передачи информации от каждого участника сети другим участникам сети устанавливают выделенный прямой канал связи. Каждый участник сети может осуществлять прием передаваемой информации от участников другой сети по выделенному каналу. В другом варианте осуществления изобретения в каждой системе связи устанавливают выделенный обратный канал связи для передачи информации в УУМД 116. В одном из вариантов осуществления изобретения может быть использована совокупность вышеупомянутых схем. Например, схема может содержать операцию установления выделенного широковещательного прямого канала, но для этого требуется, чтобы беспроводные УС осуществляли передачу информацию в УУМД 116 по выделенному обратному каналу связи, присвоенному каждому УС.
В том случае, когда первый участник сети желает осуществить передачу информации другим участникам сети, первый участник сети может выдать запрос на предоставление приоритетного права на передачу путем нажатия клавиши “нажми и говори” в его или ее УС, которое осуществляет генерацию запроса, имеющего формат, пригодный для передачи по распределенной сети 128. В случае наличия УС 120 и 122 запрос может быть передан по радиосвязи в одну или в большее количество базовых станций 126. Между базовой станцией (БС) 126 и распределенной сетью 128 может существовать коммутационный центр мобильной связи, КЦМС (MSC) 130, который может содержать известную функцию межсетевого взаимодействия, ФМВ (IWF), узел обслуживания пакетной передачи данных, УОППД (PDSN), или функцию управления пакетами, ФУП (PCF), служащие для обработки пакетов данных. Запрос может быть передан через коммутируемую телефонную сеть общего пользования (КТСОП) в модемный банк, который может осуществить прием запроса и подать его в распределенную сеть 128. Оконечное устройство может осуществлять текущий контроль потока трафика (информационного обмена) в системе 100 посредством его соединения с распределенной сетью 128.
Если в текущий момент времени, когда УУМД 116 получает запрос на предоставление приоритетного права на передачу, никакой другой участник не сохраняет за собой приоритетное право на передачу, то УУМД 116 может передать сообщение участнику сети, выдающему запрос, уведомляя его о том, что ему предоставлено приоритетное право на передачу. Затем может быть осуществлена передача звуковой, визуальной или иной информации от первого участника сети другим участникам сети путем передачи информации в УУМД 116 с использованием одного из только что описанных трактов передачи. В одном из вариантов осуществления изобретения УУМД 116 после этого передает информацию другим участникам сети путем дублирования информации и передачи каждого дубликата другим участникам сети. При использовании одного широковещательного канала необходимо осуществлять лишь однократное дублирование информации для каждого используемого широковещательного канала.
В альтернативном варианте осуществления изобретения УУМД 116 встроено в КЦМС 130, поэтому пакеты данных из опорных базовых станций направляют непосредственно в УУМД 116, не направляя их в распределенную сеть 128. В этом варианте осуществления изобретения УУМД 116 по-прежнему соединено с распределенной сетью 128, поэтому другие системы и устройства связи могут участвовать в групповой связи. В еще одном варианте осуществления изобретения УУМД 116 может быть встроено в УОППД или в модули ФУП КЦМС 130.
В одном из вариантов осуществления изобретения УУМД 116 обслуживает одну или большее количество баз данных, служащих для управления информацией, относящейся к отдельным участникам сети, а также к каждой заданной сети. Например, для каждого участника сети база данных может содержать такую информацию, как, например, имя абонента, номер счета, номер телефона или набираемый номер, соответствующий УС участника, идентификационный номер подвижной станции, присвоенный УС, текущее состояние участника в сети, например, является ли участник активным участником сети, код приоритета, служащий для определения того, каким образом предоставляют приоритетное право на передачу, номер телефона передачи данных, соответствующий УС, IP-адрес, соответствующий УС, и указатель того, с какими именно сетями участнику разрешено поддерживать связь. В базе данных также может быть запомнена и другая родственная информация иных типов, относящаяся к каждому участнику сети.
В одном из вариантов осуществления изобретения УС может создавать соединения с отдельными оконечными устройствами связи для формирования одной группы или сети для общения. УУМД может содержать множество функциональных возможностей, реализованных аппаратными и программными средствами, конфигурация которых может быть перестроена различными способами для адаптации к различным областям применения. УУМД может обеспечивать возможность управления сетевыми операциями, выполняемыми в реальном масштабе времени, административными сетевыми операциями и сетевыми операциями проверки подлинности, арбитражем запросов функции “нажми и говори” (НиГ), обслуживанием и распределением перечней участников сети и регистрационных перечней, установлением телефонного вызова и разъединением необходимой связи, например, МДКР, системными и сетевыми ресурсами, а также централизованного контроля состояния сети.
Сети могут находиться в пределах автономной развертываемой системы сотовой связи или большой структуры с множеством сетевых узлов. В случае большой структуры множество УУМД могут быть размещены по географическому принципу, образуя единую объединенную систему, при этом каждое из них функционирует в качестве сменного модуля, встраиваемого в существующую инфраструктуру сотовой связи. По существу, новые функциональные возможности, предоставляемые сетями, являются доступными для абонентов сотовой связи, при этом не требуются какие-либо видоизменения существующей инфраструктуры сотовой связи.
УУМД может обслуживать перечень заданных сетей. В одном из вариантов осуществления изобретения каждое определение сети содержит идентификатор сети, перечень участников, в том числе номера телефонов или иную идентифицирующую информацию, информацию о приоритете абонента и иную общую административную информацию. Сети могут быть статически определены либо как незащищенные, либо как защищенные, а переходы между незащищенными и защищенными сетями не могут быть разрешены. В защищенной сети обычно используют шифрование медиаданных для обеспечения подтверждения подлинности и защиты от подслушивания. Для защищенных сетей осуществляют сквозное шифрование медиаданных, а это означает, что шифрование и расшифровка могут выполняться в устройстве связи. УУМД может функционировать без сведений об алгоритмах обеспечения защиты, ключах или стратегиях.
На фиг.16 показан пример группы 1600 для пояснения того, каким образом устройства 1602, 1604 и 1606 связи взаимодействуют с УУМД 1608. Множество УУМД может быть размещено желательным для крупномасштабных групп способом. На фиг.16 УС 1602 имеет разрешение на передачу медиаданных другим участникам группы. В этом случае известно, что УС 1602 является говорящим абонентом и осуществляет передачу медиаданных по каналу связи. Когда УС 1602 определен как говорящий абонент, то остальные участники, которыми являются УС 1604 и УС 1606, могут не иметь разрешения на передачу медиаданных группе. Следовательно, УС 1604 и УС 1606 определены как слушающие абоненты.
Как описано выше, УС 1602, 1604 и 1606 поддерживают связь с УУМД 1608 с использованием, по меньшей мере, одного канала. В одном из вариантов осуществления изобретения канал разделен на выделенные каналы, в состав которых входит канал 1610 протокола инициирования сеанса связи (SIP), канал 1612 передачи служебных сигналов медиаданных и канал 1614 трафика медиаданных. Канал 1610 протокола инициирования сеанса связи (SIP) и канал 1612 передачи служебных сигналов медиаданных могут быть использованы в любой момент времени, насколько позволяет это сделать их пропускная способность, любым из УС 1602, 1604 и 1606 вне зависимости от того, определено ли оно как говорящий абонент или как слушающий абонент. Протокол инициирования сеанса связи (SIP) представляет собой протокол уровня приложений, разработанный рабочей группой по инженерным проблемам сети Интернет (IETF) и описывающий средства управления установлением, видоизменением и завершением мультимедийных сеансов связи, функционирующих по протоколу сети Интернет (IP). Протокол инициирования сеанса связи (SIP) обеспечивает общее решение проблем передачи сигналов при телефонном вызове для прикладных программ телефонной связи через сеть Интернет, обеспечивая поддержку средств регистрации и определения местоположения абонентов, средств, определяющих возможности абонентов и описывающих параметры медиаданных, и средств, определяющих доступность абонента, установление телефонного соединения и обработку телефонных вызовов.
В одном из вариантов осуществления изобретения канал 1610 протокола инициирования сеанса связи (SIP) используют для начала и завершения участия УС в группе 1600. В канале 1610 протокола инициирования сеанса связи (SIP) также может быть использован сигнал протокола описания сеанса связи (SDP). В том случае, когда участием УС в группе является начальная установка, например, с использованием канала 1610 протокола инициирования сеанса связи (SIP), то имеет место управление телефонным соединением в реальном масштабе времени и передача служебных сигналов между УС и УУМД, например, с использованием канала 1612 передачи служебных сигналов медиаданных сетевого широковещательного обслуживания (СШО). В одном из вариантов осуществления изобретения канал 1612 передачи служебных сигналов медиаданных используют для обработки запросов, выдаваемых посредством нажатия и отпускания кнопки “нажми и говори”, для арбитража конфликтующих запросов или для контроля над правом на телефонный разговор, для объявления начала и окончания передачи информации, для управления неактивным состоянием сети, для отслеживания способности к поддержанию связи с оконечной точкой, для выдачи запросов и обмена данными о состоянии сети и для уведомления о наличии любых сообщений об ошибках. Протокол канала 1612 передачи служебных сигналов среды медиаданных минимизирует длину наиболее часто передаваемых сообщений и упрощает задачу интерпретации ответов и выдачи ответов на запросы, сохраняя приспособляемость для будущих усовершенствований. Протокол канала 1612 передачи служебных сигналов медиаданных также позволяет осуществлять повторную передачу запросов без неблагоприятного воздействия на состояние протокола.
В одном из вариантов осуществления изобретения поток обмена служебными сигналами по каналу 1612 передачи служебных сигналов медиаданных содержит служебные сигналы установления телефонного соединения и управления, которые могут состоять из запросов с приглашениями к сеансу связи и сообщений о подтверждении приема, и служебные сигналы медиаданных, которые могут содержать запросы на получение контроля над правом на телефонный разговор, передаваемые в реальном масштабе времени, и связанные с ними асинхронные сообщения. Поток трафика медиаданных по каналу 1614 трафика медиаданных может содержать широковещательные передачи речевой информации и/или данных, выполняемые в реальном масштабе времени, от одного абонента к множеству абонентов. Обе категории обмена сообщениями имеют уникальные функциональные свойства. Кроме того, каждое УС может выдавать клиентские запросы службы имен доменов (DNS) для облегчения преобразования полностью уточненных имен DNS хост-узлов в сетевые адреса в сети Интернет.
В одном из вариантов осуществления изобретения передачу служебных сигналов установления телефонного соединения и управления телефонным соединением производят согласно семантике протокола инициирования сеанса связи (SIP). Несмотря на то что может быть осуществлена транспортировка протокола инициирования сеанса связи (SIP) с использованием либо хорошо известного протокола передачи дейтаграмм пользователя (UDP), либо протокола управления передачей (TCP), в одном из вариантов осуществления изобретения каждое УС выполняет функции передачи служебных сигналов, основанные на протоколе инициирования сеанса связи (SIP), с использованием протокола передачи дейтаграмм пользователя (UDP). К тому же, каждое средство управления конфигураций CM может ожидать получения служебных запросов протокола инициирования сеанса связи (SIP) по протоколу передачи дейтаграмм пользователя (UDP). Передача служебных сигналов в реальном масштабе времени может происходить через динамический интерфейс протокола передачи дейтаграмм пользователя/протокола сети Интернет (UDP/IP) в CM и в каждом УС. Передача других служебных сигналов может происходить через стационарный интерфейс протокола управления передачей/протокола сети Интернет (TCP/IP) между CM и УС с использованием, например, протокола инициирования сеанса связи (SIP).
Время задержки ФУНКЦИИ НиГ
В одном из вариантов осуществления изобретения в том случае, когда услуга пакетной передачи данных является активной, осуществляют активное выделение имеющихся в инфраструктуре ресурсов, например, подсистемы приемопередатчика базовой станции, ППБС (BTS), контроллера базовой станции, КБС (BSC), средства, обеспечивающего функцию межсетевого взаимодействия, ФМВ (IWF), и канала радиосвязи, подвижной станции, ПС (MS). В услуге диспетчерской передачи речевых данных по протоколу сети Интернет (VoIP) на основе Протокола сети Интернет (IP) соединение для пакетной передачи данных для каждого абонента остается активным в течение продолжительности активного разговора между участниками группы. Однако после периода отсутствия активности, то есть “времени паузы”, при групповой связи абонентские каналы трафика могут перейти в неактивное состояние.
Переход в неактивное состояние сберегает пропускную способность системы, снижает стоимость обслуживания и потребление тока аккумулятора, а также приводит к тому, что абонент может осуществлять прием обычных входящих телефонных вызовов в режиме речевой связи. Например, когда абонент участвует в активном телефонном вызове с пакетной передачей данных, обычно полагают, что его телефон является “занятым” для входящих телефонных вызовов в режиме речевой связи. Если же телефонный вызов с пакетной передачей данных, в котором участвует абонент, находится в неактивном состоянии, то абонент может быть способен осуществлять прием входящих телефонных вызовов в режиме речевой связи. Поэтому после периодов отсутствия активности при пакетной передаче данных желательно осуществлять перевод телефонного вызова с пакетной передачей данных в неактивное состояние.
В течение того времени, когда телефонные вызовы с пакетной передачей данных являются активными, даже в том случае, если обмен пакетами данных не осуществляют, телефонные аппараты мобильной связи по-прежнему могут осуществлять передачу энергии в радиочастотном (РЧ) диапазоне, хотя и на низком уровне, сохранять синхронизацию с базовой станцией и осуществлять управление мощностью. Эти передаваемые сигналы могут привести к существенному потреблению мощности в телефонном аппарате. Однако в неактивном состоянии телефонный аппарат не может не выполнять передачу РЧ-сигналов. Для сбережения энергии телефонного аппарата и продления срока службы аккумулятора время паузы может быть установлено таким образом, что обеспечивает переход телефонного аппарата в режим отсутствия активности после длительных периодов отсутствия передачи данных.
В течение того времени, когда услуга пакетной передачи данных является активной для всех абонентов, запросы НиГ (PTT), которые могут представлять собой IP-дейтаграммы, передаваемые между ПС и сервером диспетчеризации, имеют очень низкое время задержки. Однако, если абонентские каналы связи были предварительно переведены в неактивное состояние, то время задержки функции НиГ может быть намного большим. Во время неактивного состояния пакетных данных информация о состоянии, соответствующая сеансу пакетной передачи данных, в том числе IP-адрес мобильного устройства, может сохраняться. Однако информация о состоянии, соответствующая более низким уровням, чем протокол двухточечного соединения (PPP), например физическим уровням информационного обмена, может быть удалена и/или высвобождена.
В некоторых инфраструктурах для активизации неактивного соединения для передачи данных необходимо выполнить перераспределение канала трафика, необходимо выполнить перераспределение ресурсов и необходимо выполнить повторную инициализацию уровня протокола линии радиосвязи (RLP). В результате это приводит к тому, что когда абонент нажимает свою кнопку НиГ для выдачи запроса о предоставлении права на телефонный разговор после того, как разговаривающая группа не говорит в течение некоторого времени, время задержки функции НиГ для первого всплеска речевой активности обычно является намного более длинной, чем для последующих всплесков речевой активности. Хотя это происходит относительно редко, это может оказать воздействие на эффективность обслуживания и должно быть сведено к минимуму.
В одном из вариантов осуществления изобретения для уменьшения времени задержки функции НиГ передача служебных сигналов при групповом вызове, например запросов на получение контроля над правом на телефонный разговор, ответов на запросы на получение контроля над правом на телефонный разговор и сообщений о выходе из неактивного состояния, может быть осуществлена по некоторым имеющимся каналам общего пользования, не ожидая восстановления выделенных каналов трафика. Такие каналы общего пользования могут быть доступными всегда вне зависимости от состояния подвижных станций и могут не требовать выдачи запроса на их использование и их перераспределения всякий раз, когда абонент желает инициировать групповой вызов. Следовательно, обмен служебными сигналами группового вызова может быть осуществлен даже в том случае, когда подвижные станции являются неактивными, что может обеспечить наличие средства параллельного восстановления выделенных каналов трафика для подвижных станций говорящего абонента и слушающего абонента.
В одном из вариантов осуществления изобретения вызывающая подвижная станция может осуществлять передачу запроса на получение контроля над правом на телефонный разговор в инфраструктуру беспроводной связи по некоторых имеющимся обратным каналам связи общего пользования, например по обратному каналу доступа и по обратному каналу с расширенным доступом. Вызывающая подвижная станция может также осуществлять прием ответа на запрос на получение контроля над правом на телефонный разговор по некоторым имеющимся прямым каналам связи общего пользования, например по прямому каналу поискового вызова и по прямому каналу управления общего пользования. В одном из вариантов осуществления изобретения неактивные подвижные станции слушающего абонента могут осуществлять прием сообщений о выходе из неактивного состояния по некоторым имеющимся прямым каналам связи общего пользования, например по прямому каналу поискового вызова и по прямому каналу управления общего пользования.
Сообщения, обеспечивающие передачу служебных сигналов телефонного вызова в виде короткого пакета данных
В одном из вариантов осуществления изобретения значительное сокращение фактического общего времени выхода из неактивного состояния и времени задержки функции НиГ, воспринимаемого говорящим абонентом, может быть достигнуто за счет использования сообщений в виде короткого пакета данных (КПД), предусмотренных международными стандартами Ассоциации промышленности средств связи/Ассоциации электронной промышленности США для систем стандарта МДКР-2000 (cdma2000) с разнесением по спектру TIA/EIA/IS-2000, которые ниже именуют, например, “стандартом МДКР-2000”. В одном из вариантов осуществления изобретения передача сообщений КПД может быть осуществлена по обоим выделенным физическим каналам, например по основному прямому каналу, ОПК (FCH) или по выделенному прямому каналу управления общего пользования, ВПКУОП (F-DCCH), либо по физическим каналам общего пользования, например по обратному каналу доступа, ОКД (R-ACH), по обратному каналу с расширенным доступом, ОКРД (R-EACH), по прямому каналу управления общего пользования, ПКУОП (F-CCCH), или по каналу поискового вызова, КПВ (PCH). Транспортировка сообщений КПД может быть осуществлена по протоколу пакетной радиопередачи, ППР (RBP), который отображает сообщения на соответствующий и доступный канал физического уровня. Поскольку сообщения КПД могут содержать произвольную информацию, передаваемую по протоколу сети Интернет (IP), а их передача может быть осуществлена по физическим каналам общего пользования, то сообщения КПД обеспечивают средство обмена служебными сигналами при групповом вызове в том случае, когда у подвижной станции вызывающего клиента отсутствуют какие-либо выделенные каналы трафика.
Сообщения, обеспечивающие передачу служебных сигналов телефонного вызова, Исходящего из подвижной станции
В одном из вариантов осуществления изобретения сообщения, обеспечивающие передачу служебных сигналов медиаданных, могут содержать IP-дейтаграммы, передаваемые по обратному каналу связи или по каналу связи, исходящему из подвижной станции. Клиентская подвижная станция может быстро передавать сигнал в УУМД всякий раз, когда абонент выдает запрос о предоставлении права на телефонный разговор, а выделенный обратный канал трафика не может быть немедленно предоставлен в его распоряжение. Предполагая, что клиентская подвижная станция освободила все выделенные каналы трафика, клиентская подвижная станция может незамедлительно отправить запрос на получение контроля над правом на телефонный разговор по обратному каналу связи общего пользования, имеющемуся в инфраструктуре беспроводной связи, через который запрос может быть передан в УУМД. Например, для передачи таких сообщений в случае отсутствия выделенного обратного канала может быть использован либо обратный канал доступа, либо обратный канал с расширенным доступом. В одном из вариантов осуществления изобретения клиентская подвижная станция может осуществлять передачу сообщения с запросом о предоставлении права на телефонный разговор в УУМД в виде сообщения КПД.
Со ссылкой на фиг.4, в одном из вариантов осуществления изобретения клиентская ПС может послать запрос 404 о предоставлении права на телефонный разговор в режиме НиГ по обратному каналу связи общего пользования, например по каналу доступа или по каналу с расширенным доступом, перед попыткой восстановить свой выделенный канал трафика. В одном из вариантов осуществления изобретения клиентская ПС может послать запрос 404 о предоставлении права на телефонный разговор в режиме НиГ в сообщении КПД вне зависимости от используемого канала.
Затем клиентская ПС может начать восстановление своего выделенного канала трафика, например, путем выполнения “служебной операции номер 33 возврата в исходное состояние” (“service option 33 re-origination”). Клиентская ПС может также начать синхронизацию протокола линии радиосвязи (RLP). В одном из вариантов осуществления изобретения клиентская ПС может восстановить свой выделенный канал трафика и синхронизировать протокол линии радиосвязи (RLP), что в преимущественном варианте осуществляют параллельно с передачей запроса 404 о предоставлении права на телефонный разговор в режиме НиГ.
Следовательно, использование имеющихся обратных каналов связи общего пользования и/или функции КПД для передачи в CM запросов на получение контроля над правом на телефонный разговор в тот момент, когда у подвижной станции отсутствуют активные выделенные каналы трафика, приводит к сокращению общего времени, необходимого для вывода участвующих подвижных станций из неактивного состояния. Несмотря на то что клиент говорящего абонента может не получить подтверждение о предоставлении права на телефонный разговор по его запросу до тех пор, пока не будет восстановлен прямой канал трафика говорящего абонента, возможность быстрой передачи сигналов в CM для начала вывода участвующих слушающих абонентов из неактивного состояния приводит к уменьшению общего времени задержки.
Со ссылкой на фиг.4, инфраструктура системы беспроводной связи может послать запрос 404 на получение контроля над правом на телефонный разговор в режиме НиГ в узел обслуживания пакетной передачи данных (УОППД), а затем в УУМД. В одном из вариантов осуществления изобретения после получения запроса на получение контроля над правом на телефонный разговор УУМД может выполнить арбитраж запроса, осуществить пакетную передачу служебных сообщений медиаданных о выходе из неактивного состояния (активизирующих сообщений) группе участников-адресатов (слушающих абонентов) и/или инициировать процедуру восстановления каналов 414 трафика участников (слушающих абонентов). Если УУМД в ответ на запрос предоставляет право на телефонный разговор в режиме НиГ, то УУМД может послать сообщение 408 о представлении права на телефонный разговор в режиме НиГ в клиентскую ПС. В одном из вариантов осуществления изобретения в том случае, если выделенный канал трафика клиента до сих пор не восстановлен, то РД может осуществить передачу сообщения 408 о представлении права на телефонный разговор в режиме НиГ в клиентскую ПС по имеющемуся прямому каналу связи общего пользования, например по прямому каналу поискового вызова и по прямому каналу управления общего пользования. В одном из вариантов осуществления изобретения инфраструктура может осуществлять передачу сообщения 408 о представлении права на телефонный разговор в режиме НиГ в клиентскую ПС в виде КПД вне зависимости от используемого канала.
В одном из вариантов осуществления изобретения УУМД перед тем, как ответить на запрос на получение контроля над правом на телефонный разговор в режиме НиГ, может ожидать истечения промежутка времени, заданного таймером отклика на отсутствие активности. Если время таймера отклика на отсутствие активности в группе установлено равным нулю, то CM может незамедлительно ответить на запрос на получение контроля над правом на телефонный разговор. В одном из вариантов осуществления изобретения в том случае, если клиентская ПС завершила восстановление своего канала трафика и синхронизацию протокола канала радиосвязи (RLP), клиентская ПС может осуществлять потоковую передачу в УУМД медиаданных 416, которое, возможно, было буферизовано (при операции 412) в клиентской ПС.
Сообщения, обеспечивающие передачу служебных сигналов телефонного вызова, ИсходяЩЕГО из СЕТИ
В одном из вариантов осуществления изобретения после приема запроса на получение контроля над правом на телефонный разговор УУМД может осуществить пакетную передачу служебных сообщений медиаданных о выходе из неактивного состояния группе участников-адресатов (слушающих абонентов) и инициировать процедуру восстановления каналов трафика участников (слушающих абонентов). Если время таймера отклика на отсутствие активности в группе установлено равным нулю, то УУМД может незамедлительно ответить на запрос на получение контроля над правом на телефонный разговор. В одном из вариантов осуществления изобретения в том случае, если говорящий абонент начал восстановление своего канала трафика сразу же после передачи запроса НиГ, в преимущественном варианте восстановление каналов трафика вызывающего абонента и слушающих абонентов может быть осуществлено параллельно.
Со ссылкой на фиг.4, после того, как в УУМД поступил запрос на получение контроля над правом на телефонный разговор в режиме НиГ, УУМД может послать активизирующие сообщения 414, направленные слушающим абонентам-адресатам. УУМД может определить, существует ли сеанс пакетной передачи данных для подвижной станции-адресата, и направить активизирующий пакет в соответствующий элемент инфраструктуры, например в базовую станцию. Инфраструктура может произвести поисковый вызов каждой отдельной подвижной станции-адресата для начала восстановления ее выделенного канала трафика. Затем подвижная станция-адресат может начать восстановление своего выделенного канала трафика, например, путем выполнения “служебной операции номер 33 возврата в исходное состояние” (“service option 33 re-origination”). Подвижная станция-адресат может также начать синхронизацию протокола линии радиосвязи (RLP). В одном из вариантов осуществления изобретения, подвижные станции-адресаты могут осуществить восстановление своих выделенных каналов трафика и синхронизацию своих протоколов линии радиосвязи (RLP), что в преимущественном варианте осуществляют параллельно с выполнением тех же самых функций клиентской ПС.
В одном из вариантов осуществления изобретения после того, как подвижной станцией-адресатом завершено восстановление ее выделенного канала трафика и синхронизация ее протокола линии радиосвязи (RLP), подвижная станция-адресат может послать в УУМД ответ 422 на сообщение о выводе из неактивного состояния, указывающее, что подвижная станция-адресат готова к приему медиаданных. УУМД может послать в клиентскую ПС уведомление говорящего абонента перед потоковой передачей в подвижную станцию-адресат медиаданных 420, буферизация которых могла быть осуществлена в УУМД при операции 418.
В одном из вариантов осуществления изобретения передачу активизирующего сообщения 414, инициирующего вывод из неактивного состояния, слушающему абоненту-адресату УУМД может осуществлять по некоторым имеющимся прямым каналам связи общего пользования, например по прямому каналу поискового вызова и по прямому каналу управления общего пользования, в течение того времени, когда каналы трафика слушающих абонентов-адресатов еще не восстановлены. В одном из вариантов осуществления изобретения УУМД может осуществлять передачу активизирующего сообщения 414, инициирующего вывод из неактивного состояния, слушающему абоненту-адресату в виде КПД, вне зависимости от используемого канала. Если передачу запроса на получение контроля над правом на телефонный разговор в режиме НиГ осуществляют по обратному каналу связи общего пользования говорящего абонента в виде сообщения КПД, а время таймера отклика на отсутствие активности группы-адресата установлено в УУМД равным нулю, то фактическое время задержки функции НиГ в клиентском устройстве говорящего абонента может быть уменьшено до такого времени, которое необходимо для передачи сообщения с запросом КПД по обратному каналу связи и последующего ответного сообщения КПД по прямому каналу связи.
СЕТЕВЫЕ ИНТЕРФЕЙСЫ ДЛЯ Сообщений, обеспечивающих передачу служебных сигналов телефонного вызова
Для определения характерного потока информационного обмена, исходящего из сети, например, полезной нагрузки КПД, передаваемого для незанятой подвижной станции, не имеющей выделенных каналов трафика, может быть реализована некоторая инфраструктурная политика или интерфейс, служащий для того, чтобы отличить этот характерный поток информационного обмена от других потоков информационного обмена.
В первом варианте осуществления может быть осуществлена фильтрация IP-дейтаграмм по их размеру, так как сообщения КПД могут обеспечивать передачу лишь ограниченной полезной нагрузки абонента. IP-дейтаграммы, размер которых является меньшим, чем заранее заданный предельный размер, могут быть переданы в виде сообщения КПД в том случае, если они предназначены для подвижной станции, не имеющей выделенных каналов трафика. Система групповой связи может использовать такие фильтры потому, что приложенное сообщение с ответом на запрос о предоставлении права на телефонный разговор является весьма малым, равным, например, 34 байтам, включая заголовки протокола сети Интернет (IP-заголовки).
Во втором варианте осуществления поставщик инфраструктуры может предоставлять основанное на протоколе сети Интернет (IP) средство обслуживания инкапсуляции потока информационного обмена по протоколу сети Интернет (IP), предназначенного для доставки в подвижную станцию. Сервер протокола сети Интернет (IP-сервер), имея сведения о наличии такого средства обслуживания, может осуществлять передачу малых IP-дейтаграмм, например дейтаграмм протокола передачи дейтаграмм пользователя (UDP), надлежащим образом инкапсулированных посредством IP-заголовков, в это средство обслуживания для их доставки в подвижную станцию, которая, как полагают, не имеет выделенного канала трафика. Системы групповой связи могут использовать это средство обслуживания для указания для инфраструктуры того, что сообщение с ответом на запрос о предоставлении права на телефонный разговор должно быть доставлено клиентской ПС, выдавшей запрос, например, в виде КПД. Координация потока информационного обмена КПД с находящимися в процессе рассмотрения поисковыми вызовами или исходящими служебными запросами также является важной для обеспечения быстрой и надежной передачи потока информационного обмена между абонентами.
В третьем варианте осуществления IP-сервер может осуществлять передачу специальных IP-дейтаграмм, например дейтаграмм протокола передачи дейтаграмм пользователя (UDP), с IP-заголовками, предназначенных для доставки в подвижную станцию, которая, как полагают, не имеет выделенного канала трафика. IP-сервер может помечать IP-дейтаграммы, например, путем задания специального значения в IP-заголовке, давая инфраструктуре указание о доставке IP-дейтаграммы в клиентскую ПС. Системы групповой связи могут использовать эту услугу для выдачи в инфраструктуру указания о том, что сообщение с ответом на запрос о предоставлении права на телефонный разговор следует доставить в клиентскую ПС, выдавшую запрос, например, в виде КПД. В третьем варианте осуществления диапазон адресов порта протокола передачи дейтаграмм пользователя (UDP) или протокола управления передачей (TCP) может быть зарезервирован для доставки конкретных IP-дейтаграмм, например, сообщений в виде КПД.
ВЫЗОВ УСЛУГИ, ИНИЦИИРОВАННЫЙ ПОДВИЖНОЙ СТАНЦИЕЙ, И ПОИСКОВЫЙ ВЫЗОВ
В одном из вариантов осуществления изобретения клиент может послать запрос 404 на получение контроля над правом на телефонный разговор, который может быть представлен в виде КПД, после чего в инфраструктуру беспроводной связи, например МДКР, незамедлительно поступает запрос на вызов услуги, служащий для быстрого восстановления ее каналов трафика. Однако если установленное значение времени таймера отклика на отсутствие активности является малым, то РД может быстро ответить на запрос на получение контроля над правом на телефонный разговор и послать ответ 408 обратно клиенту. Если этот ответ поступает в инфраструктуру на раннем этапе обработки запроса на вызов услуги, то инфраструктура отмечает, что у ПС говорящего абонента отсутствует какой-либо активный канал трафика, и может предпринять попытку осуществить передачу ответа в ПС говорящего абонента способом поискового вызова. Однако эта операция поискового вызова может прервать уже выполняемую обработку запроса на вызов услуги. В одном из вариантов осуществления изобретения ПС говорящего абонента может ответить на поисковый вызов, что обеспечивает гарантированную доставку сообщения с ответом на запрос на получение контроля над правом на телефонный разговор говорящему абоненту, и снова выдать запрос на вызов услуги, но при этом имеет место ненужная задержка при восстановлении канала трафика говорящего абонента в результате прерванной первоначальной попытки вызова услуги.
В первом варианте осуществления во избежание возникновения состояния соперничества между процессом вызова услуги и процессом поискового вызова конфигурация РД может быть установлена таким образом, что он не посылает незамедлительный ответ на запрос 404 на получение контроля над правом на телефонный разговор. Следовательно, таймер отклика на наличие неактивного состояния может быть отрегулирован таким образом, чтобы УУМД осуществляло передачу ответа 408 в ПС говорящего абонента после завершения процесса вызова услуги.
Во втором варианте осуществления обеспечивают согласованность действий УОППД, получающего ответ 408, и коммутационного центра мобильной связи (КЦМС), отвечающего на запрос на вызов услуги, выданный говорящим абонентом. То есть если УОППД определяет, что процесс вызова услуги передачи пакетных данных для ПС говорящего абонента уже выполняется в момент поступления ответа 408 в инфраструктуру, то КЦМС может задержать операцию поискового вызова ПС говорящего абонента. УОППД может поместить ответ в кэш и послать его по прямому каналу трафика подвижной станции говорящего абонента по завершении процесса вызова услуги. В альтернативном варианте КЦМС может послать ответ в ПС говорящего абонента в виде сообщения КПД в том случае, если процесс вызова услуги все еще выполняется.
В третьем варианте осуществления ПС говорящего абонента может предотвратить возникновение состояния соперничества, не выдавая запрос на вызов услуги до тех пор, пока ПС говорящего абонента не получит ответ на запрос на получение контроля над правом на телефонный разговор. В одном из вариантов осуществления изобретения, поскольку ПС говорящего абонента не имеет какого-либо активного выделенного канала трафика, то УУМД может осуществлять передачу ответа в ПС говорящего абонента по некоторым имеющимся прямым каналам связи общего пользования, например по прямому каналу поискового вызова и по прямому каналу управления общего пользования. В одном из вариантов осуществления изобретения УУМД может осуществлять передачу ответа в ПС говорящего абонента в виде КПД. ПС говорящего абонента может инициировать возобновление активности своего канала трафика на основании созданного РД ответа на запрос на получение контроля над правом на телефонный разговор тем же самым способом, которым инициируют возобновление активности канала трафика для подвижных станций слушающего абонента по запросам на вывод из неактивного состояния, переданным из УУМД. Возникновение состояния соперничества предотвращено потому, что предотвращена потенциальная возможность одновременного вызова услуги, инициированного подвижной станцией, и поискового вызова подвижной станции, инициированного сетью.
КЭШИРОВАНИЕ ИНИЦИИРОВАННЫХ СЕТЬЮ СООБЩЕНИЙ, АКТИВИЗИРУЮЩИХ ПАКЕТНУЮ ПЕРЕДАЧУ ДАННЫХ
IP-дейтаграмма, содержащая активизирующее сообщение 414, инициирующее вывод из неактивного состояния, которое поступает в инфраструктуру беспроводной связи, например в МДКР, и предназначено для подвижной станции слушающего абонента, не имеющей каких-либо выделенных каналов трафика, может быть потеряна либо вообще во всей сети, либо в инфраструктуре беспроводной связи в частности. В одном из вариантов осуществления изобретения осуществляют настойчивую повторную передачу активизирующего сообщения 414, инициирующего вывод из неактивного состояния, в подвижную станцию слушающего абонента согласно заданному графику очередности передачи до тех пор, пока не будет получен ответ от слушающих абонентов, или до тех пор, пока не истечет промежуток времени, заданный таймером вывода группы из неактивного состояния. Например, повторная передача активизирующего сообщения 414, инициирующего вывод из неактивного состояния, может быть осуществлена через каждые 500 миллисекунд (мс). Однако повторная передача активизирующих сообщений 414, инициирующих вывод из неактивного состояния, с такой частотой может привести к возникновению максимальной задержки вплоть до 500 мс, или среднего значения задержки, равной 250 мс, с момента восстановления канала трафика слушающего абонента до момента поступления в инфраструктуру следующего активизирующего сообщения, инициирующего вывод из неактивного состояния, которое предназначено для этого слушающего абонента.
В одном из вариантов осуществления изобретения инфраструктура или иной объект в сети могут осуществлять кэширование активизирующего сообщения 414, инициирующего вывод из неактивного состояния, переданного УУМД, и доставлять его в подвижную станцию-адресат сразу же после восстановления подвижной станцией-адресатом своего канала трафика. Это устраняет необходимость в повторной передаче запроса на вывод из неактивного состояния, осуществляемой УУМД, и сокращает общее время вывода из неактивного состояния. Кэширование сообщения, инициирующего вывод из неактивного состояния 414, в отличие от его повторной передачи через каждые 500 мс, например, может устранить задержку, составляющую вплоть до 500 мс от общего времени вывода из неактивного состояния.
БУФЕРИЗАЦИЯ МЕДИАДАННЫХ
В одном из вариантов осуществления изобретения, абоненту может быть предоставлена возможность начать говорить после того, как абонентом выдан запрос на получение контроля над правом на телефонный разговор, за счет буферизации медиаданных до восстановления выделенных каналов между клиентом и слушающими абонентами. За счет буферизации речи говорящего абонента система позволяет говорящему абоненту начать говорить до того, как будут полностью восстановлены каналы трафика слушающих абонентов. Это предоставляет говорящему абоненту возможность начать говорить раньше, что приводит к сокращению наблюдаемого им времени задержки функции НиГ. Так как слушающие абоненты не ощущают времени задержки функции НиГ, то это не оказывает никого воздействия на них, то есть время задержки функции НиГ смещено от говорящего абонента в другие части системы. Говорящий абонент может ожидать получения ответа от слушающего абонента на его первый всплеск речевой активности в течение того же самого времени, но, как упомянуто выше, он уже ожидает, что ответ на его первый всплеск речевой активности последует позже, чем ответ на последующие всплески речевой активности, возникающие во время ведения им активного разговора. Буферизация первого всплеска речевой активности говорящего абонента может быть осуществлена со стороны УУМД или со стороны клиентской ПС.
БУФЕРИЗАЦИЯ СО СТОРОНЫ УУМД
В одном из вариантов осуществления изобретения УУМД может осуществлять буферизацию первого всплеска речевой активности говорящего абонента. После того как абонент нажал свою кнопку НиГ и восстановлены каналы трафика абонента, ему может быть разрешена связь с УУМД. В этот момент времени, поскольку каналы трафика слушающего абонента еще не действуют, УУМД при выполнении операции 418 осуществляет буферизацию речи говорящего абонента для ее передачи слушающим абонентам-адресатам в будущем. Буферизация в УУМД может привести к сокращению наблюдаемого времени задержки функции НиГ, воспринимаемого говорящим абонентом, до такой величины, которая приблизительно равна времени, требуемому для приведения в действие канала трафика говорящего абонента. На фиг.17 показана процедура буферизации со стороны УУМД согласно одному из вариантов осуществления изобретения, описание которой приведено ниже:
(1) Отсутствие выполняемого телефонного вызова, каналы трафика инициатора вызова и адресата являются неактивными.
(2) Абоненты нажимают кнопку НиГ. Сервер получает от клиента запрос на “установление группового телефонного соединения”.
(3) Абоненту предоставляют право на телефонный разговор после того, как клиент получает из сервера ответ “выполняется процедура установления телефонного соединения” или после перестраиваемой задержки (равной 1 секунде), и начинают буферизацию медиаданных, поступивших от абонента.
(4) Сервер начинает процесс восстановления каналов трафика для пакетной передачи данных у адресатов.
(5) Сервер посылает клиенту сообщение с “уведомлением о групповом вызове” посредством КПД.
(6) Клиент успешно восстанавливает канал трафика и начинает передачу буферизованных медиаданных в сервер.
(7) Клиент осуществляет потоковую передачу медиаданных в сервер.
(8) Восстановлены каналы трафика адресатов (выполнено условие достижения “порогового количества ответов от адресатов”).
(9) Абонент отпускает кнопку НиГ. Клиент прекращает буферизацию медиаданных.
(10) Клиент завершает потоковую передачу буферизованных медиаданных в сервер и выдает в сервер запрос с отказом от права на телефонный разговор.
(11) Сервер посылает клиенту сообщение с подтверждением приема запроса с отказом от права на телефонный разговор.
БУФЕРИЗАЦИЯ СО СТОРОНЫ КЛИЕНТА
В одном из вариантов осуществления изобретения, в котором желательно обеспечить более короткое наблюдаемое время задержки, говорящему абоненту может быть предоставлена возможность начать говорить до того, как будет восстановлен даже его собственный канал трафика. Поскольку клиентская ПС еще не поддерживает связь с УУМД, то клиентская ПС подает говорящему абоненту сигнал о том, чтобы он начал говорить. Если говорящему абоненту разрешено говорить до восстановления канала трафика говорящего абонента, клиентская ПС может осуществлять буферизацию речи (операция 412). Поскольку связь с CM еще не установлена, то разрешение на разговор дают “оптимистично”. На фиг.18 показана процедура буферизации со стороны клиента согласно одному из вариантов осуществления изобретения, описание которой приведено ниже:
(1) Отсутствие выполняемого телефонного вызова, канал трафика инициатора вызова является неактивным.
(2) Абонент нажимает кнопку НиГ. Клиент посылает в сервер запрос на “установление группового телефонного соединения” посредством КПД.
(3) Клиент начинает процесс восстановления канала трафика для пакетной передачи данных.
(4) Абоненту предоставляют право на телефонный разговор после того, как клиент получает из сервера ответ “выполняется процедура установления телефонного соединения” или после перестраиваемой задержки (равной 1 секунде), и начинают буферизацию медиаданных, поступивших от абонента.
(5) Клиент получает из сервера сообщение с “уведомлением о групповом вызове”, переданное посредством КПД.
(6) Клиент успешно восстанавливает канал трафика.
(7) Клиент осуществляет потоковую передачу буферизованных медиаданных в сервер.
(8) Абонент отпускает кнопку НиГ. Клиент прекращает буферизацию медиаданных.
(9) Клиент завершает потоковую передачу буферизованных медиаданных в сервер и выдает в сервер запрос с отказом от права на телефонный разговор.
(10) Клиент получает из сервера сообщение с подтверждением приема запроса с отказом от права на телефонный разговор.
В одном из вариантов осуществления изобретения, обе процедуры буферизации: буферизации со стороны УУМД (операция 418) и буферизации со стороны клиента (операция 412), могут функционировать одновременно. Буферизация со стороны клиента может обеспечить наличие малого наблюдаемого времени задержки функции НиГ. В одном из вариантов осуществления изобретения клиентская ПС выполнять буферизацию медиаданных таким образом, чтобы обеспечить управление наблюдаемым временем задержки функции НиГ, которое воспринимает абонент. Сочетание использования КПД, исходящих из подвижной станции, и буферизации медиаданных со стороны клиента может обеспечить уменьшение задержек, связанных с восстановлением активных каналов трафика.
Следовательно, раскрытые варианты осуществления изобретения обеспечивают модель диспетчеризации, поддерживающую, по меньшей мере, два типа диспетчерских вызовов, а именно модель дискуссионных групп и специализированную модель. В модели дискуссионных групп группы являются заранее заданными, а сведения о них могут быть запомнены в сервере диспетчеризации. Однако в специализированной модели группы могут быть заданы и/или изменены в реальном масштабе времени.
Раскрытые варианты осуществления изобретения также обеспечивают существенное сокращение фактического общего времени выхода из неактивного состояния и времени задержки функции НиГ за счет обмена служебными сигналами группового вызова даже в том случае, когда подвижные станции являются неактивными и отсутствует какой-либо активный канал трафика. Предложенные способ и устройство обеспечивают обмен служебными сигналами группового вызова за счет передачи служебных сигналов с использованием сообщений в виде коротких пакетов данных (КПД). Предложенные способ и устройство обеспечивают восстановление выделенных каналов трафика для подвижной станции говорящего абонента и неактивных подвижных станций слушающих абонентов, что в преимущественном варианте осуществляют параллельно.
В другом варианте осуществления изобретения время задержки при выходе из неактивного состояния в сети групповой связи может быть уменьшено за счет кэширования инициированных сетью активизирующих сообщений, инициирующих вывод из неактивного состояния, которые предназначены для слушающих абонентов-адресатов, и доставки активизирующего сообщения, инициирующего вывод из неактивного состояния, в подвижную станцию-адресат сразу же после восстановления подвижной станцией-адресатом своего канала трафика.
В другом варианте осуществления изобретения в подвижной станции, работающей в сети групповой связи, обеспечивают предотвращение одновременного вызова услуги и поискового вызова за счет передачи ответа на запрос на получение контроля над правом на телефонный разговор после завершения процесса вызова услуги. В одном из вариантов осуществления изобретения ответ на запрос на получение контроля над правом на телефонный разговор может быть реализован в виде КПД в том случае, если процесс вызова услуги не завершен. В другом варианте осуществления изобретения процесс вызова услуги для исходного устройства связи инициируют после передачи ответа в исходное устройство связи.
Формула изобретения
1. Способ добавления абонента к групповому вызову в сети групповой связи, используемый в устройстве связи, заключающийся в том, что
осуществляют прием указания от абонента, желающего инициировать групповой вызов,
осуществляют передачу на сервер запроса для инициирования группового вызова или добавления абонента к групповому вызову в случае наличия выполняемого группового вызова,
осуществляют прием из сервера ответа, указывающего наличие выполняемого группового вызова,
предупреждают абонента о добавлении его к групповому вызову, и
осуществляют прием медиаданных из сервера после восстановления канала трафика, причем восстановление канала трафика осуществляют одновременно с выполнением упомянутой операции передачи запроса.
2. Способ по п.1, отличающийся тем, что упомянутая операция передачи включает в себя операцию передачи запроса по обратному каналу доступа (R-АСН) сети беспроводной связи.
3. Способ по п.1, отличающийся тем, что упомянутая операция передачи включает в себя операцию передачи запроса по обратному каналу с расширенным доступом (R-ЕАСН) сети беспроводной связи.
4. Способ по п.1, отличающийся тем, что дополнительно осуществляют повторное согласование протокола линии радиосвязи (RLP) для устройства связи.
5. Способ по п.1, отличающийся тем, что дополнительно осуществляют повторное согласование протокола линии радиосвязи (RLP) для устройства связи одновременно с выполнением упомянутой операции передачи запроса.
6. Способ по п.1, отличающийся тем, что упомянутая операция передачи включает в себя операцию передачи запроса в виде короткого пакета данных (SDB).
7. Считываемый посредством процессора носитель информации, используемый в устройстве связи, содержащий программу, согласно которой устройство связи осуществляет способ по п.1.
8. Считываемый посредством процессора носитель информации по п.7, отличающийся тем, что упомянутая операция передачи включает в себя операцию передачи запроса по обратному каналу доступа (R-АСН) сети беспроводной связи.
9. Считываемый посредством процессора носитель информации по п.7, отличающийся тем, что упомянутая операция передачи включает в себя операцию передачи запроса по обратному каналу с расширенным доступом (R-ЕАСН) сети беспроводной связи.
10. Считываемый посредством процессора носитель информации по п.7, отличающийся тем, что упомянутый способ содержит следующую дополнительную операцию, при которой осуществляют повторное согласование протокола линии радиосвязи (RLP) для устройства связи.
11. Считываемый посредством процессора носитель информации по п.7, отличающийся тем, что упомянутый способ содержит следующую дополнительную операцию, при которой осуществляют повторное согласование протокола линии радиосвязи (RLP) для устройства связи одновременно с выполнением упомянутой операции передачи запроса.
12. Считываемый посредством процессора носитель информации по п.7, отличающийся тем, что упомянутая операция передачи включает в себя операцию передачи запроса в виде короткого пакета данных (SDB).
13. Устройство связи, обеспечивающее добавление абонента к групповому вызову в сети групповой связи, содержащее
средство приема указания от абонента, желающего инициировать групповой вызов,
средство передачи на сервер запроса для инициирования группового вызова или добавления абонента к групповому вызову в случае наличия выполняемого группового вызова,
средство приема из сервера ответа, указывающего наличие выполняемого группового вызова,
средство предупреждения абонента о добавлении его к групповому вызову, и
средство приема медиаданных из сервера после восстановления канала трафика, причем канал трафика восстанавливают одновременно с выполнением упомянутой передачи запроса.
14. Устройство связи по п.13, отличающееся тем, что упомянутое средство передачи содержит средство передачи запроса по обратному каналу доступа (R-АСН) сети беспроводной связи.
15. Устройство связи по п.13, отличающееся тем, что упомянутое средство передачи содержит средство передачи запроса по обратному каналу с расширенным доступом (R-ЕАСН) сети беспроводной связи.
16. Устройство связи по п.13, отличающееся тем, что дополнительно содержит средство повторного согласования протокола линии радиосвязи (RLP) для устройства связи.
17. Устройство связи по п.13, отличающееся тем, что дополнительно содержит средство повторного согласования протокола линии радиосвязи (RLP) для устройства связи одновременно с выполнением упомянутой передачи запроса.
18. Устройство связи по п.13, отличающееся тем, что упомянутое средство передачи содержит средство передачи запроса в виде короткого пакета данных (SDB).
19. Устройство связи, обеспечивающее добавление абонента к групповому вызову в сети групповой связи, содержащее
приемник,
передатчик и
процессор, соединенный с возможностью поддержки связи с приемником и передатчиком, при этом процессор выполнен с возможностью
осуществления приема указания от абонента, желающего инициировать групповой вызов,
осуществления передачи на сервер запроса для инициирования группового вызова или добавление абонента к групповому вызову в случае наличия выполняемого группового вызова,
осуществления приема из сервера ответа, указывающего наличие выполняемого группового вызова,
предупреждения абонента о добавлении его к групповому вызову и
осуществления приема медиаданных из сервера после восстановления канала трафика, причем канал трафика восстанавливают одновременно с выполнением упомянутой передачи запроса.
20. Устройство связи по п.19, отличающееся тем, что процессор дополнительно выполнен с возможностью осуществления передачи запроса по обратному каналу доступа (R-АСН) сети беспроводной связи.
21. Устройство связи по п.19, отличающееся тем, что процессор дополнительно выполнен с возможностью осуществления передачи запроса по обратному каналу с расширенным доступом (R-ЕАСН) сети беспроводной связи.
22. Устройство связи по п.19, отличающееся тем, что процессор дополнительно выполнен с возможностью осуществления повторного согласования протокола линии радиосвязи (RLP) для устройства связи.
23. Устройство связи по п.19, отличающееся тем, что процессор дополнительно выполнен с возможностью осуществления повторного согласования протокола линии радиосвязи (RLP) для устройства связи одновременно с выполнением упомянутой передачи запроса.
24. Устройство связи по п.19, отличающееся тем, что процессор дополнительно выполнен с возможностью осуществления передачи запроса в виде короткого пакета данных (SDB).
РИСУНКИ
|
|