|
|
(21), (22) Заявка: 2005139791/09, 19.12.2005
(24) Дата начала отсчета срока действия патента:
19.12.2005
(30) Конвенционный приоритет:
20.12.2004 KR 10-2004-0108774
(43) Дата публикации заявки: 27.06.2007
(46) Опубликовано: 27.01.2008
(56) Список документов, цитированных в отчете о поиске:
RU 2237378 С2, 27.09.2004. RU 2146855 С1, 20.03.2000. US 5774666 А, 30.06.1998. ЕР 0848553 А2, 17.06.1998. Proposal for MPEG-2 Carriage of Content Referencing information -AN250,16.03.2001 (найдено 20.12.2006). Найдено в Интернет:;. DAVIC 1.5 Specification – TV
Адрес для переписки:
129010, Москва, ул. Б. Спасская, 25, стр.3, ООО “Юридическая фирма Городисский и Партнеры”, пат.пов. Ю.Д.Кузнецову, рег.№ 595
|
(72) Автор(ы):
БАЕ Дзин Хван (KR)
(73) Патентообладатель(и):
ЭлДжи ЭЛЕКТРОНИКС ИНК. (KR)
|
(54) УСТРОЙСТВО И СПОСОБ ДЛЯ ОБРАБОТКИ ТЕКСТОВ В ПРИЕМНИКЕ ЦИФРОВОГО ВЕЩАНИЯ
(57) Реферат:
Изобретение относится к цифровой телевизионной технике и может быть использовано для обработки текстов в цифровом телевизионном приемнике. Технический результат – эффективная обработка текстовой информации, содержащейся в видеопотоке, достигается тем, что в приемник цифрового вещания введены модуль извлечения текста, модуль обработки текста, модуль хранения извлеченной текстовой информации и модуль поиска по ключевым словам. При этом пользователь может эффективно получать точную и суммированную информацию из цифрового видеовещания, используя возможности хранения, преобразования и поиска текстовой информации, а компьютер или другие мобильные терминалы могут использовать текстовое содержимое программы вещания. 2 н. и 13 з.п. ф-лы, 2 ил.
(56) (продолжение):
CLASS=”b560m”Anytime and TV Anywhere, April 1999 (найдено 20.12.2006). Найдено в Интернет:.
Описание
По данной заявке испрашивается приоритет по Корейской патентной заявке № 1-2004-108774, зарегистрированной 20 декабря 2004 г., которая полностью включена в материалы настоящей заявки в качестве ссылки.
Область техники, к которой относится изобретение
Настоящее изобретение относится к приемнику цифрового вещания (цифровой телевизионный приемник и т.д.), более конкретно к устройству для обработки текстов в приемнике цифрового вещания и способу для этого.
Уровень техники
Как правило, поскольку технологии цифрового вещания превращаются в источник дохода, то передается огромное количество информации. Кроме того, по-прежнему трудно выбрать и/или просмотреть определенное вещание или извлечь определенную информацию более быстро и точно.
Для этого могут использоваться путеводитель по программе вещания, титры вещания, представление, использующее компьютерную графику, служба предоставления непрерывной информации и персональное устройство видеозаписи (ниже сокращенное как PVR).
Используя функцию EPG (электронный путеводитель по программе), программа может быть найдена через ТВ-экран для того, чтобы без труда отложить запись, или ТВ-программа отыскивается или записывается, чтобы создать расписание просмотра согласно персональному вкусу. Отсюда без затруднения и с запланированным временем программы вещания пользователь может просмотреть определенную программу в любое время.
Однако способ предшествующего уровня имеет следующие недостатки.
Прежде всего, если пользователь пытается получить определенную информацию из цифрового вещания, он просматривает цифровое вещание полностью.
Во-вторых, в случае использования PVR, пользователь может получить информацию, выбрав время просмотра. Кроме того, возрастают требования к системе, такие как емкость устройства хранения PVR для записи канала вещания. Если количество необходимой информации меньше, чем время просмотра канала вещания для получения определенной информации, то время тратится впустую.
Раскрытие изобретения
Соответственно, настоящее изобретение направлено на устройство для обработки текстов в приемнике цифрового вещания и способ для этого, который по существу устраняет одну или более проблем из-за ограничений и недостатков предшествующего уровня.
Целью настоящего изобретения является обеспечить устройство для обработки текстов в приемнике цифрового вещания и способ для этого, в котором текст включается во входные данные приемника цифрового вещания.
Дополнительные преимущества, цели и признаки изобретения будут изложены частично в описании, которое следует ниже, и частично станут очевидными специалистам в области техники после исследования нижеследующего описания или могут быть изучены при применении изобретения. Цели и другие преимущества изобретения могут быть реализованы и достигнуты структурой, подробно показанной в изложенном описании и формуле изобретения, а также в прилагаемых чертежах.
Для того чтобы достичь этих целей и других преимуществ и в соответствии с целью изобретения, как осуществлено и широко описано в данном документе, устройство для обработки текстов в приемнике цифрового вещания согласно настоящему изобретению включает в себя модуль извлечения текста, извлекающий тексты из содержимого данных, введенных в приемник цифрового вещания, и модуль обработки текста, обрабатывающий извлеченные тексты.
В другом аспекте настоящего изобретения способ обработки текстов в приемнике цифрового вещания включает в себя операции извлечения текстов из содержимого данных, введенных в приемник цифрового вещания, и обработки извлеченных текстов.
Следует понимать, что оба упомянутых выше общих описания и последующее детальное описание настоящего изобретения являются примерными и пояснительными и предназначены для обеспечения дополнительного раскрытия заявленного изобретения.
Краткое описание чертежей
Сопутствующие чертежи, которые включены для того, чтобы обеспечить дополнительное понимание изобретения, объединены и составляют часть этой заявки, иллюстрируют вариант(ы) осуществления изобретения и вместе с описанием служат для разъяснения принципа изобретения. На чертежах:
фиг.1 – блок-схема устройства для обработки текстов в приемнике цифрового вещания согласно варианту осуществления настоящего изобретения; и
фиг.2 – блок-схема способа для обработки текстов в приемнике цифрового вещания согласно варианту осуществления настоящего изобретения.
Осуществление изобретения
Сейчас будет сделана ссылка в деталях на предпочтительные варианты осуществления настоящего изобретения, примеры которого проиллюстрированы в сопутствующих чертежах. Где это возможно, будут использованы одни и те же номера ссылок на чертежах, чтобы ссылаться к тем же или подобным частям.
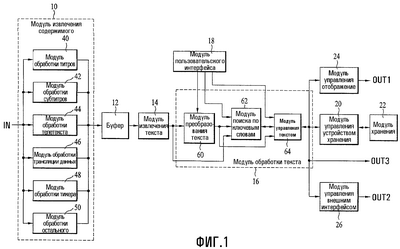
Фиг.1 – блок-схема устройства для обработки текстов в приемнике цифрового вещания согласно варианту осуществления настоящего изобретения.
Обращаясь к фиг.1, устройство для обработки текстов в приемнике цифрового вещания согласно варианту осуществления настоящего изобретения включает в себя модуль 10 извлечения содержимого, буфер 12, модуль 14 извлечения текста, модуль 16 обработки текста, модуль 18 пользовательского интерфейса, модуль 20 управления устройством хранения, модуль 22 хранения, модуль 24 управления отображением и модуль 26 управления внешним интерфейсом.
Фиг.2 – блок-схема способа обработки текстов в приемнике цифрового вещания согласно варианту осуществления настоящего изобретения.
Обращаясь к фиг.2, способ обработки текстов в приемнике цифрового вещания согласно варианту осуществления настоящего изобретения включает в себя операции 80-84 извлечения содержимого и текста и операции 86-96 обработки текста.
Модуль 10 извлечения содержимого, показанный на фиг.1, принимает данные, введенные в приемник цифрового вещания через терминал ввода IN, и декодирует принятые данные так, чтобы извлечь соответствующее содержимое (операция 80). В этом случае данные, введенные в приемник цифрового вещания, означают данные, принятые из потока цифрового ТВ-вещания. Содержимое, извлеченное модулем 10 извлечения содержимого, выводится в модуль 14 извлечения текста через буфер 12.
В настоящем изобретении содержимое, извлеченное модулем 10 извлечения содержимого, означает содержимое для дополнительной службы, такой как вещание титров и тому подобное, также как и аудио-, и видео-, как главное содержимое, которое включает в себя текст и предоставляется цифровому ТВ-приемнику в службе цифрового ТВ-вещания. Это содержимое включает в себя по меньшей мере одно из содержимого титров, содержимого субтитров, содержимого телетекста, содержимого вещания данных и содержимого непрерывных данных для службы, например, свежих новостей в вещании.
Например, модуль 10 извлечения содержимого включает в себя, по меньшей мере, одно из модуля 40 обработки титров, модуля 42 обработки субтитров, модуля 44 обработки телетекста, модуля 46 обработки вещания данных, модуля 48 обработки непрерывных данных и модуля 50 обработки остальной информации.
Модуль 40 обработки титров, как показано на фиг.1, извлекает содержимое титров, декодируя данные, принятые через терминал ввода IN, и затем выводит извлеченное содержимое титров в модуль 14 извлечения текста через буфер 12.
Модуль 42 обработки субтитров извлекает содержимое субтитров, декодируя данные, принятые через терминал ввода IN, и затем выводит извлеченное содержимое субтитров в модуль 14 извлечения текста через буфер 12.
Модуль 44 обработки телетекста извлекает содержимое телетекста, декодируя данные, принятые через терминал ввода IN, и затем выводит извлеченное содержимое телетекста в модуль 14 извлечения текста через буфер 12.
Модуль 46 обработки вещания данных извлекает содержимое вещания данных, декодируя данные, принятые через терминал ввода IN, и затем выводит извлеченное содержимое трансляции данных в модуль 14 извлечения текста через буфер 12.
Модуль 48 обработки непрерывных данных извлекает содержимое непрерывных данных, декодируя данные, принятые через терминал ввода IN, и затем выводит извлеченное содержимое непрерывных данных в модуль 14 извлечения текста через буфер 12.
И, наконец, модуль 50 обработки остальной информации извлекает различные виды содержимого, декодируя данные, принятые через терминал ввода IN, и затем выводит извлеченное содержимое в модуль 14 извлечения текста через буфер 12.
После завершения операции 80 буфер 12 принимает содержимое, извлеченное модулем 10 извлечения содержимого, временно сохраняет принятое содержимое и выводит результат сохранения модулю 14 извлечения текста (операция 82).
После завершения операции 82 модуль 14 извлечения текста извлекает текст из содержимого приемника цифрового вещания, принятого из буфера 12 (операция 84).
Альтернативно, в отличие от фиг.1, устройство обработки текста может не включать в себя, по меньшей мере, одно из модуля 10 извлечения содержимого и буфера 12.
Например, в случае, где модуль 10 извлечения содержимого не включен в состав, данные, введенные через терминал ввода IN, предоставляются модулю 14 извлечения текста через буфер 12. Модуль 14 извлечения текста затем извлекает текст из данных приемника цифрового вещания, введенных из буфера 12.
В случае, когда и модуль 10 извлечения содержимого, и буфер 12 не включены в состав, данные, введенные через терминал ввода IN, вводятся в модуль 14 извлечения текста. Модуль 14 извлечения текста затем извлекает текст из данных приемника цифрового вещания, введенных из терминала ввода IN.
В случае, когда буфер 12 не включен в состав, содержимое, извлеченное модулем 10 извлечения содержимого, непосредственно вводится в модуль 14 извлечения текста. Следовательно, модуль 14 извлечения текста извлекает текст из содержимого, введенного из модуля 10 извлечения содержимого.
После завершения операции 84 модуль 16 обработки текста обрабатывает текст, извлеченный модулем 14 извлечения текста (86-96).
Для того чтобы выполнить операции 86-96, модуль 16 обработки текста может включать в себя модуль 60 преобразования текста, модуль 62 поиска по ключевым словам и модуль 64 управления текстом.
После завершения операции 84 модуль 60 преобразования текста принимает текст, извлеченный из модуля 14 извлечения текста, преобразует его в файловый формат и выводит преобразованный файловый формат в модуль 62 поиска по ключевым словам (операция 86).
В этом случае файловый формат, преобразованный модулем 60 преобразования текста, может быть задан пользователем. Для этого модуль 18 пользовательского интерфейса выводит пользовательский сигнал требований, принятых от пользователя, в модуль 60 преобразования текста. Модуль 60 преобразования текста устанавливает файловый формат, соответствующий пользовательскому сигналу, принятому из модуля 18 пользовательского интерфейса, и затем преобразует извлеченный текст в установленный файловый формат. Файловый формат, преобразованный модулем 60 преобразования текста, может иметь расширение, например, «.txt», «.hwp», «.doc» и т.п., совместимое с программным обеспечением, а также с различными инструментальными средствами.
После завершения операции 86 модуль 62 поиска по ключевым словам ищет в преобразованном файле тексты, ассоциативно связанные только с ключевым словом, и выводит найденные тексты в модуль 64 управления текстом (операция 88). Таким образом, устройство обработки текста включает в себя модуль 62 поиска по ключевым словам для того, чтобы искать только необходимый текст, используя ключевое слово. Для этого модуль 62 поиска по ключевым словам преобразует результат, преобразованный модулем 60 преобразования текста, в ASCII-код (Американский стандартный код для обмена информацией) и затем ищет ASCII-код для текста, ассоциативно связанного с ключевым словом.
В этом случае текст, ассоциативно связанный с ключевым словом, может включать в себя по меньшей мере одно из ключевого слова и диапазона, ассоциативно связанного с ключевым словом, и может быть задан пользователем. В частности, текст, ассоциативно связанный с ключевым словом, использованным в модуле 62 поиска по ключевым словам, может быть модифицирован пользователем. В этом случае диапазон, ассоциативно связанный с ключевым словом, означает, будет ли найдено само ключевое слово или насколько большой диапазон от ключевого слова будет найден. Для этого модуль 18 пользовательского интерфейса выводит пользовательский сигнал как требования, принятые от пользователя, в модуль 62 поиска по ключевым словам. Следовательно, модуль 62 поиска по ключевым словам определяет согласно пользовательскому сигналу, по меньшей мере, одно из ключевого слова и диапазона, ассоциативно связанного с ключевым словом, и затем ищет текст, используя заданный результат. Например, пользователь может с помощью модуля 18 пользовательского интерфейса задать модулю 62 поиска по ключевым словам искать каждое предложение или параграф, включающие в себя ключевое слово, и может задать модулю 64 управления текстом управлять модулем 20 управления устройством хранения так, чтобы найденный результат можно было сохранить в модуле 22 хранения. Для этого модуль 20 управления устройством хранения играет некоторую роль в управлении записью и чтением модуля 22 хранения под управлением модуля 64 управления текстом.
После завершения операции 88 модуль 64 управления текстом решает, будет ли текст, найденный модулем 62 поиска по ключевым словам, воспроизведен, сохранен или предоставлен наружу (операция 90). В этом случае операция 90 может быть разрешена пользователем. Для этого модуль 18 пользовательского интерфейса выводит пользовательский сигнал как требования, принятые от пользователя, в модуль 64 управления текстом. В этом случае модуль 64 управления текстом делает выбор по меньшей мере одного из хранения текста, внешнего вывода текста и воспроизведения текста согласно пользовательскому сигналу, введенному из модуля 18 пользовательского интерфейса.
Если решено, что текст, найденный модулем 62 поиска по ключевым словам, должен быть воспроизведен, модуль 64 управления текстом выводит текст, найденный модулем 62 поиска по ключевым словам в воспроизводящий модуль (не показан) (операция 92). В этом случае воспроизводящий модуль (не показан) может включать в себя модуль отображения (не показан), который отображает видео. Если решено отображать текст, найденный модулем 62 поиска по ключевым словам, модуль 64 управления текстом выводит текст, найденный модулем 62 поиска по ключевым словам, в модуль 24 управления отображением. В этом случае модуль 24 управления отображением анализирует найденный текст, введенный из модуля 64 управления текстом, генерирует управляющий сигнал для управления видеосигналом, отображающим текст согласно результату анализа, и выводит сгенерированный управляющий сигнал в модуль отображения (не показан) через термин вывода OUT1. Следовательно, модуль отображения (не показан) может отображать соответствующий текст согласно управляющему сигналу. В этом случае модуль отображения (не показан) может включать в себя переднюю панель (не показана), соединенную с приемником цифрового вещания, монитором (не показан) или т.п. В настоящем изобретении модуль 24 управления отображением, как показано в фиг.1, встроен в устройство обработки текста. Альтернативно, модуль управления отображением может быть предусмотрен вне устройства обработки текста.
Если решено, что текст, найденный модулем 62 поиска по ключевым словам, должен быть сохранен, модуль 64 управления текстом сохраняет текст, найденный модулем 62 поиска по ключевым словам (операция 94). Для этого устройство 64 обработки текста, как показано на фиг.1, может включать в себя модуль 22 хранения. Модуль 64 управления текстом сохраняет текст, найденный модулем 62 поиска по ключевым словам, в модуле 22 хранения, используя модуль 20 управления устройством хранения. Кроме того, вместо сохранения текста во встроенном модуле 22 хранения, показанном на фиг.1, модуль 64 управления текстом может сохранить текст в модуле хранения (не показан), предусмотренном вне устройства обработки текста. В этом случае модуль 64 управления текстом выводит текст во внешний модуль хранения (не показан) через терминал вывода OUT3.
Помимо этого, модуль 64 управления текстом может сохранить текст, ассоциативно связанный с ключевым словом, т.е., по меньшей мере, одно из ключевого слова и диапазона, ассоциативно связанного с ключевым словом, в модуле 22 хранения и может предоставить сохраненный текст, ассоциативно связанный с ключевым словом, в модуль 62 поиска по ключевым словам. Для этого модуль 64 управления текстом может записывать текст, ассоциативно связанный с ключевым словом, в модуль 22 хранения, управляя модулем 20 управления устройством хранения, и может считывать текст, ассоциативно связанный с ключевым словом, из модуля 22 хранения.
Если определено, что текст, найденный модулем 62 поиска по ключевым словам, должен быть предоставлен наружу, модуль 64 управления текстом выводит текст, найденный модулем 62 поиска по ключевым словам, наружу (операция 96). Например, чтобы выполнить операцию 96, модуль 64 управления текстом выводит найденный текст в модуль 26 управления внешним интерфейсом. В этом случае модуль 26 управления внешним интерфейсом может предоставить найденный текст, введенный из модуля 64 управления текстом, такому внешнему устройству как принтер (не показан), периферийному устройству (не показано), компьютеру (не показан), портативному терминалу (не показан) и подобным устройствам через терминал вывода OUT2. В этом случае модуль 26 управления внешним интерфейсом может включать в себя, например, модуль управления принтера или подобного устройства. В этом случае модуль 26 управления внешним интерфейсом может быть предусмотрен снаружи вместо встраивания в устройство обработки текста, как показано на фиг.1, согласно настоящему изобретению.
Согласно настоящему изобретению модуль 16 обработки текста может не включать в себя по меньшей мере одно из модуля 62 поиска по ключевым словам и модуля 60 преобразования текста.
Например, если модуль 16 обработки текста, как показано на фиг.1, не включает в себя модуль 60 преобразования текста, способ, показанный на фиг.2. не включает в себя операцию 86. В этом случае, после завершения операции 84 модуль 62 поиска по ключевым словам ищет тексты, извлеченные модулем 14 извлечения текста, для текстов, ассоциативно связанных только с ключевым словом, и затем выводит найденные тексты в модуль управления текстом (операция 88). Модуль 62 поиска по ключевым словам преобразует результат, извлеченный модулем 14 извлечения текста, в ASCII-код и затем ищет преобразованный ASCII-код для текста, ассоциативно связанного только с ключевым словом.
Если модуль 16 обработки текста не включает в себя модуль 62 поиска по ключевым словам, способ, показанный на фиг.2, не включает в себя операцию 88. В этом случае модуль 64 управления текстом воспроизводит, сохраняет и внешне предоставляет отформатированный в виде файла текст, преобразованный модулем 60 преобразования текста, вместо текста, найденного модулем 62 поиска по ключевым словам (операция 92, операция 94, операция 96).
Если модуль 16 обработки текста не включает в себя ни модуль 60 преобразования текста, ни модуль 62 поиска по ключевым словам, способ, показанный на фиг.2, не включает в себя ни операцию 86, ни 88. В этом случае модуль 64 управления текстом воспроизводит, сохраняет и предоставляет наружу текст, извлеченный модулем 14 извлечения текста, вместо текста, найденного модулем 62 поиска по ключевым словам (операция 92, операция 94, операция 96).
В вышеописанном устройстве обработки текста и способе согласно настоящему изобретению пользователь может просматривать текст, извлеченный из содержимого титров, на экране или может его напечатать. Более того, текст, извлеченный из содержимого титров, передается в файловом формате на компьютер или мобильный терминал, чтобы его можно было просмотреть позже. Следовательно, при просмотре текста позже может быть достигнут такой же эффект, как при просмотре всей вещаемой программы.
Пользователь может получить суммарную информацию, сохраняя текст, извлеченный из содержимого вещания данных. Например, если сигнал цифрового вещания соответствует новостям, титры новостей извлекаются как текст, чтобы быть сохраненными. Если сохраненный текст предоставляется через монитор (не показан) и т.п., пользователь может просмотреть новости подобно газете.
Между тем, если программа новостей принимается приемником цифрового вещания, пользователь может задать ключевое слово ‘LG’, чтобы собрать для сохранения новости, ассоциативно связанные с ‘LG’, из программы новостей. В этом случае модуль 62 поиска по ключевым словам ищет тексты, имеющие ключевое слово ‘LG’. Если пользователь задает наперед известные части, расположенные перед или после ключевого слова ‘LG’ как диапазон, ассоциативно связанный с ключевым словом, модуль 62 поиска по ключевым словам ищет наперед известные части, расположенные перед или после ключевого слова ‘LG’. В этом случае ключевое слово ‘LG’ и наперед известные части, расположенные перед или после ключевого слова, которые являются результатом, найденным модулем 62 поиска по ключевым словам, могут быть сохранены в модуле 22 хранения посредством управления модулем 20 управления устройством хранения через модуль 64 управления текстом. Следовательно, пользователь может собирать и сохранять содержимое, ассоциативно связанное только с определенным ключевым словом.
Носитель записи, читаемый компьютером, включает в себя все виды устройств, которые могут хранить данные, читаемые вычислительной системой. В качестве примера носителя записи, читаемого компьютером, выступают ROM, RAM, CD-ROM, магнитная лента, гибкий диск, оптическое устройство хранения данных и т.п. И носитель записи, читаемый компьютером, включает в себя устройство, которое может быть реализовано в форме несущей волны (например, передача через Интернет). Также носитель записи, читаемый компьютером, рассредоточен в вычислительной системе, соединенной через сеть. Итак, посредством рассредоточения код, читаемый компьютером, может быть сохранен, чтобы быть выполненным. Кроме того, функционирующая программа, код и сегменты кода для реализации способа пользовательского отслеживания облегчены, чтобы быть выведенными программистами – специалистами в области техники, к которой принадлежит настоящее изобретение.
Соответственно, настоящее изобретение обеспечивает следующие эффекты или преимущества.
Прежде всего, если пользователь решает, что количество информации, которое получено, мало, учитывая полное время просмотра цифрового вещания, т.е. если количество информации, полученное за все время просмотра, мало или если пользователь не способен просмотреть цифровое вещание, пользователь может получить определенную информацию вещания или простую и суммированную информацию видео, используя текст без просмотра всего вещания. Следовательно, пользователь может эффективно получать информацию.
Во-вторых, отыскивая тексты, используя ключевое слово, пользователь может получать точную и суммированную информацию из цифрового видеовещания.
В-третьих, если пользователь пытается получить определенную информацию из цифрового вещания, несмотря на то, что используется функция PVR и подобная, из-за недостатка времени для просмотра цифрового вещания существует проблема, что нужна огромная емкость хранения из-за продолжительной записи аудио- и видеосигналов. Следовательно, настоящее изобретение не допускает возникновения такой проблемы с тем, чтобы эффективно использовать устройство хранения.
В-четвертых, текст может быть преобразован различными путями, чтобы быть сохраненным или предоставленным наружу. Следовательно, компьютер или другие мобильные терминалы могут использовать содержимое программы вещания.
Наконец, текст облегчен, чтобы быть просто сгенерированным из данных, используя содержимое для дополнительных служб без принудительной генерации. Следовательно, загрузка аппаратных средств уменьшается.
Специалистам в области техники будет очевидно, что различные модификации и вариации могут быть сделаны в настоящем изобретении без отступления от цели и духа изобретения. Таким образом, имеется в виду, что настоящее изобретение покрывает модификации и вариации этого изобретения, обеспечивая их происхождение в пределах прилагаемой формулы изобретения и ее эквивалентов.
Формула изобретения
1. Устройство для обработки текстов в приемнике цифрового вещания, содержащее
модуль извлечения текста для извлечения текстовой информации без просмотра всего видеовещания;
модуль обработки текста, обрабатывающий извлеченную текстовую информацию;
модуль хранения, хранящий извлеченную текстовую информацию;
модуль преобразования текста, преобразовывающий каждый из извлеченных текстов в файловый формат, заданный в соответствии с пользовательским сигналом;
модуль пользовательского интерфейса, выводящий, как пользовательский сигнал, требования, принятые от пользователя;
модуль поиска по ключевым словам, ищущий текст, ассоциативно связанный только с ключевым словом, в извлеченных текстах, чтобы обработать найденный результат; и
модуль извлечения содержимого, который выводит извлеченное содержимое в модуль извлечения текста.
2. Устройство по п.1, в котором модуль поиска по ключевым словам преобразует каждый из извлеченных текстов в ASCII-код и ищет ASCII-код для текстов, ассоциативно связанных только с ключевым словом.
3. Устройство по п.1, в котором модуль поиска по ключевым словам определяет по меньшей мере одно из ключевого слова и диапазона, ассоциативно связанного с ключевым словом, как текст, ассоциативно связанный с ключевым словом, соответствующий пользовательскому сигналу, и ищет тексты, используя определенный результат.
4. Устройство по п.1, в котором модуль обработки текста содержит модуль управления текстом, воспроизводящий или обеспечивающий внешний вывод извлеченных текстов.
5. Устройство по п.4, которое также содержит модуль пользовательского интерфейса, выводящий, как пользовательский сигнал, требования, принятые от пользователя, в котором модуль управления текстом определяет, по меньшей мере, одно из хранилища извлеченного текста, внешнего вывода извлеченного текста и воспроизведения извлеченного текста в соответствии с пользовательским сигналом.
6. Устройство по п.1, которое также содержит модуль извлечения содержимого, извлекающий соответствующее содержимое, декодируя данные, введенные в приемник цифрового вещания, модуль извлечения содержимого выводит извлеченное содержимое в модуль извлечения текста.
7. Устройство по п.1, в котором содержимое, извлеченное модулем извлечения содержимого, включает в себя, по меньшей мере, одно из содержимого титров, содержимого субтитров, содержимого телетекста, содержимого вещания данных и содержимого непрерывных данных.
8. Устройство по п.1, в котором модуль извлечения содержимого содержит
модуль обработки титров, извлекающий содержимое титров посредством декодирования данных;
модуль обработки субтитров, извлекающий содержимое субтитров посредством декодирования данных;
модуль обработки телетекста, извлекающий содержимое телетекста посредством декодирования данных;
модуль обработки вещания данных, извлекающий содержимое вещания данных посредством декодирования данных; и
модуль обработки непрерывных данных, извлекающий содержимое непрерывных данных посредством декодирования данных.
9. Устройство по п.6, которое также содержит буфер, временно хранящий извлеченное содержимое, введенное из модуля извлечения содержимого, при этом буфер выводит сохраненный результат в модуль извлечения текста.
10. Способ обработки текстов в приемнике цифрового вещания, содержащий этапы, на которых
извлекают текстовую информацию без просмотра всего видеовещания; и
обрабатывают извлеченную текстовую информацию;
сохраняют извлеченную текстовую информацию;
преобразуют каждый из извлеченных текстов в файловый формат, который задается пользователем с тем, чтобы обработать преобразованный файл;
отыскивают текст, ассоциативно связанный только с ключевым словом, в извлеченных текстах с тем, чтобы обработать найденный результат.
11. Способ по п.10, в котором, по меньшей мере, одно из ключевого слова и диапазона, ассоциативно связанного с ключевым словом, задается пользователем как текст, ассоциативно связанный с ключевым словом.
12. Способ по п.10, в котором этап обработки текста в приемнике цифрового вещания, имеющем модуль воспроизведения, содержит этапы, на которых
решают воспроизводить, сохранять или обеспечивать внешний вывод извлеченного текста;
если решено извлеченный текст воспроизводить, воспроизводят извлеченный текст, предоставляя извлеченный текст в модуль воспроизведения;
если решено извлеченный текст сохранить, сохраняют извлеченный текст; и
если решено о внешнем выводе извлеченного текста, обеспечивают внешний вывод извлеченного текста.
13. Способ по п.12, в котором этап решения выполняется пользователем.
14. Способ по п.10, который также содержит этап, на котором извлекают соответствующее содержимое, декодируя данные, введенные в приемник цифрового вещания.
15. Способ по п.14, который также содержит этап, на котором временно сохраняют извлеченное содержимое с тем, чтобы приступить к операции извлечения текста.
РИСУНКИ
|
|