|
|
(21), (22) Заявка: 2004135385/09, 06.05.2003
(24) Дата начала отсчета срока действия патента:
06.05.2003
(30) Конвенционный приоритет:
06.05.2002 US 10/140,087
(43) Дата публикации заявки: 20.07.2005
(46) Опубликовано: 27.01.2008
(56) Список документов, цитированных в отчете о поиске:
RU 2145775 С1, 20.02.2000. RU 2128406 С1, 27.03.1999. ЕР 1024623 А2, 02.08.2000. US 6314101, 06.11.2001. 3G TS 25.322 v.3.1.2, 1999. GB 2332343 А, 16.06.1999.
(85) Дата перевода заявки PCT на национальную фазу:
06.12.2004
(86) Заявка PCT:
US 03/14082 (06.05.2003)
(87) Публикация PCT:
WO 03/096150 (20.11.2003)
Адрес для переписки:
129010, Москва, ул. Б. Спасская, 25, стр.3, ООО “Юридическая фирма Городисский и Партнеры”, пат.пов. Ю.Д.Кузнецову, рег.№ 595
|
(72) Автор(ы):
МОХАНТИ Бибху (US), ЭСТЕВЕС Эдуардо (BR), ГУРЕЛЛИ Мехмет И. (US)
(73) Патентообладатель(и):
КВЭЛКОММ ИНКОРПОРЕЙТЕД (US)
|
(54) СПОСОБ И УСТРОЙСТВО ДЛЯ УВЕЛИЧЕНИЯ КОЛИЧЕСТВА АВТОМАТИЧЕСКИХ ЗАПРОСОВ ПОВТОРНОЙ ПЕРЕДАЧИ (ARQ) ФИЗИЧЕСКОГО УРОВНЯ В БЕСПРОВОДНЫХ СИСТЕМАХ ПЕРЕДАЧИ ДАННЫХ
(57) Реферат:
Изобретение относится в системам связи. Технический результат заключается в повышении эффективности использования ресурсов. Систему управления и приемопередатчика конфигурируют для определения значения управления скоростью передачи данных (УСПД) и для передачи максимального количества временных слотов, разрешенных для передачи пакета данных физического уровня. После обнаружения нормального завершения передачи пороговые значения декодирования корректируют для декодирования сообщения положительного подтверждения и повторяют декодирование канала подтверждения с откорректированными пороговыми значениями. Ретранслируют пакет данных физического уровня по меньшей мере еще один раз после этого на основании того, производит ли повторное декодирование канала подтверждения сообщение отрицательного подтверждения. Ретрансляция может быть обусловлена уровнем пропускной способности передач между базовой станцией и подвижной станцией. 6 н. и 20 з.п. ф-лы, 13 ил.
Область техники, к которой относится изобретение
Настоящее изобретение относится в общем случае к области передач данных, а более конкретно – к беспроводным передачам данных.
Уровень техники
В системе передачи данных, особенно в беспроводной системе передачи данных, пакеты данных могут теряться по различным причинам, которые включают в себя плохие условия в канале. Данные, передаваемые между двумя конечными пользователями, могут проходить через несколько уровней протоколов для обеспечения надлежащего потока данных через систему, где каждый уровень добавляет некоторые функциональные возможности для доставки пакета данных от исходного пользователя пользователю-адресату. Надлежащая доставка данных по меньшей мере в одном аспекте обеспечивается через систему проверки наличия ошибок в каждом пакете данных и автоматического запроса повторной передачи (ретрансляции) того же самого пакета данных (механизм ARQ), если ошибка обнаружена в принятом пакете данных. Независимые механизмы ARQ могут использоваться на различных уровнях протокола для передачи данных между конечными пользователями. Пакеты данных последовательно доставляют с одного уровня протокола на другой. Последовательную доставку выполняют, передавая группу пакетов данных одновременно в последовательности пакетов данных с одного уровня протокола на другой. Группа пакетов данных может не перемещаться, пока процесс ретрансляции стертых пакетов данных в группе на более низком уровне протокола не закончен. Запрос ретрансляции для ретрансляции стертых пакетов данных может повторяться несколько раз или ретрансляция может занять некоторое количество времени, пока стертый пакет данных не будет принят правильно в адресате. В результате процесс ретрансляции на одном уровне протокола может замедлить поток данных между различными уровнями протокола в системе. Между тем, более высокий уровень протокола может преждевременно запросить ретрансляцию всех пакетов данных в группе, которая включает в себя пакеты, принятые успешно на нижнем уровне, что приводит к очень неэффективному использованию ресурсов связи, когда поток данных от одного уровня протокола к другому медленный. Также минимизация потери пакетов нижнего уровня из-за стираний в линии радиосвязи тоже важна, как и уменьшение задержки многочисленных ретрансляций, в случае потери пакета. Поэтому существует соотношение между количеством попыток ретрансляции уровнем протокола нижнего уровня и задержкой, к которой приводят такие ретрансляции, которые нужно рассматривать в механизмах ARQ для сквозной доставки пакетов данных.
Для этой цели, а также для других целей, существует потребность в способе и устройстве для эффективного управления потоком данными в системе связи.
Сущность изобретения
Раскрыты система, различные способы и устройство для эффективных передач данных по различным уровням протокола. Систему управления и приемопередатчика конфигурируют для определения значения управления скоростью передачи данных (УСПД, DRC) и для определения максимального количества слотов (временных интервалов), разрешенных для передачи пакета данных физического уровня. После обнаружения нормального завершения передачи пороговые значения декодирования корректируют для декодирования сообщения положительного подтверждения и повторяют декодирование канала подтверждения с откорректированными пороговыми значениями. Ретрансляция пакета данных физического уровня по меньшей мере еще один раз основана на том, производит ли повторное декодирование канала подтверждения сообщение отрицательного подтверждения. Ретрансляция может быть обусловлена уровнем пропускной способности передач между базовой станцией и подвижной станцией.
Краткое описание чертежей
Особенности, задачи и преимущества настоящего изобретения станут более очевидными из сформулированного ниже подробного описания, которое рассматривается вместе с чертежами, на которых подобные ссылочные символы идентифицируют соответствующие части, и на которых:
Фиг.1 показывает систему связи, выполненную с возможностью работы в соответствии с различными вариантами осуществления изобретения;
Фиг.2 показывает структуру канала прямой линии связи в беспроводной системе передачи данных;
Фиг.3 показывает структуру канала обратной линии связи в беспроводной системе передачи данных;
Фиг.4 показывает декодирование бита данных канала подтверждения в соответствии с различными пороговыми значениями принятой энергии;
Фиг.5 показывает уровни стека протоколов для управления потоком данных в системе связи;
Фиг.6 показывает таблицу для выбора максимального количества разрешенных слотов передачи для передачи пакета данных с выбранной скоростью передачи данных;
Фиг.7 показывает раннее и нормальное завершение передачи пакета данных на физическом уровне;
Фиг.8 показывает примерный поток пакетов данных уровня протокола линии радиосвязи;
Фиг.9 показывает последовательность операций различных этапов для определения дополнительной ретрансляции пакета данных физического уровня в соответствии с различными аспектами изобретения;
Фиг.10 показывает последовательность операций различных этапов для игнорирования отрицательного подтверждения линии радиосвязи в соответствии с различными аспектами изобретения;
Фиг.11 показывает систему приемника для приема и декодирования различных каналов и выполненную с возможностью работы в соответствии с различными аспектами изобретения;
Фиг.12 показывает систему передатчика для передачи различных каналов и выполненную с возможностью работы в соответствии с различными аспектами изобретения; и
Фиг.13 показывает систему приемопередатчика для приема и передачи различных каналов и выполненную с возможностью работы в соответствии с различными аспектами изобретения.
Подробное описание предпочтительного варианта(ов) осуществления изобретения
В общем случае различные аспекты изобретения обеспечивают для эффективного использования ресурсов связи в системе связи с помощью эффективного определения потребности в еще одной передаче пакета данных физического уровня в прямой линии связи на основании повторения декодирования предварительно принятого сигнала канала подтверждения. Повторение процесса декодирования может вовлечь использование различных пороговых значений декодирования. Впоследствии ретрансляция пакета физического уровня может включать в себя использование временного разнесения. Известны различные методы временного разнесения передачи. Один или несколько примерных описанных вариантов осуществления сформулированы в контексте цифровой беспроводной системы передачи данных. Хотя использование в данном контексте является преимущественным, различные варианты осуществления изобретения могут внедряться в различные среды или конфигурации. В общем случае различные описанные системы могут формироваться, используя управляемые с помощью программного обеспечения процессоры, интегральные схемы или дискретные логические схемы. Данные, инструкции, команды, информация, сигналы, символы и элементарные сигналы, на которые могут быть ссылки в данной заявке, преимущественно представлены напряжениями, токами, электромагнитными волнами, магнитными полями или частицами, оптическими полями или частицами, или их комбинацией. Кроме того, блоки, показанные на каждой структурной схеме, могут представлять аппаратные средства или этапы способа.
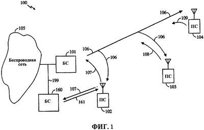
Фиг.1 показывает общую структурную схему системы связи 100, выполненную с возможностью работы в соответствии с любым стандартом системы связи множественного доступа с кодовым разделением каналов (МДКР, CDMA) при внедрении различных вариантов осуществления изобретения. Система связи 100 может использоваться для передачи данных или данных и речи. В общем случае система связи 100 включает в себя базовую станцию 101, которая поддерживает линии связи между множеством подвижных станций, таких как подвижные станции 102-104, и между подвижными станциями 102-104 и коммутируемой телефонной сетью и сетью передачи данных общего пользования 105. Подвижные станции на фиг.1 могут упоминаться, как терминалы доступа к данным (ТД, AT), и базовая станция – как сеть доступа к данным (СД, AN), не отступая от основного объема и различных преимуществ изобретения. Базовая станция 101 может включать в себя множество компонентов, таких как контроллер базовых станций и основная приемопередающая система. Для простоты такие компоненты не показывают. Базовая станция 101 может связываться с другими базовыми станциями, например с базовой станцией 160. Центр коммутации подвижной связи (не показан) может управлять различными аспектами работы системы связи 100 и относительно передач данных по обратному тракту 199 между сетью 105 и базовыми станциями 101 и 160. Базовая станция 101 связывается с каждой подвижной станцией, которая находится в ее зоне обслуживания, через сигнал прямой линии связи, передаваемый от базовой станции 101. Сигналы прямой линии связи, направленные для подвижных станций 102-104, могут суммироваться для формирования сигнала 106 прямой линии связи. Каждая из подвижных станций 102-104, принимающих сигнал 106 прямой линии связи, декодирует сигнал 106 прямой линии связи для извлечения принятой информации. Базовая станция 160 может также связываться с подвижными станциями, которые находятся в ее зоне обслуживания, через сигнал прямой линии связи, передаваемый от базовой станции 160. Подвижные станции 102-104 связываются с базовыми станциями 101 и 160 через соответствующие обратные линии связи. Каждую обратную линию связи поддерживают с помощью сигнала обратной линии связи, например с помощью сигналов 107-109 обратной линии связи для подвижных станций 102-104, соответственно. Хотя сигналы 107-109 обратной линии связи могут направляться на одну базовую станцию, они могут приниматься в других базовых станциях.
Базовые станции 101 и 160 могут одновременно поддерживать связь с общей подвижной станцией. Например, подвижная станция 102 может находиться вблизи от базовых станций 101 и 160, и она может поддерживать связь с обеими базовыми станциями 101 и 160. В прямой линии связи базовая станция 101 передает в сигнале 106 прямой линии связи, а базовая станция 160 – в сигнале 161 прямой линии связи. В обратной линии связи подвижная станция 102 передает в сигнале 107 обратной линии связи, который будет принят обеими базовыми станциями 101 и 160. При передаче пакета данных в подвижную станцию 102 одна из базовых станций 101 и 160 может быть выбрана для передачи пакета данных в подвижную станцию 102. В обратной линии связи обе базовых станции 101 и 160 могут пытаться декодировать передачу данных трафика от подвижной станции 102. Скоростью передачи данных и уровнем мощности обратной и прямой линий связи могут управлять в соответствии с состоянием канала между базовой станцией и подвижной станцией. Состояние канала обратной линии связи могут отличаться от состояния канала прямой линии связи. Скорость передачи данных и уровень мощности канала обратной линии связи и канала прямой линии связи могут быть различны. Специалисты в данной области техники должны признать, что количество данных, переданных за период времени, изменяется в соответствии со скоростью передачи данных. Приемник может принимать большее количество данных с высокой скоростью передачи данных, чем с низкой скоростью передачи данных, в течение того же самого периода времени. Кроме того, скорость передач между пользователями может также изменяться. Приемник может принимать большее количество данных с высокой скоростью связи, чем с низкой скоростью связи, в течение того же самого периода времени. Кроме того, когда для передачи пакета данных требуется более одной передачи, эффективное количество данных, переданных в течение периода времени, уменьшается. Поэтому пропускная способность передачи информации между подвижной станцией и базовой станцией может изменяться время от времени на основании состояния канала. В соответствии с одним или несколькими аспектами изобретения эффективное использование ресурсов связи в системе связи 100 может выполняться с помощью определения потребности в еще одной ретрансляции пакета данных физического уровня, после обнаружения, что пакет данных потерян, на основании пропускной способности передачи между базовой станцией и подвижной станцией.
В соответствии с различными аспектами изобретения в системе связи 100 ретрансляция потерянного пакета данных по меньшей мере еще один раз после обнаружения его потери основана на том, является ли определенная пропускная способность линии связи между исходным пользователем и пользователем-адресатом выше порогового значения пропускной способности. Исходный пользователь может быть базовой станцией, такой как базовая станция 101 или 160, а пользователь-адресат может быть любой из подвижных станций 102-104. После установления передачи прямой линии связи потеря пакета данных может обнаруживаться подвижной станцией. Пропускная способность передачи прямой линии связи может определяться на основе скорости передачи данных, скорости передач, количестве ретрансляций, используемых между исходным пользователем и пользователем-адресатом, или с помощью любой их комбинации. Ретрансляция может включать в себя использование разнесения передачи. Кроме того, прием ретрансляции может включать в себя разнесение приема. Когда пропускная способность выше порогового значения, возможность приема потерянного пакета данных через ретрансляцию выше из-за благоприятных условий пропускной способности канала. Поэтому, когда ретрансляция не происходит из-за того, что пропускная способность ниже порогового значения, коммуникационные ресурсы сохраняются при эффективном использовании. Кроме того, когда ретрансляция имеет место, задержку потока данных между различными уровнями протокола минимизируют с помощью обеспечения своевременного успешного приема потерянного пакета данных при благоприятных условиях пропускной способности канала.
Фиг.2 показывает структуру 200 канала прямой линии связи в соответствии с вариантом осуществления, который может использоваться для структуры канала передач в прямой линии связи. Структура 200 канала прямой линии связи может включать в себя канал 201 пилот-сигнала, канал 202 управления доступом к среде передачи (MAC-канал), канал 203 трафика и канал 204 управления. MAC-канал 202 может включать в себя канал 206 активности обратной линии связи и канал 207 управления мощностью обратной линии связи. Канал 206 активности обратной линии связи используется для указания уровня активности в обратной линии связи. Канал 207 управления мощностью обратной линии связи используется для управления мощностью, с которой подвижная станция может передавать в обратной линии связи.
Фиг.3 показывает, в соответствии с вариантом осуществления, структуру 300 канала обратной линии связи, которая может использоваться для структуры канала передач в обратной линии связи. Структура 300 канала обратной линии связи включает в себя канал 350 доступа и канал 301 трафика. Канал 350 доступа включает в себя канал 351 пилот-сигнала и канал 353 данных. Канал 301 трафика включает в себя канал 304 пилот-сигнала, MAC-канал 303, канал 340 подтверждения (ACK) и канал 302 данных. MAC-канал 303 включает в себя канал 306 индикатора скорости передачи данных обратной линии связи и канал 305 управления скоростью передачи данных (УСПД, DRC). Канал 306 индикатора скорости обратной линии связи используется для указания скорости, с которой подвижная станция передает в настоящее время. Канал 305 управления скоростью передачи данных (УСПД) указывает скорость передачи данных, с которой подвижная станция способна принимать в прямой линии связи. Например, значение УСПД 0x3 может указывать скорость передачи данных 153,6 кбит/с. Кроме того, система может требовать заданное и ограниченное количество ретрансляций пакета данных физического уровня, которые могут происходить. Например, при скорости передачи данных 153,6 кбит/с система разрешает до 3 ретрансляций того же самого пакета данных после начальной передачи, что приводит к общему количеству передач, равному четырем. Если пакет данных физического уровня не декодирован должным образом после начальной передачи, что указывается с помощью канала 340 ACK в обратной линии связи, передатчик может посылать тот же самый пакет данных еще один раз. Ретрансляция может продолжиться до трех раз. Передатчик не передает тот же самый пакет данных больше четырех раз, один – первый раз, и три ретрансляции, когда скорость передачи данных 153,6 кбит/с. Канал 340 ACK используется для информирования, был ли успешно декодирован принятый пакет данных физического уровня в подвижной станции. Когда пакет данных потерян, даже после максимального разрешенного количества ретрансляций, в соответствии с различными аспектами изобретения, в системе связи 100, ретрансляция потерянного пакета данных по меньшей мере еще один раз может быть основана на том, превышает ли определенная пропускная способность линии связи между подвижной станцией и обслуживающей базовой станцией пороговое значение пропускной способности.
В канале 340 ACK передает подвижная станция. Передача в канале 340 ACK может указывать или отрицательное подтверждение (NAK), или положительное подтверждение (ACK). Подвижная станция может передавать сообщение NAK, что указывается с помощью одного бита NAK, в обслуживающую базовую станцию до тех пор, пока принятый пакет данных физического уровня не будет успешно декодирован. Пакет данных физического уровня может быть успешно декодирован до максимального количества разрешенных ретрансляций. Если принятый пакет данных правильно декодирован, подвижная станция посылает сообщение ACK, что указывается одним битом ACK, в канале 340 ACK в обслуживающую базовую станцию. Канал 340 ACK может использовать модуляцию методом двухпозиционной фазовой манипуляции (ДФМн, BPSK), передавая положительный символ модуляции для положительного подтверждения и отрицательный символ модуляции для отрицательного подтверждения. В передатчике, описанном в промежуточном стандарте IS-856, бит ACK/NAK проходит и повторяется через модулятор ДФМн. Модулятор ДФМн модулирует бит ACK/NAK, и результирующий сигнал кодируется с помощью кода Уолша в соответствии с назначенным кодом Уолша. В одном из вариантов осуществления принятый сигнал канала 340 ACK может сравниваться с положительным и отрицательным пороговыми значениями напряжения. Если уровень принятого сигнала соответствует положительному пороговому значению напряжения, то сообщение ACK считают принятым в канале 340 ACK. Если уровень сигнала соответствует отрицательному пороговому значению напряжения, то сообщение NAK считают принятым в канале 340 ACK.
Обращаясь к фиг.4, может быть показано декодирование канала 340 ACK. Результирующий сигнал может сравниваться с положительным пороговым значением 401 и отрицательным пороговым значением 402. Если сигнал выше положительного порогового значения 401, то бит ACK считают принятым в канале 340 ACK. Если сигнал ниже отрицательного порогового значения 402, то бит NAK считают принятым в канале 340 ACK. Положительное и отрицательное пороговые значения 401 и 402 не могут находиться на том же самом уровне. Также область 403 стирания может создаваться между положительным и отрицательным пороговыми значениями 401 и 402. Если результирующий демодулированный сигнал попадает в область 403 стирания, то базовая станция приема не способна определить, был ли передан бит ACK или NAK от подвижной станции в канале 340 ACK.
Механизм ARQ может иметь несколько проблем, когда принятый сигнал канала 340 ACK находится в области 403 стирания. Если стирание интерпретируется как ACK, когда на самом деле от подвижной станции передан NAK, то базовая станция прекращает передавать оставшееся количество разрешенных ретрансляций пакета данных физического уровня. В результате подвижная станция не примет пакет данных физического уровня и будет надеяться на механизм ретрансляции уровня протокола более высокого уровня, такого как уровень протокола линии радиосвязи (RLP), для восстановления потерянного пакета данных. Однако задержка приема пакета данных и использование ресурсов связи на уровне RLP выше, чем на физическом уровне протокола. Одним из измеряемых качеств системы может быть достоверность, связанная с правильной и своевременной доставкой пакета данных в подвижную станцию. Чтобы избежать такой проблемы, в одном из вариантов осуществления процесс декодирования канала ACK может смещаться по направлению к обнаружению NAK, интерпретируя стирание как NAK. Если подвижная станция на самом деле передала ACK, и обслуживающая базовая станция обнаруживает стирание, то интерпретация стирания в качестве NAK разрешает базовой станции продолжать передачу пакета данных физического уровня по меньшей мере еще один раз из оставшегося количества раз, когда на самом деле никакой ретрансляции пакета данных не нужно. Такая ретрансляция, даже при том, что она может быть не нужна, фактически может достичь эффективного использования коммуникационных ресурсов с минимальной задержкой для доставки пакетов данных.
В соответствии с различными аспектами изобретения после неудачи правильного приема физического пакета данных после последней разрешенной ретрансляции пороговые значения 401 и 402 могут измениться, что уменьшает обнаружение стирания. После изменения по меньшей мере одного из пороговых значений ранее принятый сигнал канала 340 ACK может вновь исследоваться для определения, может ли сообщение ACK быть обнаружено. Если все равно обнаруживают NAK, то предпринимают еще одну ретрансляцию пакета данных физического уровня сверх максимального разрешенного количества ретрансляций. Специалист в данной области техники должен признать, что ретрансляция может вовлекать множество временных слотов в зависимости от скорости передачи данных, которую требует подвижная станция, подобно исходной передаче. Перед попыткой дополнительной ретрансляции сообщение запроса скорости передачи данных может снова определяться на основании данных, принятых последний раз. Количество слотов, используемых при дополнительной ретрансляции, может отличаться, на основании данных, принятых последний раз.
Потоком данных между двумя конечными точками можно управлять через несколько уровней протокола. Примерный стек уровней 500 протокола для управления потоком данных между двумя конечными точками показан на фиг.5. Например, одной конечной точкой может быть источник, связанный с Интернетом через сеть 105. Другой конечной точкой может быть блок обработки данных, такой как компьютер, соединенный с подвижной станцией или интегрированный в подвижную станцию. Уровни 500 протокола могут иметь несколько других уровней, или каждый уровень может иметь несколько подуровней. Подробный стек уровней протокола не показан для упрощения. Стек уровней 500 протокола может сопровождать поток данных при передаче данных от одной конечной точки в другую. На верхнем уровне уровень 501 TCP управляет пакетами 506 TCP. Пакеты 506 TCP могут генерироваться из намного большего сообщения/пакета данных прикладной программы. Данные прикладной программы могут разделять на несколько пакетов 506 TCP. Данные прикладной программы могут включать в себя данные текстовых сообщений, видеоданные, данные изображений или речевые данные. Размер пакетов 506 TCP может отличаться в разное время. На уровне 502 протокола маршрутизации в среде Интернет (IP) к пакетам 506 TCP добавляют заголовок для создания пакета 507 данных. Заголовок может включать в себя среди других полей адрес получателя для надлежащей маршрутизации пакетов в соответствующий узел-адресат. На уровне 503 протокола двухточечной передачи («точка-точка») (PPP) к пакету данных 507 добавляют данные заголовка и хвостовые данные (данные завершителя) (трейлера) PPP для создания пакета 508 данных. Данные PPP могут идентифицировать адреса прямого соединения для надлежащей маршрутизации пакета данных от исходной точки подключения до точки подключения адресата. Уровень 503 PPP может передавать данные для более одного протокола уровня TCP, которые связаны с различными портами.
Уровень 504 протокола линии радиосвязи (RLP) обеспечивает механизм для ретрансляции и восстановления стертых пакетов данных по каналу радиосвязи. Хотя TCP имеет схему ретрансляции для надежной передачи данных, интенсивность потерянных в канале радиосвязи пакетов данных может привести к плохой общей производительности TCP. Осуществление механизма RLP на нижнем уровне фактически снижает интенсивность потерянных пакетов TCP на уровне TCP. На уровне 504 RLP пакет 508 данных делят на несколько пакетов RLP в группе пакетов RLP 509A-N. Каждый пакет RLP группы пакетов RLP 509A-N обрабатывают независимо и назначают порядковый номер. Порядковый номер добавляют к данным в каждом пакете RLP для идентификации пакета RLP среди пакетов RLP в группе пакетов RLP 509A-N. Один или несколько из пакетов RLP в группе пакетов RLP 509A-N помещают в пакет 510 данных физического уровня. Физический уровень 505 управляет структурой канала, частотой, выходной мощностью и техническими требованиями модуляции для пакета 510 данных. Пакет 510 данных передают по каналу радиосвязи. Размер полезной информации пакета 510 данных может изменяться в зависимости от скорости передачи. Поэтому размер пакета 510 данных может изменяться время от времени на основании состояния канала и выбранной скорости передачи данных.
В адресате приема пакет 510 данных физического уровня принимают и обрабатывают. Канал 340 ACK может использоваться для подтверждения успеха/неудачи приема пакета 510 данных физического уровня, переданного от базовой станции в подвижную станцию. Если пакет 510 данных физического уровня принят без ошибки, то принятый пакет 510 передают на уровень 504 RLP. Уровень 504 RLP пытается повторно собрать пакеты RLP в группе пакетов RLP 509A-N из принятых пакетов данных. Для уменьшения вероятности искажения пакета, которое можно увидеть для TCP 501, уровень 504 RLP осуществляет механизм автоматического запроса ретрансляции (ARQ), запрашивая ретрансляцию для отсутствующих пакетов RLP. Протокол RLP ретранслирует группу пакетов RLP 509A-N для формирования завершенного пакета 508 PPP. Процесс может занять некоторое время для полного приема всех пакетов RLP в группе пакетов RLP 509A-N. Несколько пакетов 510 данных физического уровня могут потребоваться для полной передачи всех пакетов RLP в группе пакетов RLP 509A-N. Когда пакет данных RLP принимают не по порядку, уровень 504 RLP посылает сообщение отрицательного подтверждения (NAK) RLP в канале сигнализации в передающую базовую станцию. В ответ на это передающая базовая станция ретранслирует отсутствующий пакет данных RLP.
Обращаясь к фиг.6, таблица 600 показывает значение УСПД канала 305 УСПД, соответствующую ему скорость передачи данных и соответствующее максимальное количество разрешенных передач пакета данных физического уровня. Например, для значения УСПД 0x3 скорость передачи данных 153,6 кбит/с и соответствующее максимальное количество разрешенных передач – четыре временных слота. Передача пакета данных физического уровня может иметь раннее завершение или нормальное завершение. При раннем завершении пакет данных физического уровня правильно декодируют в приемнике, и источник передачи принимает сообщение ACK в канале 340 ACK, соответствующее принятому пакету данных физического уровня. При нормальном завершении передатчик уже использовал все разрешенные слоты передачи пакета данных физического уровня, не приняв соответствующего сообщения ACK в канале 340 ACK.
Обращаясь к фиг.7, раннее завершение и нормальное завершение передачи пакета данных физического уровня показаны для случая значения УСПД 0x3, соответствующего скорости передачи данных 153,6 кбит/с. Для раннего завершения передачи пакета данных физического уровня для случая значения УСПД 0x3, соответствующего скорости передачи данных 153,6 кбит/с, во временном слоте 702 до первой передачи пакета данных физического уровня значение УСПД принимают в канале 305 УСПД. Значение УСПД используется для определения скорости передачи данных и максимального количества разрешенных ретрансляций для пакета данных физического уровня. Во временном слоте «n» из временных слотов 701 может происходить первая передача пакета данных физического уровня. В течение следующих трех временных слотов «n+1, n+2 и n+3» передатчик ожидает приема ACK или NAK в канале 340 ACK. Временные слоты 703 показывают, что NAK принимают до временного слота «n+4». Первая ретрансляция пакета данных физического уровня происходит в течение временного слота «n+4». Передатчик ждет еще три временных слота для приема ACK или NAK в канале 340 ACK. Временные слоты 703 показывают, что NAK принимают до временного слота «n+8». Вторая ретрансляция пакета данных физического уровня происходит в течение временного слота «n+8». Для скорости передачи данных 153,6 кбит/с передатчику разрешают сделать еще одну передачу того же самого пакета данных физического уровня. Передатчик ждет еще три временных слота для приема сообщения ACK или NAK в канале 340 ACK. До временного слота «n+12» сообщение ACK принимают в канале 340 ACK. Поэтому передатчик делает раннее завершение передачи пакета данных физического уровня до исчерпания всех разрешенных слотов передачи. Временной слот «n+12» может использоваться для передачи другого пакета данных физического уровня.
Для нормального завершения передачи пакета данных физического уровня для случая значения УСПД 0x3, соответствующего скорости передачи данных 153,6 кбит/с, во временном слоте 802 до первой передачи пакета данных физического уровня значение УСПД принимают в канале 305 УСПД. Значение УСПД используется для определения скорости передачи данных и максимального количества разрешенных ретрансляций для пакета данных физического уровня. Во временном слоте «n» из временных слотов 801 может происходить первая передача пакета данных физического уровня. В течение следующих трех временных слотов, «n+1, n+2 и n+3», передатчик ожидает приема ACK или NAK в канале 340 ACK. Временные слоты 803 могут показать, что NAK принимают до временного слота «n+4». Первая ретрансляция пакета данных физического уровня происходит в течение временного слота «n+4». Передатчик ждет еще три временных слота для приема ACK или NAK в канале 340 ACK. Временные слоты 803 могут показать, что NAK принимают до временного слота «n+8». Вторая ретрансляция пакета данных физического уровня происходит в течение временного слота «n+8». Для скорости передачи данных 153,6 кбит/с передатчику разрешают сделать еще одну передачу того же самого пакета данных физического уровня. Передатчик ждет еще три временных слота для приема ACK или NAK в канале 340 ACK. До временного слота «n+12» сообщение NAK принимают в канале 340 ACK. Поэтому передатчик делает последнюю разрешенную передачу пакета данных физического уровня во временном слоте «n+12» и заканчивает нормальное завершение передачи пакета данных физического уровня после исчерпания всех разрешенных передач пакета данных физического уровня.
В общем случае передатчик не обязан контролировать канал 340 ACK для обнаружения, была ли последняя передача принята или успешно, или неудачно. Пакет физического уровня может быть не принят успешно в подвижной станции после нормального завершения. В этом случае сборка пакетов RLP данных на уровне RLP 504 не будет закончена. В результате уровень RLP 504 делает запрос о ретрансляции пакета RLP данных, посылая RLP сообщение сигнализации NAK. В соответствии с различными аспектами изобретения после нормального завершения передачи пакета данных физического уровня базовая станция может контролировать канал 340 ACK, и если NAK принят, то она может повторять декодирование предварительно принятого сигнала канала 340 ACK с откорректированными пороговыми значениями 401 и 402 ACK/NAK. Корректировку пороговых значений 401 и 402 ACK/NAK делают так, чтобы декодирование было смещено к обнаружению сообщения ACK. Такое смещение может создаваться с помощью обработки стирания как ACK, не изменяя уровень порогового значения NAK 402 относительно предварительно используемого уровня или выбирая совершенно другой порог.
В общем случае механизм ARQ через уровень RLP занимает некоторое время, которое включает в себя задержку прохождения сигнала туда и обратно (задержку полного обхода) между подвижной станцией и базовой станцией, а также задержки обработки. Обращаясь к фиг.8, поток 800 сообщений показывают для обеспечения примерного потока пакетов данных RLP. Пакеты RLP с порядковыми номерами от «01» до «07» посылают, например, от источника к адресату. Источником и адресатом могут быть, соответственно, или базовая станция и подвижная станция, или подвижная станция и базовая станция. На уровне 504 RLP накапливают пакеты RLP 509A-N для завершения пакета 508. Когда все пакеты RLP приняты, пакеты 509A-N RLP передают на более высокий уровень. На физическом уровне 505 передача пакета 510 данных физического уровня также включает в себя способ ARQ с помощью канала 340 ACK. Один или несколько пакетов RLP могут объединять в общую полезную информацию и посылать в одном пакете 510 данных физического уровня. В примерном потоке 800 сообщений пакет RLP, идентифицированный, например, как пакет RLP «03», не доходит до адресата. Неудача может произойти из-за множества факторов, которые включают в себя стирание в линии радиосвязи между источником и адресатом. В этом случае, возможно, произошло нормальное завершение передачи пакета данных физического уровня, который включает в себя пакет данных RLP «03». После того, как адресат принимает пакет RLP «04», уровень 504 RLP обнаруживает непоследовательность принятых пакетов RLP. Уровень 504 RLP посылает RLP сообщение NAK, идентифицирующее пакет RLP «03», как отсутствующий при передаче данных. Обработка обнаружения отсутствующего пакета RLP данных, распространение RLP сообщения NAK и последующая ретрансляция RLP могут занять некоторое время. Продолжительность этого времени может быть достаточно большой для того, чтобы разрешить одну быструю ретрансляцию пакета данных физического уровня сверх максимального разрешенного количества ретрансляций для более раннего восстановления. Если эта дополнительная ретрансляция в соответствии с различными аспектами изобретения будет успешной до передачи RLP сообщения NAK, то RLP сообщение NAK может не передаваться.
Если RLP сообщение NAK передано, в то же самое время уровень 504 RLP запускает таймер. Таймер считает время, прошедшее после посылки RLP сообщения NAK. Если таймер истекает, например, после 500 мс, до приема отсутствующего пакета RLP «03», то адресат 504 RLP может предположить, что ретрансляция отсутствующего пакета RLP закончилась неудачно. Когда отсутствующий пакет RLP «03» принят, таймер останавливается. Правильно принятые пакеты данных могут собираться в запоминающем устройстве для формирования группы пакетов данных. Поэтому обработка для обнаружения и ретрансляции отсутствующего пакета данных RLP может занять некоторое время. Продолжительность этого времени может быть достаточно длительной, чтобы разрешить еще одну ретрансляцию пакета данных физического уровня сверх максимального разрешенного количества ретрансляций. Если эта дополнительная ретрансляция в соответствии с различными аспектами изобретения будет успешной до истечения таймера, то таймер может остановиться из-за успешного приема ретрансляции пакета данных физического уровня. Возможно, что RLP сообщение NAK послали до дополнительной ретрансляции физического уровня, которое было успешно принято. В таком случае базовая станция может или выбрать игнорирование принятого RLP сообщения NAK, или она может выполнить ретрансляцию RLP отсутствующего пакета, который будет отброшен как дубликат в подвижной станции. Возможно, что дополнительная ретрансляция физического уровня может закончиться неудавшимся нормальным завершением. В этом случае обычный механизм ретрансляции RLP может обеспечить восстановление потерянного пакета.
Различные аспекты изобретения могут стать более очевидными при обращении к последовательности операций 900, показанной на фиг.9. На этапе 901 передатчик может определять значение УСПД для передачи пакета данных физического уровня. Значение УСПД может определяться с помощью декодирования канала 305 УСПД. На этапе 902 максимальное количество временных слотов, разрешенных для передачи пакета данных физического уровня, можно определить при обращении к таблице 600 на фиг.6. На этапе 903 передатчик может обнаруживать нормальное завершение передачи пакета данных физического уровня за максимальное количество разрешенных временных слотов без приема последующего ACK в канале 340 ACK. На этапе 905 пороговые значения 401 и 402 ACK и NAK могут корректироваться для смещения к обнаружению сообщения ACK. На этапе 906 ранее принятый сигнал канала 340 ACK повторно декодируют, используя откорректированные пороговые значения для определения бита в канале 340 ACK. Если повторное декодирование создает бит NAK, то на этапе 907 пакет данных физического уровня передает еще один цикл. Это дополнительный цикл передач включает в себя множество передач до максимального разрешенного количества слотов согласно таблице 600 на фиг.6 в зависимости от требуемого УСПД во время начала ретрансляции. В это время передатчик может определить новое значение УСПД, декодируя канал 305 УСПД для определения максимального количества слотов, разрешенных для передачи пакета данных физического уровня. Состояния канала, возможно, изменилось в течение этого процесса. Новый цикл передач может начаться после некоторой задержки. Задержка может быть необходима для предоставления возможности декорреляции состояния канала. Когда происходит декорреляция состояния канала, то выше вероятность, что передача физического пакета данных будет успешной. Новый цикл передач может происходить в соответствии с недавно принятым значением УСПД; таким образом, количество разрешенных ретрансляций может быть другим в этом цикле передач. На этапе 910 передают следующий пакет данных физического уровня. Последняя ретрансляция на этапе 907 может поступить и декодироваться в адресате правильно и может устранить необходимость в ретрансляции пакета данных RLP. Таким образом, задержанный ARQ (DARQ) на физическом уровне очень полезен для эффективной передачи данных. Корреляция канала просто означает, что если пакет стерт в слоте, то весьма вероятно, что он будет стерт снова, если его ретранслировать немедленно. Это создает особое беспокойство в состояниях медленного канала с замираниями. Поэтому необходимо по времени декоррелировать ретрансляцию от потерянной передачи. Это подразумевает, что ретрансляция должна произойти в самое раннее время, которое позволяет достаточную декорреляцию канала после потерянной передачи. Поэтому используется «задержанный ARQ (DARQ)». Изучение моделирования показывает, что задержка 10-20 мс достаточна, хотя также возможно, что другие периоды времени задержки удовлетворяют этим требованиям.
DARQ в соответствии с различными аспектами изобретения может привести к значительному увеличению производительности для пользователей с высокой пропускной способностью при некоторых состояниях трафика. Взаимодействие между уровнем TCP и нижними уровнями в системе может привести к значительной потере пропускной способности для некоторых пользователей при типичных (1%-ная вероятность искажения пакета (ВИП, PER)) условиях эксплуатации. Эта потеря может быть вызвана несколькими факторами. Потери в прямой линии связи, которые приводят к ретрансляции RLP, вызывают задержку получения сегмента TCP, который затрагивают эти потери, а также последующих сегментов TCP, которые были приняты, но не могли быть доставлены немедленно из-за требования последовательной доставки RLP. Это задержало бы генерацию ACK TCP в приемнике. Когда потерянный пакет восстанавливают в результате ретрансляции RLP, пачку пакетов доставляют к уровню TCP, который, в свою очередь, генерирует пачку ACK TCP, которая может временно создать перегрузку в обратной линии связи. Конечным результатом является то, что передатчик TCP может блокироваться по превышению времени ожидания, и таким образом вызывать ретрансляцию пакетов, которые были сразу успешно приняты. Кроме того, окно перегрузки в передатчике TCP уменьшается до его значения медленного начала (обычно один сегмент TCP) и может занять некоторое время для восстановления до того, как устойчивый поток пакетов может быть достигнут, что может привести к «зависанию» прямой линии связи.
Описанные выше проблемы могут быть облегчены в большой степени, если дополнительная ретрансляция физического уровня выполняется в прямой линии связи достаточно быстро в соответствии с различными аспектами изобретения. Дополнительная ретрансляция обеспечивает дополнительную устойчивость. Быстрота ретрансляции поможет сократить задержки, таким образом можно устранить блокировку по превышению времени ожидания передатчика TCP. Кроме того, быстрая ретрансляция уменьшает изменчивость задержки, которую замечает передатчик TCP, что может привести к улучшенной производительности. Существуют другие побочные продукты такой схемы, например, в случае, когда последний байт в передаче прямой линии связи потерян. Так как при этом не будут генерировать NAK от подвижной станции, базовая станция поддерживает таймер сброса для вызова принудительной ретрансляции. DARQ привел бы в этом случае к автоматической ретрансляции, и таймер сброса мог бы не потребоваться.
Различные аспекты изобретения могут использоваться при многих различных системных условиях, которые включают в себя условие высокой пропускной способности. Условие высокой пропускной способности существует, когда состояние канала очень благоприятно для низкого коэффициента ошибок связи и, возможно, существует мало пользователей в системе. Дополнительная ретрансляция может обеспечивать больше преимуществ для пользователей с высокой пропускной способностью, чем для пользователей с низкой пропускной способностью. Для пользователей с низкой пропускной способностью это может привести к появлению дополнительной служебной информации без какой-либо выгоды. Поэтому, чтобы добавить дополнительный уровень управления для различных аспектов изобретения, после этапа 903 и перед этапом 905 передатчик может определять пропускную способность пользователя, принимающего передачу данных. Если пропускная способность выше порогового значения пропускной способности, то процесс перемещается на этап 905 для подготовки к определению, может ли произойти одна дополнительная ретрансляция пакета данных физического уровня.
После нормального завершения передачи пакета данных физического уровня и до завершения дополнительной передачи пакета данных физического уровня уровень RLP 504 может запускаться и передавать RLP сообщение NAK. Если RLP сообщение NAK поступает вместе с индикацией ACK в канале 340 ACK для правильного приема дополнительной передачи, сделанной после нормального завершения, то RLP NAK может игнорироваться в соответствии с различными аспектами изобретения. Различные аспекты изобретения могут стать более очевидными при обращении к последовательности операций 1010, показанной на фиг.10. На этапе 1011 принимают ACK в канале 340 ACK. Данный ACK связан с пакетом данных физического уровня, ретранслируемым после неудавшегося нормального завершения первой передачи. На этапе 1012 может также приниматься сообщение RLP NAK. Сообщение RLP NAK может быть связано с пакетом данных RLP, который был включен в пакет данных физического уровня. Такое обнаружение может выполняться на этапе 1013. На этапе 1014 принятое сообщение RLP NAK может игнорироваться, и контроллер может рассматривать пакет данных RLP, как принятый правильно в адресате, на основании принятого бита ACK в канале 340 ACK. Подвижная станция может задерживать передачу сообщения RLP NAK после обнаружения, что последняя передача пакета данных физического уровня должна была произойти и пока не принимает последнюю передачу.
Фиг.11 показывает структурную схему приемника 1200, используемого для обработки и демодуляции принятого сигнала МДКР. Приемник 1200 может использоваться для декодирования информации в сигналах обратной и прямой линий связи. Принятые (Прн) выборки могут храниться в оперативной памяти (ОП) 1204. Принятые выборки генерируются с помощью системы 1290 радиочастоты/промежуточной частоты (РЧ/ПЧ) и антенной системы 1292. Система 1290 РЧ/ПЧ и антенная система 1292 могут включать в себя один или несколько компонентов для приема множественных сигналов и РЧ/ПЧ обработки принятых сигналов для того, чтобы воспользоваться преимуществом разнесения приема. Множественные принятые сигналы, распространяемые через различные пути распространения, могут быть от общего источника. Антенная система 1292 принимает сигналы РЧ и передает сигналы РЧ в систему 1290 РЧ/ПЧ. Система 1290 РЧ/ПЧ может быть любым обычным приемником РЧ/ПЧ. Принятые сигналы РЧ фильтруют, преобразуют с понижением частоты и оцифровывают для формирования принятых выборок в диапазоне основных частот. Выборки доставляют в демультиплексор (ДМП) 1202. Данные с выхода ДМП 1202 доставляют в блок 1206 поиска и элементы 1208 отвода. Блок 1210 управления соединяют с ними. Блок 1212 объединения соединяет декодер 1214 с элементами 1208 отвода. Система 1210 управления может быть микропроцессором, управляемым с помощью программного обеспечения, и может быть расположена в той же самой интегральной схеме или в отдельной интегральной схеме. Функция декодирования в декодере 1214 может выполняться в соответствии с алгоритмом турбодекодера или любым другим подходящим алгоритмом декодирования.
Во время работы принятые выборки доставляют в ДМП 1202. ДМП 1202 доставляет выборки в блок 1206 поиска и элементы 408 отвода. Система 1210 управления конфигурирует элементы 1208 канала приема для выполнения демодуляции и сжатия спектра принятого сигнала при различных смещениях времени на основании результатов поиска от блока 1206 поиска. Результаты демодуляции объединяют и передают в декодер 1214. Декодер 1214 декодирует данные и выводит декодированные данные. Сжатие спектра каналов выполняют, умножая принятые выборки на комплексное сопряжение ПШ последовательности и назначенной функции Уолша при одном временном предположении и фильтруя в цифровой форме результирующие выборки, часто с помощью схемы интегрирования и сумматора входов (не показана). Такая методика известна из предшествующего уровня техники. Приемник 1200 может использоваться в приемной части базовых станций 101 и 160 для обработки принятых сигналов обратной линии связи от подвижных станций, и в приемной части любой из подвижных станций для обработки принятых сигналов прямой линии связи.
Фиг.12 показывает структурную схему передатчика 1300 для передачи сигналов обратной и прямой линий связи. Данные канала для передачи вводят в модулятор 1301 для модуляции. Модуляция может выполняться согласно любому из общеизвестных методов модуляции, таких как квадратурная амплитудная модуляция (КАМ, QAM), фазовая манипуляция (ФМн, PSK) или ДФМн. Данные кодируют со скоростью передачи данных в модуляторе 1301. Скорость передачи данных могут выбирать с помощью селектора 1303 скорости передачи данных и уровня мощности. Выбор скорости передачи данных может быть основан на информации обратной связи, принимаемой от адресата приема. Адресат приема может быть подвижной станцией или базовой станцией. Информация обратной связи может включать в себя максимальную разрешенную скорость передачи данных. Максимальная разрешенная скорость передачи данных может определяться в соответствии с различными общеизвестными алгоритмами. Максимальная разрешенная скорость передачи данных очень часто основана на состоянии канала среди других рассмотренных факторов. Селектор 1303 скорости передачи данных и уровня мощности соответственно выбирает скорость передачи данных в модуляторе 1301. Выходной сигнал модулятора 1301 проходит через операцию расширения спектра сигнала и усиления в блоке 1302 для передачи от антенны 1304. Селектор 1303 скорости передачи данных и уровня мощности также выбирает уровень мощности для усиления уровня передаваемого сигнала в соответствии с информацией обратной связи. Комбинация выбранной скорости передачи данных и уровня мощности предоставляет возможность правильного декодирования переданных данных в адресате приема. Пилот-сигнал также генерируют в блоке 1307. Пилот-сигнал усиливают до соответствующего уровня в блоке 1307. Уровень мощности пилот-сигнала может соответствовать состоянию канала для адресата приема. Пилот-сигнал объединяют с сигналом канала в объединителе 1308. Объединенный сигнал может усиливаться в усилителе 1309 и передаваться от антенны 1304. Антенна 1304 может быть любой из множества комбинаций, которые включают в себя антенные решетки и конфигурации с множеством входов и множеством выходов.
Фиг.13 изображает общую схему системы приемопередатчика 1400, которая включает в себя приемник 1200 и передатчик 1300 для поддержания линии связи с адресатом. Приемопередатчик 1400 может быть встроен в подвижную станцию или в базовую станцию. Процессор 1401 может соединяться с приемником 1200 и передатчиком 1300 для обработки принятых и передаваемых данных. Различные аспекты приемника 1200 и передатчика 1300 могут быть общими, даже при том, что приемник 1200 и передатчик 1300 показаны отдельно. В одном аспекте приемник 1200 и передатчик 1300 могут совместно использовать общий гетеродин и общую антенную систему для РЧ/ПЧ приема и передачи. Передатчик 1300 принимает данные для передачи на входе 1405. Блок 1403 обработки передаваемых данных подготавливает данные к передаче в канале передачи. Принятые данные после декодирования в декодере 1214 принимают в процессоре 1401 на входе 1404. Принятые данные обрабатывают в блоке 1402 обработки принятых данных в процессоре 1401. Обработка принятых данных в общем случае включает в себя проверку наличия ошибок в принятых пакетах данных. Например, если принятый пакет данных имеет ошибку недопустимого уровня, то блок 1402 обработки принятых данных посылает команду блоку 1403 обработки передаваемых данных для выполнения запроса на ретрансляцию пакета данных. Запрос передают в канале передачи. Различные каналы, такие как канал 340 ACK, могут использоваться для процесса ретрансляции. Также система управления 1210 и процессор 1401 могут использоваться для выполнения различных аспектов изобретения, которые включают в себя различные этапы, описанные относительно последовательности операций 900. Блок 1480 хранения принятых данных может использоваться для хранения принятых пакетов данных. Различные операции процессора 1401 могут быть интегрированы в одном или множестве процессоров (блоков обработки данных). Приемопередатчик 1400 может быть связан с другим устройством. Приемопередатчик 1400 может быть неотъемлемой частью устройства. Устройство может быть компьютером или работать подобно компьютеру. Устройство может быть связано с сетью передачи данных, такой как Интернет. В случае, когда приемопередатчик 1400 встроен в базовую станцию, базовая станция через несколько соединений может соединяться с сетью, такой как Интернет.
Специалисты в данной области техники должны дополнительно признать, что различные показанные логические блоки, модули, схемы и этапы алгоритма, описанные в связи с раскрытыми вариантами осуществления, могут осуществляться как электронные аппаратные средства, программное обеспечение или их комбинации. Для того чтобы ясно показать эту взаимозаменяемость аппаратных средств и программного обеспечения, различные показанные компоненты, блоки, модули, схемы и этапы были описаны выше в общем случае с точки зрения их функциональных возможностей. Осуществлены ли такие функциональные возможности, как аппаратные средства или как программное обеспечение, зависит от конкретного применения и конструктивных ограничений, наложенных на всю систему. Специалисты в данной области техники могут осуществлять описанные функциональные возможности различным образом для каждого конкретного применения, но такие решения об осуществлении не должны интерпретироваться, как отход от объема настоящего изобретения.
Различные показанные логические блоки, модули и схемы, описанные в связи с раскрытыми вариантами осуществления, могут выполняться или осуществляться с помощью универсального процессора, процессора цифровой обработки сигналов (ПЦОС, DSP), специальной интегральной схемы (СпИС), программируемой пользователем вентильной матрицы (ППВМ, FPGA) или другого программируемого логического устройства, дискретной схемы или транзисторной логической схемы, дискретных аппаратных компонентов или любой их комбинации, которые предназначены для выполнения описанных функций. Универсальный процессор может быть микропроцессором, альтернативно, процессор может быть любым обычным процессором, контроллером, микроконтроллером или конечным автоматом. Процессор может также осуществляться как комбинация вычислительных устройств, например комбинация ПЦОС и микропроцессора, множество микропроцессоров, один или несколько микропроцессоров вместе с ядром ПЦОС, или любой другой такой конфигурацией.
Этапы способа или алгоритма, описанного в связи с раскрытыми вариантами осуществления, могут выполняться непосредственно в аппаратных средствах, в программном модуле, выполняемом процессором, или в их комбинации. Программный модуль может находиться в памяти ОП, флэш-памяти, памяти ПЗУ, памяти СППЗУ, памяти ЭСППЗУ, регистрах, на жестком диске, съемном диске, компакт-диске (CD-ROM) или любой другой форме носителя данных, известного из предшествующего уровня техники. Примерный носитель данных соединен с процессором так, чтобы процессор мог считывать информацию и записывать информацию на носитель данных. Альтернативно, носитель данных может быть неотъемлемой частью процессора. Процессор и носитель данных могут находиться в СпИС. СпИС может находиться в пользовательском терминале. Альтернативно процессор и носитель данных могут находиться как дискретные компоненты в пользовательском терминале.
Предыдущее описание предпочтительных вариантов осуществления обеспечивается для того, чтобы предоставить возможность любому специалисту в данной области техники изготовить или использовать настоящее изобретение. Различные модификации этих вариантов осуществления будут вполне очевидны специалистам в данной области техники и универсальные принципы, определенные в данной работе, могут применяться к другим вариантам осуществления без использования изобретательной способности. Таким образом, настоящее изобретение не ограничено показанными вариантами осуществления, но должно соответствовать самому широкому объему, совместимому с раскрытыми принципами и новыми признаками.
Формула изобретения
1. Способ эффективных передач данных для использования в системе связи, заключающийся в том, что устанавливают линию связи между исходным пользователем и пользователем-адресатом, обнаруживают потерю пакета данных, переданного между пользователями – исходным и адресатом, определяют пропускную способность указанной линии связи, ретранслируют потерянный пакет данных по меньшей мере еще один раз после указанного обнаружения на основании того, находится ли определенная пропускная способность выше порогового значения пропускной способности.
2. Способ по п.1, отличающийся тем, что при ретрансляции используют разнесение передачи.
3. Способ по п.1, отличающийся тем, что ретрансляцию осуществляют после исчерпания максимального количества разрешенных ретрансляций, и при этом максимальное количество разрешенных ретрансляций основано на скорости передачи данных между исходным пользователем и пользователем-адресатом.
4. Устройство для эффективных передач данных, предназначенное для использования в системе связи, содержащее контроллер и систему приемопередатчика, сконфигурированные для установления линии связи между исходным пользователем и пользователем-адресатом, причем контроллер дополнительно сконфигурирован для обнаружения потери пакета данных, переданного между пользователями – исходным и адресатом, и для определения пропускной способности указанной линии связи, а система приемопередатчика дополнительно сконфигурирована для ретрансляции потерянного пакета данных по меньшей мере еще один раз после указанного обнаружения на основании того, находится ли определенная пропускная способность выше порогового значения пропускной способности.
5. Устройство по п.4, отличающееся тем, что линия связи представляет собой прямую линию связи от исходного пользователя к пользователю-адресату, и при этом пользователь-адресат представляет собой подвижную станцию в системе связи.
6. Устройство по п.4, отличающееся тем, что система приемопередатчика дополнительно сконфигурирована для разнесения передачи и приема указанной ретрансляции потерянного пакета данных.
7. Устройство по п.4, отличающееся тем, что указанная ретрансляция происходит после исчерпания максимального количества разрешенных ретрансляций, и при этом максимальное количество разрешенных ретрансляций основано на скорости передачи данных между исходным пользователем и пользователем-адресатом.
8. Способ эффективных передач данных в системе связи, заключающийся в том, что устанавливают линию связи между исходным пользователем и пользователем-адресатом, обнаруживают на основании декодирования канала подтверждения потерю пакета данных, переданного между пользователями – исходным и адресатом после исчерпания максимального количества разрешенных ретрансляций указанного пакета данных, корректируют пороговые значения декодирования канала подтверждения и повторяют декодирование канала подтверждения, определяют ретрансляцию указанного пакета данных по меньшей мере еще один раз на основании декодирования канала подтверждения с указанными откорректированными пороговыми значениями.
9. Способ по п.8, отличающийся тем, что указанную корректировку смещают для декодирования сообщения положительного подтверждения.
10. Способ по п.8, отличающийся тем, что максимальное количество разрешенных ретрансляций основано на скорости передачи данных между исходным пользователем и пользователем-адресатом.
11. Устройство для эффективных передач данных в системе связи, содержащее систему контроллера и систему приемопередатчика, сконфигурированные для установления линии связи между исходным пользователем и пользователем-адресатом для обнаружения на основании декодирования канала подтверждения потери пакета данных, переданного между пользователями – исходным и адресатом, после исчерпания максимального количества разрешенных ретрансляций указанного пакета данных, для корректировки пороговых значений декодирования канала подтверждения и повторения декодирования указанного канала подтверждения, для определения ретрансляции указанного пакета данных по меньшей мере еще один раз, на основании декодирования канала подтверждения с указанными откорректированными пороговыми значениями.
12. Устройство по п.11, отличающееся тем, что указанная корректировка смещена для декодирования сообщения положительного подтверждения.
13. Устройство по п.11, отличающееся тем, что максимальное количество разрешенных ретрансляций основано на скорости передачи данных между исходным пользователем и пользователем-адресатом.
14. Устройство по п.11, отличающееся тем, что система приемопередатчика дополнительно сконфигурирована для разнесения передачи и приема указанных ретрансляций потерянного пакета данных.
15. Способ эффективных передач данных для использования в системе связи, заключающийся в том, что определяют значение управления скоростью передачи данных (УСПД) для передачи пакета данных физического уровня от базовой станции к подвижной станции, определяют максимальное количество временных слотов, разрешенных для передачи пакета данных физического уровня, обнаруживают нормальное завершение передачи пакета данных физического уровня за максимальное количество временных слотов без приема по каналу подтверждения в базовой станции подтверждения правильного приема пакета данных физического уровня в подвижной станции, корректируют пороговые значения декодирования для декодирования канала подтверждения для смещения обнаружения сообщения положительного подтверждения с большей вероятностью, чем обнаружение сообщения отрицательного подтверждения, повторяют декодирование канала подтверждения с откорректированными пороговыми значениями декодирования, ретранслируют пакет данных физического уровня по меньшей мере еще один раз после обнаружения нормального завершения передачи на основании того, производит ли повторное декодирование канала подтверждения сообщение отрицательного подтверждения.
16. Способ по п.15, отличающийся тем, что дополнительно задерживают ретрансляцию пакета данных физического уровня для предоставления возможности декорреляции канала между подвижной станцией и базовой станцией.
17. Способ по п.15, отличающийся тем, что дополнительно определяют новое значение УСПД и определяют новое максимальное количество слотов передачи на основании нового значения УСПД и ограничивают ретрансляцию пакета данных физического уровня до нового максимального количества слотов передачи.
18. Способ по п.15, отличающийся тем, что дополнительно определяют пропускную способность передач между базовой станцией и подвижной станцией, причем указанная ретрансляция основана на том, превышает ли определенная пропускная способность пороговое значение пропускной способности.
19. Способ по п.15, отличающийся тем, что дополнительно обнаруживают положительное подтверждение приема пакета данных физического уровня после ретрансляции пакета данных физического уровня по меньшей мере еще один раз после обнаружения нормального завершения передачи, принимают отрицательное подтверждение уровня протокола линии радиосвязи для неудачного приема пакета данных уровня протокола линии радиосвязи, обнаруживают пакет данных уровня протокола линии радиосвязи, который включен в пакет данных физического уровня, игнорируют принятое отрицательное подтверждение уровня протокола линии радиолинии и рассматривают пакет данных уровня протокола линии радиосвязи, как правильно принятый.
20. Способ по п.15, отличающийся тем, что дополнительно обнаруживают положительное подтверждение приема пакета данных физического уровня после ретрансляции пакета данных физического уровня по меньшей мере еще один раз после обнаружения нормального завершения передачи, задерживают передачу отрицательного подтверждения уровня протокола линии радиосвязи для неудачного приема пакета данных уровня протокола линии радиосвязи для предоставления времени для указанного обнаружения.
21. Устройство для эффективных передач данных, предназначенное для использования в системе связи, содержащее систему управления и приемопередатчика, сконфигурированную для определения значения управления скоростью передачи данных (УСПД) для передачи пакета данных физического уровня от базовой станции в подвижную станцию для определения максимального количества временных слотов, разрешенных для передачи пакета данных физического уровня, для обнаружения нормального завершения передачи пакета данных физического уровня за максимальное количество временных слотов без приема по каналу подтверждения в базовой станции подтверждения правильного приема пакета данных физического уровня в подвижной станции, для корректировки пороговых значений декодирования для декодирования канала подтверждения для смещения обнаружения сообщения положительного подтверждения с большей вероятностью, чем обнаружение сообщения отрицательного подтверждения, для повторного декодирования канала подтверждения с откорректированными пороговыми значениями декодирования и для ретрансляции пакета данных физического уровня по меньшей мере еще один раз после обнаружения нормального завершения передачи, на основании того, производит ли повторное декодирование канала подтверждения сообщение отрицательного подтверждения.
22. Устройство по п.21, отличающееся тем, что система управления и приемопередатчика дополнительно сконфигурирована для задержки ретрансляции пакета данных физического уровня для предоставления возможности декорреляции канала между подвижной станцией и базовой станцией.
23. Устройство по п.21, отличающееся тем, что система управления и приемопередатчика дополнительно сконфигурирована для определения нового значения УСПД и определения нового максимального количества слотов передачи на основании нового значения УСПД и для ограничения ретрансляции пакета данных физического уровня до максимального количества слотов передачи.
24. Устройство по п.21, отличающееся тем, что система управления и приемопередатчика дополнительно сконфигурирована для определения пропускной способности передач между базовой станцией и подвижной станцией, причем ретрансляция основана на том, превышает ли определенная пропускная способность пороговое значение пропускной способности.
25. Устройство по п.21, отличающееся тем, что система управления и приемопередатчика дополнительно сконфигурирована для обнаружения положительного подтверждения приема пакета данных физического уровня после ретрансляции пакета данных физического уровня по меньшей мере еще один раз после обнаружения нормального завершения передачи, для приема отрицательного подтверждение уровня протокола линии радиосвязи при неудачном приеме пакета данных уровня протокола линии радиосвязи, для обнаружения пакета данных уровня протокола линии радиосвязи, включенного в пакет данных физического уровня, и для игнорирования принятого отрицательного подтверждения уровня протокола линии радиосвязи и рассмотрения пакета данных уровня протокола линии радиосвязи, как правильно принятого.
26. Устройство по п.21, отличающееся тем, что система управления и приемопередатчика дополнительно сконфигурирована для обнаружения положительного подтверждения приема пакета данных физического уровня после ретрансляции пакета данных физического уровня по меньшей мере еще один раз после обнаружения нормального завершения передачи, и для задержки передачи отрицательного подтверждения уровня протокола линии радиосвязи при неудачном приеме пакета данных уровня протокола линии радиосвязи для предоставления времени для указанного обнаружения.
РИСУНКИ
|
|