|
|
(21), (22) Заявка: 2004135313/09, 30.04.2003
(24) Дата начала отсчета срока действия патента:
30.04.2003
(30) Конвенционный приоритет:
02.05.2002 SG 200202594-8
(43) Дата публикации заявки: 10.10.2005
(46) Опубликовано: 27.01.2008
(56) Список документов, цитированных в отчете о поиске:
WO 0065800 А1, 02.11.2000. RU 2150739 С2, 10.06.2000. ЕР 0886228 А1, 23.12.1998. GB 2330502 A1, 21.04.1999. WO 9858332 A1, 23.12.1998.
(85) Дата перевода заявки PCT на национальную фазу:
02.12.2004
(86) Заявка PCT:
EP 03/04564 (30.04.2003)
(87) Публикация PCT:
WO 03/094474 (13.11.2003)
Адрес для переписки:
101000, Москва, М.Златоустинский пер., 10, кв.15, “ЕВРОМАРКПАТ”, пат.пов. М.Б.Веселицкому
|
(72) Автор(ы):
НАНСИ Шекхар (SG), ЛИМ Ви Гек (SG), ЛАЙ Ках Шинь (SG), ЛИ Юнцзя (SG)
(73) Патентообладатель(и):
ГИЗЕКЕ УНД ДЕВРИЕНТ ГМБХ (DE)
|
(54) СПОСОБ ХРАНЕНИЯ СТРАНИЦ В ПАМЯТИ МОБИЛЬНОГО УСТРОЙСТВА (ВАРИАНТЫ) И МОБИЛЬНОЕ УСТРОЙСТВО ДЛЯ ЕГО ОСУЩЕСТВЛЕНИЯ
(57) Реферат:
Изобретение относится к области мобильной связи. Технический результат заключается в увеличении быстродействия при загрузке страниц. Сущность изобретения заключается в том, что мобильный телефон (МТ), имеющий дополнительный модуль, реализованный на SIM-карте МТ в виде внутреннего браузера (ВБ) с внутренним сайтом (ВС). Когда пользователь желает получить доступ к странице, такой как Интернет-страница на своем МТ, ВБ просматривает первый файл на ВС, чтобы найти идентификатор страницы и определить, возможен ли немедленный доступ к странице. Если это так, далее ВБ извлекает данные из второго файла, находящегося в другой области памяти ВС, и выводит их на дисплей. В то же время, если идентификатор страницы не обнаружен в файле ВС, ВБ просто сообщает об отрицательном результате, а браузер SIM-модуля, реализованный в SIM-карте, к этому моменту уже передает запрос страницы с целью извлечения страницы из сети Интернет. Пользователь МТ не определяет, должна ли быть сохранена какая-либо страница на ВС: вместо него это делает оператор мобильной связи или составитель страниц, который использует коды, записанные в содержимое WML-страницы. Оператор также может передавать на МТ страницы с принудительной рассылкой и сохранять, обновлять или удалять их из ВС без какого-либо вмешательства со стороны пользователя. 3 н. и 16 з.п. ф-лы, 10 ил.
Область техники, к которой относится изобретение
Настоящее изобретение относится к системам связи, мобильным устройствам для таких систем связи и способам хранения страниц на мобильном устройстве. В частности, изобретение связано с решением задач, которые могут рассматриваться как выполняемые средствами просмотра информации – т.н. браузерами, а также к загрузке информации по линии связи в мобильные устройства, такие как мобильные телефоны, карманные персональные компьютеры (КПК), портативные компьютеры и т.п.
Предпосылки создания изобретения
Известны технологии, позволяющие осуществлять передачу данных при помощи мобильных телефонов. В их число входит технология передачи коротких сообщений (SM) и технология предоставления общих услуг пакетной радиосвязи (GPRS), а в ближайшие годы, как ожидается, начнет в полном объеме действовать технология 3G. В настоящее время передачу данных можно осуществлять с использованием функциональности технологии WAP (Wireless Application Protocol – набор протоколов для беспроводных устройств), которая поддерживается на уровне мобильного телефона, либо при помощи браузера, который обычно встраивается в модуль идентификации абонента (SIM-модуль).
Содержимое вызванной страницы представляет собой текстовый код на языке WML и направляется по интерсети/интрасети в обратном направлении – в WIG-шлюз 4. Там оно компилируется, преобразуется в байт-код и через SMS-центр 3 поступает в телефон 1 и, в частности, браузер SIM-карты 2. На данном этапе находящийся в SIM-модуле браузер выполняет соответствующую страницу, что обычно подразумевает вывод страницы на дисплей телефона 1.
Аналогичные системы и способы используются и в других мобильных устройствах, которые не всегда имеют SIM-карту или аналогичную съемную карту (плату), но у которых иными способами предусмотрено соответствующий браузер, память, процессор и программное обеспечение.
Этим известным системам присущ ряд недостатков. Во-первых, они медленно действуют: каждая страница, комплект страниц или приложение должно загружаться из сетевого сервера 5 по отдельности. Затем каждый такой запрос должен конкурировать с запросами других пользователей, которые также одновременно ищут новые страницы и прочую информацию, и чем больше таких запросов поступает одновременно, тем медленнее система работает. Кроме того, недостатком является то, что при разработке всех подобных услуг для использования в SIM-картах или аналогичных средствах мобильного устройства должен использоваться протокол, называемый SIM Application Toolkit (SAT – набор приложений для SIM-модулей).
Задачей настоящего изобретения является по меньшей мере частичное решение одной или нескольких из рассмотренных выше проблем.
Раскрытие сущности изобретения
Объектом настоящего изобретения является способ хранения страниц данных в памяти мобильного устройства, реализуемый на этом мобильном устройстве. Предлагаемый способ заключается в том, что: принимают страницу, переданную по линии беспроводной связи; определяют, содержит ли принятая страница команду запоминания, согласно которой страница должна быть сохранена; и если установлено наличие указанной команды запоминания страницы, то принятую страницу запоминают.
В другом варианте предлагаемый способ хранения страниц данных в памяти мобильного устройства включает в себя вышеперечисленные операции первого варианта и дополнительно предусматривает передачу страницы, принимаемой мобильным устройством, по линии беспроводной связи.
Объектом настоящего изобретения также является мобильное устройство для использования в системе связи, содержащее: приемник для приема переданной страницы, средство определения того, содержит ли принятая страница команду запоминания страницы, согласно которой страница должна быть сохранена, и запоминающее средство для сохранения страницы в памяти, если установлено наличие указанной команды запоминания страницы.
Изобретение также позволяет создать систему связи для хранения страниц данных на мобильных устройствах, в которую входит описанное выше мобильное устройство, передающее средство для передачи на мобильное устройство страницы с определенным содержимым по линии беспроводной связи и подающее средство для подачи страниц в передающее средство для их передачи.
Во всех формах осуществления изобретения мобильное устройство может представлять собой мобильный телефон или иные соответствующие устройства типа карманных персональных компьютеров.
В частности, изобретение осуществимо в мобильном телефоне, имеющем дополнительный модуль, реализованный на SIM-карте телефона в виде внутреннего браузера с внутренним сайтом. Когда пользователь желает получить доступ к странице, такой как Интернет-страница, на своем мобильном телефоне, внутренний браузер просматривает на внутреннем сайте первый файл, чтобы найти идентификатор страницы и определить, возможен ли немедленный доступ к странице. Если да, то внутренний браузер извлекает данные из второго файла, находящегося на внутреннем сайте, и выполняет их для вывода на дисплей. В то же время, если идентификатор страницы на внутреннем сайте не найден, внутренний браузер просто выдает сообщение об отрицательном результате, а браузер SIM-модуля, находящийся на SIM-карте, на этом этапе передает запрос страницы с целью получения страницы из сети Интернет. Пользователь мобильного телефона не определяет, сохранять ли ту или иную страницу на внутреннем сайте: вместо него это делает оператор мобильной связи или составитель страниц, используя соответствующие коды, записанные в содержимое WML-страницы. Оператор также может передавать на мобильный телефон страницы с принудительной рассылкой и сохранять, обновлять или удалять их с внутреннего сайта без какого-либо вмешательства со стороны пользователя.
Краткое описание чертежей
Ниже настоящее изобретение рассматривается более подробно на примерах, не ограничивающих объем притязаний, со ссылкой на прилагаемые чертежи, на которых:
на фиг.1 схематически показаны известные операции просмотра информационных ресурсов,
на фиг.3 схематически иллюстрируется особенность изменения кэша согласно одному из вариантов изобретения,
на фиг.4 схематически показаны операции, выполняемые согласно настоящему изобретению при просмотре информационных ресурсов,
на фиг.5а и 5б схематически показаны особенности осуществления изобретения в его альтернативном варианте,
на фиг.6а и 6б схематически показан процесс обновления информации согласно альтернативному варианту изобретения,
на фиг.7 схематически показан альтернативный процесс обновления информации согласно настоящему изобретению, и
на фиг.8 схематически показано применение настоящего изобретения для создания динамических меню.
Описание изобретения
Далее настоящее изобретение описано на примере варианта, построенного на основе браузера SIM-модуля, установленного на SIM-карте. Вместе с тем, возможны многочисленные варианты осуществления изобретения, в которых не используется ни SIM-карта, ни устройство, имеющее подобную карту.
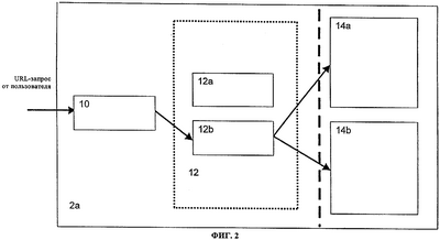
На фиг.2 и 3 схематически показана SIM-карта 2а согласно первой особенности настоящего изобретения. В обоих случаях на карте 2а имеются браузер 10 SIM-модуля, внутренний браузер 12 (DOMB) и внутренний сайт 14, связанные друг с другом в порядке их перечисления. Внутренний браузер 12 имеет два дополнительных (программных) модуля DOMBIN 12а и DOMBOUT 12b. На внутреннем сайте 14 находятся два элементарных файла EF 14а и EFbytecode 14b. В файле EFbytecode
Оба дополнительных модуля DOMBIN 12а и DOMBOUT 12b связаны с обоими элементарными файлами EF 14a и EFbytecode 14b.
14а из файла EFbytecode
В отношении описанного выше функционирование настоящего изобретения во многом аналогично тому, что можно ожидать от использования кэша. Однако особой отличительной особенностью изобретения является использование второго дополнительного модуля DOMBOUT 12a внутреннего браузера. Такой дополнительный модуль обычно не активизирован во время обычных операций просмотра, осуществляемых пользователем. Более того, в рассматриваемом первом варианте осуществления он и не может быть активизирован пользователем. Вместо этого, его активизирует оператор мобильной связи, то есть компания, предоставляющая услуги сети мобильной связи, или иной уполномоченный поставщик услуг.
14a и соответствующие данные из файла EFbytecode
14a, используя свободную область памяти, а содержимое страницы – в файле EFbytecode 14b, используя соответствующую свободную область памяти.
14a, остается без изменений. Данные же содержимого, хранящиеся в файле EFbytecode 14b, удаляются и заменяются новым содержимым, или контентом.
В проиллюстрированном варианте осуществления внутренний браузер 12 зависит от существующего браузера 10, работающего на SIM-карте 2а, и обеспечивает дополнительные функциональные возможности браузера 10. Это достигается за счет введения таких дополнительных функциональных возможностей посредством специальной программной процедуры (этап функционирования браузера, на котором возможна реализация дополнительной функции может быть посредством внешнего программного модуля), заложенной в браузер. В отсутствие такой программной процедуры разработчику внутреннего браузера 12 пришлось бы наращивать существующий браузер для обеспечения возможности выполнения такой программной процедуры. Этот дополнительный функциональный модуль (DOMBOUT 12b) сначала заставляет браузер 10 SIM-модуля проверить индексный файл EF 14a внутреннего сайта с целью определить, доступна ли запрошенная страница на внутреннем сайте. Если страница доступна, далее такая страница извлекается и хранится в буфере входящих сообщений SIM-карты 2а, а браузер 10 SIM-модуля рассматривает такую страницу как полученную верно. За счет этого резко сокращается время, необходимое для просмотра ресурсов в поиске определенных страниц.
Внутренний сайт 14 осуществляет диспетчеризацию страниц. Он обладает необходимыми функциями для добавления/удаления/обновления страниц при поступлении соответствующей команды, содержащейся во входящем сообщении. Страница, направленная в браузер 10 SIM-модуля, сначала перехватывается этим модулем. Он определяет, или проверяет, наличие во входящем сообщении какой-либо команды, входящей в пакет обычной страницы. В случае обнаружения такой команды, как “добавить/удалить/обновить”, команда выполняется, в результате чего достигается результат, предусмотренный командой. Данный модуль также отвечает за управление памятью, такое как дефрагментация и диспетчеризация индексного файла (с целью показать, какие страницы доступны на внутреннем сайте). Помимо того, что модуль поддерживает команды добавления, удаления и обновления, он также поддерживает ряд других команд, таких как очистка (удаление всех страниц из внутреннего сайта 14 и очистка индексного файла EF 14a), статистика (детали текущего состояния внутреннего сайта 14), подтверждение приема (генерирование отчета об успешном или неудачном результате выполнения команды).
Показанный выше вариант изобретения реализован посредством дополнительного программного обеспечения для существующей карты. Если же браузер уже имеется, то дополнительное аппаратное обеспечение не требуется.
В отличие от ситуации, которую можно ожидать при использовании обычного кэша, содержимое кэша в настоящем изобретении не обязательно определяется пользователем мобильного устройства. Здесь дело не просто в реализации алгоритма FIFO (“первым пришел – первым обслужен”), алгоритма FILO (“первым пришел – последним обслужен”) или алгоритма удаления наименее часто используемого ресурса. Вместо этого в данном варианте изобретения все содержимое кэша определяется оператором мобильной связи.
Как описано выше, изменения содержимого внутреннего сайта осуществляются только по воле оператора телефонной связи. Тем не менее, удаление, обновление или загрузка может быть инициирована в том случае, когда пользователь запрашивает определенную WML-страницу. Модуль DOMBIN имеет возможность возвращать результат такого запроса на удаление/обновление/загрузку.
На фиг.4 схематически показана система просмотра согласно настоящему изобретению. Такая система включает многие из компонентов показанной на фиг.1 известной системы просмотра ресурсов, нумерация которых сохранена. Однако в предлагаемой системе используется другая SIM-карта 2а, а также дополнительно включены центр 16 обслуживания внутренних браузеров, база WML-данных 18 оператора и шлюз 20, поддерживающий алгоритм STA (Spanning Tree Algorithm – алгоритм покрывающего дерева), далее называемый STA-шлюзом. STA-шлюз служит для оператора связи средством обслуживания запроса пользователя без использования WIG-сервера.
Затем STA-шлюз через SMS-центр 3 направляет извлеченное содержимое обратно в телефон 1 и SIM-карту 2а в формате байтового кода, понимаемом внутренним браузером. В отличие от WIG-шлюза, STA-шлюз не способен генерировать перемежающиеся операции (похожие меню). Как правило, в STA-шлюз поступают последние сообщения SMS с запросом какой-либо информации, которые затем возвращаются в формате, понимаемом или поддерживаемом внутренним браузером.
Оператор мобильной связи поддерживает центр 16 обслуживания внутренних браузеров. Это необходимо в том случае, когда оператор имеет лишь STA-шлюз, а также в иных ситуациях, когда WIG-шлюз оператору недоступен. Центр 16 обслуживания представляет собой еще одну сервисную программу, в которой хранятся все возможные WML-страницы/байт-кодовые страницы. Он позволяет оператору удалять/обновлять/загружать страницы на внутренний сайт мобильного устройства, обходясь без WIG-шлюза.
Соответствующий трафик между SIM-картой 2а и центром 16 обслуживания является однонаправленным – от центра 16 обслуживания к SIM-карте 2а.
Во всех описанных случаях способ выполнения страниц на телефоне, независимо от того, переданы ли они из центра обслуживания или через WIG-шлюз, зависит от содержимого страниц и, в частности, от наличия (или отсутствия) трех дополнительных модулей параметров: модуля Р1 (команды типа добавить/удалить), модуля Р2 (выполнить) и модуля Р3 (подтвердить). Если разработчик WML-страницы желает выдать внутреннему браузеру 12 команду “добавить”, “обновить”, “удалить” или какие-либо иные команды вместе со страницей, он задает соответствующую команду в модуле Р1 параметров на странице, указывая, что страница предназначена дополнительному модулю DOMBIN 12а на SIM-карте 2а и что он должен выполнить указанную команду. Кроме того, если указан модуль Р2 параметров, это означает, что до выполнения команды “добавить” или “удалить” должен быть выполнен сам код страницы. Модуль Р3 служит для сервера средством получения от внутреннего браузера подтверждения, в котором указано, была ли команда выполнена в модуле Р1 успешно, или были проблемы. Также предусмотрены дополнительные модули, позволяющие пользоваться динамическими меню, причем такие меню загружаются в соответствии с персональной конфигурацией пользователя.
Несмотря на то, что выше описаны три параметра, их число и функции могут меняться.
В описанном выше варианте страницы, которые должен выполнять внутренний браузер 12, поступают непосредственно от оператора, в частности, из центра 16 обслуживания внутренних браузеров. Далее описан другой вариант осуществления, в котором внутренний браузер 12 выполняет страницы, поступающие из иных источников.
На фиг.5а и 5б схематически показано, как действует альтернативный вариант осуществления, в котором страницы поступают из центра 3 службы коротких сообщений в дополнительный модуль DOMBIN 12a на SIM-карте 2а.
В то же время на фиг.5б показан случай, когда страница 0 уже хранится в кэше 14 внутреннего браузера, в частности, поскольку к ней ранее был предоставлен доступ и она была добавлена, т.е. сохранена, способом, проиллюстрированным на фиг.5а (посредством дополнительного программного модуля Р1 параметров). Показанные на фиг.5б шаги S1 и S2 аналогичны соответствующим шагам, проиллюстрированным на фиг.5а. Однако поскольку на шаге S2 получен ответ “да”, страница 0 может быть немедленно извлечена из кэша 14 внутреннего браузера, а именно, из файла EFbytecode 14b и отображена, как и ранее, на шаге S6. Осуществляемые затем шаги S7, S8 и S9 аналогичны осуществляемым ранее соответствующим шагам.
Дальнейшее функционирование изобретения в рассматриваемом варианте описано также со ссылкой на фиг.6а и 6б.
Страница 1 PG1 содержит два дополнительных модуля параметров: модуль Р1 (добавить) и Р2 (выполнить), а также два пункта меню, и находится в ожидании ввода пользователя. После извлечения страницы 1 и ее передачи в SIM-карту 2а она отображается на экране телефона в виде страницы 208 вместе с двумя пунктами меню “запрос остатка” и “оплата счета”. С этого момента выполнение процедуры продолжается. До этого момента она лишь незначительно отличалась от процедур, осуществляемых в известных системах, в том, что касается запроса и загрузки данных. Однако в случае выбора пункта меню “услуги банка” при очередном отображении страницы 204 страницу 1 не потребуется искать в интерсети и загружать. Вместо этого она будет найдена дополнительным модулем DOMBOUT 12b и быстрее выведена на дисплей.
С другой стороны, на фиг.6б показано, что происходит при обновлении страницы 1. В данном случае запрос 200 не отличается от запроса, ранее показанного на фиг.6а. Тем не менее, находящаяся в интерсети страница 202а (содержимое страницы 0) была изменена, в результате чего при выборе первого пункта меню происходит переход к странице 10, а не странице 1.
Несколько отличается и выводимое на дисплей содержимое страницы 10. Первым пунктом меню теперь является “оплата картой Visa”, а не “запрос остатка”, как на странице 1. Пункт “оплата картой Visa” ведет к другой странице В11, несмотря на то, что пункт “оплата счета”, который по-прежнему остается на странице 10, ведет к той же странице В2, что и в случае страницы 1. После извлечения и загрузки страницы 10 в SIM-карту выполняются различные команды, в результате чего отображается новая страница 212. В будущем в случае повторного выбора пункта “услуги банка” на отображаемой странице 204 система непосредственно перейдет к отображению страницы 212, минуя переход к странице 10 PG10.
На фиг.6б проиллюстрирована процедура обновления с преобразованием страницы 1 на внутреннем сайте в страницу 10, которую осуществляет пользователь мобильной связью. На фиг.7 схематически проиллюстрирован альтернативный вариант, в котором обновление принудительно осуществляет внутренний браузер. В данном случае именно оператор мобильной связи извлекает страницу 10 из центра обслуживания внутренних браузеров или из WIG-шлюза и передает ее на мобильный телефон. Результат аналогичен показанному на фиг.7. Страница удаляется из кэша внутреннего браузера, и вместо нее сохраняется страница 10. Однако, поскольку на этот момент пользователь не запустил конкретное приложение, выполнение страницы 10 не происходит немедленно.
В некоторых из описанных вариантов осуществления решение обновить кэш-память 14 внутреннего браузера может принимать разработчик WML-страницы. Тем не менее, команды обновления следует использовать осторожно, иначе кэш-память заполнится слишком быстро. Предпочтительно, чтобы такое решение оставалось за оператором, который устанавливает критерии для принятия решения о загрузке страницы.
Существует возможность того, что в результате частой загрузки и удаления из браузера 10 SIM-модуля байт-кодов, относящихся к WML-страницам, произойдет фрагментация памяти в файле EFbytecode 14b. В связи с этим в дополнительном варианте осуществления браузер 10 SIM-модуля имеет механизм дефрагментации памяти. Он приводится в действие автоматически в качестве стандартной функции внутреннего браузера, однако возможны и другие варианты.
Вкратце отличительные особенности настоящего изобретения можно сформулировать следующим образом:
3. Система позволяет оператору по линии беспроводной связи инициировать в рамках одной WML-страницы загрузку, или подкачку, новых приложений, отдельных страниц или пачек страниц, т.е. последовательностей страниц.
4. Система позволяет оператору по линии мобильной связи инициировать обновление существующих кэшированных приложений, отдельных страниц или пачек страниц.
5. Система позволяет оператору по линии мобильной связи инициировать удаление существующих кэшированных приложений, отдельных страниц или пачек страниц.
Механизм кэширования, предоставляемый технологией внутреннего браузера, позволяет постоянно хранить информацию, к которой часто осуществляется доступ, в самой карте 2а мобильного устройства, что экономит время и ширину пропускания канала, необходимые для доступа к удаленным страницам. Это крайне полезно, поскольку не требуется использовать линии беспроводной связи, чтобы осуществлять избыточное и дорогостоящее извлечение информации, которая не была изменена.
Кроме того, настоящее изобретение отличается простотой применения и обслуживания пользователя, а также технического обслуживания. В отличие от существующей методики SAT, технология внутреннего браузера позволяет оператору в дистанционном режиме и неагрессивными методами, не требующими вмешательства со стороны пользователя, управлять существующими приложениями на SIM-карте абонента и поддерживать их. В том числе возможно обновление, удаление и подкачка новых приложений по линиям беспроводной связи. В этом заключается принципиальное отличие от существующего положения вещей, когда для загрузки в карту новых приложений требуется устанавливать постоянное соединение. Такая гибкость очень важна, поскольку экономит средства, время и ресурсы и является более привлекательной для пользователей мобильными устройствами.
Кроме того, поскольку технология внутреннего браузера является лишь расширением существующей технологии браузера SIM, в ней может применяться значительная часть существующей технологии и интерфейсов.
В изобретении определено средство обеспечения значимой дополнительной функциональности, позволяющей операторам, предоставляющим услуги, осуществлять подкачку часто используемых или требуемых пользователем услуг, в частности, в SIM-карту и, по существу, управлять предоставлением различных услуг множеству пользователей. В прошлом для разработки таких услуг использовали комплект прикладных инструментальных средств SIM. Преимущество таких услуг является их очень высокая скорость. Тем не менее, их очень сложно изменять или обновлять по линиям связи. А при наличии нескольких сот тысяч пользователей это является практически невыполнимой задачей.
Технология браузера принесла с собой новый подход к управлению информацией. По сути, был создан браузер, основанный на комплекте прикладных инструментальных средств SIM, который не нужно изменять, так как вся логика оказания услуг возложена на серверы баз данных. Это дает преимущество, заключающееся в возможности изменять логику оказания услуг и легко обеспечивать предоставление новых услуг всем пользователям без необходимости вносить какие-либо изменения в SIM-карту. Тем не менее, недостатком данной операции является то, что она становится медленной (иногда до степени неприемлемости), поскольку браузер должен несколько раз связываться с сервером базы данных относительно логики оказания конкретной услуги (того, что делать дальше). Предлагаемая же технология внутреннего браузера вобрала в себя все лучшее обеих технологий и обеспечивает быстроту оказания услуг и возможность их обновления.
Несмотря на то что в описании изложены лишь некоторые типовые особенности изобретения, можно легко предположить множество других особенностей, не выходящих за объем изобретения, охарактеризованного в приложенной формуле изобретения.
Формула изобретения
1. Способ хранения страниц данных в памяти мобильного устройства, реализуемый на модуле идентификации абонента в этом мобильном устройстве и заключающийся в том, что
принимают страницу, переданную по линии беспроводной связи,
определяют, содержит ли принятая страница команду запоминания, согласно которой страница должна быть сохранена, и
если установлено наличие указанной команды запоминания, то принятую страницу запоминают,
причем при определении наличия команды запоминания устанавливают, является ли команда запоминания страницы командой обновления сохраненной страницы, и если команда запоминания страницы является командой обновления сохраненной страницы, то при запоминании страницы содержимое ранее сохраненной страницы заменяют содержимым принятой страницы,
поступившую страницу принимают вместе с идентификатором страницы, а при запоминании страницы указанный идентификатор страницы сохраняют отдельно от страницы,
при замене содержимого страницы идентификатор ранее сохраненной страницы не заменяют, и
определяют, содержит ли принятая страница команду выполнения страницы, согласно которой страница должна быть выполнена, и выполняют страницу, если установлено наличие команды выполнения страницы, а также
определяют, содержит ли принятая страница команду удаления, указывающую ранее сохраненную страницу, которая подлежит удалению, и удаляют указанную страницу из памяти, если установлено наличие команды удаления.
2. Способ по п.1, в котором дополнительно в результате ввода пользователем информации выдают запрос определенной страницы, определяют, хранится ли запрошенная страница в памяти, и извлекают запрошенную страницу из памяти, если установлено, что она уже хранится в памяти, или по линии беспроводной связи передают запрос указанной страницы, если установлено, что она в памяти не хранится.
3. Способ по п.2, в котором при определении того, хранится ли запрошенная страница в памяти, определяют, сохранен ли идентификатор запрошенной страницы, и если установлено, что идентификатор запрошенной страницы не хранится в памяти, выдают сообщение о том, что запрошенная страница в памяти не хранится, без поиска содержимого запрошенной страницы на мобильном устройстве.
4. Способ по любому из пп.1-3, в котором мобильным устройством является мобильный телефон.
5. Способ хранения страниц данных в памяти мобильного устройства, включающий операции способа по любому из предшествующих пунктов и предусматривающий передачу страницы, которую должно получить мобильное устройство, по линии беспроводной связи.
6. Способ по п.5, в котором страницу передают вместе с идентификатором страницы.
7. Способ по п.5 или 6, в котором перед передачей страницы ее дополнительно извлекают из базы данных, например базы данных на сервере интерсети.
8. Мобильное устройство для использования в системе связи, содержащее приемник для приема переданной страницы, средство для определения того, содержит ли принятая страница команду запоминания страницы, согласно которой страница должна быть сохранена, и запоминающее средство для сохранения страницы в памяти, если установлено наличие указанной команды запоминания страницы, причем средство определения наличия команды запоминания имеет возможность определения того, является ли команда запоминания страницы командной обновления сохраненной страницы, а запоминающее средство имеет возможность замены содержимого ранее сохраненной страницы содержимым принятой страницы, если команда запоминания страницы является командной обновления сохраненной страницы, при этом средство определения наличия команды запоминания и запоминающее средство размещены в модуле идентификации абонента, запоминающее средство имеет возможность сохранения идентификатора страницы, принимаемого вместе со страницей, отдельно от нее, а при замене содержимого страницы не заменяет идентификатор ранее сохраненной страницы, средство определения наличия команды запоминания имеет возможность определения того, содержит ли принятая страница команду выполнения страницы, согласно которой страница должна быть выполнена, причем устройство содержит выполняющее средство для выполнения страницы, если установлено наличие команды выполнения страницы, и средство определения наличия команды запоминания имеет возможность определения того, содержит ли принятая страница команду удаления, указывающую ранее сохраненную страницу, которая подлежит удалению, а запоминающее средство дополнительно имеет возможность удаления из памяти указанной страницы, если установлено наличие команды удаления страницы.
9. Устройство по п.8, в котором запоминающее средство содержит по меньшей мере один накопитель, одна область которого используется для хранения идентификаторов страниц, а другая – для хранения содержимого страниц.
10. Устройство по п.8, в котором запоминающее средство имеет по меньшей мере два раздельных накопителя, один из которых используется для хранения идентификаторов страниц, а другой – для хранения содержимого страниц.
11. Устройство по п.9, в котором по меньшей мере один накопитель содержит кэш-память.
12. Устройство по п.10, в котором из указанных накопителей и один и другой содержат кэш-память.
13. Устройство по любому из пп.8-12, дополнительно содержащее средство выдачи запроса определенной страницы в результате ввода пользователем информации и передающее средство для передачи запроса указанной страницы по линии беспроводной связи, причем средство определения наличия команды запоминания имеет возможность определения того, хранится ли запрошенная страница в памяти, а запоминающее средство имеет возможность извлечения запрошенной страницы из памяти, если установлено, что она уже хранится в памяти.
14. Устройство по п.13, выполненное с возможностью передачи запроса страницы по линии беспроводной связи лишь в том случае, когда средством определения наличия команды запоминания установлено, что запрошенная страница не хранится в памяти.
15. Устройство по п.14, в котором при определении того, хранится ли запрошенная страница в памяти, средство определения наличия команды запоминания определяет, хранится ли в памяти идентификатор запрошенной страницы, и если установлено, что идентификатор запрошенной страницы в памяти не хранится, выдает сообщение о том, что запрошенная страница в памяти не хранится, не обращаясь к запоминающему средству за содержимым запрошенной страницы.
16. Устройство по любому из пп.8-12, в котором приемник выполнен с возможностью приема незатребованной страницы, переданной по линии беспроводной связи, а средство определения наличия команды запоминания и запоминающее средство имеют возможность обработки такой принятой страницы.
17. Устройство по п.16, в котором приемник, средство определения наличия команды запоминания и запоминающее средство имеют возможность автоматической обработки незатребованной переданной страницы без участия пользователя мобильного устройства.
18. Устройство по п.17, в котором средство определения наличия команды запоминания и запоминающее средство реализованы в браузере.
19. Устройство по любому из пп.8-12, в котором средство определения наличия команды запоминания и запоминающее средство установлены на SIM-карте.
РИСУНКИ
|
|