|
|
(21), (22) Заявка: 2004123793/09, 03.01.2003
(24) Дата начала отсчета срока действия патента:
03.01.2003
(30) Конвенционный приоритет:
04.01.2002 US 60/346,482
(43) Дата публикации заявки: 27.03.2005
(46) Опубликовано: 27.01.2008
(56) Список документов, цитированных в отчете о поиске:
RU 2145152 C1, 27.01.2000. RU 2142202 C1, 27.11.1999. US 6134215 А, 17.10.2000. WO 99/07090 А1, 11.02.1999. ЕР 0838105 А2, 29.04.1998.
(85) Дата перевода заявки PCT на национальную фазу:
04.08.2004
(86) Заявка PCT:
FI 03/00004 (03.01.2003)
(87) Публикация PCT:
WO 03/056742 (10.07.2003)
Адрес для переписки:
129010, Москва, ул. Б. Спасская, 25, стр.3, ООО “Юридическая фирма Городисский и Партнеры”, пат.пов. Ю.Д.Кузнецову, рег.№ 595
|
(72) Автор(ы):
ХОТТИНЕН Ари (FI), ТИРККОНЕН Олав (FI)
(73) Патентообладатель(и):
НОКИА КОРПОРЕЙШН (FI)
|
(54) ВЫСОКОСКОРОСТНАЯ ПЕРЕДАЧА В РЕЖИМЕ ПЕРЕДАЧИ И ПРИЕМА С РАЗНЕСЕНИЕМ
(57) Реферат:
Изобретение относится к беспроводной системе мобильной связи, в частности к способам и системам для передачи комплексных символов с использованием матрицы кода передачи, причем формируют матрицу кода передачи с использованием преобразованных ортогональных кодов таким образом, чтобы код был устойчив к статистическим характеристикам канала и эффективно работал как в каналах Рише, так и в (коррелированных) рэлеевских каналах. Кроме того, изобретение дает возможность высокоскоростной передачи символов с использованием нескольких передающих антенн и одной или нескольких приемных антенн. Технический результат – одновременно обеспечивает высокий порядок разнесения и высокую скорость передачи символов или данных. 6 н. и 35 з.п ф-лы, 3 ил.
Область техники, к которой относится изобретение
Настоящее изобретение относится к способам и системам для достижения в телекоммуникационной системе сочетания высокой скорости передачи данных и разнесения как пространственного, так и по времени и частоте.
Уровень техники
Передача сигналов в беспроводной системе связи часто происходит с замираниями, которые снижают достижимые значения пропускной способности и скорости передачи данных или достижимое качество обслуживания. Наличие в среде передачи препятствий приводит к многолучевому распространению сигнала, при этом эффективная мощность комбинированного принятого сигнала может снижаться и, в результате, существенно уменьшать емкость канала. Кроме того, движение передатчика относительно приемника или движение объектов в пространстве между передатчиком и приемником приводит к динамическому изменению замираний с течением времени и в пространстве.
Типичный способ противодействия замираниям в канале с замираниями заключается в реализации принципа разнесения в приемнике посредством применения многоэлементных приемных антенн. Многоэлементные приемные антенны часто характеризуются высокой стоимостью изготовления, что заставляло искать альтернативные решения. Разнесение при передаче является альтернативным решением, в соответствии с которым для передачи сигнала используют несколько передающих антенн. Оба данных метода предусматривают создание искусственных каналов с многолучевым распространением, в результате чего существенно снижается вероятность одновременно сбоя во всех каналах, и, следовательно, повышается качество принятого сигнала.
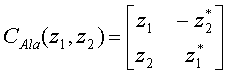
Описание одного из решений задачи разнесения при передаче приведено в патенте США № 6185258 Аламути (Alamouti) с соавторами, который включен в настоящую заявку путем ссылки. Приведенное ниже уравнение (1) дает матрицу СAla Аламути, в которой каждая строка соответствует передающей антенне или лучу, а каждый столбец соответствует периоду символа.
(1)
Схему Аламути называют матричным пространственно-временным блочным кодом типа 2×2, поскольку в данной схеме используют две передающих антенны или луча на протяжении двух периодов символов. Вместо варианта временного разделения с передачей разных столбцов на протяжении разных периодов символов, можно применить любой другой вариант, по существу, ортогонального разделения располагаемых ресурсов передачи, например, поднесущих разной частоты или Фурье-компонент/импульсов гармоник (пространственно-частотного кода), или различных (расширяющихся) кодов (пространственных кодов). Чтобы подчеркнуть указанное множество вариантов использования данной матрицы кода, коды вышеупомянутого типа следует обозначать термином «код разнесения передачи», который можно применить, если доступно пространственное измерение (антенна или пучок) вместе с любым, по существу, ортогональным разделением других ресурсов передачи, в том числе времени и полосы частот. Разнесение при передаче для кода Аламути равно двум в соответствии с патентом США № 6185258. Скорость передачи символов равна единице, так как два символа передаются в течение двух временных интервалов. Код, образованный в соответствии с уравнением (1), является ортогональным в том смысле, что, при перемножении данного кода с его эрмитовой транспозицией, он дает единичную матрицу измененного масштаба. Эрмитова транспозиция матрицы A, обозначаемая AH, является комплексно сопряженной транспозицией A. Транспозицию матрицы выводят обращением индексов строк и столбцов матрицы. Единичная матрица, обозначаемая «I», представляет собой матрицу, у которой каждый элемент на диагонали равен единице, а все остальные элементы равны нулю. В соответствии с вышеизложенным, для ортогональной матрицы A справедливо равенство AHA = AAH = kI при некотором действительном значении k. Ортогональность матрицы Аламути позволяет раздельно декодировать два символа таким образом, чтобы данные символы не создавали взаимных помех.
Разнесение при передаче по Аламути оптимизируют для каналов, в которых межсимвольные помехи (ISI) незначительны или отсутствуют. Межсимвольная помеха искажает принятый сигнал и ухудшает условия приема и тем самым снижает качество приема. Можно также использовать запаздывающие сигналы, называемые также многолучевыми компонентами с задержками. В системах множественного доступа с кодовым разделением каналов (МДКР, CDMA) можно, например, применить отдельный декодер блочного кода разнесения передачи для каждого многолучевого компонента и затем комбинировать выходные сигналы любым подходящим способом комбинирования разнесенных сигналов, включая, например, комбинирование по критерию равного усиления или комбинирование по критерию максимального отношения. В соответствии с другим вариантом, можно применить корректор для комбинирования многолучевых сигналов и, возможно, для одновременного подавления межсимвольных помех. Линдског и Полрэй предложили в работе Lindskog and Paulraj, A Transmit Diversity Scheme for Channels with Intersymbol Interference, Proc. IEEE ICC2000, 2000, vol. 1, p. 307-311 ортогональный блочный код разнесения передачи, который, в отличие от кода Аламути, эффективен для каналов с межсимвольными помехами. Указанная работа включена в настоящую заявку путем ссылки.
Недостатком ортогональных кодов разнесения передачи является ограничение скорости, как О. Тиркконен и А. Хоттинен сообщают в своей работе O. Tirkkonen and A. Hottinen, Complex space-time block codes for four Tx antennas, Proc. Globecom 2000, San Francisco, USA, Nov/Dec 2000, включенной в настоящую заявку путем ссылки. Например, максимальная скорость передачи символов для ортогонального кода разнесения передачи при четырех передающих антеннах или лучах равна 3/4. Если снижение скорости передачи нежелательно, то следует пожертвовать ортогональностью кода. Действительно, О. Тиркконен, А. Борю и А Хоттинен предлагают в работе O. Tirkkonen, A. Boariu, A.Hottinen, Minimal non-orthogonality space-time code for 3+ transmit antennas, Proc. IEEE ISSSTA 2000, September, NJ, USA, один из таких способов (например, код ABBA). Данный код предусматривает передачу сигнала с использованием матрицы кода разнесения передачи
(2)
Видно, что код состоит из подматриц кода Аламути. Вышеупомянутая работа включена в настоящую заявку путем ссылки. Вышеописанный код эффективно работает в канале с замираниями, но структурная неортогональность неизбежно приводит к потерям в коррелированных каналах или каналах Рише, в которых эффективнее действуют известные ортогональные коды разнесения передачи. Эффективность неортогональных кодов, проиллюстрированных уравнением (2), можно повысить применением возможно матрично-выраженных групповых вращений, рассмотренных О. Тиркконеном в работе O. Tirkkonen, Optimizing space-time block codes by constellation rotations, Finnish Wireless Communications Workshop, October 2001, которая включена в настоящую заявку путем ссылки. Принцип состоит в том, что, если символы в разных ортогонально кодированных блоках, например, в парах z1, z2 и z3, z4 уравнения (2), брать из разных групп, то эффективность кода существенно повышается. Данный принцип можно реализовать групповыми вращениями.
Более простой вариант формирования пространственно-временного кода с ограниченным разнесением предложен для систем с широкополосным множественным доступом с кодовым разделением каналов (МДКР,CDMA) (систем ШМДКР, WCDMA). Ортогональный код обозначен STTD-OTD в документе TSGR1#20(01)-0578 компании 3GPP, включенном в настоящую заявку путем ссылки. Код сочетает два кода Аламути таким образом, что скорость передачи символов равна единице (при четырех передающих антеннах), но при этом так, чтобы одна система использовала ограниченное разнесение другой. Матрица кода передачи имеет вид

При четырех антеннах порядок разнесения равен всего двум, при максимально возможном значении, равном четырем. Следует отметить, что вышеуказанный код STTD-OTD содержит два блока Аламути и может быть записан с использованием ранее приведенной матрицы Аламути, с изменением индексов в столбцах 2 и 3. В соответствии с другим вариантом, чтобы получить, по существу, такое же разнесение, как с кодом STTD-OTD, можно сочетать скачкообразную смену антенн с кодом Аламути, и, в данном случае, пространственно-временная матрица имеет вид
(3)
Из уравнения видно, что данная матрица содержит четыре символа и занимает четыре временных интервала, и поэтому скорость передачи символов равна единице, несмотря на то, что все символы не передаются всеми антеннами, что ограничивает достижимое разнесение значением два.
Блочные коды разнесения передачи разработаны также для параллельной высокоскоростной передачи по каналам с замираниями, как сообщают О. Тиркконен и А. Хоттинен в своей работе O. Tirkkonen and A.Hottinen, Improved MIMO transmission using non-orthogonal space-time block codes, Proc. Globecom 2001, Nov/Dec 2001, San Antonio, Texas, USA, включенной в настоящую заявку путем ссылки. В соответствии с данным способом, две передающие антенны и две приемных антенны эффективно используют, чтобы извлечь преимущества из разнесения как при передаче, так и при приеме и повысить скорость передачи данных или символов.
Рассматривались также концепции высокоскоростной передачи с пространственно-временным кодированием применительно к перспективным системам ШМДКР. Действительно, в документе Improved Double-STTD schemes using asymmetric modulation and antenna shuffling (TSGR1#20(01)-0459), подготовленном рабочей группой TSG-RAN Working Group 1 компании Texas Instruments в рамках Проекта партнерства третьего поколения (3GPP) (включенного в настоящую заявку путем ссылки), предлагалась параллельная передача кодов Аламути с использованием четырех передающих антенн и двух или четырех приемных антенн. Хотя данный способ в два раза повышает скорость передачи символов, он позволяет получить лишь ограниченный порядок разнесения, что ограничивает эффективность и фактически достижимые скорости передачи данных.
Сущность изобретения
Задачей вариантов осуществления настоящего изобретения является решение, по меньшей мере, одной из вышеупомянутых проблем.
В соответствии с настоящим изобретением, предлагается способ передачи комплексных символов с использованием матрицы передачи, заключающийся в том, что преобразуют поток комплексных символов, по меньшей мере, в два, по меньшей мере, частично различающихся потока комплексных символов, модулируют, по меньшей мере, два потока комплексных символов для формирования, по меньшей мере, двух матриц кодов, из которых, по меньшей мере, одна матрица имеет размер больше единицы, преобразуют упомянутые матрицы кодов с использованием линейных преобразований для формирования, по меньшей мере, двух преобразованных матриц кода разнесения передачи, формируют матрицу кода передачи с использованием, по меньшей мере, двух преобразованных матриц кодов разнесения передачи, и передают матрицу кода передачи, по меньшей мере, частично параллельно с использованием, по существу, ортогональных ресурсов передачи сигналов и, по меньшей мере, трех лучей от разных передающих антенн.
Еще одной задачей настоящего изобретения является создание способа и устройства для приема сигнала, при этом, данные способ и устройство содержат модуль оценки канала, который выдает оценки импульсных характеристик в луче от каждой передающей антенны к каждой приемной антенне, и модуль демодулирования, который использует структуру матрицы передачи, при этом упомянутая матрица содержит, по меньшей мере, одну линейную комбинацию двух матриц ортогональных пространственно-временных кодов или символов канала, и оценки импульсных характеристик каналов для вычисления битовых или символьных оценок для передаваемого сигнального потока или передаваемых сигнальных потоков.
Еще одной задачей настоящего изобретения является создание устройства для передачи комплексных символов с использованием матрицы передачи, при этом упомянутое устройство содержит средство преобразования для преобразования потока комплексных символов, по меньшей мере, в два, по меньшей мере, частично различающихся потока комплексных символов, средство модулирования для модулирования, по меньшей мере, двух упомянутых потоков комплексных символов для формирования, по меньшей мере, двух матриц кодов, из которых, по меньшей мере, одна матрица имеет размер больше единицы, средство преобразования для преобразования упомянутых матриц кодов с использованием линейных преобразований для формирования, по меньшей мере, двух преобразованных матриц кода разнесения передачи, средство формирования кода для формирования матрицы кода передачи с использованием, по меньшей мере, двух преобразованных матриц кодов разнесения передачи и средство передачи для передачи матрицы кода передачи, по меньшей мере, частично параллельно с использованием, по существу, ортогональных ресурсов передачи сигналов и, по меньшей мере, трех лучей от разных передающих антенн.
Другие задачи и характеристики настоящего изобретения очевидны из подробного описания, изложенного со ссылками на прилагаемые чертежи. Чертежи предназначены лишь для иллюстрации концепции изобретения и никаким образом не ограничивают применение изобретения, которое определяется прилагаемой формулой изобретения.
Краткое описание чертежей
На чертежах:
На фиг. 1 представлена типичная система разнесения передачи в соответствии с настоящим изобретением,
На фиг. 2 представлена типичная приемная система для предлагаемого способа высокоскоростной передачи,
На фиг. 3 представлена пара, состоящая из приемника и передатчика с многоэлементными антеннами, в соответствии с настоящим изобретением.
Подробное описание изобретения
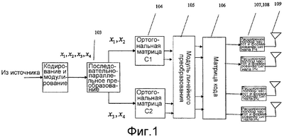
Как видно из фиг. 1, где изображена система системы высокоскоростной передачи с разнесением, которая содержит передающее устройство 101, например базовую станцию, и приемник 102, например мобильный телефон. Передающее устройство 101 содержит модуль 103 последовательно-параллельного преобразования (Пос/Пар, S/P), группу модулей 104 для модулирования передаваемого с разнесением сигнала и формирования ортогональных матриц, по меньшей, один модуль преобразования 105, модуль 106 формирования кода, модули 107 передачи сигнала и расширения полосы частот и группу радиочастотных (РЧ) модулей 108, которые преобразуют сигнал в аналоговый формат, и передающие антенны 109. Приемник 102 может содержать несколько приемных антенн.
Модуль Пос/Пар 103 преобразует канально кодированные (ENC) (например, кодированные с использованием турбо- или сверточных кодов) и модулированные (МОД, MOD) потоки комплексных символов, по меньшей мере, в два параллельных потока комплексных символов, в которых, по меньшей мере, некоторые комплексные символы различаются между собой. В модулях 104 два потока символов раздельно кодируются для разнесения передачи с использованием матриц C1 и C2 ортогональных кодов (разнесения передачи), при этом каждая матрица имеет произвольный размер и скорость передачи. Символы в матрицах C1 и C2 кодов (разнесения передачи) или сами матрицы кодов (разнесения передачи) смешиваются с использованием линейного преобразования U в модуле 105 и, в результате, образуют преобразованные матрицы X1 и X2 кодов разнесения передачи. Преобразованные матрицы X1 и X2 кодов служат для формирования матрицы кода передачи в модуле C, т.е. модуле 106 формирования кода. Матрица кода передачи передается посредством, по меньшей мере, трех передающих антенн или лучей, или пучков 109 с использованием любого, по существу, ортогонального метода передачи сигнала, например, можно использовать разные ортогональные коды (например, коды Адамара) или разные временные интервалы, или разные компоненты Фурье (сигналы стандарта ортогонального уплотнения с разделением частот (OFDM) и/или поднесущие), или разные частотные полосы. Если дополнительно применяют параллельную передачу, чтобы повысить скорость передачи символов, то модуль Пос/Пар может выдавать больше двух символьных потоков 110, подлежащих, в конечном счете, комбинированию с другими параллельными потоками или матрицами кодов в модуле 106 формирования кода.
Например, преобразованные матрицы кодов могут формироваться в модуле 105 преобразования в соответствии с выражением:
, (4)
в котором C1 и C2 представляют собой два ортогональных кода разнесения передачи, например, матрицы Аламути типа 2×2. Следует подчеркнуть, что для простоты не показано нормирование, выполняемое делением на с целью обеспечения искомой энергии символов.
Чтобы дополнительно повысить эффективность, символы в соответствующих ортогональных кодах C1, C2 разнесения передачи можно брать из разных алфавитов модулирования, в зависимости, например, от группового вращения. Данную операцию можно заложить в модуль 103, который выполняет последовательно-параллельное преобразование и может в более общем смысле считаться средством преобразования, преобразующим поток комплексных символов в несколько потоков комплексных символов. В соответствии с другим вариантом или дополнительно к вышеизложенному, можно обобщить функцию модуля 105 преобразования, чтобы матрицы передачи формировались с использованием унитарной матрицы преобразования U, по формуле
X=UC, (5)
где (в предположении выполнения преобразования только двух матриц кодов)
С= ,
а U, например, является матрицей вида
U=V I,
где V представляет собой унитарную матрицу, а I представляет собой единичную матрицу. Матрица V может принимать параметризованную форму
V= .
Произведение Кронекера, в сочетании с единичной матрицей, максимально увеличивает число нулевых элементов в матрице преобразования и тем самым уменьшает отношение пиковой и средней мощностей в передатчике и обеспечивает простоту реализации. Можно продолжить параметризацию
;

где обозначает отношение мощностей в линейно-комбинированной матрице, а обозначает фазу комплексного вектора. Простое преобразование (4) получают приравниваем = 1/2, =0.
Для простоты имеет смысл вернуться к специальному случаю, предусмотренному уравнением (4). Модуль 106 формирования кода получает преобразованные матрицы X1 и X2 кода разнесения передачи, создаваемые линейным комбинированием, и формирует матрицу кода передачи. Для этого модуль 106 формирования кода вставляет матрицы X1 и X2 в матрицу кода передачи с удваиванием размеров. Преобразованные матрицы кодов можно с целью достижения преимущества передавать в течение разных временных интервалов (режим ортогональной по времени передачи сигнала) с использованием четырех передающих антенн и матрицы кода передачи с разнесением при передаче вида
. (6)
В соответствии с другим вариантом, чтобы обеспечивать оптимальный баланс мощности, передачу можно осуществлять непрерывно с использованием, например, матрицы кода передачи с разнесением при передаче вида
. (7)
В приведенных матрицах кодов передачи допускают, например, перестановку столбцов и/или строк без снижения характеристик кодов. Матрицы кодов передачи можно также умножать слева и/или на постоянную матрицу.
Чтобы понять преимущества использования упомянутых линейных (унитарных) комбинаций, следует вспомнить, что принятый сигнал (для простоты, в канале с неглубоким замиранием) можно описать как y=Ch+n, где h обозначает вектор коэффициентов канала до данной приемной антенны. Если переставить символы в X1 и X2 и матрицу/вектор канала, то получается эквивалентная модель сигнала, y’=Hb+n’, где H зависит от матрицы кода и от канала, b обозначает вектор символа или бита, у которого разные измерения соответствуют разным передаваемым потокам символов или бит. Если символы модулируются методом квадратурной фазовой манипуляции (КФМН, QPSK) с обозначениями кодом Грея, то можно считать, что b содержит компоненты I и Q каждого символа, и тем самым удваивается число измерений вектора.
Принятая эквивалентная корреляционная матрица, которую можно использовать при демодулировании символов или битов, получается, когда принятый сигнал y’ обрабатывают пространственно-временным согласованным фильтром (т.е., комплексной транспонированной матрицей H), чтобы сформировать эквивалентную модель сигнала после обработки пространственно-временным согласованным фильтром z=Rb+n”, где R является эквивалентной корреляционной матрицей канала. Данную модель можно использовать в соответствующем приемнике, например, при оценке символов или битов посредством сведения к минимуму (относительно b)
,
возможно, в условиях окрашенного шума, либо, в соответствии с другим вариантом, можно получить прямое решение
,
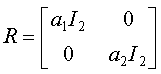
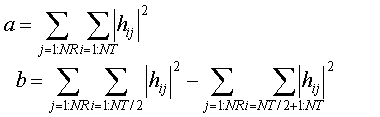
где, как и выше, H представляет собой эквивалентную матрицу канала, которая зависит от матрицы передачи. Демодуляторы, решающие данные уравнения, известны. Однако, чтобы прийти к данным моделям, требуется убедиться, что модель соответствует характеристикам вектора/матрицы канала и матрицы кода передачи. Например, при оценке символов или битов с использованием эквивалентной корреляционной матрицы канала, упомянутая матрица должна быть известной. Например, для кодов (6) и (7), при =1/2, =0 и при четырех передающих антеннах, в результате получают корреляционную матрицу кода, которая имеет структуру
, (8)
где
. (9)
Следовательно, вышеприведенный код не ортогонален, так как корреляционные значения недиагональных элементов не исчезают. Соответственно, когда =1, =0, (в данном специальном случае, матрица кода передачи сводится к известной матрице STTD-OTD)

где
.
Данный результат отражает тот факт, что разнесение при передаче у разных символов оказывается лишь частичным, тогда как в уравнениях (8)-(9) диагональные элементы являются идентичными, и, следовательно, все символы достигают одинаковой мощности, независимо от реализации канала. Эквивалентную корреляционную матрицу можно использовать при демодулировании символов или битов. Важно отметить, что корреляционная матрица кода в случае с предлагаемым кодом отличается от ранее известной (например, ABBA), поскольку первая в явной форме зависит от разностей мощности в каналах, а последняя зависит от комплексных фаз каналов. Данную особенность кода в соответствии с настоящим изобретением можно использовать для достижения преимущества, при повышении скоростей передачи данных или качества передачи передающей системы. В частности, предлагаемый настоящим изобретением код является ортогональным, если канал полностью коррелирован и коэффициент корреляции обычно уменьшается с повышением значений корреляции. Поэтому код подходит также для коррелированных каналов, которые можно описать, например, как коррелированные рэлеевские каналы или каналы Рише. И наоборот, известный неортогональный код (код ABBA) остается неортогональным в данных каналах. Корреляционные характеристики физического канала зависят от среды, однако широко известно, что значения корреляции антенны возрастают, если передающие или приемные антенны находятся близко друг к другу. При небольших размерах базовых станций и, особенно, небольших терминалах (мобильных станций), данный случай, видимо, станет обычным в будущем для беспроводных систем.
В итоге, можно утверждать, что общая матрица U линейного преобразования обеспечивает вышеупомянутое преобразование (4) и поддерживает известный код (обозначаемый STTD-OTD, с 4 передающими антеннами) как особый случай: Преобразование (4) получают при установке =1/2, =0, а код STTD-OTD получают при установке =1. Если 1/2 < <1, то код менее полезен для разнесения при передаче, поскольку диагональные значения корреляционной матрицы кода отличаются между собой больше, чем в уравнении (8). Преимущество состоит в том, что корреляционные значения для кода меньше по амплитуде. Это упрощает демодулирование в приемном устройстве. В предельном случае код сводится к ортогональному коду, подобному коду STTD-OTD, в том смысле, что корреляционные значения для кода (недиагональные значения корреляционной матрицы кода) равны нулю. Следует отметить, что корреляционная матрица предлагаемого кода также обеспечивает полезные свойства, если код используют в правильно скорректированных каналах с межсимвольными помехами; многолучевые компоненты ослабляют неортогональность кода. Для решения данной задачи, отдельные символы можно интерпретировать как векторы множества символов.
Следует отметить, что, если обе составляющие матрицы C1 и C2 являются матрицами Аламути, то у полученного кода скорость передачи символов равна, по меньшей мере, единице (по меньшей мере, четыре разных символа можно передать за четыре временные интервала). Концепцию передачи в соответствии с настоящим изобретением можно также использовать при повышении скорости передачи символов передающим устройством. В данном случае, несколько преобразованных матриц кода разнесения передачи передаются параллельно, а, в предпочтительном варианте, непрерывно, чтобы свести к минимуму флуктуации мощности в передатчике, т.е. чтобы свести к минимуму отношение пиковой и средней мощностей в усилителях мощности РЧ. В частности, вариант осуществления, предназначенный для достижения указанных преимуществ, заключается в том, чтобы пополнить антидиагональную составляющую вышеупомянутой матрицы TR-AHOP следующим образом
, (10)
где матрицы X3 и X4 сформированы аналогично с использованием линейных преобразований. Для достижения указанных преимуществ, линейные преобразования, используемые для формирования X3 и X4, отличаются от линейных преобразований, используемых для формирования X1 и X2. Например, алфавиты модулирования символов, используемых для формирования X3 и X4, могут отличаться от алфавитов модулирования символов, используемых для формирования X1 и X2. Фактически, формируются четыре параллельных потока комплексных символов, два потока преобразуются раздельно, и две преобразованные матрицы кода разнесения передачи передаются одновременно и непрерывно передающими устройствами так, что обе пары X1 и X2, а также X3 и X4 получают полностью преимущество разнесения и обычно взаимные помехи.
Изобретение совершенно не ограничено применением кода Аламути разнесенной передачи в качестве подматриц преобразованного кода. Обычно можно использовать любой ортогональный код разнесения передачи, заданный для любого числа передающих антенн. Все возможные матрицы ортогональных кодов разнесения передачи были сформированы в заявке на патент № WO/63826 A1, которая включена в настоящую заявку путем отсылки. Для примера, коды C1 и C2 могут представлять собой коды разнесения передачи со скоростью 3/4, причем каждый код задан для четырех передающих лучей или антенн, и тогда результирующий код задан для восьми передающих лучей или антенн при общей скорости передачи символов 3/4. Следовательно, скорость передачи повышается по сравнению с ортогональными кодами разнесения передачи, которые не способны обеспечить превышение скорости передачи 1/2 при использовании восьми антенн согласно известной информации в рассматриваемой технической области. В соответствии с другим вариантом, для кода C2 можно задать (в соответствии с тем, как предусмотрено в известных случаях) скорость передачи, равную, например, 1/2, при том, что скорость передачи для C1 равна 3/4, и тогда общая скорость передачи равна 5/8.
Таким образом, матрицы C1 и C2 пространственно-временных кодов не обязательно должны быть одинаковыми, чтобы допускать большое число различных скоростей передачи символов. Кроме того, данные матрицы не обязательно должны иметь идентичный размер. Следовательно, (если учесть, что размер кода зависит от числа антенн), применение кодов с разными размерами позволяет асимметрично разделить передающие элементы (антенны) между преобразованными кодами X1 и X2. Например, если C1 представляет собой код Аламути с размером два, а C2 представляет собой код со скоростью передачи 3/8 и размером четыре (Приложение 1, уравнение (4)), то получается предельная скорость передачи символов 7/8 при передаче через 6 антенн, при этом C2 задан выражением
, (11)
где С1′ и C2′ представляют собой два кода Аламути (по существу, матрицу кода STTD-OTD передачи с разнесением при передаче) сформированную с использованием двух разных символов. Если матрицы имеют неодинаковые размеры, то очевидно, что либо матрица меньшего размера приводится к каноническому виду пополнением нулями при преобразовании кодов, либо большая матрица «пробивается» (например, из нее удаляются столбцы), чтобы можно было использовать произвольное число передающих антенн, например 6 в вышеприведенном типичном случае.
На фиг. 2 представлен соответствующий приемник, содержащий одну или несколько приемных антенн, препроцессорные модули РЧ 201 и модули 202 сжатия полосы частот или разделения каналов, которые преобразуют сигнал к основной полосе частот, в пределах которой работают пространственно-временные согласованные фильтры и оценки каналов, формируемые в модуле 203, совместно с подходящим демодулирующим устройством 204, предназначенным для демодулирования символов или битов, вложенных в матрицу кода передачи. Модуль 203 оценки канала определяет комплексный коэффициент канала для каждой пары передающей и приемной антенн. В соответствии с предпочтительным вариантом осуществления, приемное устройство использует оценки каналов (и, возможно, также оценки отношений сигнала к шуму), чтобы построить эффективную корреляционную матрицу, обусловленную используемой матрицей преобразования. Подробный пример преобразования (4) представлен выше уравнениями (8) и (9). Демодулирующее устройство 204 может представлять собой любой декодер или объединенный модуль декодирования и оценки канала, например формирующий оценки по критерию минимальной среднеквадратической ошибки (MMSE) передаваемых символов или оценки по критерию максимального правдоподобия, например по алгоритму Витерби, или гибкие выходные данные (апостериорные вероятности) по оптимальному или приближающемуся к оптимальному алгоритму, использующему критерий максимума апостериорной вероятности (алгоритму MAP). Возможность объединенного демодулирования обеспечивается возможностями организации схемных соединений 206 обратной связи и прямой связи между выходными сигналами, вырабатываемыми модулями демодулирования, оценки канала и канального декодирования. В конечном счете, канальный декодер (например, турбодекодер) пересылает решения в другие приемные устройства или искомый приемник для конкретного источника. Вышеизложенные принципы построения приемника широко известны, однако, при применении в контексте настоящего изобретения, приемник может использовать кодовую структуру, используемую в передатчике, и, возможно также, корреляционную матрицу кода, аналогичную матрице, представленной, например, уравнением (8).
Выше элементы новизны настоящего изобретения представлены, описаны и выделены применительно к предпочтительным вариантам его осуществления, однако очевидно, что специалисты в данной области техники могут делать различные исключения и вносить замены и изменения по форме и в деталях описанных способов и представленных устройств, а также в порядок их работы, без выхода за пределы существа настоящего изобретения. Например, прямо предполагается, что способ можно использовать в сочетании с любым, по существу, ортогональным методом передачи сигналов, при передаче по каналу преобразованных матриц кодов разнесения передачи. Упомянутые методы включают в себя использование сигналов стандарта ортогонального уплотнения с разделением частот (OFDM), импульсов гармонических сигналов, времяортогональных сигналов, сигналов стандарта множественного доступа с частотным разделением (МДЧР, FDMA) и произвольных, по существу, ортогональных расширяющих кодов. Кроме того, комплексные символы, модулирующие элементы матриц кодов разнесения передачи, могут быть из произвольных комплексных алфавитов модулирования (квадратурной фазовой манипуляции (QPSK), 8-кратной фазовой манипуляции (8-PSK), квадратурной амплитудной модуляции 16 порядка (16-QAM), квадратурной фазовой манипуляции (PSK)) или (возможно, матрично выраженных) полученных групповым вращением вариантов данных алфавитов, причем для разных потоков комплексных символов можно использовать разные алфавиты. Кроме того, биты, которые закодированы в комплексных символах, могут кодироваться и/или передаваться с перемежением в канале. Канальный код может представлять собой блочный код, решетчатый код, сверточный код, турбокод, код с контролем четности с малой плотностью или любая комбинация данных кодов, или любой другой код, известный в данной области техники. Блок перемежения может представлять собой блок перемежения битов, символов или координат. Каналы передачи, в которые передаются столбцы матрицы кода разнесения передачи, могут быть образованы лучами, использующими, по меньшей мере, два передающих элемента, или фиксированными лучами, использующими, например, диаграммообразующую матрицу Батлера, или лучами, управляемыми принимаемыми сигналами с использованием некоторой цепи обратной связи, или любым другим известным в данной области техники способом формирования канала передачи или каналов передачи из передатчика в приемник. Кроме того, очевидно, что, хотя способ по настоящему изобретению нуждается только в одном сигнале или коде формирования канала, если их несколько, то скорость передачи данных можно повысить непосредственно путем применения передачи нескольких кодов. Кроме того, очевидно, что оценки канала, необходимые для демодулирования потоков комплексных символов, можно получить, например, с использованием распространенных канальных пилот-сигналов или специализированных канальных пилот-сигналов, или с использованием решающей обратной связи или любой комбинации вышеописанных методов. В каналах с межсимвольными помехами (ISI) можно также передавать векторы символов вместо символов, при соответствующей интерпретации комплексных сопряжений, без выхода за пределы объема настоящего изобретения. Следовательно, пределы объема данного изобретения определяются только прилагаемой формулой изобретения.
Формула изобретения
1. Способ передачи комплексных символов с использованием матрицы кода передачи, заключающийся в том, что
формируют упомянутую матрицу кода передачи; и
передают упомянутую матрицу кода передачи, по меньшей мере, частично параллельно с использованием, по меньшей мере, трех лучей от разных передающих антенн, с использованием любой, по существу, ортогональной передачи сигналов,
при этом упомянутую матрицу кода передачи формируют с использованием, по меньшей мере, двух преобразованных матриц кодов разнесения передачи, упомянутые преобразованные матрицы кодов разнесения передачи формируют посредством преобразования, по меньшей мере, двух матриц кодов разнесения передачи с использованием линейных преобразований, и при этом упомянутые матрицы кодов разнесения передачи, по меньшей мере, одна из которых имеет размерность больше единицы, формируют модулированием, по меньшей мере, двух, по меньшей мере, частично различающихся потоков комплексных символов, которые получают из одного потока комплексных символов посредством преобразования.
2. Способ по п.1, в котором при формировании упомянутой матрицы кода передачи преобразуют поток комплексных символов в, по меньшей мере, два, по меньшей мере, частично различающихся потока комплексных символов;
модулируют, по меньшей мере, два упомянутых потока комплексных символов для формирования, по меньшей мере, двух матриц кодов разнесения передачи, из которых, по меньшей мере, одна матрица имеет размерность больше единицы;
преобразуют упомянутые матрицы кодов разнесения передачи с использованием линейных преобразований для формирования, по меньшей мере, двух преобразованных матриц кодов разнесения передачи; и
формируют матрицу кода передачи с использованием, по меньшей мере, двух преобразованных матриц кодов разнесения передачи.
3. Способ по п.1, в котором, по меньшей мере, одно из линейных преобразований отличается от тождественного преобразования.
4. Способ по п.1, в котором, по меньшей мере, две матрицы кодов разнесения передачи являются матрицами ортогональных кодов разнесения передачи.
5. Способ по п.1, в котором обе матричных размерности матрицы кода передачи больше соответствующих матричных размерностей преобразованных матриц кодов разнесения передачи.
6. Способ по п.5, в котором матрицу кода передачи формируют из преобразованных матриц кодов разнесения передачи с использованием способа вставки матрицы меньшей размерности в матрицу большей размерности.
7. Способ по п.1, в котором матрицу кода передачи формируют из преобразованных матриц кодов разнесения передачи с использованием, по меньшей мере, одного из следующих способов: повторения, отрицания, сопряжения, перестановки, умножения на матрицу.
8. Способ по п.1, в котором первую преобразованную матрицу кодов разнесения передачи формируют посредством суммирования двух матриц кодов разнесения передачи, и, по меньшей мере, вторую преобразованную матрицу кодов разнесения передачи формируют посредством вычитания двух упомянутых матриц кодов разнесения передачи.
9. Способ по п.4, в котором скорость передачи символов матрицы кода передачи равна средней скорости передачи символов матриц ортогональных кодов разнесения передачи, подвергнутых линейным преобразованиям.
10. Способ по п.1, в котором матрицу кода передачи распространяют на Т столбцов, и при этом используют более чем Т комплексных символов для формирования матрицы кода передачи.
11. Способ по п.1, в котором упомянутое преобразование содержит последовательно-параллельное преобразование.
12. Способ по п.1, в котором упомянутое преобразование упомянутого одного потока комплексных символов для получения упомянутых, по меньшей мере, двух, по меньшей мере, частично различающихся потоков комплексных символов содержит групповые вращения для достижения того, чтобы комплексные символы в упомянутых, по меньшей мере, двух, по меньшей мере, частично различающихся потоках комплексных символов были взяты из разных алфавитов модулирования.
13. Способ по п.12, в котором групповые вращения осуществляют посредством матрицы вращения символов, которая отличается от единичной матрицы и содержит, по меньшей мере, два нулевых элемента.
14. Способ по п.12, отличающийся тем, что групповые вращения осуществляют посредством матрицы вращения символов, которую формируют как произведение Кронекера двух унитарных матриц, из которых, по меньшей мере, одна матрица отличается от единичной матрицы.
15. Способ по п.13, в котором матрица вращения символов представляет собой диагональную матрицу, в которой, по меньшей мере, один диагональный элемент является комплексным числом.
16. Способ по п.10, в котором параллельно передают, по меньшей мере, две преобразованные матрицы кодов разнесения передачи, и при этом две преобразованные матрицы кодов разнесения передачи содержат, по меньшей мере, частично отличающиеся символы.
17. Способ по п.10, в котором часть символов передают в составе блочно-диагональной подматрицы, вставленной в матрицу кода передачи, и, по меньшей мере, частично отличающиеся символы передают в составе антиблочно-диагональной подматрицы, вставленной в матрицу кода передачи.
18. Способ по п.10, в котором существует четыре подпотока, и при этом каждый подпоток модулируют для формирования матрицы ортогональных кодов разнесения передачи типа 2×2, включающей в себя два комплексных символа, а матрицу кода передачи распространяют, по меньшей мере, на четыре, по существу, ортогональные передачи сигналов.
19. Способ по п.1, в котором, по меньше мере, одна матрица кодов разнесения передачи отличается по скорости передачи символов от другой матрицы кодов разнесения передачи.
20. Способ по п.1, в котором, по меньше мере, одна матрица кодов разнесения передачи отличается по размерностям от другой матрицы кодов разнесения передачи.
21. Способ по п.1, в котором, по меньше мере, одну матрицу кодов разнесения передачи передают с мощностью, отличной от мощности другой матрицы кодов разнесения передачи.
22. Способ по п.1, в котором использование, по существу, ортогональной передачи сигналов включает в себя, по меньшей мере, один из следующих видов передачи: использование неперекрывающихся временных интервалов, разных расширяющихся кодов, разных поднесущих стандарта ортогонального уплотнения с частотным разделением (OFDM), разных импульсных сигналов и разных каналов стандарта множественного доступа с частотным разделением (МДЧР).
23. Устройство для передачи комплексных символов с использованием матрицы кода передачи, содержащее
компоненты, выполненные с возможностью формирования матрицы кода передачи из комплексных символов; и
средство передачи, выполненное с возможностью передачи упомянутой матрицы кода передачи, по меньшей мере, частично параллельно с использованием, по меньшей мере, трех лучей от разных передающих антенн, с использованием любой, по существу, ортогональной передачи сигналов,
при этом упомянутая матрица кода передачи формируется с использованием, по меньшей мере, двух преобразованных матриц кодов разнесения передачи, причем упомянутые преобразованные матрицы кодов разнесения передачи формируются посредством преобразования, по меньшей мере, двух матриц кодов разнесения передачи с использованием линейных преобразований, и причем упомянутые матрицы кодов разнесения передачи, по меньшей мере, одна из которых имеет размерность больше единицы, формируются посредством модулирования, по меньшей мере, двух, по меньшей мере, частично различающихся потоков комплексных символов, которые получены из одного потока комплексных символов посредством преобразования.
24. Устройство по п.23, в котором упомянутые компоненты, выполненные с возможностью формирования матрицы кода передачи, содержат
средство преобразования для преобразования потока комплексных символов в, по меньшей мере, два, по меньшей мере, частично различающихся потока комплексных символов;
средство модулирования для модулирования упомянутых, по меньшей мере, двух потоков комплексных символов для формирования, по меньшей мере, двух матриц кодов разнесения передачи, из которых, по меньшей мере, одна матрица имеет размерность больше единицы;
средство преобразования для преобразования упомянутых матриц кодов разнесения передачи с использованием линейных преобразований для формирования, по меньшей мере, двух преобразованных матриц кодов разнесения передачи, и
средство формирования кода для формирования матрицы кода передачи с использованием, по меньшей мере, двух преобразованных матриц кодов разнесения передачи.
25. Устройство по п.24, в котором, по меньшей мере, одно из линейных преобразований, отличается от тождественного преобразования.
26. Устройство по п.24, в котором, по меньшей мере, две матрицы кодов разнесения передачи являются матрицами ортогональных кодов разнесения передачи.
27. Телекоммуникационная система, содержащая передатчик для передачи комплексных символов с использованием матрицы кода передачи и приемник для приема передаваемых комплексных символов, при этом упомянутый передатчик содержит
компоненты, выполненные с возможностью формирования матрицы кода передачи из комплексных символов, и
средство передачи, выполненное с возможностью передачи упомянутой матрицы кода передачи, по меньшей мере, частично параллельно, с использованием, по меньшей мере, трех лучей от разных передающих антенн, с использованием любой, по существу, ортогональной передачи сигналов,
при этом упомянутая матрица кода передачи формируется с использованием, по меньшей мере, двух преобразованных матриц кодов разнесения передачи, причем упомянутые преобразованные матрицы кодов разнесения передачи формируются посредством преобразования, по меньшей мере, двух матриц кодов разнесения передачи с использованием линейных преобразований, и причем упомянутые матрицы кодов разнесения передачи, по меньшей мере, одна из которых имеет размерность больше единицы, формируются посредством модулирования, по меньшей мере, двух, по меньшей мере, частично различающихся потоков комплексных символов, которые получены из одного потока комплексных символов посредством преобразования.
28. Матрица кода передачи, которая подлежит передаче, по меньшей мере, частично параллельно, по меньшей мере, по трем лучам от разных передающих антенн с использованием любой, по существу, ортогональной передачи сигналов,
при этом упомянутая матрица кода передачи сформирована с использованием, по меньшей мере, двух преобразованных матриц кодов разнесения передачи,
причем упомянутые преобразованные матрицы кодов разнесения передачи сформированы посредством преобразования, по меньшей мере, двух матриц кодов разнесения передачи с использованием линейных преобразований, и причем упомянутые матрицы кодов разнесения передачи, по меньшей мере, одна из которых имеет размерность больше единицы, сформированы посредством модулирования по меньшей мере, двух, по меньшей мере, частично различающихся потоков комплексных символов, которые получены из одного потока комплексных символов посредством преобразования.
29. Способ приема сигнала, заключающийся в том, что
определяют оценки импульсных характеристик в луче от каждой передающей антенны к каждой приемной антенне,
вычисляют битовые или символьные оценки для передаваемого сигнального потока или передаваемых сигнальных потоков с использованием структуры матрицы кода передачи и упомянутых оценок импульсных характеристик каналов, при этом упомянутую матрицу кода передачи формируют с использованием, по меньшей мере, двух преобразованных матриц кодов разнесения передачи,
причем упомянутые преобразованные матрицы кодов разнесения передачи формируют посредством преобразования, по меньшей мере, двух матриц кодов разнесения передачи с использованием линейных преобразований, и причем упомянутые матрицы кодов разнесения передачи, по меньшей мере, одна из которых имеет размерность больше единицы, формируют посредством модулирования, по меньшей мере, двух, по меньшей мере, частично различающихся потоков комплексных символов, которые получены из одного потока комплексных символов посредством преобразования.
30. Способ по п.29, в котором упомянутая матрица кода передачи содержит, по меньшей мере, одну линейную комбинацию двух матриц ортогональных пространственно-временных кодов.
31. Способ по п.29, в котором битовые или символьные оценки представляют собой жесткие решения, соответствующие символьному алфавиту, используемому в модуляторе.
32. Способ по п.29, в котором битовые или символьные оценки представляют собой гибкие решения, которые отражают надежность решения.
33. Способ по п.32, в котором надежность вычисляют из битовых или символьных апостериорных вероятностей.
34. Способ по п.29, в котором передаваемые битовые или символьные потоки канально кодируют, а модуль демодулирования выполняет совместное демодулирование и декодирование по матрице кода передачи и в декодере канального кода.
35. Способ по п.34, в котором способ совместного демодулирования и декодирования использует оценки надежности, вычисленные для передаваемых символов или битов.
36. Устройство для приема сигналов, содержащее
модуль оценки канала, который выдает оценки импульсных характеристик в луче от каждой передающей антенны к каждой приемной антенне; и
модуль демодулирования, который использует структуру матрицы кода передачи и оценки импульсных характеристик каналов для вычисления битовых или символьных оценок для передаваемого сигнального потока или передаваемых сигнальных потоков,
при этом упомянутая матрица кода передачи сформирована с использованием, по меньшей мере, двух преобразованных матриц кодов разнесения передачи,
причем упомянутые преобразованные матрицы кодов разнесения передачи сформированы посредством преобразования, по меньшей мере, двух матриц кодов разнесения передачи с использованием линейных преобразований, и причем упомянутые матрицы кодов разнесения передачи, по меньшей мере, одна из которых имеет размерность больше единицы, сформированы посредством модулирования, по меньшей мере, двух, по меньшей мере, частично различающихся потоков комплексных символов, которые получены из одного потока комплексных символов посредством преобразования.
37. Устройство по п.36, в котором битовые или символьные оценки представляют собой жесткие решения, соответствующие символьному алфавиту, используемому в модуляторе.
38. Устройство по п.36, в котором битовые или символьные решения представляют собой гибкие решения, которые отражают надежность решения.
39. Устройство по п.38, в котором надежность вычисляют из битовых или символьных апостериорных вероятностей.
40. Устройство по п.36, в котором передаваемые битовые или символьные потоки являются канально кодированными, а модуль демодулирования выполняет совместное демодулирование и декодирование по матрице кода передачи и в декодере канального кода.
41. Устройство по п.40, в котором способ совместного демодулирования и декодирования использует оценки надежности, вычисленные для передаваемых символов или битов.
РИСУНКИ
|
|