|
|
(21), (22) Заявка: 2005109396/09, 16.08.2003
(24) Дата начала отсчета срока действия патента:
16.08.2003
(30) Конвенционный приоритет:
05.10.2002 DE 10246557.6
(43) Дата публикации заявки: 20.01.2006
(46) Опубликовано: 27.01.2008
(56) Список документов, цитированных в отчете о поиске:
ЕР 1111748 А, 27.06.2001. SU 1408486 A1, 07.07.1988. US 5323117 A, 21.06.1994. US 4074193 A, 14.02.1978.
(85) Дата перевода заявки PCT на национальную фазу:
05.05.2005
(86) Заявка PCT:
EP 03/09081 (16.08.2003)
(87) Публикация PCT:
WO 2004/034535 (22.04.2004)
Адрес для переписки:
191186, Санкт-Петербург, а/я 230, “АРС-ПАТЕНТ”, пат.пов. В.М.Рыбакову, рег. № 90
|
(72) Автор(ы):
ШТАРК Тьерри (DE), РУЛАНД Зигфрид (DE)
(73) Патентообладатель(и):
АРЕВА Т & Д (FR)
|
(54) СОЕДИНИТЕЛЬНАЯ МУФТА ДЛЯ СОЕДИНЕНИЯ СБОРНОЙ ШИНЫ В РАСПРЕДЕЛИТЕЛЬНОМ УСТРОЙСТВЕ С ГАЗОВОЙ ИЗОЛЯЦИЕЙ
(57) Реферат:
Соединительная муфта изготовляется из эластичного изоляционного материала, изоляционные свойства которого могут ухудшиться вследствие частичных разрядов и могут снизиться в ходе эксплуатации распределительного устройства, в связи с чем согласно изобретению должны быть выполнены так называемые измерения частичных разрядов, в том числе и в диапазоне СВЧ, чтобы заблаговременно обнаружить ухудшение изоляционных свойств материала. Для этого соединительная муфта имеет наружную заземленную электропроводящую поверхность и внутреннюю электропроводящую поверхность, к которой приложен потенциал сборной шины, причем соединительная муфта имеет вделанный в изолирующий материал электрод связи. Благодаря этим мероприятиям создается измерительное устройство, обеспечивающее надежное и простое измерение сигналов без встраивания в устойство дополнительных конструктивных элементов, требующих для своего размещения достаточно много места, в котором датчик (электрод связи) находится вне газового пространства установки, так что при замене датчика не требуется проводить никаких газовых работ. 3 н. и 4 з.п. ф-лы, 2 ил.
Область техники
Изобретение относится к соединительной муфте для соединения сборных шин согласно ограничительной части пункта 1 формулы изобретения и к оборудованному этим соединением распределительному устройству с газовой изоляцией, в особенности к установке среднего напряжения с газовой изоляцией согласно ограничительной части второго независимого пункта формулы изобретения.
Уровень техники
В распределительных устройствах с коммутационными ячейками с газовой изоляцией или с аналогичными модулями, связанными друг с другом посредством соединений сборных шин, высокие требования предъявляются не только к электрическим контактам, но и к герметичности самой газовой изоляции.
В зоне соединения сборных шин обычно применяется соединительная муфта, изготовляемая из изоляционного эластичного материала, часто из эластомера, которой придается форма трубки, надежно охватывающей сборные шины и изолирующей их от окружающей среды.
Из ЕР-А-1111748 известно соединение сборных шин, оснащенное такой изолирующей соединительной муфтой (“manchon isolant”).
Однако изоляционные свойства могут ухудшиться вследствие частичных разрядов и могут снизиться в ходе эксплуатации распределительного устройства. Для надежной работы уже перед вводом установки в эксплуатацию должны быть выполнены так называемые ЧР-измерения (ЧР: частичный разряд), чтобы обнаружить возможные повреждения изоляционного материала и обеспечить выполнение монтажа в соответствии с требованиями. Наряду с оптическими и ультразвуковыми методами обычным методом является электрическая ЧР-диагностика (по стандарту IEC 60 270), при которой с помощью измерительных датчиков, называемых также электродами связи, контролируется и измеряется появление частичных разрядов во времени, причем полученные измерительные сигналы подвергаются тщательному анализу. Анализ сигнала производится в различных частотных диапазонах, доходящих до области гигагерц, т.е. до СВЧ-диапазона (СВЧ-сверхвысокие частоты). Если анализ сигналов производится в этих сверхвысоких частотных диапазонах, то говорят также о СВЧ-ЧР-диагностике.
Для приема измерительных сигналов обычно в газовом пространстве установки помещается СВЧ-датчик (СВЧ-электрод связи), встроенный в корпус из литьевой смолы, или предусматриваются отпайки для съема напряжения со сборных шин.
Эти известные меры имеют тот недостаток, что приходится встраивать дополнительные конструктивные элементы, требующие для своего размещения достаточно много места, что, в частности, вызывает дополнительные расходы. Кроме того, для вывода из установки проводов от датчиков и отпаек требуются дополнительные уплотнения. К тому же замена датчиков возможна только при проникновении в газовое пространство установки, а это требует проведения дополнительных газовых работ.
Раскрытие изобретения
Поэтому задача изобретения состоит в том, чтобы предложить решение этих проблем, позволяющее просто осуществлять СВЧ-ЧР-диагностику на соединении сборных шин в распределительных устройствах с газовой изоляцией.
Эта задача решается с помощью соединительной муфты для соединения сборных шин с признаками пункта 1 формулы изобретения, а также с помощью соединения сборных шин и оснащенного им распределительного устройства с газовой изоляцией с признаками соответствующего второго независимого пункта формулы изобретения.
В соответствии с этим предлагается, чтобы соединительная муфта имела заземленную электропроводящую наружную поверхность и внутреннюю электропроводящую поверхность, находящуюся под потенциалом сборной шины, и чтобы в изоляционный материал соединительной муфты был заделан электрод связи.
Благодаря этим мероприятиям создается очень надежное измерительное устройство, в котором датчик (электрод связи) находится вне газового пространства установки, так что при замене датчика не требуется проводить никаких газовых работ. При такой конструкции соединительной муфты и таком расположении датчика первичная емкость электрода связи относительно сборной шины зависит от площади электрода и от расстояния до внутреннего проводящего слоя (внутренней электропроводящей поверхности). Поэтому первичную емкость можно выполнить довольно большой, не снижая при этом электрической прочности муфты. Это позволяет получить высокую чувствительность датчика (электрода связи) к частичным разрядам.
Особенно выгодные варианты реализации изобретения вытекают из зависимых пунктов формулы изобретения.
В соответствии с этим особенно предпочтительно, если электрод связи имеет чувствительную поверхность, ориентированную тангенциально относительно наружной поверхности. Это предотвращает возможность усиления напряженности поля в зоне электрода, мешающей СВЧ-ЧР-измерению.
В этой связи выгодно также, если электрод связи заделан в изолирующий материал так, чтобы электрод связи был электрически изолирован от внутренней поверхности и от наружной поверхности, и электрод связи предпочтительно имеет краевую зону, которая, по меньшей мере, частично перекрывает наружную поверхность.
Кроме того, особенные преимущества получаются, если электрод связи соединен со штепсельным соединительным элементом, расположенным в выемке, окруженной изолирующим материалом. В этой связи выгодно, если к тому же штепсельный соединительный элемент может соединяться с ответным элементом, и выемка соответствует наружным очертаниям этого ответного элемента для образования пыле- и влагонепроницаемого штепсельного соединения. Благодаря этим мероприятиям создается надежная и удобная возможность подключения измерительных приборов, в особенности индикаторов напряжения и анализаторов спектра.
Краткий перечень фигур чертежей
Далее изобретение и вытекающие из него преимущества описываются более подробно на одном примере реализации изобретения с помощью прилагаемых схематических чертежей, на которых изображены:
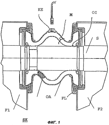
На Фигуре 1 – соединение сборных шин с предлагаемой изобретением соединительной муфтой в разрезе;
На Фигуре 2 – соединительная муфта в другом разрезе.
Осуществление изобретения
На фиг.1 изображено в разрезе соединение сборных шин SK, соединяющее две изображенные в виде вырезов коммутационные ячейки F1 и F2 (левая и правая половины чертежа).
В газовых резервуарах обеих коммутационных ячеек F1 и F2 расположены трубы S сборных шин, концы которых выступают из резервуаров, чтобы их можно было соединить между собой с помощью соединения SK сборных шин. Для этого трубы S сборных шин расположены коаксиально друг относительно друга, а их концы выступают соответственно из вводов, герметизированных уплотнительными кольцами (так называемыми тороидальными прокладками). Все вводы находятся соответственно в проходах резервуаров и герметизированы для защиты от утечки изолирующего газа уплотнительными кольцами. Одна труба S сборных шин второй коммутационной ячейки F2 (правая половина чертежа) выступает из своего входа дальше, чем соответствующий элемент первой трубы сборных шин (левая половина чертежа).
Вокруг соединенных между собой концов токоведущих шин (концов труб S сборных шин) располагается соединительная муфта М, которой придана форма трубки и которая выполнена из эластичного изолирующего материала I, предпочтительно из эластомера. Муфта М с помощью фланцев FL крепится к наружным стенкам коммутационных ячеек F1 и F2 и окружает выступающие из коммутационных ячеек части токоведущих шин. Эта муфта М электрически изолирует и защищает соединение от окружающей среды.
Согласно изобретению муфта М имеет внутреннюю электропроводящую поверхность OI, находящуюся в электрическом контакте со сборной шиной S, и, следовательно, эта внутренняя поверхность OI находится под ее потенциалом. Кроме того, муфта М имеет также электропроводящую наружную поверхность ОА. Эта наружная поверхность ОА заземлена через фланцы и стенки газовых резервуаров коммутационных ячеек F1 и F2.
Для восприятия измерительных сигналов в процессе ЧР-СВЧ-измерений в среднюю часть соединительной муфты М вделан датчик в виде электрода связи КЕ. Электрод связи КЕ находится в изоляционном материале I и выполнен в виде вогнутой поверхности, расположенной тангенциально относительно наружной поверхности ОА. Электрод связи может быть выполнен из электропроводящего материала или также из полупроводящего пластика. На электроде связи КЕ имеется контактный штифт, являющийся частью штепсельного разъема, который расположен в выемке и, таким образом, может быть снаружи с помощью соответствующего штекера (ответной части разъема) соединен с измерительным прибором.
На фиг.2 муфта М показана в другом разрезе, где встроенный в нее электрод связи КЕ виден еще лучше.
Как видно на этой фигуре, сам электрод связи КЕ вделан в изоляционный материал I, причем краевые зоны R чувствительной поверхности перекрывают наружную поверхность ОА муфты М. При этом электрод КЕ отделен от заземленной наружной поверхности ОА тонким слоем изоляционного материала I. Благодаря этому, а также благодаря тангенциальному расположению чувствительной поверхности, в зоне электрода не возникает заметного увеличения напряженности электрического поля. Этим обеспечивается преимущество, заключающееся в том, что первичная емкость электрода связи КЕ относительно сборной шины S зависит от площади чувствительной поверхности электрода КЕ и от его расстояния до внутренней поверхности OI. Поэтому первичную емкость можно выполнить довольно большой, не снижая при этом электрической прочности муфты М. Это позволяет получить, в конечном счете, высокую чувствительность датчика КЕ к частичным разрядам.
Контакт с датчиком КЕ осуществляется через розеточную часть S1 штепсельного соединения, расположенную в выемке А муфты М, в которую точно входит ответная часть, штекер S2, образуя пыле- и влагонепроницаемое соединение. Так как при этом датчик КЕ оказывается доступным снаружи и находится вне газового пространства, то не только осуществление измерительного соединения оказывается очень простым, но и заменить при необходимости датчик КЕ можно, не проводя газовых работ.
Все устройство состоит из очень небольшого количества недорогих деталей. Больше не требуются дополнительные уплотнения и тому подобные детали. Не требуется также дополнительное пространство.
Поэтому предлагаемое устройство весьма пригодно для применения в распределительных устройствах с газовой изоляцией. Однако возможно применение и в других областях, например в силовых трансформаторах и т.д.
Формула изобретения
1. Соединительная муфта (М) для соединения (SK) сборных шин, сопрягающего две коммутационные ячейки (F1, F2) распределительного устройства с газовой изоляцией, в котором соединительная муфта (М) изготовлена из эластичного изоляционного материала (I) и имеет форму трубки, отличающаяся тем, что соединительная муфта (М) имеет заземленную наружную электропроводящую поверхность (ОА) и внутреннюю электропроводящую поверхность (OI), к которой приложен потенциал сборной шины (S), и что соединительная муфта (М) имеет вделанный в изолирующий материал (I) электрод связи (КЕ).
2. Соединительная муфта по п.1, отличающаяся тем, что электрод связи (КЕ) имеет чувствительную поверхность, расположенную тангенциально относительно наружной поверхности (ОА).
3. Соединительная муфта по п.1 или 2, отличающаяся тем, что электрод связи (КЕ) так вделан в изолирующий материал (I), что электрод связи (КЕ) электрически изолирован от внутренней поверхности (OI) и от наружной поверхности (ОА), причем электрод связи (КЕ) имеет краевую область (R), которая, по меньшей мере, частично перекрывает наружную поверхность (ОА).
4. Соединительная муфта по п.1, отличающаяся тем, что электрод связи (КЕ) соединен со штепсельным соединительным элементом (S1), находящимся в выемке (А), окруженной изолирующим материалом (I).
5. Соединительная муфта по п.4, отличающаяся тем, что штепсельный соединительный элемент (S1) выполнен с возможностью соединения с ответным элементом (S2), и что выемка (А) по форме соответствует этому ответному элементу (S2), так что образуется пыленепроницаемое штепсельное соединение.
6. Соединение (SK) сборных шин, содержащее соединительную муфту (М) для соединения двух коммутационных ячеек (F1, F2) распределительного устройства с газовой изоляцией, в котором соединительная муфта (М) изготовлена из эластичного изоляционного материала (I) и имеет форму трубки, отличающееся тем, что соединительная муфта (М) имеет заземленную наружную электропроводящую поверхность (ОА) и внутреннюю электропроводящую поверхность (OI), к которой приложен потенциал сборной шины (S), и что соединительная муфта (М) имеет вделанный в изолирующий материал (I) электрод связи (КЕ).
7. Распределительное устройство с газовой изоляцией, в особенности, распределительное устройство среднего напряжения с газовой изоляцией, состоящее, по меньшей мере, из двух коммутационных ячеек (F1, F2), соединенных между собой соединением (SK) сборных шин, имеющим соединительную муфту (М), причем соединительная муфта (М) изготовлена из эластичного изоляционного материала (I) и имеет форму трубки, отличающееся тем, что соединительная муфта (М) имеет заземленную наружную электропроводящую поверхность (ОА) и внутреннюю электропроводящую поверхность (OI), к которой приложен потенциал сборной шины (S), и что соединительная муфта (М) имеет вделанный в изолирующий материал (I) электрод связи (КЕ).
РИСУНКИ
|
|