|
|
(21), (22) Заявка: 2004130466/09, 04.04.2003
(24) Дата начала отсчета срока действия патента:
04.04.2003
(30) Конвенционный приоритет:
04.04.2002 NZ 518138
(43) Дата публикации заявки: 10.06.2005
(46) Опубликовано: 27.01.2008
(56) Список документов, цитированных в отчете о поиске:
WO 99/27618 A1, 03.06.1999. SU 1334238 A1, 03.08.1987. US 6135820 A, 24.10.2000. US 6086397 A, 11.07.2000. US 5582522 A, 10.12.1996.
(85) Дата перевода заявки PCT на национальную фазу:
04.11.2004
(86) Заявка PCT:
IB 03/01244 (04.04.2003)
(87) Публикация PCT:
WO 03/084819 (16.10.2003)
Адрес для переписки:
190068, Санкт-Петербург, ул. Садовая, 51, офис 303, ООО”ПАТЕНТИКА”, пат.пов. М.А.Можайскому, рег.№ 488
|
(72) Автор(ы):
КИМ Кьюн Тей (US), КИМ Кьюн Хун (US)
(73) Патентообладатель(и):
КИМ Кьюн Тей (US), КИМ Кьюн Хун (US)
|
(54) НИЗКОВОЛЬТНАЯ ЭЛЕКТРОРАСПРЕДЕЛИТЕЛЬНАЯ СХЕМА
(57) Реферат:
Изобретение предназначено для подачи электропитания на штепсельную розетку. Электрораспределительная схема представляет собой электрическое выходное устройство, содержащее штепсельную розетку, установленную на корпусе. Полость корпуса содержит множество проводов или шинопроводную систему. Штепсельная розетка содержит по меньшей мере одно гнездо, постоянно подключенное к напряжению, и по меньшей мере одно гнездо, к которому подключается напряжение с помощью выключателя. В каждое из гнезд электропитания можно включать вилку электроприбора. Штепсельную розетку можно передвигать вдоль полости в различные места, чтобы обеспечить подключение электроприборов, например компьютеров или ламп, расположенных в различных точках вдоль стены. В других вариантах реализации электрораспределительной схемы можно получить автономное устройство, которое прикрепляют на месте. Технический результат – расширение области применения путем обеспечения возможности использования схемы не только для гнезд, постоянно находящихся под напряжением, но и для гнезд, подключаемых к напряжению выключателем. 2 н. и 6 з.п. ф-лы, 17 ил.
Настоящее изобретение относится, в общем, к низковольтным электрораспределительным схемам. В частности, настоящее изобретение относится к шинопроводной системе, обеспечивающей подачу электропитания на штепсельную розетку, которая содержит гнездо, непрерывно находящееся под напряжением, и гнездо, подключаемое к напряжению выключателем, при этом штепсельную розетку можно перемещать по шинопроводной системе.
Известна шинная система электропитания, включающая множество штепсельных розеток. Известен также способ перемещения точек электропитания по шине с целью перемещения электроприборов и других аналогичных устройств вдоль шины и соответственно в различные участки помещения.
В патенте GB 2344001 компании Electrak International Limited описана модульная многошинная система электропитания, в которой каждый модуль содержит множество линейных шин, расположенных в удлиненном корпусе. В каждом модуле имеется по меньшей мере одно гнездо доступа, в которое можно включить отводную вилку для подключения других элементов к системе электропитания. Данная система не позволяет перемещать гнезда доступа.
Патентная заявка WO 99/27618 компании Wiremold описывает шинопровод, на котором смонтированы электрические розетки. Шинопровод обеспечивает подачу электропитания на контакты электрических розеток. К любой точке шинопровода можно подключить любое количество электрических розеток с помощью разъемного соединения путем скрутки. Описанные электрические розетки предназначены для гнезд, постоянно находящихся под напряжением, но не для гнезд, подключаемых к напряжению выключателем.
Задачей настоящего изобретения является электрораспределительная схема, которая не имеет вышеуказанных недостатков или по меньшей мере представляет пользователю полезный выбор.
В соответствии с первым вариантом реализации изобретение представляет собой низковольтную электрораспределительную схему, которая обеспечивает подачу отключаемого и неотключаемого электропитания от отключаемого и неотключаемого источников электропитания и содержит:
формованный корпус, содержащий полость,
первый проводник, подключенный к указанному неотключаемому источнику электропитания, второй проводник, подключенный к указанному отключаемому источнику электропитания, и третий проводник, подключенный к нейтральному источнику питания, при этом указанные проводники снабжены приемными средствами, в которые могут вставляться штыри штепсельной вилки, присоединенной к нагрузке или электрическому прибору,
по меньшей мере одну штепсельную розетку, которая имеет механическое разъемное соединение с указанным формованным корпусом, при этом розетка имеет по меньшей мере одно гнездо, постоянно подключенное к напряжению, и одно гнездо, подключаемое к напряжению выключателем, при этом каждое из этих гнезд образовано несколькими отверстиями, проходящими сквозь указанную розетку и совмещенными с соответствующими приемными средствами указанных проводников,
при применении, когда указанную штепсельную вилку вставляют в указанное гнездо, постоянно подключенное к напряжению, указанные штыри создают электрическое соединение с указанным первым проводником и указанным нейтральным проводником, таким образом, указанный электрический прибор или нагрузка оказываются постоянно подключенными к электропитанию, а если указанную штепсельную вилку вставляют в указанное гнездо, подключаемое к напряжению выключателем, то указанные штыри создают электрическое соединение с указанным вторым проводником и указанным нейтральным проводником, таким образом указанный электрический прибор или нагрузка оказываются подключенными к отключаемому электропитанию.
Согласно второму варианту реализации настоящего изобретения предлагается автономная штепсельная розетка, которая обеспечивает подачу постоянно подключенного и отключаемого электропитания от постоянного подключенного источника электропитания и источника электропитания, подключаемого выключателем, и содержит:
первый проводник, подключенный к указанному неотключаемому источнику электропитания,
второй проводник, подключенный к указанному отключаемому источнику электропитания и
третий проводник, подключенный к нейтральному источнику питания,
при этом указанные проводники снабжены приемными средствами, в которые могут вставляться штыри штепсельной вилки, соединенной с нагрузкой или электрическим прибором,
и указанная автономная штепсельная розетка имеет по меньшей мере одно гнездо, постоянно находящееся под напряжением, и одно гнездо, подключаемое к напряжению с помощью выключателя, при этом каждое из этих гнезд образовано несколькими отверстиями, проходящими сквозь указанную розетку и совмещенными с соответствующими приемными средствами указанных проводников,
при применении, когда указанную штепсельную вилку вставляют в указанное гнездо, постоянно находящееся под напряжением, указанные штыри создают электрическое соединение с указанным первым проводником и указанным нейтральным проводником, таким образом указанный электрический прибор или нагрузка оказываются постоянно подключенными к электропитанию, а если указанную штепсельную вилку вставляют в указанное гнездо, подключаемое к напряжению выключателем, указанные штыри образуют электрическое соединение с указанным вторым проводником и указанным нейтральным проводником, таким образом указанный электрический прибор или нагрузка оказываются подключенными к отключаемому электропитанию.
Для специалистов в данной области очевидна возможность многочисленных изменений конструкции и множество вариантов реализации и применения изобретения в пределах области его распространения, определяемой прилагаемой формулой изобретения. Приведенные здесь сведения и описания являются исключительно иллюстративными и не ограничивают изобретения в какой-либо степени.
Ниже приведено описание предпочтительных вариантов реализации изобретения со ссылками на прилагаемые фигуры, на которых представлены:
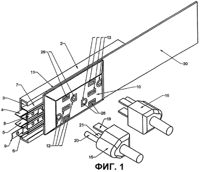
Фиг.1 – изображение схемы согласно настоящему изобретению, в которой штепсельная розетка с гнездами установлена на корпусе шинопроводной схемы, а в гнезда розетки могут вставляться штепсельные вилки, соединенные с электрическим прибором или иной нагрузкой,
Фиг.2 – вид спереди схемы шинопровода согласно настоящему изобретению, на которой показаны выводы шин,
Фиг.3 – вид спереди альтернативной схемы шинопровода, показывающий, в частности, конфигурацию шин и прорезей, в которые вставляются штыри штепсельных вилок,
Фиг.4 – вид сбоку шины, корпуса шины и штепсельной розетки согласно изобретению,
Фиг.4А – крупный план детали А с фиг.4, показывающий соединение корпуса шинопровода, заднего щитка и лицевой панели штепсельной розетки,
Фиг.4В – вид установки или съема крышки шинопровода согласно настоящему изобретению,
Фиг.5 – вид с торца изолятора шинопровода, используемого в схеме согласно настоящему изобретению для изоляции шинопровода,
Фиг.5А – изометрическая проекция изолятора шинопровода,
Фиг.5В – изометрическая проекция изолятора шинопровода с установленными шинами,
Фиг.6 – покомпонентное изображение схемы согласно настоящему изобретению, показывающее все компоненты штепсельной розетки и их соединения,
Фиг.7 – вид схемы в сборе согласно настоящему изобретению,
Фиг.7А – крупный план детали В схемы, показанной на фиг.7,
Фиг.8 – вид альтернативного варианта исполнения шинопровода и штепсельной розетки, пригодной для сети электропитания Новой Зеландии,
Фиг.9 – вид сверху альтернативного варианта исполнения шинопровода и штепсельной розетки, показанного на фиг.8,
Фиг.10 – вид двух штепсельных вилок электроприборов, подключенных к шинопроводу первой формы согласно настоящему изобретению,
Фиг.11 – покомпонентное изображение альтернативного варианта исполнения схемы согласно настоящему изобретению, в котором несколько проводов подают электропитание к выводам, подключенным к штепсельной розетке, обеспечивая подачу как подключаемого с помощью выключателя, так и постоянно подключенного электропитания к гнездам штепсельной розетки,
Фиг.12 – вид сбоку альтернативного варианта исполнения, показанного на фиг.11,
Фиг.13 – крупный план детали С, показанной на фиг.12,
Фиг.14 – дополнительный вид сбоку схемы с фиг.11, показывающий расположение проводов, постоянно находящихся под напряжением, и заземленного провода относительно их контактов,
Фиг.15 – крупный план детали D, показанной на фиг.14,
Фиг.16 – вид сверху автономного варианта реализации схемы согласно настоящему изобретению и
Фиг.17 – вид сзади в перспективе автономного варианта реализации схемы, показанной на фиг.16.
Низковольтная электрораспределительная схема согласно настоящему изобретению представляет собой выходное устройство, которое включает штепсельную розетку, смонтированную на шинопроводной системе. Шинопроводную систему предпочтительно устанавливают в корпусе, который проходит горизонтально вдоль основания стены или имеет другое желательное местоположение. Штепсельная розетка содержит по меньшей мере одно гнездо, постоянно находящееся под напряжением, и по меньшей мере одно гнездо с отключаемым напряжением. В каждое из штепсельных гнезд можно вставлять вилку электроприбора. Штепсельную розетку можно перемещать по шинопроводу в различные участки, чтобы обеспечить подключение электроприборов, например ламп или компьютеров, расположенных в разных точках вдоль стены.
В других вариантах реализации изобретения распределительная схема может представлять собой набор проводов, проходящих внутри корпуса, и штепсельную розетку, содержащую клеммные зажимы, которые контактируют с этими проводами. Кроме того, в других формах распределительной схемы можно выполнить автономный блок, который закрепляется на месте.
Предпочтительная форма электрического выходного устройства согласно настоящему изобретению показана на фиг.1. Корпус 2 шинопровода устанавливают вдоль основания стены или иного желаемого участка стены. В корпусе 2 выполнена полость 3, проходящая по всей длине корпуса 2. В полости 3 располагают несколько шин 4, 5, 6, 8 и 9. В предпочтительном варианте реализации настоящего изобретения шинопровод состоит из трех электропроводных контактных полос 4, 5 и 6 и двух заземленных полос 8 и 9, проходящих внутри полости 3. Шины 4, 5 и 6 устанавливают внутри изолятора 7. В шинном изоляторе 7 выполнены также каналы для монтажа или установки заземленных шин 8 и 9. Шинный изолятор изготавливают из электроизоляционной и негорючей пластмассы, однако можно использовать и другие соответствующие материалы. В предпочтительной форме реализации изобретения верхняя контактная полоса 4 представляет собой шину, постоянно находящуюся под напряжением, центральная контактная полоса 5 – нейтральную шину, а нижняя контактная полоса 6 – подключаемую шину (напряжение на которую подается с помощью выключателя). Выше и ниже нейтральной шины 5 расположены заземленные шины или полосы 8, 9.
Над шинами к корпусу 2 прикрепляют штепсельную розетку. Штепсельная розетка состоит из лицевой панели 10 и заднего щитка 11. Задний щиток 11 прикрепляют к корпусу 2, а лицевую панель 10 – к заднему щитку 11.
Как показано на фиг.6, в основании заднего щитка выполнены выступы 26 с внутренними полостями в форме штырей вилки электроприбора. При соединении лицевой панели 10 с задним щитком 11 выступы 26 входят в совпадающие с ними отверстия 12, 13 лицевой панели 10, но не выходят за пределы поверхности лицевой панели. Когда лицевая панель 10 соединена с задним щитком 11, отверстия 12, 13 и выступы 26 образуют каналы, проходящие сквозь лицевую панель 10 и задний щиток 11. Группы этих каналов образуют по меньшей мере одно гнездо, в которое можно включать по меньшей мере одну стандартную двух- или трехконтактную штепсельную вилку 15, 16 электроприбора. Указанные каналы проходят вплоть до шин, в результате чего штыри вилки, вставленной в гнездо, касаются шин, при этом создается электрический контакт между шинами и штырями вилки.
На фиг.2 подробно показано детальное изображение шинопроводной системы 25. Как указано выше, шинопроводная система содержит две шины, находящиеся под напряжением, одну нейтральную шину и две заземленных шины. Верхняя, находящаяся под напряжением шина 4 через токоограничительное устройство 18 соединяется со стандартной электропроводкой, которая подходит к клеммной коробке или блоку плавких предохранителей, установленному внутри здания, при этом клеммную коробку или блок плавких предохранителей подключают к источнику переменного тока. Напряжение на шине 4 в некоторых вариантах реализации изобретения составляет 230 Вольт, а в других, в частности, для применения в системе электропитания США, – 120 Вольт или имеет другое соответствующее значение. Токоограничительное устройство 18 может представлять собой прерыватель, разрядник для защиты от перенапряжений, плавкий предохранитель, выключатель цепи замыкания на корпус или другое соответствующее устройство. Центральная шина (расположенная между двумя шинами, находящимися под напряжением) является нейтральной шиной 5. Нейтральную шину также подключают к стандартной проводке и клеммной коробке или блоку плавких предохранителей (клеммную коробку или блок плавких предохранителей в конечном счете подключают к распределительной системе электропитания). Нижнюю находящуюся под напряжением шину 6 через токоограничительное устройство 18 подключают к электропроводке, а затем – к одной стороне выключателя 17. Выключатель 17 представляет собой стандартный выключатель или регулировочный переключатель, который устанавливают на стене здания известным способом. Другую сторону выключателя подключают к находящемуся под напряжением выводу клеммной коробки или блока плавких предохранителей. И, наконец, заземляемые шины 8 и 9 подключают к заземленному выводу. Этот заземленный вывод обычно располагают в клеммной коробке или в блоке плавких предохранителей, однако он может находиться и в другом месте.
Как показано, на фиг.3 и 10, конструкции шин 4, 5 и 6 через определенный интервал содержат приемные средства. Приемные средства представляют собой прорези 14, которые выполнены как составная часть каждой шины. Все прорези 14 имеют форму, обеспечивающую вставление штыря штепсельной вилки, подсоединенной к нагрузке или электроприбору. Форма прорезей 14 обеспечивает плотное соединение между шиной и штырем штепсельной вилки. Прорези 14 расположены с определенным шагом по длине шин, что позволяет перемещать с таким же шагом задний щиток 11 и лицевую панель 10 вдоль системы шинопровода. Прорези 14 предпочтительно выполняют в шине способом последовательной штамповки, однако их можно получить и другими соответствующими способами. В предпочтительной форме прорезь 14 получают, надавливая на центральную часть 48 шины вниз от плоскости шины и получая впадину, при этом на боковые части 49, 50 надавливают вверх от плоскости шины и получают две верхних обратных впадины с каждой стороны от центральной части. Во время применения, когда штепсельную вилку вставляют в розетку (в лицевую панель 10 и задний щиток 11) и штыри вилки проходят через розетку в прорези 14 шины, для каждой прорези и соответствующего штыря центральная часть 48 оказывается ниже штыря, а боковые части 49, 50 оказываются выше штыря. При этом создается плотная посадка штыря, обеспечивающая электрический контакт между штырем и шиной.
В некоторых формах реализации настоящего изобретения можно использовать штепсельную вилку, имеющую три штыря. На фиг.1 показана стандартная электрическая вилка 15. В большинстве случаев такая вилка имеет три штыря, однако может иметь и два штыря. Первые два штыря 19, 21 являются плоскими и выходят из вилки 15 по параллельным осям. Третий штырь 20 может иметь цилиндрическую форму или форму, аналогичную первым двум штырям. Обычно третий штырь 20 выходит из вилки по оси, параллельной осям первых двух штырей 19, 21 и проходящей между ними.
В случае применения трехконтактной штепсельной вилки США, показанной на фиг.1, при вставлении вилки в гнездо, выполненное в розетке, первый штырь 19 соединяется с нейтральной шиной 5, а второй штырь 21 может соединяться с шиной 4, постоянно находящейся под напряжением, или с шиной 6, подключаемой к напряжению с помощью выключателя. Третий штырь 20 соединяется с одной из заземленных шин 8, 9 с помощью прорези в заземленной шине, показанной на фиг.3. Прорези 22 выполнены в заземленных шинах с определенным шагом. Прорези 22 в заземленных шинах аналогичны прорезям 14 в остальных шинах, однако в данном варианте реализации настоящего изобретения прорези 22 в заземленных шинах имеют такую форму, чтобы обеспечить вставление третьего штыря 20 стандартной штепсельной вилки США. В других вариантах реализации настоящего изобретения прорези 22 в заземленных шинах и прорези 14 могут быть идентичными.
Как показано на фиг.6, выступы 26 на заднем щитке 11 и отверстия 12, 13 в лицевой панели 10 образуют по меньшей мере 2 гнезда, к одному из которых напряжение подключается с помощью выключателя, а другое постоянно находится под напряжением.
Однако на лицевой панели может быть выполнено более двух гнезд. Так, например, показанная на фиг.1 лицевая пластина имеет четыре гнезда, однако в этом варианте реализации изобретения в гнезда можно вставить одновременно только две штепсельные вилки.
На фиг.10 показаны шины 4, 5, 6, 8, 9 и две штепсельные вилки 15, 16. Вилка 15 соединяется с шинами, которые позволяют “включать” электроприбор, присоединенный к указанной вилке. Когда пользователь управляет выключателем 17 (схематически показанный на фиг.2) электроприбор можно включать или выключать. Когда вилку вставляют во “включаемое гнездо”, первый штырь 19 входит в прорезь 14 нейтральной шины 5. Второй штырь 21 (не показанный на фиг.10, но расположенный ниже штыря 19) входит в отверстие шины, подключаемой к электропитанию. Заземляемый штырь 20 входит в прорезь 22 в нижней заземленной шине 9. Штепсельная вилка 16 подключается к шинопроводу в такой позиции, которая обеспечивает постоянную подачу электропитания на прибор, соединенный с указанной вилкой. При вставлении вилки в гнездо, постоянно подключенное к электропитанию, первый (верхний) штырь 23 входит в отверстие постоянно подключенной к электропитанию шины 4. Второй (нижний) штырь 24 входит в прорезь 14 нейтральной шины 5, а заземляемый штырь (не показан на данном виде) входит в прорезь 22 верхней заземленной шины 8.
Ниже приведено описание конструкции схемы согласно настоящему изобретению со ссылками на фиг.4-6. Как указано выше, шинопроводную систему 25 (содержащую изолятор шин 7 и шины 4, 5, 6, 8 и 9) размещают в корпусе 2, который монтируют на стене внутри здания. На фиг.5 показан вид с торца шинного изолятора 7. Шинный изолятор содержит три полых канала 43, в которых устанавливают постоянно находящуюся под напряжением, нейтральную и подключаемую к напряжению шины. С одной стороны этих каналов выполнена непрерывно открытая прорезь 44, которая позволяет вставлять штыри штепсельной вилки в отверстия шин. На фиг.5А представлена изометрическая проекция шины 7, на которой видны отверстия 45, расположенные с определенным шагом и совпадающие с прорезями 22 заземленной шины (как описано выше со ссылками на фиг.3). Как показано на фиг.6, задний щиток 11 с помощью соответствующих средств присоединен к верхней 28 и нижней 29 лицевой кромкам корпуса 2. В предпочтительном варианте реализации изобретения задний щиток 11 для бокового совмещения содержит выступ (не показан), выполненный на задней стороне заднего щитка 11. Этот выступ пропускают сквозь расположенные с определенным шагом отверстия 46 (фиг.3) в заземленных шинах 8, 9, а затем – сквозь установочное отверстие 47 (фиг.5А). Затем задний щиток 11 привинчивают винтами 27 к корпусу 2. На фиг.5В показана в сборе шинопроводная система 25 со всеми шинами, установленными в шинном изоляторе. Часть шинопровода и корпуса, которую не закрывает задний щиток 11, закрывают крышкой 30 (фиг.6, 7), выполненной из пластмассы и разрезанной на соответствующую длину.
Как показано на фиг.6, лицевая панель содержит несколько пазов 32, в которые входят закрепляющие панель сопряженные выступы 31, выполненные на кромках заднего щитка. Когда лицевая панель прикрепляется к заднему щитку, отверстия 12, 13 лицевой панели 10 совмещаются с сопряженными выступами 26 заднего щитка. Таким образом, когда штепсельные вилки 15, 16 (см. фиг.1) вставляют в соответствующие гнезда, штыри вилок проходят сквозь лицевую панель 10, задний щиток 11, открытые прорези 44 шинного изолятора 7 и затем – в прорези шин.
На фиг.4, 4А и 4В показаны виды сбоку схемы. На фиг.4А показан выступ 51, выполненный на кромках корпуса 2 и входящий в зацепление с соответствующим выступом 52 в крышке 30. На фиг.4В показана установка и съем крышки 30, которые производят путем сжатия и изгиба крышки 30, чтобы обеспечить сопряжение выступа 52 и выступов 51, вставить крышку в корпус и закрыть открытые части системы шинопровода. Можно предусмотреть и другие способы соединения крышки с корпусом, в частности скольжение крышки по корпусу.
Когда штепсельная розетка (лицевая панель 10 и задний щиток 11) полностью собрана, как показано на фиг.7 и 7А, зазоры между крышкой 30 и задним щитком 11 закрываются торцами лицевой панели 10, что обеспечивает безопасное и надежное соединение штепсельной розетки с корпусом.
Для того, чтобы переместить лицевую панель 10 в другую позицию вдоль шины, необходимо снять лицевую панель 10 (например, поддев ее стандартной отверткой с плоским лезвием или аналогичным инструментом), отвинтить задний щиток 11 и снять его с корпуса 2. Крышки 30 можно снять, как описано выше со ссылкой на фиг.4В, и переместить задний щиток в новую желательную позицию. Затем задний щиток следует привинтить к корпусу винтами 27 и установить сменные крышки, разрезанные на соответствующую длину, чтобы закрыть открытую часть системы шинопровода и корпуса. И, наконец, необходимо установить лицевую панель 10 (защелкнув ее) на перемещенный задний щиток 11.
Несколько задних щитков можно постоянно расположить в соответствующих местах шинопровода таким образом, чтобы иметь возможность устанавливать лицевые панели на задние щитки в различных точках шинопровода.
На фиг.8 и 9 показан альтернативный вариант реализации шинопроводной системы согласно настоящему изобретению. Это вариант более приемлем для системы электропитания в Новой Зеландии. В указанном варианте шинопроводная система 35 выполнена таким образом, чтобы шины и гнезда 33, 34 обеспечивали подключение штепсельных вилок и штырей, применяемых в Новой Зеландии. В этом варианте реализации верхняя шина 39 является шиной, постоянно находящейся под напряжением, а нижняя шина 40 представляет собой шину, подключаемую к напряжению электропитания. Центральная шина 36 является нейтральной шиной, а шины, расположенные над и под нейтральной шиной, являются заземленными шинами 37, 38. В данном варианте реализации прорези 41 в шине, постоянно находящейся под напряжением, в шине, подключаемой к напряжению с помощью выключателя, и в нейтральной шине являются идентичным прорезям 42 в заземленной шине, чтобы обеспечить вставление штырей штепсельной вилки, применяемой в Новой Зеландии. Данная форма электрической розетки имеет такую же конструкцию и функционирует таким же образом, как описано выше.
В других вариантах реализации настоящего изобретения в нижней части корпуса 2 можно выполнить канал для прокладки телекоммуникационных линий, в частности, телефонной лини или линии связи с Интернет (CAT 5). Телекоммуникационная линия предпочтительно заканчивается у гнезда, выполненного в лицевой панели, при этом тип указанного гнезда должен обеспечивать подключение соответствующего электронного оборудования, в частности, компьютеров или телефонов.
Как указано выше, корпус и шины монтируют вдоль стен внутри здания. Для того, чтобы обеспечить прокладку шинопровода в углах между стенами, в шинопроводной системе предусмотрен ряд зажимов, с одной стороны которых вставляют прямоугольный конец шины, а другую сторону зажима присоединяют к гибкой электропроводке, которую монтируют в углу, а затем вводят во второй зажим. Другую сторону второго зажима соединяют с прямоугольным концом следующей шины, которая проходит вдоль второй стены. Альтернативный способ прокладки шинопроводов в углах заключается в использовании стандартных паяных соединений с гибкими проводами.
Поскольку лицевую панель можно размещать в любых точках шинопровода, потребность в удлинительных проводах минимизируется или устраняется полностью. Это создает меньше беспорядка в помещении, снижает вероятность спотыкания о провода или повреждения удлиняющих проводов. Кроме того, минимизируется пожарная и другие виды опасности. По сравнению с обычными электрическими розетками, вмонтированными в стену, местоположение штепсельной розетки согласно настоящему изобретению можно очень просто изменить за короткое время с применением минимального количества стандартных инструментов (время от начала до окончания операции должно составлять в среднем менее 10 минут). Также просто можно добавить новые штепсельные розетки. Как правило, изменение положения обычной электрической розетки требует удаления участка штукатурки, окружающего розетку, удаления участка штукатурки, окружающего новое желательное местоположение, прокладку электрических проводов (внутри стены), к которым подключается розетка, и нанесение новой штукатурки или наполнителя на старое и новое место расположения розетки.
Лицевую панель и задний щиток, образующие штепсельную розетку, можно выполнить таким образом, чтобы обеспечить подключение любого желаемого количества штепсельных вилок различных электроприборов (или электрических вилок). При модернизации конструкции для различных типов вилок базовую концепцию данного устройства можно использовать в любой электрической системе во всем мире. Кроме того, розетки можно конфигурировать для подключения различных типов соединителей, в частности, соединителей для телефонных кабелей, коаксиальных кабелей для кабельного телевидения и/или кабельных модемов, кабелей OSL, оптических волокон и т.п. (при этом указанные соединения можно будет так же легко перенести, как и розетки электропитания).
Штепсельная розетка согласно настоящему изобретению предоставляет пользователю как гнездо, подключаемое к электропитанию с помощью выключателя, так и гнездо, постоянно подключенное к электропитанию, что увеличивает возможности размещения электроприборов или ламп.
На фиг.11-15 показан альтернативный вариант схемы согласно настоящему изобретению, где ряд проводов 60, 61, 62, 63 передает электропитание выводам 65, 66, 67, 68, подключенным к штепсельной розетке (69 и 70), которая содержит как подключаемое с помощью выключателя, так и постоянно подключенное к электропитанию гнезда. В данной форме схемы согласно настоящему изобретению в корпусе выполнена продольная полость 64, в которой размещают ряд проводов 60, 61, 62, 63. В частности, как показано на фиг.11, в вытянутом корпусе, выполненном из пластмассы, размещены четыре провода: провод 60, подключаемый к электропитанию с помощью выключателя, нейтральный провод 61, постоянно подключенный к электропитанию провод 62, и заземленный провод 63. Каждый из этих проводов с помощью стандартной электропроводки или непосредственно подключен к клеммной коробке или к блоку плавких предохранителей в здании. Штепсельная розетка, содержащая лицевую панель 70, задний щиток 69 и ряд выводов 65, 66, 67, 68, может прикрепляться к продольной полости (вытянутому корпусу) 64 таким же образом, как описано выше для фиг.6.
За задним щитком 69 расположен ряд выводов 65, 66, 67, 68. Каждый из этих выводов соединяется с одним из проводов, находящихся в корпусе 64. Таким образом, имеется заземленный контактный вывод 65, подключаемый к напряжению контактный вывод 66, нейтральный контактный вывод 67 и постоянно подключенный к напряжению контактный вывод 68. Каждый из этих выводов содержит приемные средства или прорези 74, 75, в которые могут входить штыри 77, 78, 79 штепсельной вилки 73, подключенной к электроприбору. Так, например, в прорези вывода 66, подключаемого к напряжению, нейтрального вывода 67 и постоянно подключенного к напряжению вывода 68 предпочтительно вставляют один из двух узких штырей 77, 78 (аналогичных штырям 19, 21, показанным на фигуре 1) штепсельной вилки 73. Заземленный вывод 65 имеет прорезь 75, в которую можно вставлять более крупный штырь 79 штепсельной вилки 73. Каждый из выводов прикреплен к заднему щитку 69 и расположен таким образом, что при установке штепсельной розетки на корпусе 64 часть каждого вывода вступает в контакт с соответствующим проводом.
В лицевой панели 70 выполнены отверстия 72, а в заднем щитке 69 – сопряженные с ними выступы 76, которые образуют канал в штепсельной розетке. Таким образом, в розетке имеется по меньшей мере одно гнездо, подключаемое к напряжению, и одно гнездо, постоянно подключенное к напряжению. Как и в случае варианта реализации, описанного выше, одно гнездо можно подключать к напряжению с помощью выключателя, в то время как другое гнездо постоянно находится под напряжением. Штепсельная вилка 73 электроприбора содержит штыри 77, 78, 79, которые проходят через каждый канал, поэтому при вставлении в гнездо штыри входят в отверстия и образуют контакт с выводами 65, 66, 67, 68. Таким образом, штепсельную вилку 73 можно включить в одно из двух гнезд штепсельной розетки, при этом каждый из штырей соединяется с соответствующим выводом практически так же, как описано выше со ссылкой на фиг.11, образуя соединение, подключаемое к напряжению с помощью выключателя, или соединение, постоянно находящееся под напряжением.
Как показано на фиг.12 и 13, каждый из выводов 66, 67, 68 имеет удлинение с волнистым профилем. Волнистые удлинения вставляют в отверстия 80, 81, 82, выполненные в вытянутом корпусе 64, при этом концы удлинений контактных выводов прилегают к проводам, расположенным в отверстиях 80, 81, 82 корпуса 64. При этом образуется надежный контакт, поскольку распружинивание волнистых удлинений вызывает прижатие их концов к проводам, как показано на фиг.13.
Как показано на фиг.14 и 15, заземленный контактный вывод 65 имеет удлинение 83, которое проходит под основным телом вывода 65, образуя контакт с заземленным проводом 63.
Штепсельная розетка и проводная система в данном варианте реализации схемы согласно настоящему изобретению позволяет перемещать розетку вдоль полости 64 и устанавливать ее в бесконечном множестве позиций вдоль полости 64, что предоставляет пользователю гибкость выбора местоположений розетки и соответственно гнезд. Этот вариант реализации настоящего изобретения обладает преимуществами по сравнению с вариантом, описанным выше и показанным на фиг.1. Шинопроводная система, показанная на фиг.1, позволяет устанавливать штепсельную розетку только у прорезей, выполненных в шинах. В данном альтернативном варианте реализации розетку можно передвигать вдоль полости 64, при этом контактные вывода 65-68 будут только скользить по проводам 60-63. При этом устраняется также проблема электрической непрерывности шинопроводной системы в углах, поскольку провода 60-63 в углах можно просто изгибать.
На фиг.16 и 17 показана автономная схема. Эта схема может быть использована для замены существующих автономных розеток электропитания. В данной схеме штепсельная розетка 108 содержит лицевую панель (не показана) и задний щиток 109. Выводы 104, 105, 106, 107 (аналогичные описанным выше) устанавливают на задней стороне заднего щитка 109. Выводы имеют прорези 110, 111, 112, 113, 114, в которые вставляются штыри стандартной двух- или трехконтактной штепсельной вилки, чтобы обеспечить электрическое соединение с вилкой. Все выводы с помощью винтов 100, 101, 102, 103 присоединяются к стандартной электропроводке в жилом или производственном здании, а затем – к клеммной коробке или к блоку плавких предохранителей. Выводы имеют практически такую же форму, как описано выше и показано на фиг.11, и предназначены как для гнезда с подключаемым электрическим напряжением, так и для гнезда, постоянно находящегося под напряжением электропитания.
Формула изобретения
1. Низковольтная электрораспределительная схема, которая обеспечивает подачу отключаемого и неотключаемого электропитания от отключаемого и неотключаемого источников электропитания и содержит
формованный корпус, содержащий полость,
первый проводник, подключенный к указанному неотключаемому источнику электропитания, второй проводник, подключенный к указанному отключаемому источнику электропитания и третий проводник, подключенный к нейтральному источнику питания, при этом указанные проводники снабжены приемными средствами, в которые могут вставляться штыри штепсельной вилки, присоединенной к нагрузке или электрическому прибору,
по меньшей мере одну штепсельную розетку, которая имеет механическое разъемное соединение с указанным формованным корпусом, при этом розетка имеет по меньшей мере одно гнездо, постоянно подключенное к напряжению, и одно гнездо, подключаемое к напряжению выключателем, при этом каждое из этих гнезд образовано несколькими отверстиями, проходящими сквозь указанную розетку и совмещенными с соответствующими приемными средствами указанных проводников,
при применении, когда указанную штепсельную вилку вставляют в указанное гнездо, постоянно подключенное к напряжению, указанные штыри создают электрическое соединение с указанным первым проводником и указанным третьим проводником, таким образом, указанный электрический прибор или нагрузка оказываются постоянно подключенными к электропитанию, а, если указанную штепсельную вилку вставляют в указанное гнездо, подключаемое к напряжению выключателем, то указанные штыри создают электрическое соединение с указанным вторым проводником и указанным третьим проводником, таким образом, указанный электрический прибор или нагрузка оказываются подключенными к отключаемому электропитанию.
2. Низковольтная электрораспределительная схема по п.1, отличающаяся тем, что по меньшей мере одно из указанных отверстий при использовании является общим для указанного гнезда, постоянно подключенного к напряжению, и указанного гнезда, подключаемого к напряжению выключателем.
3. Низковольтная электрораспределительная схема по п.1, отличающаяся тем, что указанная полость представляет собой непрерывную продольную полость.
4. Низковольтная электрораспределительная схема по любому из пп.1-3, отличающаяся тем, что указанная схема содержит также шинопроводную систему, а указанный первый, указанный второй и указанный третий проводники представляют собой часть множества проводников, образующих указанную шинопроводную систему.
5. Низковольтная электрораспределительная схема по любому пп.1-3, отличающаяся тем, что указанная схема содержит множество электрических проводов, расположенных в указанной полости, при этом указанный первый, указанный второй и указанный третий проводники образуют часть указанного множества электрических проводов.
6. Низковольтная электрораспределительная схема по п.1, отличающаяся тем, что указанная продольная полость содержит канал для размещения телекоммуникационных линий, а указанная штепсельная розетка содержит гнездо для подключения штепсельной вилки телекоммуникационной линии и обеспечивает подключение указанной вилки к указанной телекоммуникационной линии, размещенной в указанном канале.
7. Автономная штепсельная розетка, которая обеспечивает подачу отключаемого и неотключаемого электропитания от отключаемого и неотключаемого источников электропитания и содержит
первый проводник, подключенный к указанному неотключаемому источнику электропитания,
второй проводник, подключенный к указанному отключаемому источнику электропитания,и
третий проводник, подключенный к нейтральному источнику питания,
при этом указанные проводники снабжены приемными средствами, в которые могут вставляться штыри штепсельной вилки, присоединенной к нагрузке или электрическому прибору,
и указанная автономная штепсельная розетка имеет по меньшей мере одно гнездо, постоянно находящееся под напряжением, и одно гнездо, подключаемое к напряжению с помощью выключателя, причем каждое из этих гнезд образовано несколькими отверстиями, проходящими сквозь указанную розетку и совмещенными с соответствующими приемными средствами указанных проводников,
при применении, когда указанную штепсельную вилку вставляют в указанное гнездо, постоянно находящееся под напряжением, указанные штыри создают электрическое соединение с указанным первым проводником и указанным третьим проводником, таким образом, указанный электрический прибор или нагрузка оказываются постоянно подключенными к электропитанию, а, если указанную штепсельную вилку вставляют в указанное гнездо, подключаемое к напряжению выключателем, указанные штыри создают электрическое соединение с указанным вторым проводником и указанным третьим проводником, таким образом, указанный электрический прибор или нагрузка оказываются подключенными к отключаемому электропитанию.
8. Автономная штепсельная розетка по п.7, отличающаяся тем, что по меньшей мере одно из указанных отверстий при использовании является общим для указанного гнезда, постоянно подключенного к напряжению, и указанного гнезда, подключаемого к напряжению выключателем.
РИСУНКИ
MM4A – Досрочное прекращение действия патента СССР или патента Российской Федерации на изобретение из-за неуплаты в установленный срок пошлины за поддержание патента в силе
Дата прекращения действия патента: 05.04.2009
Извещение опубликовано: 20.09.2010 БИ: 26/2010
|
|